|
|
(21), (22) Заявка: 2003102083/09, 27.01.2003
(24) Дата начала отсчета срока действия патента:
27.01.2003
(43) Дата публикации заявки: 20.08.2004
(45) Опубликовано: 10.07.2005
(56) Список документов, цитированных в отчете о поиске:
RU 2051473 C1, 27.12.1995. RU 2041573 C1, 09.08.1995. RU 2043440 C1, 10.03.1995. NL 223587, 26.02.1990. US 4692589, 08.09.1987.
Адрес для переписки:
644119, г.Омск, ул. Крупской, 5, кв.128, С.В. Петрунину
|
(72) Автор(ы):
Королёв П.Н. (RU), Петрунин С.В. (RU)
(73) Патентообладатель(и):
Королёв Павел Николаевич (RU), Петрунин Степан Васильевич (RU)
|
(54) БЫТОВОЙ ЭЛЕКТРОНАГРЕВАТЕЛЬНЫЙ ПРИБОР
(57) Реферат:
Изобретение относится к бытовым нагревательным приборам, питающимся от электросети и перемещающимся в процессе эксплуатации, (утюг, плойка, фен и т.п.), и может быть использовано для автоматического отключения прибора после прекращения перемещения. Задача изобретения – повышение безопасности эксплуатации электронагревательного прибора. Бытовой электронагревательный прибор содержит нагревательный элемент 1, соединенный последовательно с соединительным электрошнуром 2, устройством прерывания цепи питания прибора 3 и вилкой включения в электросеть 4. С устройством прерывания цепи питания прибора 3 соединен датчик 5, реагирующий на изменение положения соединительного электрошнура 2, причем датчик 5 и электрошнур 2 пространственно совмещены в одной оплетке 6. Устройство прерывания цепи питания прибора 3 содержит последовательно соединенные между собой анализатор омического сопротивления 7, реализующий фиксацию изменения омического сопротивления датчика, логический элемент “ИЛИ” 8, реле времени 9 и силовой ключ 10. 2 з.п. ф-лы, 2 ил.

Изобретение относится к бытовым нагревательным приборам, питающимся от электросети и перемещающимся в процессе эксплуатации (утюг, плойка, фен и т.п.)
Известны бытовые электронагревательные приборы, например утюг [1], выполненный заодно с подставками под него. В состояниях хранения, прогрева или перерыва в глажении подошва утюга имеет возможность автоматически устанавливаться выше уровня подставок по прекращению охвата кистью руки ручки утюга, а через определенное время отключать от электропитания нагревательные элементы, встроенные в подошву утюга.
Недостатком данного прибора является сложность конструкции.
Известны также бытовые нагревательные приборы [2], содержащие заключенный в корпус электронагревательный элемент, соединительный электрошнур, вилку включения в электросеть и устройство прерывания электрической цепи прибора при достижении определенной температуры.
Однако данная конструкция не обеспечивает полной безопасности эксплуатации.
Задача изобретения – повышение безопасности эксплуатации электронагревательного прибора.
Поставленная задача решена за счет того, что бытовой электронагревательный прибор, содержащий заключенный в корпус нагревательный элемент, соединительный электрошнур с вилкой включения в электросеть и устройство прерывания цепи питания прибора, согласно изобретению снабжен датчиком, реагирующим на изменение положения электрошнура, соединенным с устройством прерывания цепи питания электроприбора.
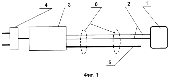
Сущность изобретения поясняется чертежами, где на фиг.1 изображена принципиальная схема включения бытового электронагревательного прибора в электрическую сеть, а на фиг.2 – блок-схема устройства для прерывания электрической цепи прибора.
Бытовой электронагревательный прибор содержит нагревательный элемент 1, соединенный последовательно с соединительным электрошнуром 2, устройством прерывания электрической цепи 3 и вилкой включения в электросеть 4. С устройством прерывания электрической цепи 3 соединен датчик 5, реагирующий на изменение положения соединительного электрошнура 2, причем датчик 5 и электрошнур 2 пространственно совмещены в одной оплетке 6.
Устройство прерывания электрической цепи прибора 3 содержит последовательно соединенные между собой анализатор омического сопротивления датчика 7, логический элемент “ИЛИ” 8, реле времени 9 и силовой ключ 10.
Датчик 5, реагирующий на изменение положения электрошнура 2, выполнен в виде заключенных в оболочку частиц токопроводящего материала и снабжен двумя электродами, одни концы которых погружены через оболочку в частицы токопроводящего материала, а другие соединены с анализатором омического сопротивления 7.
Бытовой электронагревательный прибор работает следующим образом.
При обычном использовании электронагревательного прибора (утюга, плойки, фена) происходит неизбежное изменение положения электрошнура 2. При этом изменяется омическое сопротивление датчика 5, которое фиксируется анализатором 7, сигнал от которого подается на логический элемент “ИЛИ” 8, а от него – на реле времени 9. Силовой ключ 10 находится при подаче питания в нормально замкнутом положении. При каждом изменении изгиба шнура логический элемент “ИЛИ” 8 выдает сигнал, который “обнуляет” реле времени, поддерживая силовой ключ в замкнутом положении. При прекращении изменения положения шнура омическое сопротивление датчика 5 не меняется, логический элемент 8 не выдает сигнал “обнуления” и по прошествии заданного времени реле 9 посредством силового ключа 10 прекратит подачу питания. Прибор будет находиться в состоянии ждущего режима.
Предлагаемое техническое решение обеспечивает полную безопасность, экономичность и удобство эксплуатации без изменения конструкции непосредственно самого прибора (утюга, плойки, паяльника, фена и т.п.) и технологического процесса его изготовления.
Источники информации
1. Заявка на изобретение №94012877, D 06 F 75/40.
2. Патент на изобретение №2076461, Н 05 В 3/28.
Формула изобретения
1. Бытовой электронагревательный прибор, содержащий заключенный в корпус нагревательный элемент, соединительный электрошнур, вилку включения в электросеть и устройство прерывания электрической цепи прибора, отличающийся тем, что прибор содержит датчик, связанный с устройством прерывания электрической цепи, включающим анализатор омического сопротивления, реализующим фиксацию изменения омического сопротивления датчика, реле времени и силовой ключ.
2. Бытовой электронагревательный прибор по п.1, отличающийся тем, что датчик, связанный с устройством прерывания электрической цепи, пространственно совмещен с электрошнуром в одной оплетке.
3. Бытовой электронагревательный прибор по п.1, отличающийся тем, что датчик, связанный с устройством прерывания электрической цепи, состоит из заключенных в оболочку частиц токопроводящего материала и снабжен двумя электродами, одни концы которых погружены через оболочку в эти частицы, а другие -соединены с анализатором омического сопротивления устройства прерывания электрической цепи.
РИСУНКИ
MM4A – Досрочное прекращение действия патента СССР или патента Российской Федерации на изобретение из-за неуплаты в установленный срок пошлины за поддержание патента в силе
Дата прекращения действия патента: 28.01.2008
Извещение опубликовано: 10.11.2009 БИ: 31/2009
|
|