|
|
(21), (22) Заявка: 2002114042/09, 25.10.2000
(24) Дата начала отсчета срока действия патента:
25.10.2000
(30) Конвенционный приоритет:
30.10.1999 (пп.1-5) JP 11/346641
(43) Дата публикации заявки: 27.11.2003
(45) Опубликовано: 10.07.2005
(56) Список документов, цитированных в отчете о поиске:
JP 02-079 566 A, 20.03.1990. SU 1 253 337 A1, 10.01.1996. SU 1 755 306 А1, 15.08.1992. SU 970 725 А1, 30.10.1982. JP 08-289173 A, 01.11.1996. JP 04-092 575 A, 25.03.1992. KR 9 303 968, 17.05.1993. JP 11-075 089 A, 16.03.1999.
(85) Дата перевода заявки PCT на национальную фазу:
30.05.2002
(86) Заявка PCT:
JP 00/07485 (25.10.2000)
(87) Публикация PCT:
WO 01/33834 (10.05.2001)
Адрес для переписки:
129010, Москва, ул. Б. Спасская, 25, стр.3, ООО “Юридическая фирма Городисский и Партнеры”, пат.пов. Ю.Д.Кузнецову, рег.№ 595
|
(72) Автор(ы):
МАЦУНАГА Сеидзи (JP)
(73) Патентообладатель(и):
ФУДЗИТСУ ДЖЕНЕРАЛ ЛИМИТЕД (JP)
|
(54) СПОСОБ И СХЕМА ВЫДЕЛЕНИЯ КОНТУРА
(57) Реферат:
Изобретение относится к способу и схеме выделения контура при обработке цифровых видеосигналов с учетом направленных коэффициентов контуров при их выделении. Техническим результатом является возможность более естественной обработки наклонных контуров и сигналов, представляющих контуры в точках пересечения горизонтального и вертикального контуров. Технический результат достигается тем, что обработка выполняется с помощью выявления направления контура относительно точки, где вертикальный и горизонтальный контуры пересекаются, и точки диагонального контура. Времена исходного пиксела и всех пикселов, соседних к исходному пикселу в горизонтальном, вертикальном, диагональном направлениях, согласуются друг с другом, величины выделения контура, взвешенные относительно яркости пиксела, который имеет наибольшую разность яркости из соседних пикселов во всех направлениях, и яркости исходного пиксела вычисляются и суммируются с исходным пикселом. В точке диагонального контура, если две взвешенные непрерывные величины выделения контура имеют одинаковый знак, предыдущая и последующая величины выделения контура принимаются, в противном случае производится диагональная оптимизация, чтобы предшествующая и последующая величины выделения контура сделались нулем, и они суммируются с исходным пикселом, 2 н. и 3 з.п. ф-лы, 9 ил.

Область техники
Настоящее изобретение относится к способу и схеме выделения контура, согласно которым при обработке цифровых видеосигналов представляющих контуры, учитывают направленные коэфициенты контуров при выделении контуров.
Предшествующий уровень техники
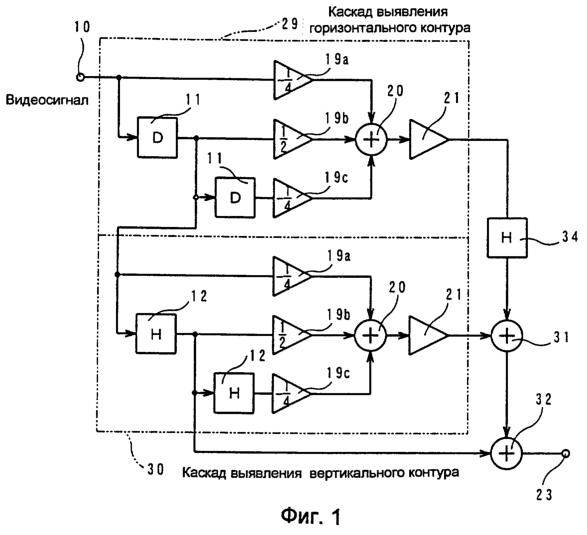
Как видно из фиг.1, схемы выделения контура данного типа, как правило, содержат каскад 29 выявления горизонтального контура, каскад 30 выявления вертикального контура, схему 31 суммирования для выдачи суммы выходного сигнала каскада 29 выявления горизонтального контура и выходного сигнала каскада 30 выявления вертикального контура, и еще одну схему 32 суммирования для суммирования сигнала составляющей контура с выхода схемы 31 суммирования с видеосигналом.
Каскад 29 выявления горизонтального контура содержит фильтр 19а выявления контура, непосредственно соединенный с входной клеммой 10 видеосигнала, фильтр 19b выявления контура, соединенный с той же входной клеммой 10 через 1 схему 11 задержки на 1 точку растра, фильтр 19с выявления контура, соединенный с той же входной клеммой 10 через 2 схемы 11 задержки на 1 точку, схему 20 суммирования для выдачи суммы выходных сигналов из фильтров 19а, 19Ь, 19с выявления контура, схему 21 умножения коэффициента для умножения заранее определенного коэффициента К1 и схему 34 задержки на 1 строку, соединенную со схемой 21 умножения коэффициента. Более конкретно составляющие горизонтального контура выявляются из исходного пиксела (элемента изображения) и пиксела, предшествующего на 1 точку, и пиксела, непосредственно следующего за исходным пикселом. Схема 34 задержки служит для синхронизации выходного сигнала каскада 30 выявления вертикального контура.
Каскад 30 выявления вертикального контура содержит фильтр 19а выявления контура, соединенный с входной клеммой 10 видеосигнала через 1 схему 11 задержки на 1 точку, фильтр 19b выявления контура, соединенный с той же входной клеммой 10 через 1 схему задержки на 1 точку и 1 схему задержки на 1 строку, фильтр 19с выявления контура, соединенный с той же входной клеммой 10 через 1 схему 11 задержки на 1 точку и через 2 схемы 12 задержки на 1 строку, схему 20 суммирования для вывода суммы выходных сигналов фильтров 19а, 19b, 19с контура и схему умножения коэффициента для умножения заранее определенного коэффициента К2. Иначе говоря, составляющие вертикального контура обнаруживаются из исходного пиксела и пиксела, предшествующего исходному пикселу на 1 точку, и пиксела, непосредственно следующего за исходным пикселом.
В дальнейшем предполагается, что цифровые видеосигналы, соответственно представляющие контуры в горизональном направлении и вертикальном направлении, вводятся в традиционную схему, которая описана выше.
Этот вариант относится к случаю, когда разности яркости встречаются последовательно, и, следовательно, разности яркости, не встречающиеся последовательно, не считаются контурами. В примере, изображенном на фиг.2(а), элементы, где яркость [8] и яркость [4] встречаются последовательно, распознаются как контуры.
В этом случае при обработке с помощью каскада 29 выявления горизонтального контура, когда коэффициенты заданы как -1/4, 2/4 и 1/4 соответственно, выходные сигналы фильтров 19а, 19Ь и 19с выявления контура представляются в виде 8×(-1/4) 8×(2/4) и 8×(-1/4)=-2, +4 и -2, соответственно, когда пиксел в третьей строке и первом столбце на фиг.2(а) выбирается в качестве исходного пиксела, а выходной сигнал схемы 20 суммирования становится равным 0. Аналогично когда пиксел на пересечении третьей строки и второго столбца выбирается в качестве исходного пиксела Х2, они принимают вид 8×(-1/4), 8×(2/4) и 4×(-1/4)=-2, +2 и -1 соответственно, а выходной сигнал схемы 20 суммирования становится равным +1; когда пиксел на пересечении третьей строки и третьего столбца выбирается в качестве исходного пиксела ХЗ, они принимают вид 8×(-1/4), 4×(2/4) и 4×(-1/4)=-2, +2 и -1 соответственно, а выходной сигнал схемы 20 суммирования становится равным -1; когда пиксел на пересечении третьей строки и четвертого столбца выбирается в качестве исходного пиксела Х4, они принимают вид 4×(-1/4), 4×(2/4) и 4×(-1/4)=-1, +2 и -1 соответственно, а выходной сигнал схемы 20 суммирования становится равным 0.
В примере, изображенном на фиг.2(а), имеются только рассмотренные четыре случая. Когда коэффициент в схеме 21 умножения коэффициента задан как К1=1, выходной сигнал упомянутой схемы является таким, как изображено на фиг.2(b).
Так как имеются только 4 случая, а именно Y1, Y2, Y3 и Y4, даже при обработке с помощью каскада 30 выявления вертикального контура подобно случаям, описанным выше, когда коэффициент схемы 21 умножения коэффициента задан как К2=1, выходной сигнал упомянутой схемы является таким, как изображено на фиг.2(с).
При суммировании указанных величин с помощью схемы 31 суммирования и последующем суммировании с исходными видеосигналами с помощью схемы 32 суммирования яркость контура, имеющего яркость [8], становится равной 8+1=9, в то время как яркость контура, имеющего яркость [4], становится равной 4-1=3, таким образом выделяя контур на выходной клемме 23 видеосигнала, как изображено на фиг.2(с).
Далее рассматривается случай, когда цифровые видеосигналы, представляющие контуры, увеличивающиеся вправо, с яркостью [8] и яркостью [4] подаются на входную клемму 10 видеосигнала схемы, имеющей традиционную структуру.
В таком случае при обработке с помощью каскада 29 выявления горизонтального контура и когда пиксел на пересечении третьей строки и третьего столбца выбирается в качестве исходного пиксела X1, выходные сигналы фильтров 19а, 19b и 19с выявления контура становятся равными 8×(-1/4), 8×(2/4) и 4×(-1/4)=-2, +4 и -1, а выходной сигнал схемы 20 суммирования становится равным +1, тогда как в случае, когда пиксел на пересечении третьей строки и четвертого столбца выбирается в качестве исходного пиксела Х2, они становятся равными 8×(-1/4), 4×(2/4) и 4×(-1/4)=-2, +2 и -1, а выходной сигнал схемы 20 суммирования становится равным -1.
Те же самые результаты будут получены, когда обработка производится с помощью использования каскада 30 выявления вертикального контура.
Когда пиксел на пересечении третьей строки и третьего столбца выбирается в качестве исходного пиксела Y1, они становятся равными 8×(-1/4), 8×(2/4) и 4×(-1/4)=-2, +4 и -1, а выходной сигнал схемы 20 суммирования становится равным +1, в то время как, в случае, когда пиксел на пересечении третьей строки и четвертого столбца выбирается в качестве исходного пиксела Y2, они становятся равными 8×(-1/4), 4×(2/4) и 4×(-1/4)=-2, +4 и -1, а выходной сигнал схемы 20 суммирования становится равным -1.
Эти величины суммируются с помощью схемы 31 суммирования и дополнительно суммируются с исходными видеосигналами с помощью схемы 32 суммирования для того, чтобы выделить контуры, которые изображены на фиг.3(b).
Как показано на фиг.2(а), в случае, когда цифровые сигналы, представляющие горизонтальные контуры и вертикальные контуры, соответственно вводятся в точке, где горизонтальный контур и вертикальный контур пересекают друг друга, как горизонтальный контур, так и вертикальный контур соответственно, имеющие высокую яркость [8], не будут выделены, как указано окружностью на фиг.2(d), поддерживая таким образом яркость [8], в то время как горизональный контур и вертикальный контур контура, соответственно имеющего более низкую яркость [4], будут выделены в уровень 4-1-1=2 для того, чтобы дополнительно выделить контур, так как в этом случае применяется как выделение горизонтального контура, так и выделение вертикального контура. Следовательно, в этом случае имеется проблема, связанная с тем, что любая яркость, отличающаяся по уровню от последовательностей равномерных яркостей, станет слишком заметной.
Кроме того, в случае, когда вводится цифровой видеосигнал, представляющий контур, лежащий под углом в 45°, как изображено на фиг.3(а), сигнал обрабатывается в предположении, что точки, где горизонтальный контур и вертикальный контур пересекают друг друга, встречаются последовательно так, что, как показано на фиг.3(b) окружностями, контуры, имеющие высокую яркость [8], выделяются в уровень 8+1+1=10 за счет проведения совместных операций выделения горизонтального контура и выделения вертикального контура; и это также происходит в случаях контуров, имеющих более низкую яркость [4], так как яркости контуров выделяются в уровень 4-1-1=2 за счет проведения совместных операций выделения относительно горизотального контура и выделения относительно вертикального контура. Это было проблемой предшествующего уровня техники, то есть, например, яркость [8] наклонного контура чрезмерно выделяется в [10], в то время как яркость [4] должна выделяться в [2] для того, чтобы сделать выделенные контуры слишком заметными.
Задача настоящего изобретения состоит в разработке способа и схемы выделения контура, предназначенных для выявления направления контуров таким образом, чтобы сигналы, представляющие контуры в точках пересечения горизонтального и вертикального контуров, и наклонные контуры, могли обрабатываться более естественно, чем с помощью традиционного способа.
Раскрытие изобретения
Настоящее изобретение, в частности, относится к способу выделения контура, в котором относительно контуров, представленных видеосигналами, для того, чтобы разрешить не только проблему, имеющую отношение к точке, где горизонтальный контур и вертикальный контур пересекаются, но также проблему, имеющую отношение к точке наклонного контура, яркость исходного пиксела и яркость одного из пикселов, соседних к исходному пикселу в горизонтальном, вертикальном, возрастающем вправо и возрастающем влево направлениях, и наиболее отличающаяся от яркости исходного пиксела, взвешиваются соответственно для того, чтобы получить величины выделения контура; пиксел, соседний к настоящему исходному пикселу, выбирается в качестве нового исходного пиксела, и указанная обработка повторяется последовательно; когда знаки двух последовательных величин выделения контура являются одинаковыми, величины выделения контура, предшествующие этим двум последовательным величинам выделения контура и следующие за ними, принимаются такими, как они есть, тогда как в случае, когда знаки двух последовательных величин выделения контура отличаются, величины выделения контура, предшествующие двум последовательным величинам выделения контура и следующие за ними, устанавливаются на 0 с помощью применения обработки оптимизации наклонного пиксела; величины выделения контура, которые подвергнуты обработке оптимизации наклонного пиксела, соответственно суммируются с соответствующими исходными пикселами.
Краткое описание чертежей
Фиг.1 изображает блок-схему, соответствующую традиционной схеме выделения контура.
Фиг.2 – схему, соответствующую сигналам, представляющим контуры, распространяющиеся в горизонтальном направлении и вертикальном направлении, состояния которых изменяются в соответствии с различными каскадами, введенным в схему выделения контура согласно фиг.1, где (а) – схема, изображающая исходные состояния цифровых сигналов, поступающих на входную клемму 10 видеосигнала; (b) – схема, изображающая сигнал, выведенный из каскада 29 выявления горизонтального контура; (с) – схема, изображающая сигнал, выведенный из каскада 30 выявления вертикального контура; (c) – схема, изображающая сигнал, снимаемый с выходной клеммы 23 видеосигнала.
Фиг.3 – схему, соответствующую сигналам, представляющим контуры, распространяющиеся в диагональном направлении, состояния которых изменяются в соответствии с различными каскадами, и введенным в схему выделения контура фиг.1, где (а) – схема, изображающая исходные состояния цифровых сигналов, поступающих на входную клемму 10 видеосигнала; (b) – схема, изображающая сигналы, снимаемые с выходной клеммы 23 видеосигнала.
Фиг.4 – блок-схему выделения контура в рамках первого варианта осуществления настоящего изобретения;
Фиг.5 – вспомогательную схему для пояснения операции, имеющей место в схеме, изображенной на фиг.4.
Фиг.6 – схему, изображающую сигналы в различных каскадах схемы выделения контура фиг.4, где (а) – схема, изображающая исходные состояния цифровых сигналов, поступающих на входную клемму 10 видеосигнала; (b) – схема, изображающая сигналы, снимаемые с выхода каскада 18 выявления контура; (с) – схема, изображающая сигналы, снимаемые с выходной клеммы 23 видеосигнала.
Фиг.7 – блок-схему выделения контура в рамках второго варианта осуществления настоящего изобретения.
Фиг.8 – вспомогательную схему, поясняющую работу схемы 25 оптимизации наклонного контура.
Фиг.9 – схему, изображающую сигналы в различных каскадах схемы выделения контура согласно фиг.7, где (а) – схема, изображающая исходные состояния цифровых сигналов, подаваемых на входную клемму 10 видеосигнала; (b) – схема, изображающая сигналы, снимаемые со схемы 20 суммирования; (с) – схема, изображающая сигналы, которые подвергнуты обработке оптимизации с помощью схемы 25 оптимизации наклонного контура; (d) – схема, изображающая сигнал, снимаемый с выходной клеммы 23 изображения.
Лучший способ осуществления изобретения
В соответствии с настоящим изобретением, только величина выделения контура, которая является наибольшей из всех абсолютных величин выделения контура пикселов, соответствующих контурам, лежащим в горизонтальном, вертикальном, увеличивающемся вправо и увеличивающемся влево направлениях вокруг определенного пиксела, принимается для того, чтобы таким образом предотвратить чрезмерное выделение контура для пересечения горизонтального контура и вертикального контура и точки наклонного контура и для того, чтобы получить приемлемое выделение контура для тех контуров, которые не выделены, таким образом обеспечивая естественное выделение контура в целом. Таким образом, настоящее изобретение заключается в том, что выделение контура на пересечении горизонтального контура и вертикального контура и точки наклонного контура не будет дублироваться, или контур, отсутствующий при необходимости выделения контура, выделяется правильно для получения более естественного контура с помощью правильной обработки соответствующих сигналов.
Кроме того, в соответствии с настоящим изобретением, для того чтобы решить не только проблему пересечения горизонтального контура и вертикального контура, но также проблему диагонального контура, когда знаки двух последовательных взвешенных величин выделения контура равны, а также проблему двух величин выделения, одной предшествующей, а другой последующей, указанные величины выделения контура принима:тся такими, как они есть, в то время как в случае, когда знаки двух последовательных взвешенных величин выделения контура отличаются, применяют технологию оптимизации величины диагонального контура, предназначенную для установки на “0” величин выделения контура, одной предшествующей, а другой последующей двум величинам выделения контура, и оптимизированная величина выделения контура суммируется с упомянутым исходным пикселом.
Первый вариант осуществления настоящего изобретения будет описан со ссылкой на фиг.4-6.
Согласно фиг.4, для того чтобы синхронизировать согласования по времени 9 пикселов, а именно горизонтальных пикселов В1 и ВЗ, вертикальных пикселов А2 и С2, возрастающих вправо пикселов С1 и А1 и возрастающих влево пикселов А1 и С1, которые лежат вокруг пиксела В2, изображенного на фиг.5, шесть схем 11 задержки на 1 точку и две схемы 12 задержки на 1 строку соединены с входной клеммой 10 видеосигнала.
Более конкретно, с целью синхронизировать согласование по времени пиксела С3 без задержки времени, который непосредственно снимается с входной клеммы 10 видеосигнала, согласование по времени пиксела С2 задерживается на 1 пиксел посредством 1-й схемы 11 задержки на 1 точку; согласование по времени пиксела С1 задерживается на 2 пиксела посредством 2-х схем 11 задержки на 1 точку; согласование по времени пиксела В3 задерживается на 1 строку посредством 1 схемы 12 задержки на 1 строку; аналогично пиксел В2 задерживается на 1 строку и 1 пиксел; В1 задерживается на 1 строку и 2 пиксела; A3 задерживается на 2 строки; А2 задерживается на 2 строки и 1 пиксел; А1 задерживается на 2 строки и 2 пиксела.
Указанные пикселы A1, А2, A3, B1, B2, В3, C1, C2 и С3 вводятся в схему 22 суммирования посредством каскада 24 выявления направления контура и каскада 18 выявления контура, а затем поступают на выходную клемму 23 видеосигнала.
В каскаде 24 выявления направления контура пикселы B1 и В3, представляющие горизонтальные контуры соответственно и приходящие до и после пиксела В2, последовательно подаются на схему 13а вычитания для получения разностного значения между B1 и В2 и на схему 14а вычисления абсолютной величины; C1 и A3, представляющие контуры, увеличивающиеся вправо, последовательно подаются на схему 13b вычитания для получения разности между C1 и A3 и на схему 14b вычисления абсолютной величины; А2 и C2, представляющие контуры в вертикальном направлении, последовательно подаются на схему 13с вычитания для получения разностного значения между А2 и C2 и на схему 14с вычисления абсолютной величины; А1 и С3, представляющие контуры, увеличивающиеся влево, последовательно подаются на схему 13d вычитания для получения разностного значения между А1 и С3 и на схему 14d вычисления абсолютной величины.
Схемы 14а по 14d вычисления абсолютной величины соединены со схемой 15 выявления максимальной величины, в то время как схема 15 выявления максимальной величины выводит сигнал для выбора одного из горизонтальных пикселов В1 и В3, вертикальных пикселов А2 и С2, пикселов С1 и A3, увеличивающихся вправо, и пикселов А1 и СЗ, увеличивающихся влево.
Выходной сигнал упомянутой первой схемы 16 выбора поступает на фильтр 19а выявления контура каскада 18 выявления контура; выходной сигнал упомянутой второй схемы 17 выбора поступает на фильтр 19с выявления контура; В2 поступает на фильтр 19b выявления контура; кроме того, фильтры 19а, 19b и 19с выявления контура соединены со схемой 20 суммирования и через схему 21 умножения коэффициента со схемой 22 суммирования, на которую поступает и пиксел В2.
В дальнейшем будет описано функционирование описанной выше системы.
Предполагается, что цифровой сигнал, подаваемый на входную клемму 10 видеосигнала, представляет горизонтальный и вертикальный контуры, которые изображены на фиг.6(а).
Пикселы A1, A2, A3, B1, B2, В3, C1, C2 и С3 синхронизированы посредством схемы 11 задержки на 1 точку и схемы 11 задержки на 1 строку; выявляются соответственно разности между горизонтальными пикселами B1 и В3, между вертикальными пикселами А2 и С2, между пикселами С1 и A3, увеличивающимися вправо, и между пикселами А1 и С3, увеличивающимися влево; определяются абсолютные величины этих разностей; определяется максимальная величина из этих абсолютных величин.
Там, где коэффициенты фильтров 19а, 19b и 19с выявления контура предполагаются равными -1/4, 2/4 и -1/4, соответственно, когда абсолютная величина [В1 – В3] горизонтального пиксела равна максимальной величине, (-В1 +2В2 -В3)/4 будет вычислено с помощью каскада 18 выявления контура; когда абсолютная величина [А2 – С2] вертикального пиксела равна максимальной величине, (-А2 +2В2 -С2)/4 будет вычислено с помощью каскада 18 выявления контура; когда абсолютная величина [С1-A3] пиксела, увеличивающегося вправо, равна максимальной величине, (-Cl +2B2 -А3)/4 будет вычислено с помощью каскада 18 выявления контура; когда абсолютная величина [А1 – СЗ] пиксела, увеличивающегося влево, равна максимальной величине, (-А1 +2B2 -С3)/4 будет вычислено с помощью каскада 18 выявления контура.
Например, в случае 9 пикселов в кадре Z1, изображенном на фиг.6(а), поскольку абсолютная величина [А1 – СЗ] пиксела в направлении, увеличивающемся влево, является максимальной, (-А1 +2B2 -С3)/4 будет вычислено, а В2 в этом случае становится равным +1, как в случае, изображенном на фиг.6(b).
В случае 9 пикселов в кадре Z2, изображенном на фиг.6(а), поскольку абсолютная величина [В1-В3] горизонтального пиксела, абсолютная величина [А2-С2] вертикального пиксела и абсолютная величина [А1-С3] пиксела, увеличивающегося влево, соответственно являются максимальными, любая из этих максимальных величин может быть выбрана для вычисления, а величина В2 в этом случае становится равной -1, как в случае, изображенном на фиг.6(b).
Аналогичным образом в случае 9 пикселов в кадре X1 их величина становится равной +1; в случае 9 пикселов в кадре Х2 их величина становится -1; в случае 9 пикселов в кадре Y1 их величина соответствует +1; в случае 9 пикселов в кадре Y2 их величина соответствует -1; в результате чего величины выделения контура, как показано на фиг.6(b), могут быть получены с помощью каскада 18 выявления контура.
Когда величины выделения контура, полученные с помощью каскада 18 выявления контура, суммируются соответственно с В2 в схеме 22 суммирования, будут получены видеосигналы, измененные с помощью коэффициентов выделения контура, как показано на фиг.6(с).
Как следует из фиг.6(с), контуры могут быть выделены более естественно на пересечении горизонтального контура и вертикального контура.
Второй вариант осуществления настоящего изобретения будет описан со ссылкой на фиг.7-9.
В случае первого варианта осуществления, проиллюстрированного на фиг.4, контуры в горизонтальном направлении и вертикальном направлении могут быть удовлетворительно выделены, однако существует проблема, связанная с тем, что диагональный контур скорее имеет тенденцию быть чрезмерно выделенным.
Например, как показано на фиг.9(а), в случае контура, увеличивающегося вправо, как было показано ранее в первом варианте осуществления, со ссылкой на фиг.4, в случае 9 пикселов в кадре X1 они соответствуют +1; в случае 9 пикселов в кадре Х2 они соответствуют +1; в случае 9 пикселов в кадре Х3 они соответствуют -1; в случае 9 пикселов в кадре Х4 они соответствуют -1. Следовательно, как указано заштрихованными пикселами на фиг.9(b), встречаются 2 последовательных пиксела +1 и 2 последовательных пиксела -1, таким образом вызывая чрезмерное выделение относительно рассматриваемого контура.
Следовательно, согласно фиг.7, во втором варианте осуществления настоящего изобретения для того, чтобы разрешить проблему чрезмерного выделения, как было показано выше, схема 25 оптимизации диагонального контура включена между схемой 20 суммирования и схемой 21 умножения коэффициента и в каскаде 18 выявления контура.
Указанная схема 25 оптимизации диагонального контура содержит 3 схемы 11 задержки на 1 точку, соединенных последовательно, переключающий каскад 27, включенный между схемой 11 задержки на 1 точку и схемой 20 суммирования, переключающий каскад 28, включенный между третьей схемой 11 задержки на 1 точку и схемой 21 умножения коэффициента, схему 26 сравнения знака для сравнения знаков, соединенную с выходной ступенью первой схемы 11 задержки на 1 точку и с
выходной ступенью второй схемы 11 задержки на 1 точку таким образом, чтобы переключающий каскад 27 и переключающий каскад 28 могли управляться выборочно выходным сигналом схемы сравнения знака.
Кроме того, схема 33 задержки на 3 точки введена в каскад, предшествующий схеме 22 суммирования с тем, чтобы обеспечить возможность регулировки действия вставки схемы 25 оптимизации диагонального контура на согласование по времени сигнала В2.
Работа указанной схемы выделения контура будет приведена ниже.
Выходной сигнал схемы 20 суммирования в каскаде 18 выявления контура подобен сигналу по первому варианту осуществления. Например, в случае фиг.9(b) величины а1=+1, а2=+1, а3=-1 и а4=-1 выделения контура могут быть получены в соответствии с X1, Х2, Х3 и Х4, данными на фиг.9(а).
Знак выходного сигнала а2 первой схемы 11 задержки на 1 точку и знак выходного сигнала а3 второй схемы 11 задержки на 1 точку сравниваются посредством схемы 26 сравнения знака.
В этом случае знаки различаются, т.е. знак а2 соответствует знаку +, в то время как знак а3 соответствует знаку -, и следовательно, переключающий каскад 27 и переключающий каскад 28 устанавливаются на “0” соответственно. Следовательно, как а1, так и а4 становятся равными 0, так, что получаются величины а1=0, а2=+1, а3=-1 и а4=0 выделения контура. Аналогично в случае, когда a1=0, а2=+1, а3=-1 и а4=0, знаки а2 и а3 являются одинаковыми, a1=0, а2=+1, а3=-1 и а4=0 выводятся такими, как они есть, а также в случае, когда a1=+1, а2=-1, а3=-1 и а4=0, так как знаки а2 и а3 являются одинаковыми, a1=+1, а2=-1, а3=-1 и а4=0 выводятся такими, как они есть.
Следовательно, как показано на фиг.9(d), можно видеть, что даже наклонные контуры могут быть естественным образом выделены.
В случаях, изображенных на фиг.4 и 7, коэффициенты фильтров 19а, 19Ь и 19с выявления контура каскада 18 выявления контура устанавливаются в -1/4, 1/2, -1/4 соответственно, но коэффициенты не ограничены этим; например, коэффициенты могут быть -1/5, 2/5 и -1/5, которые дают 0 при суммировании.
Кроме того, в случае вышеупомянутого варианта осуществления 9 пикселов (3 × 3 пиксела) обрабатываются одновременно, но число пикселов, обрабатываемых одновременно, не ограничивается этим; например, 25 пикселов (5×5 пиксела) могут быть обработаны одновременно. Например, когда пикселы сгруппированы как А1-А5, В1-В5, С1-С5, D1-D5 и Е1-Е5, С3 является центральным пикселом; для разности яркости в горизонтальном направлении выявляются разность яркости между С1 и С5 и разность яркости между С2 и С4. Коэффициенты могут быть установлены, например, на -1/16, 6/16, -2/16 и -1/16 и т. д. В этом случае все 25 пикселов не подлежат вычислению; 8 пикселов А2, А4, В1, В5, D1, D5, Е2 и Е4 не подлежат
выявлению, то есть 17 пикселов, соответствующих горизонтальному, вертикальному, увеличивающемуся вправо и увеличивающемуся влево контурам, подлежат вычислению.
Промышленная применимость
Как было показано выше, способ и схема выделения контура в соответствии с настоящим изобретением способны естественным путем выделять точки, где пересекаются горизонтальные, вертикальные и наклонные контуры, которые вводятся как цифровые видеосигналы, для ПИП (плазменной индикаторной панели) и ЖД (жидкокристаллического дисплея), которые управляются с помощью цифрового видеосигнала.
Формула изобретения
1. Способ выделения контура, согласно которому для пикселов, получаемых с помощью цифровых видеосигналов, определяют яркость пиксела, наиболее отличающуюся от яркости исходного пиксела, содержащий этапы: определяют разности между яркостями пикселов, соседних с исходным пикселом соответственно в горизонтальном, вертикальном, увеличивающимся вправо и увеличивающимся влево направлениях, определяют максимальную величину из этих абсолютных величин, взвешивают яркость исходного пиксела и яркость пиксела, наиболее отличающуюся от яркости исходного пиксела для определения значения выделения контура, выбирают пиксел, соседний для упомянутого исходного пиксела, в качестве следующего исходного пиксела для повторения операции, аналогичной вышеупомянутой, причем при совпадении знаков 2-х последовательных величин выделения контура предыдущая и последующая величины выделения контура принимаются такими, как они есть; при различии знаков 2-х последовательных величин выделения контура производят операцию оптимизации диагонального контура для обращения в 0 предыдущей и последующей величин выделения контура; а величины выделения контура, полученные на этапе оптимизации диагонального контура, суммируют с соответствующими упомянутыми исходными пикселами соответственно.
2. Схема выделения контура, содержащая средство синхронизации, состоящее из схемы задержки на 1 точку и схемы задержки на 1 строку, для синхронизации согласования по времени исходного пиксела и соседних пикселов в горизонтальном, вертикальном, увеличивающемся вправо и увеличивающемся влево направлениях, представленных с помощью цифровых видеосигналов, каскад 24 выявления направления контура для выявления направления для пиксела, абсолютная величина разности яркости которого является наибольшей из разности яркостей горизонтального, вертикального, увеличивающегося вправо и увеличивающегося влево пикселов, которые синхронизированы с помощью средства синхронизации, каскад 18 выявления контура, состоящий из схемы 25 оптимизации диагонального контура, выполненной с возможностью определения взвешенных величин выделения контура яркостей пикселов в направлениях, выявленных в каскаде 24 выявления направления контура, и яркости упомянутого исходного пиксела, так, что новые исходные пикселы выбираются последовательно в качестве пикселов, следующих за упомянутым исходным пикселом, причем при совпадении знаков двух последовательных величин выделения контура величины выделения контура, предшествующие этим двум последовательным величинам выделения контура и следующие за ними, принимаются такими, как они есть, а при различии знаков двух последовательных величин выделения контура величины выделения контура, предшествующие этим двум последовательным величинам выделения контура и следующие за ними, устанавливаются на 0, и
схему 22 суммирования для суммирования величин выделения контура, полученных на этапе оптимизации диагонального контура в каскаде 18 выявления контура, с соответствующими исходными пикселами соответственно.
3. Схема выделения контура по п.2, в которой каскад 18 выявления контура включает в себя фильтры 19а и 19с выявления контура для взвешивания яркостей пикселов в направлениях, выявленных в каскаде 24 выявления направления контура, фильтр 19b выявления контура для взвешивания яркости упомянутого исходного пиксела В2 и схему 25 оптимизации диагонального контура, выполненную таким образом, что при совпадении знаков двух последовательных величин выделения контура величины выделения контура, предшествующие двум последовательным величинам выделения контура и следующие за ними, принимаются такими, как они есть, а при различии знаков двух последовательных величин выделения контура величины выделения контура, предшествующие двум последовательным величинам выделения контура и следующие за ними, устанавливаются на 0.
4. Схема выделения контура по п.2, в которой средство синхронизации включает в себя схему 11 задержки на 1 точку и схему 12 задержки на 1 строку для синхронизации согласования по времени всех 17 пикселов, в частности, исходного пиксела С3 и пар соседних горизонтальных пикселов С1 и С5, С2 и С4, пар соседних вертикальных пикселов A3 и Е3, В3 и D3, пар соседних увеличивающихся вправо пикселов Е1 и А5, D2 и В4 и пар соседних увеличивающихся влево пикселов А1 и Е5, В2 и D4; каскад 24 выявления направления контура включает в себя схему 13 вычитания для выявления разности яркости между каждой из пар горизонтальных пикселов С1 и С5, С2 и С4, каждой из пар вертикальных пикселов A3 и Е3, В3 и D3, каждой из пар увеличивающихся вправо пикселов Е1 и А5, D2 и В4 и каждой из пар увеличивающихся влево пикселов А1 и Е5, В2 и D4, схему 14 вычисления абсолютной величины для определения абсолютных величин разностей яркости, схему 15 выявления максимальной величины для выявления направления пиксела, абсолютная величина которого является наибольшей из всех, и первую схему 16 выбора и вторую схему 17 выбора для выходного сигнала одного из направлений горизонтальных пикселов С1 и С5, С2 и С4, вертикальных пикселов A3 и Е3, В3 и D3, увеличивающихся вправо пикселов Е1 и А5, D2 и В4 и увеличивающихся влево пикселов А1 и Е5, В2 и D4 в ответ на сигнал, выявленный в схеме 15 выявления максимальной величины; при этом каскад 18 выявления контура включает в себя фильтры 19а, 19b, 19d и 19с для соответствующего взвешивания яркостей пикселов в направлениях, выявленных с помощью упомянутого каскада 24 выявления направления контура, фильтр 19с для взвешивания яркости упомянутого исходного пиксела С3, и схему 20 суммирования для суммирования вышеуказанных величин; схема 22 суммирования выполнена с возможностью суммирования величины выделения контура, взвешенной с помощью упомянутого каскада 18 выявления контура, с упомянутым исходным пикселом С3.
5. Схема выделения контура по п.4, в которой коэффициенты фильтров 19а, 19b и 19d выявления контура для соответствующего взвешивания яркостей пикселов в направлениях, выявленных с помощью каскада 24 выявления контура, устанавливаются равными -1/16, -1/8, -1/8, и -1/16, в то время как коэффициент фильтра 19 с выявления контура для взвешивания яркости исходного пиксела устанавливается равным 3/8.
РИСУНКИ
MM4A – Досрочное прекращение действия патента СССР или патента Российской Федерации на изобретение из-за неуплаты в установленный срок пошлины за поддержание патента в силе
Дата прекращения действия патента: 26.10.2007
Извещение опубликовано: 27.07.2010 БИ: 21/2010
|
|