Патент на изобретение №2256292

Published by on




РОССИЙСКАЯ ФЕДЕРАЦИЯ



ФЕДЕРАЛЬНАЯ СЛУЖБА
ПО ИНТЕЛЛЕКТУАЛЬНОЙ СОБСТВЕННОСТИ,
ПАТЕНТАМ И ТОВАРНЫМ ЗНАКАМ
(19) RU (11) 2256292 (13) C1
(51) МПК 7
H04B7/26
(12) ОПИСАНИЕ ИЗОБРЕТЕНИЯ К ПАТЕНТУ

Статус: по данным на 18.01.2011 – действует

(21), (22) Заявка: 2003134509/09, 27.11.2003

(24) Дата начала отсчета срока действия патента:

27.11.2003

(45) Опубликовано: 10.07.2005

(56) Список документов, цитированных в отчете о
поиске:
РАТЫНСКИЙ М.В. Основы сотовой связи. – М.: Радио и связь, 2000, с.7-59. RU 2201656 С1, 27.03.2003. WO 96/00484 А, 04.01.1996.

Адрес для переписки:

394077, г.Воронеж, Московский пр-кт, 97, ЗАО “Кодофон”, В.А. Фурсовой

(72) Автор(ы):

Гармонов А.В. (RU),
Савинков А.Ю. (RU),
Филин С.А. (RU)

(73) Патентообладатель(и):

Гармонов Александр Васильевич (RU)

(54) СПОСОБ ОРГАНИЗАЦИИ СОТОВОЙ СЕТИ СВЯЗИ, СПОСОБ РЕГИСТРАЦИИ МОБИЛЬНОЙ СТАНЦИИ В СОТОВОЙ СЕТИ СВЯЗИ, СПОСОБ УСТАНОВЛЕНИЯ СОЕДИНЕНИЯ МОБИЛЬНОЙ СТАНЦИИ С ДРУГОЙ МОБИЛЬНОЙ СТАНЦИЕЙ ИЛИ С ФИКСИРОВАННЫМ ТЕЛЕФОНОМ, СПОСОБ ПЕРЕДАЧИ ОБСЛУЖИВАНИЯ МОБИЛЬНОЙ СТАНЦИИ МЕЖДУ ПРИЕМОПЕРЕДАЮЩИМИ СИСТЕМАМИ БАЗОВЫХ СТАНЦИЙ И СПОСОБ ЗАВЕРШЕНИЯ СОЕДИНЕНИЯ С МОБИЛЬНОЙ СТАНЦИЕЙ

(57) Реферат:

Группа изобретений относится к организации сотовой сети связи и может быть использована в системах сотовой связи второго, третьего поколений, а также в других системах сотовой связи. Технический результат состоит в повышении технической эффективности осуществления организации посредством уменьшения нагрузки на проводные линии связи, соединяющие приемопередающие системы базовых станций. Для этого изменяют организацию сотовой сети связи, процедуры регистрации мобильной станции в сотовой сети связи, установления соединения с мобильной станцией, передачи обслуживания мобильной станции между приемопередающими системами базовых станций и завершения соединения с мобильной станцией внутри участков линейного покрытия, при котором существенно уменьшается количество служебных сообщений, обмен которыми необходим для осуществления указанных процедур. 5 н.п. ф-лы, 12 ил.

Группа изобретений относится к способу организации сотовой сети связи, способу регистрации мобильной станции в сотовой сети связи, способу установления соединения мобильной станции с другой мобильной станцией или с фиксированным телефоном, способу передачи обслуживания мобильной станции между приемопередающими системами базовых станций и способу завершения соединения с мобильной станцией. Изобретения могут быть использованы, например, в системах сотовой связи второго, третьего поколений, а также в других системах сотовой связи.

Рассмотрим логическую структуру и архитектуру сотовой сети связи.

Логическая структура сотовой сети связи, описанная, например, в стандарте TIA/EIA/IS-41-D, Cellular Radiotelecommunications lutersystem Operations, 1997, проиллюстрирована на фиг.1.

Сотовая сеть связи включает следующие основные логические элементы:

мобильную станцию 1

базовую станцию 2, состоящую из двух частей:

– контроллера базовых станций;

– приемопередающей системы базовой станции

центр коммутации 3

интерфейс с внешней сетью 4.

Мобильная станция 1 осуществляет кодирование, модуляцию, передачу прием, демодуляцию и декодирование голоса и данных, взаимодействуя при этом с базовой станцией 2. С мобильной станции 1 передают сигналы, содержащие голос и данные, на базовую станцию 2. С базовой станции 2 также передают сигналы, содержащие голос и данные, на мобильную станцию 1.

Кроме этих сигналов мобильная станция 1 и базовая станция 2 обмениваются сигналами, содержащими служебную информацию. Она необходима для установления, прекращения и поддержания соединения между мобильной станцией 1 и базовой станцией 2, а также для регистрации мобильной станции 1 в данной сотовой сети связи. Структура этих сигналов и сообщений описана, например, в стандарте TIA/EIA/IS-95-A, Mobile Station – Base Station Compatibility Standard for Dual-Mode Wideband Spread Spectrum Cellular System, 1995.

Базовая станция 2 осуществляет кодирование, модуляцию, передачу и прием, демодуляцию и декодирование голоса и данных, взаимодействуя при этом с мобильной станцией 1.

В случае, когда мобильная станция 1 взаимодействует с мобильной станцией, не находящейся в зоне обслуживания базовой станции 2, или с фиксированным телефоном, базовая станция 2 взаимодействует с центром коммутации 3. С базовой станции 2 на центр коммутации 3 поступают сигналы, содержащие голос и данные, источником которых является мобильная станция 1. С центра коммутации 3 на базовую станцию 2 поступают сигналы, содержащие голос и данные, получателем которых является мобильная станция 1. Также базовая станция 2 и центр коммутации 3 обмениваются сигналами, содержащими служебную информацию. Она необходима для установления, прекращения и поддержания соединения между мобильной станцией 1 и базовой станцией 2, а также для регистрации мобильной станции 1 в данной сотовой сети связи. Структура этих сигналов и сообщений описана, например, в стандарте TIA/EIA/IS-634-B, MSC-BS Interface for Public Wireless Communications Systems, 1999.

Центр коммутации 3 осуществляет коммутацию всех поступающих на него сигналов, содержащих голос и данные. Он взаимодействует с внешней сетью 4 и с другими центрами коммутации. С базовой станции 2 на центр коммутации 3 поступают сигналы, содержащие голос и данные. С центра коммутации 3 на базовую станцию 2 также поступают сигналы, содержащие голос и данные. С центра коммутации 3 на другие центры коммутации поступают сигналы, содержащие голос и данные. С других центров коммутации на центр коммутации 3 также поступают сигналы, содержащие голос и данные. С центра коммутации 3 на внешнюю сеть 4 поступают сигналы, содержащие голос и данные. С внешней сети 4 также поступают сигналы, содержащие голос и данные. Также центр коммутации 3, другие центры коммутации и внешняя сеть 4 обмениваются сигналами, содержащими служебную информацию. Она необходима для установления, прекращения и поддержания соединения между мобильной станцией 1 и базовой станцией 2, а также для регистрации мобильной станции 1 в данной сотовой сети связи. Структура этих сигналов и сообщений описана, например, в стандарте TIA/EIA/IS-41-D, Cellular Radiotelecommunications Intersystem Operations, 1997.

В качестве внешней сети может выступать, например, городская телефонная сеть или некоторая сеть передачи данных, например Internet.

Логическая структура сотовой сети связи описывает ее основные логические элементы, их функции и взаимодействие. Архитектура сотовой сети связи описывает распределение функций логических элементов между физическими устройствами и их взаимодействие.

Традиционно используют иерархическую архитектуру сотовой сети связи, которая проиллюстрирована на фиг.2.

В приведенном примере (фиг.2) центр коммутации (ЦК) 5 соединен с внешней сетью и другими центрами коммутации. Кроме того, центр коммутации 5 соединен с контроллерами базовых станций (КБС) 5-1 и 5-2. Центр коммутации 5 обслуживает контроллеры базовых станций 5-1 и 5-2.

Контроллер базовых станций 5-1 соединен с приемопередающими системами базовых станций (ППСБС) 5-1-1, 5-1-2, 5-1-3 и 5-1-4. Контроллер базовых станций 5-1 обслуживает приемопередающие системы базовых станций 5-1-1, 5-1-2, 5-1-3 и 5-1-4.

Контроллер базовых станций 5-2 соединен с приемопередающими системами базовых станций 5-2-1, 5-2-2, 5-2-3 и 5-2-4. Контроллер базовых станций 5-2 обслуживает приемопередающие системы базовых станций 5-2-1, 5-2-2, 5-2-3 и 5-2-4.

Архитектура сотовой сети связи отличается от ее логической структуры тем, что один центр коммутации обслуживает несколько контроллеров базовых станций, а один контроллер базовых станций обслуживает несколько приемопередающих систем базовых станций. Т.е. используется иерархическая архитектура обслуживания.

Каждая из приемопередающих систем базовых станций имеет свою зону обслуживания. Под зоной обслуживания приемопередающей системы базовой станции понимают такую часть зоны покрытия сотовой сети связи, что если некоторая мобильная станция находится внутри этой зоны обслуживания, то возможны установление соединения и передача голоса и данных между этой мобильной станцией и этой приемопередающей системой базовой станции.

Центры коммутации, контроллеры базовых станций и приемопередающие системы базовых станций представляют собой разные физические устройства. Территориально они могут быть расположены как рядом, так и на значительном расстоянии друг от друга.

Центры коммутации, контроллеры базовых станций и приемопередающие системы базовых станций обычно соединены между собой проводными линиями связи.

Описанная иерархическая архитектура сотовой сети связи обладает существенным недостатком.

Возможна ситуация, когда сотовая сеть связи кроме участков сплошного покрытия должна иметь протяженные участки линейного покрытия. Указанная задача возникает, например, при обеспечении связи вдоль железнодорожных линий или на автомобильных дорогах. Протяженность таких участков линейного покрытия может достигать сотен километров.

Пример зоны покрытия сотовой сети связи, включающей участки сплошного и линейного покрытия, приведен на фиг.3.

На фиг.3 показано три участка сплошного покрытия 6-1, 6-2 и 6-3, а также пять участков линейного покрытия 7-1, 7-2, 7-3, 7-4 и 7-5. Покрытие линейных участков обеспечивается приемопередающими системами базовых станций. Контроллеры базовых станций и центры коммутации располагают внутри участков со сплошным покрытием.

При использовании иерархической архитектуры сотовой сети связи необходимо обеспечить проводную связь всех приемопередающих систем базовых станций участка линейного покрытия с контроллерами базовых станций, их обслуживающими.

Фиг.4 иллюстрирует пример соединения приемопередающих систем базовых станций участка линейного покрытия с контроллером базовых станций, расположенным на участке сплошного покрытия.

Контроллер базовых станций 8 расположен внутри участка со сплошным покрытием. Приемопередающие системы базовых станций 8-1-8-5 расположены внутри участка с линейным покрытием.

В приведенном на фиг.4 примере приемопередающие системы базовых станций 8-1-8-5 обслуживаются контроллером базовых станций 8.

При иерархической архитектуре обслуживания вдоль линейного участка необходимо иметь несколько линий связи. Их число равно числу приемопередающих систем базовых станций (в приведенном примере – пять).

Такое соединение приемопередающих систем базовых станций и контроллера базовых станций экономически неэффективно.

Взаимодействие между приемопередающими системами базовых станций, контроллерами базовых станций и центрами коммутации описано в стандарте TIA/EIA/IS-634-B, MSC-BS Interface for Public Wireless Communications Systems, 1999, который является решением, наиболее близким к заявляемому способу.

Сеть сотовой связи по способу-прототипу включает:

одну или более мобильную станцию,

одну или более приемопередающую систему базовой станции,

один или более контроллер базовых станций,

один или более центр коммутации.

Каждая приемопередающая система базовой станции имеет зону покрытия.

Каждый контроллер базовых станций обслуживает одну или более приемопередающую систему базовой станции и соединен проводной линией связи с каждой приемопередающей системой базовой станции, которую он обслуживает.

Каждый центр коммутации обслуживает один или более контроллер базовых станций и соединен проводной линией связи с каждым контроллером базовых станций, который он обслуживает.

Один или более центр коммутации имеет интерфейс с одной или более внешней сетью. Все центры коммутации сотовой сети связи соединены между собой проводными линиями связи непосредственно или через другие центры коммутации таким образом, что каждый центр коммутации имеет интерфейс с одной или более внешней сетью непосредственно или через другие центры коммутации.

В качестве внешней сети может выступать, например, городская телефонная сеть или некоторая сеть передачи данных, например Internet.

В составе каждого центра коммутации есть регистр местоположения, в котором указано, в зоне обслуживания какой приемопередающей системы базовой станции находится каждая мобильная станция, зарегистрированная в сотовой сети связи. Под регистром местоположения понимают базу данных, в которой указана текущая информация о каждой зарегистрированной мобильной станции. Эта информация может включать номер мобильной станции, типы сервиса, которые поддерживает ее оборудование, а также в зоне обслуживания какой приемопередающей системы базовой станции она находится.

Сотовая сеть связи в процессе своей работы должна обеспечивать следующие основные процедуры:

регистрацию мобильной станции в сотовой сети связи,

установление соединения мобильной станции с другой мобильной станцией или с фиксированным телефоном, а также передачу голоса и данных между мобильной станцией и другой мобильной станцией или фиксированным телефоном,

передачу обслуживания мобильной станции между приемопередающими системами базовых станций,

завершение соединения с мобильной станцией.

Таким образом, согласно описанию упомянутого известного способа организации сотовой сети связи, можно выделить следующие основные признаки его реализации:

обслуживают посредством каждого контроллера базовых станций группу из одной или более приемопередающей системы базовой станции,

обеспечивают для этого связь каждого контроллера базовых станций внутри участка сплошного покрытия с каждой приемопередающей системой базовой станции обслуживаемой им группы,

обслуживают посредством каждого центра коммутации один или более контроллер базовых станций,

обеспечивают для этого связь каждого центра коммутации с каждым контроллером базовых станций, который обслуживают посредством этого центра коммутации,

обеспечивают на одном или более центре коммутации интерфейс с одной или более внешней сетью,

обеспечивают связь всех центров коммутации между собой непосредственно или через другие центры коммутации таким образом, что обеспечивают интерфейс каждого центра коммутации с одной или более внешней сетью непосредственно или через другие центры коммутации,

указывают на каждом центре коммутации в зоне обслуживания какой приемопередающей системы базовой станции находится каждая зарегистрированная мобильная станция,

обеспечивают установление соединения каждой мобильной станции с другой мобильной станцией или с фиксированным телефоном, а также передачу голоса и данных между ними,

обеспечивают передачу обслуживания мобильной станции между приемопередающими системами базовых станций для непрерывной передачи голоса и данных при смене мобильной станцией зоны обслуживания во время соединения,

обеспечивают завершение соединения с мобильной станцией для освобождения ресурсов сотовой сети связи.

Такой способ организации сотовой сети связи является экономически неэффективным при наличии как участков сплошного, так и участков линейного покрытия. Он предъявляет необоснованно высокие требования к пропускной способности проводных линий связи, установленных вдоль линейных участков.

Способ регистрации мобильной станции в сотовой сети связи описан в стандарте TIA/EIAIS-634-B, MSC-BS Interface for Public Wireless Communications Systems, 1999, который является решением, наиболее близким к заявляемому способу.

Пусть мобильная станция находится в зоне обслуживания приемопередающей системы базовой станции, которая обслуживается контроллером базовых станций, который обслуживается центром коммутации.

Регистрация мобильной станции в сотовой сети связи осуществляется следующим образом.

Мобильная станция передает на приемопередающую систему базовой станции сообщение о регистрации.

Приемопередающая система базовой станции передает на контроллер базовых станций сообщение обновления местоположения, которое затем поступает с контроллера базовых станций на центр коммутации.

Центр коммутации передает на контроллер базовых станций подтверждение обновления местоположения, которое затем поступает с контроллера базовых станций на приемопередающую систему базовой станции, а с нее поступает на мобильную станцию.

Таким образом, согласно описанию упомянутого известного способа регистрации мобильной станции в сотовой сети связи, можно выделить следующие основные признаки его реализации:

передают сообщение регистрации с мобильной станции на приемопередающую систему базовой станции,

передают с приемопередающей системы базовой станции на контроллер базовых станций сообщение обновления местоположения, которое затем передают с контроллера базовых станций на центр коммутации,

обновляют на контроллере базовых станций информацию о зоне обслуживания мобильной станции,

передают с центра коммутации на контроллер базовых станций подтверждение обновления местоположения, которое затем передают с контроллера базовых станций на приемопередающую систему базовой станции, а с нее – на мобильную станцию.

Способ установления соединения мобильной станции с другой мобильной станцией или с фиксированным телефоном описан в патентах US 5392287, Apparatus and Method for Reducing Power Consumption in a Mobile Communications Receiver, Int. Cl. H 04 J 3/04 и US 5673259, Random Access Channel, Int. C1. H 04 J 13/00, H 04 Q 7/30, а также в стандарте TIA/EIA/IS-634-В, MSC-BS Interface for Public Wireless Communications Systems, 1999, который является решением, наиболее близким к заявляемому способу.

Соединение между мобильной станцией и другой мобильной станцией или фиксированным телефоном устанавливают по-разному в случае входящего и в случае исходящего звонка.

Рассмотрим сначала случай, когда звонок входящий, т.е. когда инициатором установления соединения с мобильной станцией является другая мобильная станция или фиксированный телефон.

Пусть мобильная станция находится в зоне обслуживания приемопередающей системы базовой станции, которая обслуживается контроллером базовых станций, который обслуживается центром коммутации.

Для установления соединения осуществляют следующую последовательность действий.

На центр коммутации поступает входящий звонок, предназначенный для мобильной станции. На центре коммутации имеется регистр местоположения, в котором указано, что в данный момент мобильная станция находится в зоне обслуживания приемопередающей системы базовой станции.

Центр коммутации передает на контроллер базовых станций запрос на вызов, который затем поступает с контроллера базовых станций на приемопередающую систему базовой станции.

Приемопередающая система базовой станции передает на мобильную станцию сообщение вызова и принимает с мобильной станции ответ на вызов.

Приемопередающая система базовой станции передает на контроллер базовых станций подтверждение вызова, которое затем поступает с контроллера базовых станций на центр коммутации.

Центр коммутации передает на контроллер базовых станций запрос на выделение канала, который затем поступает с контроллера базовых станций на приемопередающую систему базовой станции.

Приемопередающая система базовой станции передает на мобильную станцию сообщение с номером выделенного канала и принимает с мобильной станции подтверждение.

Приемопередающая система базовой станции передает на контроллер базовых станций подтверждение выделения канала, которое затем поступает с контроллера базовых станций на центр коммутации.

Центр коммутации передает голос и данные, предназначенные для мобильной станции, на контроллер базовых станций, откуда они поступают на приемопередающую систему базовой станции, а затем – на мобильную станцию.

Мобильная станция передает голос и данные на приемопередающую систему базовой станции, откуда они поступают на контроллер базовых станций, на центр коммутации и далее инициатору соединения.

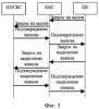
Служебные сообщения, обмен которыми необходим при установлении соединения с мобильной станцией при входящем звонке, проиллюстрирован на фиг.5.

Рассмотрим теперь случай, когда звонок исходящий, т.е. когда инициатором установления соединения является мобильная станция, которой надо установить соединение с другой мобильной станцией или с фиксированным телефоном.

Пусть мобильная станция находится в зоне обслуживания приемопередающей системы базовой станции, которая обслуживается контроллером базовых станций, который обслуживается центром коммутации.

Для установления соединения осуществляют следующую последовательность действий.

Мобильная станция передает на приемопередающую систему базовой станции запрос на установление соединения.

Приемопередающая система базовой станции передает на мобильную станцию подтверждение о получении запроса и передает на контроллер базовых станций запрос на установление соединения, который поступает затем на центр коммутации.

Центр коммутации передает на контроллер базовых станций запрос на выделение канала, который затем поступает с контроллера базовых станций на приемопередающую систему базовой станции.

Приемопередающая система базовой станции передает на мобильную станцию сообщение с номером выделенного канала и принимает с мобильной станции подтверждение.

Приемопередающая система базовой станции передает на контроллер базовых станций подтверждение выделения канала, которое затем поступает с контроллера базовых станций на центр коммутации.

Центр коммутации устанавливает соединение с внешней сетью (если звонок предназначен для фиксированного телефона) или с другим центром коммутации, или с другим контроллером базовых станций, или с контроллером базовых станций в зависимости от нахождения другой мобильной станции (если звонок предназначен для другой мобильной станции).

Мобильная станция передает голос и данные на приемопередающую систему базовой станции, откуда они поступают на контроллер базовых станций, на центр коммутации и далее на другую мобильную станцию или фиксированный телефон.

Центр коммутации передает голос и данные, предназначенные для мобильной станции, на контроллер базовых станций, откуда они поступают на приемопередающую систему базовой станции, а затем – на мобильную станцию.

Служебные сообщения, обмен которыми необходим при установлении соединения с мобильной станцией при исходящем звонке, проиллюстрирован на фиг.6.

Таким образом, согласно описанию упомянутого известного способа установления соединения мобильной станции с другой мобильной станцией или с фиксированным телефоном, можно выделить следующие основные признаки его реализации:

передают с центра коммутации на контроллер базовых станций запрос на вызов, который затем передают с контроллера базовых станций на приемопередающую систему базовой станции,

передают с приемопередающей системы базовой станции на мобильную станцию сообщение вызова и принимают с мобильной станции ответ на вызов,

передают с приемопередающей системы базовой станции на контроллер базовых станций подтверждение вызова, которое затем передают с контроллера базовых станций на центр коммутации,

передают с центра коммутации на контроллер базовых станций запрос на выделение канала, который затем передают с контроллера базовых станций на приемопередающую систему базовой станции,

передают с приемопередающей системы базовой станции на мобильную станцию сообщение с номером выделенного канала и принимают с мобильной станции подтверждение,

передают с приемопередающей системы базовой станции на контроллер базовых станций подтверждение выделения канала, которое затем передают с контроллера базовых станций на центр коммутации,

передают с центра коммутации голос и данные, предназначенные для мобильной станции, на контроллер базовых станций, откуда их передают на приемопередающую систему базовой станции, а с нее – на мобильную станцию,

передают с мобильной станции голос и данные на приемопередающую систему базовой станции, откуда их передают на контроллер базовых станций, на центр коммутации и далее на другую мобильную станцию или на фиксированный телефон,

если инициатором соединения с мобильной станцией является другая мобильная станция или фиксированный телефон, передают с мобильной станции на приемопередающую систему базовой станции запрос на установление соединения,

передают с приемопередающей системы базовой станции на мобильную станцию подтверждение о получении запроса и передают на контроллер базовых станций запрос на установление соединения, который передают затем на центр коммутации,

передают с центра коммутации на контроллер базовых станций запрос на выделение канала, который затем передают с контроллера базовых станций на приемопередающую систему базовой станции,

передают с приемопередающей системы базовой станции на мобильную станцию сообщение с номером выделенного канала и принимают с мобильной станции подтверждение,

передают с приемопередающей системы базовой станции на контроллер базовых станций подтверждение выделения канала, которое затем передают с контроллера базовых станций на центр коммутации,

передают с мобильной станции голос и данные на приемопередающую систему базовой станции, откуда их передают на контроллер базовых станций, на центр коммутации и далее на другую мобильную станцию или на фиксированный телефон,

передают с центра коммутации голос и данные, предназначенные для мобильной станции, на контроллер базовых станций, откуда их передают на приемопередающую систему базовой станции, а с нее – на мобильную станцию, если инициатором соединения с мобильной станцией является сама мобильная станция.

При установлении соединения между мобильной станцией и другой мобильной станцией по инициативе другой мобильной станции между приемопередающей системой базовой станции и контроллером базовых станций происходит передача следующих служебных сообщений (см. фиг.5):

запроса на установление соединения,

запроса на выделение канала,

подтверждения выделения канала.

При установлении соединения между мобильной станцией и другой мобильной станцией по инициативе самой мобильной станции между приемопередающей системой базовой станции и контроллером базовых станций происходит передача следующих служебных сообщений (смотри фиг.6):

запроса на вызов,

подтверждения вызова,

запроса на выделение канала,

подтверждения выделения канала.

Такой обмен служебными сообщениями между приемопередающими системами базовых станций линейного участка и обслуживающими их контроллерами базовых станций нерационально расходует емкость проводных линий связи, соединяющих указанные приемопередающие системы базовых станций и указанные контроллеры базовых станций, что приводит к необоснованному удорожанию стоимости развертывания и эксплуатации сотовой сети связи.

Вместе с тем, если обе мобильные станции, между которыми необходимо установить соединение, находятся внутри линейного участка, то возможно установление соединения между ними без участия контроллеров базовых станций и центра коммутации.

Способ передачи обслуживания мобильной станции между приемопередающими системами базовых станций описан в патентах US 5101501, Soft Handoff in a CDMA Cellular Telephone System, Int. C1. H 04 Q 7/00, H 04 M 11/00 и US 5267261, Mobile Station Assisted Soft Handoff in a CDMA Cellular Communications System, Int. Cl. H 04 K 1/00, а также в стандарте TIA/EIA/IS-634-В, MSC-BS Interface for Public Wireless Communications Systems, 1999, который является решением, наиболее близким к заявляемому способу.

Пусть мобильная станция 11 (смотри фиг.7) находится в зоне обслуживания приемопередающей системы базовой станции 9 и в зоне обслуживания приемопередающей системы базовой станции 10. Пусть контроллер базовых станций 12 обслуживает приемопередающую систему базовой станции 9, а контроллер базовых станций 13 обслуживает приемопередающую систему базовой станции 10. Пусть центр коммутации 14 обслуживает контроллер базовых станций 12 и контроллер базовых станций 13. Пусть установлено соединение между приемопередающей системой базовой станции 9 и мобильной станцией 11, и осуществляется передача обслуживания мобильной станции 11 между приемопередающей системой базовой станции 9 и приемопередающей системой базовой станции 10.

Установлено соединение между приемопередающей системой базовой станции 9 и мобильной станцией 11. Приемопередающая система базовой станции 9 является членом активного набора мобильной станции 11. Под активным набором мобильной станции понимают такой набор приемопередающих систем базовых станций, с которыми у данной мобильной станции установлено соединение и с которыми осуществляется двусторонний обмен голосом и данными.

Мобильная станция 11 оценивает уровень сигнала приемопередающей системы базовой станции 10, которая является членом соседнего набора. Под соседним набором мобильной станции понимают такой набор приемопередающих систем базовых станций, которые являются соседними с приемопередающими системами базовых станций активного набора. Уровень сигнала приемопередающей системы базовой станции 10 превышает заданный порог.

Мобильная станция 11 переносит приемопередающую систему базовой станции 10 в кандидатский набор и сообщает об этом на приемопередающую систему базовой станции 9. Под кандидатским набором мобильной станции понимают такой набор приемопередающих систем базовых станций, условия приема сигналов которых позволяют установить с ними соединение и осуществлять двустороннюю передачу голоса и данных.

Приемопередающая система базовой станции 9 сообщает об этом на контроллер базовых станций 12. Контроллер базовых станций 12 сообщает об этом на центр коммутации 14. Центр коммутации 14 передает на контроллер базовых станций 13 запрос на выделение ресурсов на приемопередающей системе базовой станции 10. Контроллер базовых станций 13 выделяет ресурсы на приемопередающей системе базовой станции 10 и сообщает об этом на центр коммутации 14. Центр коммутации 14 сообщает об этом на контроллер базовых станций 12.

Приемопередающая система базовой станции 10 начинает принимать сигнал мобильной станции 11.

Приемопередающая система базовой станции 10 начинает передавать сигнал на мобильную станцию 11.

Контроллер базовых станций 12 передает сообщение на приемопередающую систему базовой станции 9, а приемопередающая, система базовой станции 9 передает сообщение на мобильную станцию 11, по которому мобильная станция 11 переводит приемопередающую систему базовой станции 10 из кандидатского набора в активный набор.

Мобильная станция 11 осуществляет связь с приемопередающей системой базовой станции 10, объединяя сигналы приемопередающей системы базовой станции 9 и приемопередающей системы базовой станции 10 при приеме.

Приемопередающая система базовой станции 9 принимает сигнал мобильной станции 11, демодулирует и декодирует его и передает полученные голос и данные на контроллер базовых станций 12.

Приемопередающая система базовой станции 10 принимает сигнал мобильной станции 11, демодулирует и декодирует его и передает полученные голос и данные на контроллер базовых станций 13.

Контроллер базовых станций 13 передает полученные голос и данные мобильной станции 11 на центр коммутации 14, откуда они поступают на контроллер базовых станций 12.

Контроллер базовых станций 12 объединяет голос и данные мобильной станции 11, полученные от приемопередающей системы базовой станции 9 и от приемопередающей системы базовой станции 10, и направляет их получателю.

Отметим, что объединение может осуществляться и на контроллере базовых станций 13. Тогда операции производится аналогично. Объединение осуществляют, например, по мажоритарному принципу или просто выбором одного из полученных блоков, содержащих голос и данные.

Служебные сообщения, обмен которыми необходим для осуществления передачи обслуживания, проиллюстрированы на фиг.8.

Таким образом, согласно описанию упомянутого известного способа передачи обслуживания мобильной станции между приемопередающими системами базовых станций, можно выделить следующие основные признаки его реализации:

мобильная станция находится в зонах обслуживания первой и второй приемопередающих систем базовых станций, которые включены в группу обслуживания контроллера базовых станций, который обслуживается посредством центра коммутации,

установлено соединение между мобильной станцией и первой передающей системой базовой станции,

первая приемопередающая система базовой станции включена в активный набор, а вторая приемопередающая система базовой станции – в соседний набор мобильной станции,

оценивают на мобильной станции уровень сигнала второй приемопередающей системы базовой станции,

если уровень сигнала второй приемопередающей системы базовой станции превышает заданный порог, то переносят на мобильной станции вторую приемопередающую систему базовой станции в кандидатский набор и сообщают о превышении порога на первую приемопередающую систему базовой станции,

передают с первой приемопередающей системы базовой станции сообщение о превышении порога на контроллер базовых станций и передают его с контроллера базовых станций на центр коммутации,

передают с центра коммутации на контроллер базовых станций запрос на выделение ресурсов на второй приемопередающей системе базовой станции,

выделяют посредством контроллера базовых станций ресурсы на второй приемопередающей системе базовой станции и сообщают об этом на центр коммутации,

начинают принимать на второй приемопередающей системе базовой станции сигнал мобильной станции,

начинают передавать со второй приемопередающей системы базовой станции сигнал на мобильную станцию,

передают с контроллера базовых станций на первую приемопередающую систему базовой станции, а с первой приемопередающей системы базовой станции – на мобильную станцию сообщение, по которому переводят на мобильной станции вторую приемопередающую систему базовой станции из кандидатского набора в активный набор,

принимают на мобильной станции сигналы первой и второй приемопередающих систем базовых станций, объединяя их при приеме,

принимают на первой приемопередающей системе базовой станции сигнал мобильной станции, демодулируют и декодируют его и передают полученные голос и данные на контроллер базовых станций,

принимают на второй приемопередающей системе базовой станции сигнал мобильной станции, демодулируют и декодируют его и передают полученные голос и данные на контроллер базовых станций,

объединяют на контроллере базовых станций голос и данные мобильной станции, полученные от первой и второй приемопередающих систем базовой станции, и направляют их получателю.

Приемопередающая система базовой станции 9 и контроллер базовых станций 12 обмениваются двумя сообщениями в течение одной процедуры передачи обслуживания:

сообщением о превышении порога,

сообщением о передаче обслуживания.

Приемопередающая система базовой станции 10 и контроллер базовых станций 13 также обмениваются двумя сообщениями в течение одной процедуры передачи обслуживания:

запросом на выделение ресурсов,

подтверждением выделения ресурсов.

Такой обмен служебными сообщениями между приемопередающими системами базовых станций линейного участка и обслуживающим их контроллером базовых станций нерационально расходует емкость проводных линий связи, соединяющих указанные приемопередающие системы базовых станций и указанный контроллер базовых станций, что приводит к необоснованному удорожанию стоимости развертывания и эксплуатации сотовой сети связи.

Вместе с тем, внутри линейного участка передача обслуживания осуществляется в основном между соседними приемопередающими системами базовых станций линейного участка. Поэтому можно ограничиться обменом сообщениями между ними, что существенно уменьшит нагрузку на проводную линию связи, установленную вдоль линейного участка.

Способ завершения соединения с мобильной станцией описан в стандарте TIA/EIA/IS-634-B, MSC-BS Interface for Public Wireless Communications Systems, 1999, который является решением, наиболее близким к заявляемому способу.

Завершение соединения с мобильной станцией осуществляется по-разному, в зависимости от того, кто является инициатором завершения соединения, мобильная станция или другая мобильная станция (или фиксированный телефон).

Рассмотрим сначала случай, когда соединение завершают по инициативе мобильной станции.

Пусть мобильная станция находится в зоне обслуживания приемопередающей системы базовой станции, которая обслуживается контроллером базовых станций, который обслуживается центром коммутации.

Для завершения соединения с мобильной станцией выполняют следующую последовательность действий.

Мобильная станция передает на приемопередающую систему базовой станции запрос на завершение соединения.

Приемопередающая система базовой станции передает на контроллер базовых станций запрос на завершение соединения, который затем поступает с контроллера базовых станций на центр коммутации.

Центр коммутации передает на контроллер базовых станций команду завершения соединения, которая потом поступает на приемопередающую систему базовой станции, а затем на мобильную станцию.

Приемопередающая система базовой станции передает на контроллер базовых станций подтверждение завершения соединения, которое затем поступает с контроллера базовых станций на центр коммутации.

Служебные сообщения, обмен которыми необходим для завершения соединения по инициативе мобильной станции, проиллюстрирован на фиг.9.

Рассмотрим теперь случай, когда соединение с мобильной станцией завершают по инициативе другой мобильной станции или фиксированного телефона.

Пусть мобильная станция находится в зоне обслуживания приемопередающей системы базовой станции, которая обслуживается контроллером базовых станций, который обслуживается центром коммутации.

Для завершения соединения с мобильной станцией выполняют следующую последовательность действий.

Центр коммутации передает на контроллер базовых станций команду завершения соединения, которая потом поступает на приемопередающую систему базовой станции, а затем на мобильную станцию.

Мобильная станция передает на приемопередающую систему базовой станции подтверждение завершения соединения.

Приемопередающая система базовой станции передает на контроллер базовых станций подтверждение завершения соединения, которое затем поступает с контроллера базовых станций на центр коммутации.

Служебные сообщения, обмен которыми необходим для завершения соединения по инициативе другой мобильной станции или фиксированного телефона, проиллюстрирован на фиг.10.

Таким образом, согласно описанию упомянутого известного способа завершения соединения с мобильной станцией, можно выделить следующие основные признаки его реализации:

передают с мобильной станции на приемопередающую систему базовой станции запрос на завершение соединения,

передают с приемопередающей системы базовой станции на контроллер базовых станций запрос на завершение соединения, который затем передают с контроллера базовых станций на центр коммутации,

передают с центра коммутации на контроллер базовых станций команду завершения соединения, которую затем передают на приемопередающую систему базовой станции, а с нее – на мобильную станцию,

передают с приемопередающей системы базовой станции на контроллер базовых станций подтверждение завершения соединения, которое затем передают с контроллера базовых станций на центр коммутации,

если соединение с мобильной станцией завершают по инициативе самой мобильной станции;

передают с центра коммутации на контроллер базовых станций команду завершения соединения, которую затем передают на приемопередающую систему базовой станции, а с нее – на мобильную станцию,

передают с мобильной станции на приемопередающую систему базовой станции подтверждение завершения соединения,

передают с приемопередающей системы базовой станции на контроллер базовых станций подтверждение завершения соединения, которое затем передают с контроллера базовых станций на центр коммутации,

если соединение с мобильной станцией завершают по инициативе другой мобильной станции или фиксированного телефона.

При завершении соединения между мобильной станцией и другой мобильной станцией по инициативе самой мобильной станции между приемопередающей системой базовой станции и контроллером базовых станций передают следующие служебные сообщения (смотри фиг.9):

запрос на завершение соединения,

команду завершения соединения,

подтверждение завершения соединения.

При завершении соединения между мобильной станцией и другой мобильной станцией по инициативе другой мобильной станции между приемопередающей системой базовой станции и контроллером базовых станций передают следующие служебные сообщения (см. фиг.10):

команду завершения соединения,

подтверждение завершения соединения.

Такой обмен служебными сообщениями между приемопередающими системами базовых станций линейного участка и обслуживающими их контроллерами базовых станций нерационально расходует емкость проводных линий связи, соединяющих указанные приемопередающие системы базовых станций и указанные контроллеры базовых станций, что приводит к необоснованному удорожанию стоимости развертывания и эксплуатации сотовой сети связи.

Вместе с тем, если обе мобильные станции, между которыми необходимо завершить соединение, находятся внутри линейного участка, то возможно завершение соединения между ними без участия контроллеров базовых станций и центра коммутации.

Т.е. при установлении и завершении соединения, а также при передаче обслуживания приемопередающая система базовой станции и контроллер базовых станций обмениваются значительным количеством служебных сообщений. Если эти процедуры осуществляют с мобильными станциями, находящимися в зоне обслуживания приемопередающих систем базовых станций участка линейного покрытия, то это, во-первых, требует наличия вдоль участка линейного покрытия проводных линий связи высокой емкости, что не всегда возможно и дорого, а, во-вторых, это технически не оправдано, так как возможно осуществление указанных процедур без столь интенсивного обмена служебными сообщениями.

Вместе с тем, в современных условиях задача обеспечения передачи голоса и данных вдоль, например, автомобильных дорог или железнодорожных путей является актуальной.

Задача, на решение которой направлена группа заявляемых изобретений, – это повышение технической эффективности осуществления процедур установления и завершения соединения с мобильной станцией, а также процедуры передачи обслуживания мобильной станции между приемопередающими системами базовых станций посредством уменьшения нагрузки на проводные линии связи, соединяющие приемопередающие системы базовых станций участков линейного покрытия и контроллеры базовых станций, и, как следствие, уменьшение стоимости развертывания и эксплуатации сотовой сети связи.

Решение поставленной задачи достигается за счет того, что в способ организации сотовой сети связи, при котором формируют зону покрытия сотовой сети связи таким образом, что в нее входит один или более участок сплошного покрытия и один или более участок линейного покрытия, используют в сотовой сети связи одну или более мобильную станцию, одну или более приемопередающую систему базовой станции, один или более контроллер базовых станций, один или более центр коммутации, заключающийся в том, что:

обслуживают посредством каждого контроллера базовых станций группу из одной или более приемопередающей системы базовой станции,

обеспечивают для этого связь каждого контроллера базовых станций внутри участка сплошного покрытия с каждой приемопередающей системой базовой станции обслуживаемой им группы,

обслуживают посредством каждого центра коммутации один или более контроллер базовых станций,

обеспечивают для этого связь каждого центра коммутации с каждым контроллером базовых станций, который обслуживают посредством этого центра коммутации,

обеспечивают на одном или более центре коммутации интерфейс с одной или более внешней сетью,

обеспечивают связь всех центров коммутации между собой непосредственно или через другие центры коммутации таким образом, что обеспечивают интерфейс каждого центра коммутации с одной или более внешней сетью непосредственно или через другие центры коммутации,

указывают на каждом центре коммутации в зоне обслуживания какой приемопередающей системы базовой станции находится каждая зарегистрированная мобильная станция,

регистрируют каждую мобильную станцию в этой сотовой сети связи для предоставления ей в дальнейшем услуг передачи голоса и данных,

обеспечивают установление соединения каждой мобильной станции с другой мобильной станцией или с фиксированным телефоном, а также передачу голоса и данных между ними,

обеспечивают передачу обслуживания мобильной станции между приемопередающими системами базовых станций для непрерывной передачи голоса и данных при смене мобильной станцией зоны обслуживания во время соединения,

обеспечивают завершение соединения с мобильной станцией для освобождения ресурсов сотовой сети связи,

согласно изобретению вводят следующую последовательность операций:

обеспечивают связь каждого контроллера базовых станций внутри участка линейного покрытия только с одной приемопередающей системой базовой станции обслуживаемой им группы,

обеспечивают связь всех приемопередающих систем базовых станций каждой обслуживаемой группы каждого участка линейного покрытия между собой таким образом, что обеспечивают связь каждых двух соседних приемопередающих систем базовых станций каждой обслуживаемой группы каждого участка линейного покрытия,

каждый набор зон обслуживания приемопередающих систем базовых станций каждой группы обслуживания каждого линейного участка указывают на каждом центре коммутации как зону обслуживания одной приемопередающей системы базовой станции этой группы обслуживания,

указывают на каждой приемопередающей системе базовой станции каждой группы обслуживания каждого линейного участка в зоне обслуживания какой приемопередающей системы базовой станции группы находится каждая зарегистрированная мобильная станция.

Решение поставленной задачи достигается также за счет того, что в способ регистрации мобильной станции в сотовой сети связи, при котором мобильная станция находится в зоне обслуживания приемопередающей системы базовой станции, которая включена в группу обслуживания контроллера базовых станций, который обслуживается посредством центра коммутации, заключающийся в том, что:

передают сообщение регистрации с мобильной станции на приемопередающую систему базовой станции,

передают с приемопередающей системы базовой станции на контроллер базовых станций сообщение обновления местоположения, которое затем передают с контроллера базовых станций на центр коммутации,

обновляют на контроллере базовых станций информацию о зоне обслуживания мобильной станции,

передают с центра коммутации на контроллер базовых станций подтверждение обновления местоположения, которое затем передают с контроллера базовых станций на приемопередающую систему базовой станции, а с нее – на мобильную станцию,

согласно изобретению вводят следующую последовательность операций:

передают с приемопередающей системы базовой станции группы обслуживания линейного участка на каждую приемопередающую систему базовой станции этой группы сообщение обновления местоположения и обновляют на каждой приемопередающей системе базовой станции этой группы информацию о зоне обслуживания мобильной станции, если мобильная станция находится в зоне обслуживания приемопередающей системы базовой станции группы обслуживания линейного участка.

Решение поставленной задачи достигается также за счет того, что в способ установления соединения мобильной станции с другой мобильной станцией или с фиксированным телефоном, при котором мобильная станция находится в зоне обслуживания приемопередающей системы базовой станции, которая включена в группу обслуживания контроллера базовых станций, который обслуживается посредством центра коммутации, инициатором установления соединения с мобильной станцией является либо сама мобильная станция, либо другая мобильная станция или фиксированный телефон, заключающийся в том, что:

передают с центра коммутации на контроллер базовых станций запрос на вызов, который затем передают с контроллера базовых станций на приемопередающую систему базовой станции,

передают с приемопередающей системы базовой станции на мобильную станцию сообщение вызова и принимают с мобильной станции ответ на вызов,

передают с приемопередающей системы базовой станции на контроллер базовых станций подтверждение вызова, которое затем передают с контроллера базовых станций на центр коммутации,

передают с центра коммутации на контроллер базовых станций запрос на выделение канала, который затем передают с контроллера базовых станций на приемопередающую систему базовой станции,

передают с приемопередающей системы базовой станции на мобильную станцию сообщение с номером выделенного канала и принимают с мобильной станции подтверждение,

передают с приемопередающей системы базовой станции на контроллер базовых станций подтверждение выделения канала, которое затем передают с контроллера базовых станций на центр коммутации,

передают с центра коммутации голос и данные, предназначенные для мобильной станции, на контроллер базовых станций, откуда их передают на приемопередающую систему базовой станции, а с нее – на мобильную станцию,

передают с мобильной станции голос и данные на приемопередающую систему базовой станции, откуда их передают на контроллер базовых станций, на центр коммутации и далее на другую мобильную станцию или на фиксированный телефон,

если инициатором соединения с мобильной станцией является другая мобильная станция или фиксированный телефон;

передают с мобильной станции на приемопередающую систему базовой станции запрос на установление соединения,

передают с приемопередающей системы базовой станции на мобильную станцию подтверждение о получении запроса и передают на контроллер базовых станций запрос на установление соединения, который передают затем на центр коммутации,

передают с центра коммутации на контроллер базовых станций запрос на выделение канала, который затем передают с контроллера базовых станций на приемопередающую систему базовой станции,

передают с приемопередающей системы базовой станции на мобильную станцию сообщение с номером выделенного канала и принимают с мобильной станции подтверждение,

передают с приемопередающей системы базовой станции на контроллер базовых станций подтверждение выделения канала, которое затем передают с контроллера базовых станций на центр коммутации,

передают с мобильной станции голос и данные на приемопередающую систему базовой станции, откуда их передают на контроллер базовых станций, на центр коммутации и далее на другую мобильную станцию или на фиксированный телефон,

передают с центра коммутации голос и данные, предназначенные для мобильной станции, на контроллер базовых станций, откуда их передают на приемопередающую систему базовой станции, а с нее – на мобильную станцию,

если инициатором соединения с мобильной станцией является сама мобильная станция;

согласно изобретению вводят следующую последовательность операций:

передают с первой мобильной станции на первую приемопередающую систему базовой станции запрос на установление соединения,

передают с первой приемопередающей системы базовой станции на первую мобильную станцию подтверждение о получении запроса и выделяет ей ресурсы,

передают с первой приемопередающей системы базовой станции на вторую приемопередающую систему базовой станции запрос на вызов второй мобильной станции,

передают со второй приемопередающей системы базовой станции на вторую мобильную станцию сообщение вызова и принимают от нее ответ на вызов,

передают со второй приемопередающей системы базовой станции на вторую мобильную станцию сообщение с номером выделенного канала и принимают от нее подтверждение,

передают с первой мобильной станции голос и данные на первую приемопередающую систему базовой станции, откуда их передают на вторую приемопередающую систему базовой станции и на вторую мобильную станцию,

передают со второй мобильной станции голос и данные на вторую приемопередающую систему базовой станции, откуда их передают на первую приемопередающую систему базовой станции и на первую мобильную станцию,

если соединение устанавливают между первой мобильной станцией и второй мобильной станцией одной группы обслуживания линейного участка покрытия, первая мобильная станция находится в зоне обслуживания первой приемопередающей системы базовой станции, вторая мобильная станция находится в зоне обслуживания второй приемопередающей системы базовой станции, и инициатором установления соединения является первая мобильная станция.

Решение поставленной задачи достигается также за счет того, что в способ передачи обслуживания мобильной станции между приемопередающими системами базовых станций, при котором мобильная станция находится в зонах обслуживания первой и второй приемопередающих систем базовых станций, которые включены в группу обслуживания контроллера базовых станций, который обслуживается посредством центра коммутации, установлено соединение между мобильной станцией и первой передающей системой базовой станции, первая приемопередающая система базовой станции включена в активный набор, а вторая приемопередающая система базовой станции – в соседний набор мобильной станции, заключающийся в том, что:

оценивают на мобильной станции уровень сигнала второй приемопередающей системы базовой станции,

если уровень сигнала второй приемопередающей системы базовой станции превышает заданный порог, то переносят на мобильной станции вторую приемопередающую систему базовой станции в кандидатский набор и сообщают о превышении порога на первую приемопередающую систему базовой станции,

передают с первой приемопередающей системы базовой станции сообщение о превышении порога на контроллер базовых станций и передают его с контроллера базовых станций на центр коммутации,

передают с центра коммутации на контроллер базовых станций запрос на выделение ресурсов на второй приемопередающей системе базовой станции,

выделяют посредством контроллера базовых станций ресурсы на второй приемопередающей системе базовой станции и сообщают об этом на центр коммутации,

начинают принимать на второй приемопередающей системе базовой станции сигнал мобильной станции,

начинают передавать со второй приемопередающей системы базовой станции сигнал на мобильную станцию,

передают с контроллера базовых станций на первую приемопередающую систему базовой станции, а с первой приемопередающей системы базовой станции – на мобильную станцию сообщение, по которому переводят на мобильной станции вторую приемопередающую систему базовой станции из кандидатского набора в активный набор,

принимают на мобильной станции сигналы первой и второй приемопередающих систем базовых станций, объединяя их при приеме,

принимают на первой приемопередающей системе базовой станции сигнал мобильной станции, демодулируют и декодируют его и передают полученные голос и данные на контроллер базовых станций,

принимают на второй приемопередающей системе базовой станции сигнал мобильной станции, демодулируют и декодируют его и передают полученные голос и данные на контроллер базовых станций,

объединяют на контроллере базовых станций голос и данные мобильной станции, полученные от первой и второй приемопередающих систем базовой станции, и направляют их получателю,

согласно изобретению вводят следующую последовательность операций:

оценивают на мобильной станции уровень сигнала второй приемопередающей системы базовой станции,

если уровень сигнала второй приемопередающей системы базовой станции превышает заданный порог, то переносят на мобильной станции вторую приемопередающую систему базовой станции в кандидатский набор и сообщают о превышении порога на первую приемопередающую систему базовой станции,

передают с первой приемопередающей системы базовой станции сообщение о превышении порога на вторую приемопередающую систему базовой станции,

выделяют ресурсы на второй приемопередающей системе базовой станции и сообщают об этом на первую приемопередающую систему базовой станции,

начинают принимать на второй приемопередающей системе базовой станции сигнал мобильной станции,

начинают передавать со второй приемопередающей системы базовой станции сигнал на мобильную станцию,

передают с первой приемопередающей системы базовой станции сообщение на мобильную станцию, по которому переводят на мобильной станции вторую приемопередающую систему базовой станции из кандидатского набора в активный набор,

принимают на мобильной станции сигналы первой и второй приемопередающих систем базовых станций, объединяя их при приеме,

принимают на первой приемопередающей системе базовой станции сигнал мобильной станции, демодулируют и декодируют его и передают полученные голос и данные на контроллер базовых станций,

принимают на второй приемопередающей системе базовой станции сигнал мобильной станции, демодулируют и декодируют его и передают полученные голос и данные на контроллер базовых станций,

объединяют на контроллере базовых станций голос и данные мобильной станции, полученные от первой и второй приемопередающих систем базовой станции, и направляют их получателю,

если первая и вторая приемопередающие системы базовых станций принадлежат одной группе обслуживания одного участка линейного обслуживания.

Решение поставленной задачи достигается также за счет того, что в способ завершения соединения с мобильной станцией, при котором мобильная станция находится в зоне обслуживания приемопередающей системы базовой станции, которая включена в группу обслуживания контроллера базовых станций, который обслуживается посредством центра коммутации, инициатором завершения соединения с мобильной станцией является либо сама мобильная станция, либо другая мобильная станция или фиксированный телефон, заключающийся в том, что

передают с мобильной станции на приемопередающую систему базовой станции запрос на завершение соединения,

передают с приемопередающей системы базовой станции на контроллер базовых станций запрос на завершение соединения, который затем передают с контроллера базовых станций на центр коммутации,

передают с центра коммутации на контроллер базовых станций команду завершения соединения, которую затем передают на приемопередающую систему базовой станции, а с нее – на мобильную станцию,

передают с приемопередающей системы базовой станции на контроллер базовых станций подтверждение завершения соединения, которое затем передают с контроллера базовых станций на центр коммутации,

если соединение с мобильной станцией завершают по инициативе самой мобильной станции;

передают с центра коммутации на контроллер базовых станций команду завершения соединения, которую затем передают на приемопередающую систему базовой станции, а с нее – на мобильную станцию,

передают с мобильной станции на приемопередающую систему базовой станции подтверждение завершения соединения,

передают с приемопередающей системы базовой станции на контроллер базовых станций подтверждение завершения соединения, которое затем передают с контроллера базовых станций на центр коммутации,

если соединение с мобильной станцией завершают по инициативе другой мобильной станции или фиксированного телефона,

согласно изобретению вводят следующую последовательность операций:

передают с первой мобильной станции на первую приемопередающую систему базовой станции запрос на завершение соединения,

передают с первой приемопередающей системы базовой станции на первую мобильную станцию команду завершения соединения,

передают с первой приемопередающей системы базовой станции на вторую приемопередающую систему базовой станции команду завершения соединения,

передают со второй приемопередающей системы базовой станции на вторую мобильную станцию команду завершения соединения,

передают со второй мобильной станции на вторую приемопередающую систему базовой станции подтверждение завершения соединения,

если завершают соединение между первой мобильной станцией и второй мобильной станцией одной группы обслуживания линейного участка покрытия, первая мобильная станция находится в зоне обслуживания первой приемопередающей системы базовой станции, вторая мобильная станция находится в зоне обслуживания второй приемопередающей системы базовой станции, и инициатором завершения соединения является первая мобильная станция.

Заявляемая группа изобретений, созданных в едином изобретательском замысле, позволяет полностью решить поставленную задачу и получить новый технический эффект – повысить эффективность осуществления процедур установления и завершения соединения с мобильной станцией, а также процедуры передачи обслуживания мобильной станции между приемопередающими системами базовых станций посредством уменьшения нагрузки на проводные линии связи, соединяющие приемопередающие системы базовых станций и контроллеры базовых станций участков линейного покрытия. Следствием этого нового технического эффекта является уменьшение стоимости развертывания и эксплуатации сотовой сети связи.

Каждый заявляемый способ из группы изобретений обладает новизной относительно известных технических решений в данной области техники.

Заявляемый способ организации сотовой сети связи имеет отличия от известных технических решений, которые в совокупности позволяют обеспечить повышение технической эффективности осуществления процедур установления и завершения соединения с мобильной станцией, а также процедуры передачи обслуживания мобильной станции между приемопередающими системами базовых станций.

Эти отличия заключаются в следующем.

Обеспечивают связь каждого контроллера базовых станций внутри участка линейного покрытия только с одной приемопередающей системой базовой станции обслуживаемой им группы.

Обеспечивают связь всех приемопередающих систем базовых станций каждой обслуживаемой группы каждого участка линейного покрытия между собой таким образом, что обеспечивают связь каждых двух соседних приемопередающих систем базовых станций каждой обслуживаемой группы каждого участка линейного покрытия.

Каждый набор зон обслуживания приемопередающих систем базовых станций каждой группы обслуживания каждого линейного участка указывают на каждом центре коммутации как зону обслуживания одной приемопередающей системы базовой станции этой группы обслуживания.

Указывают на каждой приемопередающей системе базовой станции каждой группы обслуживания каждого линейного участка в зоне обслуживания какой приемопередающей системы базовой станции группы находится каждая зарегистрированная мобильная станция.

Заявляемый способ регистрации мобильной станции в сотовой сети связи имеет отличие от известных технических решений, которое позволяет обеспечить повышение технической эффективности осуществления процедур установления и завершения соединения с мобильной станцией, а также процедуры передачи обслуживания мобильной станции между приемопередающими системами базовых станций.

Это отличие заключается в следующем.

Передают с приемопередающей системы базовой станции группы обслуживания линейного участка на каждую приемопередающую систему базовой станции этой группы сообщение обновления местоположения и обновляют на каждой приемопередающей системе базовой станции этой группы информацию о зоне обслуживания мобильной станции, если мобильная станция находится в зоне обслуживания приемопередающей системы базовой станции группы обслуживания линейного участка.

Заявляемый способ установления соединения мобильной станции с другой мобильной станцией или с фиксированным телефоном имеет отличия от известных технических решений, которые в совокупности позволяют обеспечить повышение технической эффективности осуществления процедуры установления соединения с мобильной станцией.

Эти отличия заключаются в следующем.

Передают с первой мобильной станции на первую приемопередающую систему базовой станции запрос на установление соединения,

передают с первой приемопередающей системы базовой станции на первую мобильную станцию подтверждение о получении запроса и выделяет ей ресурсы,

передают с первой приемопередающей системы базовой станции на вторую приемопередающую систему базовой станции запрос на вызов второй мобильной станции,

передают со второй приемопередающей системы базовой станции на вторую мобильную станцию сообщение вызова и принимают от нее ответ на вызов,

передают со второй приемопередающей системы базовой станции на вторую мобильную станцию сообщение с номером выделенного канала и принимают от нее подтверждение,

передают с первой мобильной станции голос и данные на первую приемопередающую систему базовой станции, откуда их передают на вторую приемопередающую систему базовой станции и на вторую мобильную станцию,

передают со второй мобильной станции голос и данные на вторую приемопередающую систему базовой станции, откуда их передают на первую приемопередающую систему базовой станции и на первую мобильную станцию,

если соединение устанавливают между первой мобильной станцией и второй мобильной станцией одной группы обслуживания линейного участка покрытия, первая мобильная станция находится в зоне обслуживания первой приемопередающей системы базовой станции, вторая мобильная станция находится в зоне обслуживания второй приемопередающей системы базовой станции, и инициатором установления соединения является первая мобильная станция.

Заявляемый способ передачи обслуживания мобильной станции между приемопередающими системами базовых станций имеет отличия от известных технических решений, которые в совокупности позволяют обеспечить повышение технической эффективности осуществления процедуры передачи обслуживания мобильной станции.

Эти отличия заключаются в следующем.

Оценивают на мобильной станции уровень сигнала второй приемопередающей системы базовой станции,

если уровень сигнала второй приемопередающей системы базовой станции превышает заданный порог, то переносят на мобильной станции вторую приемопередающую систему базовой станции в кандидатский набор и сообщают о превышении порога на первую приемопередающую систему базовой станции,

передают с первой приемопередающей системы базовой станции сообщение о превышении порога на вторую приемопередающую систему базовой станции,

выделяет ресурсы на второй приемопередающей системе базовой станции и сообщает об этом на первую приемопередающую систему базовой станции,

начинают принимать на второй приемопередающей системе базовой станции сигнал мобильной станции,

начинают передавать со второй приемопередающей системы базовой станции сигнал на мобильную станцию,

передают с первой приемопередающей системы базовой станции сообщение на мобильную станцию, по которому переводят на мобильной станции вторую приемопередающую систему базовой станции из кандидатского набора в активный набор,

принимают на мобильной станции сигналы первой и второй приемопередающих систем базовых станций, объединяя их при приеме,

принимают на первой приемопередающей системе базовой станции сигнал мобильной станции, демодулируют и декодируют его и передают полученные голос и данные на контроллер базовых станций,

принимают на второй приемопередающей системе базовой станции сигнал мобильной станции, демодулируют и декодируют его и передают полученные голос и данные на контроллер базовых станций,

объединяют на контроллере базовых станций голос и данные мобильной станции, полученные от первой и второй приемопередающих систем базовой станции, и направляют их получателю,

если первая и вторая приемопередающие системы базовых станций принадлежат одной группе обслуживания одного участка линейного обслуживания.

Заявляемый способ завершения соединения с мобильной станцией имеет отличия от известных технических решений, которые в совокупности позволяют обеспечить повышение технической эффективности осуществления процедуры завершения соединения с мобильной станцией.

Эти отличия заключаются в следующем.

Передают с первой мобильной станции на первую приемопередающую систему базовой станции запрос на завершение соединения,

передают с первой приемопередающей системы базовой станции на первую мобильную станцию команду завершения соединения,

передают с первой приемопередающей системы базовой станции на вторую приемопередающую систему базовой станции команду завершения соединения,

передают со второй приемопередающей системы базовой станции на вторую мобильную станцию команду завершения соединения,

передают со второй мобильной станции на вторую приемопередающую систему базовой станции подтверждение завершения соединения,

если завершают соединение между первой мобильной станцией и второй мобильной станцией одной группы обслуживания линейного участка покрытия, первая мобильная станция находится в зоне обслуживания первой приемопередающей системы базовой станции, вторая мобильная станция находится в зоне обслуживания второй приемопередающей системы базовой станции, и инициатором завершения соединения является первая мобильная станция.

Описание изобретения поясняется примерами выполнения и чертежами.

На фиг.1 приведена логическая структура сотовой сети связи.

На фиг.2 приведена архитектура сотовой сети связи.

Фиг.3 показывает пример покрытия территории сотовой сетью связи, включая участки сплошного и линейного покрытия.

На фиг.4 приведен пример соединения приемопередающих систем базовых станций участка линейного покрытия с обслуживающим их контроллером базовых станций.

Фиг.5 иллюстрирует обмен служебными сообщениями в процессе установления соединения при входящем звонке.

Фиг.6 иллюстрирует обмен служебными сообщениями в процессе установления соединения при исходящем звонке.

Фиг.7 иллюстрирует процедуру передачи обслуживания мобильной станции между приемопередающими системами базовых станций.

Фиг.8 иллюстрирует обмен служебными сообщениями в процессе передачи обслуживания мобильной станции между приемопередающими системами базовых станций.

Фиг.9 иллюстрирует обмен служебными сообщениями в процессе завершения соединения по инициативе мобильной станции.

Фиг.10 иллюстрирует обмен служебными сообщениями в процессе завершения соединения по инициативе другой мобильной станции или фиксированного телефона.

На фиг.11 и 12 показаны примеры соединения приемопередающих систем базовых станций и контроллера базовых станций внутри участка линейного покрытия.

Рассмотрим работу заявляемого способа организации сотовой сети связи.

Формируют зону покрытия сотовой сети связи таким образом, что в нее входит один (или более) участок сплошного покрытия и один (или более) участок линейного покрытия (см. фиг.3).

На фиг.3 показано три участка сплошного покрытия 6-1, 6-2 и 6-3, а также пять участков линейного покрытия 7-1, 7-2, 7-3, 7-4 и 7-5.

Под участками линейного покрытия понимают такие участки зоны покрытия сотовой сети связи, на которых необходимо обеспечить связь вдоль, например, автомобильных дорог или железнодорожных путей. На линейных участках зоны обслуживания приемопередающих систем базовых станций расположены в ряд друг за другом вдоль линии (например, линейные участки 7-1, 7-2, 7-3 и 7-4). Некоторые линейные участи могут быть образованы пересекающимися линиями (например, линейный участок 7-5). Сбоку от каждого линейного участка расположены участки, не входящие в зону покрытия сотовой сети связи. Например, вдоль автомобильной дороги связь может быть обеспечена на самой дороге и на небольшом удалении от нее. При большем удалении от этой автомобильной дроги связь уже может быть не обеспечена, так как в этом нет необходимости.

Под участками сплошного покрытия понимают остальные участки зоны покрытия сотовой сети связи. Как правило, на участках сплошного покрытия зоны обслуживания приемопередающих систем базовых станций не расположены в ряд друг за другом, а образуют более сложные конфигурации. Например, участки сплошного покрытия 6-1, 6-2 и 6-3 представляют собой одну зону обслуживания приемопередающей системы базовой станции, окруженную шестью другими зонами обслуживания. Участок сплошного покрытия на фиг.2 включает три ряда зон обслуживания, расположенных друг под другом. Первый ряд образован зонами обслуживания приемопередающих систем базовых станций 5-1-1, 5-1-2 и 5-2-1, второй ряд – зонами обслуживания приемопередающих систем базовых станций 5-1-3 и 5-2-2, а третий ряд – зонами обслуживания приемопередающих систем базовых станций 5-1-4, 5-2-3 и 5-2-4. В участки сплошного (территориального) покрытия включают, например, населенные пункты.

Используют в сотовой сети связи одну или более мобильную станцию, одну или более приемопередающую систему базовой станции, один или более контроллер базовых станций, один или более центр коммутации.

Мобильные станции, базовые станции и контроллеры базовых станций могут быть выполнены, например, как описано в стандарте TIA/EIA/IS-95-A, Mobile Station – Base Station Compatibility Standard for Dual-Mode Wideband Spread Spectrum Cellular System, 1995.

Контроллеры базовых станций и центры коммутации могут быть выполнены, например, как описано в стандарте TIA/EIA/IS-634-B, MSC-BS Interface for Public Wireless Communications Systems, 1999.

Центры коммутации могут быть выполнены, например, как описано в стандарте TIA/EIA/IS-41-D, Cellular Radiotelecommunications Intersystem Operations, 1997.

Обслуживают посредством каждого контроллера базовых станций группу из одной или более приемопередающей системы базовой станции.

Для этого обеспечивают связь каждого контроллера базовых станций внутри участка сплошного покрытия с каждой приемопередающей системой базовой станции обслуживаемой им группы, а внутри участка линейного покрытия – только с одной приемопередающей системой базовой станции обслуживаемой им группы.

Связь приемопередающих систем базовых станций и обслуживающего их контроллера обеспечивают, например, посредством проводных линий связи, соединяющих приемопередающие системы базовых станций с обслуживающим их контроллером базовых станций.

Пример разбиения приемопередающих систем базовых станций на группы обслуживания внутри участка сплошного покрытия приведен на фиг.2.

На фиг.2 контроллер базовых станций 5-1 соединен с приемопередающими системами базовых станций 5-1-1, 5-1-2, 5-1-3 и 5-1-4. Контроллер базовых станций 5-1 обслуживает приемопередающие системы базовых станций 5-1-1, 5-1-2, 5-1-3 и 5-1-4.

Контроллер базовых станций 5-2 соединен с приемопередающими системами базовых станций 5-2-1, 5-2-2, 5-2-3 и 5-2-4. Контроллер базовых станций 5-2 обслуживает приемопередающие системы базовых станций 5-2-1,5-2-2, 5-2-3 и 5-2-4.

Приемопередающие системы базовых станций 5-1-1, 5-1-2, 5-1-3 и 5-1-4 образуют одну группу обслуживания (группу обслуживания контроллера базовых станций 5-1), а приемопередающие системы базовых станций 5-2-1, 5-2-2, 5-2-3 и 5-2-4 образуют другую группу обслуживания (группу обслуживания контроллера базовых станций 5-2).

Обеспечивают связь всех приемопередающих систем базовых станций каждой обслуживаемой группы каждого участка линейного покрытия между собой таким образом, что обеспечивают связь каждых двух соседних приемопередающих систем базовых станций каждой обслуживаемой группы каждого участка линейного покрытия.

Пример соединения приемопередающих систем базовых станций и контроллера базовых станций внутри участка линейного покрытия приведен на фиг.11 и 12.

На фиг.11 контроллер базовых станций 15 соединен с приемопередающей системой базовой станции 15-1, приемопередающая система базовой станции 15-1 соединена с приемопередающей системой базовой станции 15-2, приемопередающая система базовой станции 15-2 соединена с приемопередающей системой базовой станции 15-3, приемопередающая система базовой станции 15-3 соединена с приемопередающей системой базовой станции 15-4.

Контроллер базовых станций 15 обслуживает приемопередающие системы базовых станций 15-1, 15-2, 15-3 и 15-4. Приемопередающие системы базовых станций 15-1, 15-2, 15-3 и 15-4 образуют одну группу обслуживания – группу обслуживания контроллера базовых станций 15.

На фиг.12 контроллер базовых станций 16 соединен с приемопередающей системой базовой станции 16-1, приемопередающая система базовой станции 16-1 соединена с приемопередающей системой базовой станции 16-2, приемопередающая система базовой станции 16-2 соединена с приемопередающей системой базовой станции 16-3, приемопередающая система базовой станции 16-3 соединена с приемопередающей системой базовой станции 16-4, приемопередающая система базовой станции 16-4 соединена с приемопередающей системой базовой станции 16-5, приемопередающая система базовой станции 16-5 соединена с приемопередающей системой базовой станции 16-6, приемопередающая система базовой станции 16-6 соединена с приемопередающей системой базовой станции 16-7, приемопередающая система базовой станции 16-3 соединена с приемопередающей системой базовой станции 16-8, приемопередающая система базовой станции 16-8 соединена с приемопередающей системой базовой станции 16-9, приемопередающая система базовой станции 16-9 соединена с приемопередающей системой базовой станции 16-10.

Контроллер базовых станций 16 обслуживает приемопередающие системы базовых станций 16-1, 16-2, 16-3, 16-4, 16-5, 16-6, 16-7, 16-8, 16-9 и 16-10. Приемопередающие системы базовых станций 16-1, 16-2, 16-3, 16-4, 16-5, 16-6, 16-7, 16-8, 16-9 и 16-10 образуют одну группу обслуживания – группу обслуживания контроллера базовых станций 16.

Обслуживают посредством каждого центра коммутации один или более контроллер базовых станций.

Для этого обеспечивают связь каждого центра коммутации с каждым контроллером базовых станций, который обслуживают посредством этого центра коммутации.

Связь каждого центра коммутации с каждым контроллером базовых станций, который обслуживают посредством этого центра коммутации, обеспечивают, например, посредством проводных линий связи, их соединяющих.

Пример соединения центра коммутации и контроллеров базовых станций, которые он обслуживает, приведен на фиг.2.

На фиг.2 центр коммутации 5 соединен с контроллерами базовых станций КБС 5-1 и 5-2. Центр коммутации 5 обслуживает контроллеры базовых станций 5-1 и 5-2.

Обеспечивают на одном или более центре коммутации интерфейс с одной или более внешней сетью.

В качестве внешней сети может выступать, например, городская телефонная сеть или сеть передачи данных общего пользования Internet.

Интерфейс центра коммутации с внешней сетью обеспечивают, например, как описано в стандарте TIA/EIA/IS-41-D, Cellular Radiotelecommunications Intersystem Operations, 1997.

Обеспечивают связь всех центров коммутации между собой непосредственно или через другие центры коммутации таким образом, что обеспечивают интерфейс каждого центра коммутации с одной или более внешней сетью непосредственно или через другие центры коммутации. Это осуществляют, как описано, например, в стандарте TIA/EIA/IS-41-D, Cellular Radiotelecommunications Intersystem Operations, 1997.

Указывают на каждом центре коммутации, в зоне обслуживания какой приемопередающей системы базовой станции находится каждая зарегистрированная мобильная станция.

При этом каждый набор зон обслуживания приемопередающих систем базовых станций каждой группы обслуживания каждого линейного участка указывают на каждом центре коммутации как зону обслуживания одной приемопередающей системы базовой станции этой группы обслуживания.

В составе каждого центра коммутации есть регистр местоположения, в котором указывается текущая информация о каждой зарегистрированной в данной сотовой сети связи мобильной станции.

Регистр местоположения выполняют, например, как описано в стандарте TIA/EIA/IS-634-B, MSC-BS Interface for Public Wireless Communications Systems, 1999. Он представляет собой базу данных, содержащую информацию о зарегистрированных мобильных станциях.

Данная информация включает, например, номер мобильной станции, типы сервиса, которые поддерживает оборудование данной мобильной станции, а также в зоне обслуживания какой приемопередающей системы базовой станции мобильная станция находится в текущий момент.

Поясним подробнее, каким образом можно указать местоположение мобильной станции в регистре местоположения. Под местоположением мобильной станции будем понимать, в зоне обслуживания какой приемопередающей системы базовой станции находится мобильная станция.

Первоначальным местоположением мобильной станции является зона обслуживания приемопередающей системы базовой станции, в которой мобильная станция регистрируется.

В процессе перемещения из зоны обслуживания одной приемопередающей системы базовой станции в зону обслуживания другой приемопередающей системы базовой станции мобильная станция осуществляет периодическую перерегистрацию, в результате которой обновляется информация о ее местоположении. Периодическая перерегистрация осуществляется, если в момент смены зоны обслуживания с мобильной станцией не установлено соединение.

Если в момент смены зоны обслуживания с мобильной станцией установлено соединение, то происходит процедура передачи обслуживания мобильной станции между приемопередающими системами базовых станций, при которой также обновляется информация о местоположении мобильной станции.

Наконец, при выключении мобильной станции или при выходе ее из зоны покрытия сотовой сети связи происходит регистрация мобильной станции, в результате которой мобильная станция регистрируется в регистре местоположения как недоступная.

Для уменьшения объема служебных сообщений, передаваемых между контроллером базовых станций и приемопередающими системами базовых станций линейного участка, обслуживаемых этим контроллером базовых станций, объединяют зоны обслуживания всех приемопередающих систем базовых станций этого линейного участка в одну зону обслуживания.

Ее регистрируют в регистре местоположения соответствующего центра коммутации как, например, зону обслуживания той приемопередающей системы базовой станции упомянутого линейного участка, которая соединена с упомянутым контроллером базовых станций.

Т.е. контроллер базовых станций, обслуживающий линейный участок, воспринимает все приемопередающие системы базовых станций как одну приемопередающую систему базовой станции.

Указывают на каждой приемопередающей системе базовой станции каждой группы обслуживания каждого линейного участка, в зоне обслуживания какой приемопередающей системы базовой станции группы находится каждая зарегистрированная мобильная станция.

При этом, например, указывают только те мобильные станции, которые зарегистрированы внутри данной группы обслуживания данного линейного участка.

При этом, например, указывают, в зоне обслуживания какой приемопередающей системы базовой станции данного линейного участка находится каждая мобильная станция линейного участка.

Регистрируют каждую мобильную станцию в этой сотовой сети связи для предоставления ей в дальнейшем услуг передачи голоса и данных.

Обеспечивают установление соединения каждой мобильной станции с другой мобильной станцией или с фиксированным телефоном, а также передачу голоса и данных между ними.

Обеспечивают передачу обслуживания мобильной станции между приемопередающими системами базовых станций для непрерывной передачи голоса и данных при смене мобильной станцией зоны обслуживания во время соединения.

Обеспечивают завершение соединения с мобильной станцией для освобождения ресурсов сотовой сети связи.

Поясним теперь подробнее реализацию способа регистрации мобильной станции в сотовой сети связи.

Пусть мобильная станция находится в зоне обслуживания приемопередающей системы базовой станции, которая включена в группу обслуживания контроллера базовых станций, который обслуживается посредством центра коммутации.

Передают сообщение регистрации с мобильной станции на приемопередающую систему базовой станции.

Передают с приемопередающей системы базовой станции на контроллер базовых станций сообщение обновления местоположения, которое затем передают с контроллера базовых станций на центр коммутации.

Обновляют на контроллере базовых станций информацию о зоне обслуживания мобильной станции.

Передают с центра коммутации на контроллер базовых станций подтверждение обновления местоположения, которое затем передают с контроллера базовых станций на приемопередающую систему базовой станции, а с нее – на мобильную станцию.

При этом обмен служебными сообщениями между мобильной станцией и приемопередающей системой базовой станции осуществляют, как описано, например, в стандарте TIA/EIA/IS-95-A, Mobile Station – Base Station Compatibility Standard for Dual-Mode Wideband Spread Spectrum Cellular System, 1995, обмен служебными сообщениями между контроллером базовых станций и центром коммутации осуществляют, как описано, например, в стандарте TIA/EIA/IS-634-B, MSC-BS Interface for Public Wireless Communications Systems, 1999.

Если мобильная станция находится в зоне обслуживания приемопередающей системы базовой станции группы обслуживания линейного участка, то передают с приемопередающей системы базовой станции на каждую приемопередающую систему базовой станции этой группы сообщение обновления местоположения и обновляют на каждой приемопередающей системе базовой станции этой группы информацию о зоне обслуживания мобильной станции.

Это необходимо для осуществления в дальнейшем процедур установления соединения передачи голоса и данных, передачи обслуживания и завершения соединения с меньшим по сравнению с известными решениями объемом служебных сообщений, которыми надо обмениваться.

Поясним теперь подробнее реализацию способа установления соединения мобильной станции с другой мобильной станцией или с фиксированным телефоном.

Пусть мобильная станция находится в зоне обслуживания приемопередающей системы базовой станции, которая включена в группу обслуживания контроллера базовых станций, который обслуживается посредством центра коммутации.

Инициатором установления соединения с мобильной станцией выступает либо сама мобильная станция, либо другая мобильная станция или фиксированный телефон.

Если инициатором соединения с мобильной станцией выступает другая мобильная станция или фиксированный телефон, то осуществляют следующую последовательность операций.

Передают с центра коммутации на контроллер базовых станций запрос на вызов, который затем передают с контроллера базовых станций на приемопередающую систему базовой станции.

Передают с приемопередающей системы базовой станции на мобильную станцию сообщение вызова и принимают с мобильной станции ответ на вызов.

Передают с приемопередающей системы базовой станции на контроллер базовых станций подтверждение вызова, которое затем передают с контроллера базовых станций на центр коммутации.

Передают с центра коммутации на контроллер базовых станций запрос на выделение канала, который затем передают с контроллера базовых станций на приемопередающую систему базовой станции.

Передают с приемопередающей системы базовой станции на мобильную станцию сообщение с номером выделенного канала и принимают с мобильной станции подтверждение.

Передают с приемопередающей системы базовой станции на контроллер базовых станций подтверждение выделения канала, которое затем передают с контроллера базовых станций на центр коммутации.

Передают с центра коммутации голос и данные, предназначенные для мобильной станции, на контроллер базовых станций, откуда их передают на приемопередающую систему базовой станции, а с нее – на мобильную станцию.

Передают с мобильной станции голос и данные на приемопередающую систему базовой станции, откуда их передают на контроллер базовых станций, на центр коммутации и далее на другую мобильную станцию или на фиксированный телефон.

При этом обмен служебными сообщениями и голосом и данными между мобильной станцией и приемопередающей системой базовой станции осуществляют, как описано, например, в стандарте TIA/EIA/IS-95-A, Mobile Station – Base Station Compatibility Standard for Dual-Mode Wideband Spread Spectrum Cellular System, 1995 и в патенте US 5392287, Apparatus and Method for Reducing Power Consumption in a Mobile Communications Receiver, Int. C1. H 04 J 3/04, обмен служебными сообщениями между контроллером базовых станций и центром коммутации осуществляют как описано, например, в стандарте TIA/EIA/S-634-B, MSC-BS Interface for Public Wireless Communications Systems, 1999.

Если инициатором соединения с мобильной станцией выступает сама мобильная станция, то выполняют следующую последовательность операций.

Передают с мобильной станции на приемопередающую систему базовой станции запрос на установление соединения.

Передают с приемопередающей системы базовой станции на мобильную станцию подтверждение о получении запроса и передают на контроллер базовых станций запрос на установление соединения, который передают затем на центр коммутации.

Передают с центра коммутации на контроллер базовых станций запрос на выделение канала, который затем передают с контроллера базовых станций на приемопередающую систему базовой станции.

Передают с приемопередающей системы базовой станции на мобильную станцию сообщение с номером выделенного канала и принимают с мобильной станции подтверждение.

Передают с приемопередающей системы базовой станции на контроллер базовых станций подтверждение выделения канала, которое затем передают с контроллера базовых станций на центр коммутации.

Передают с мобильной станции голос и данные на приемопередающую систему базовой станции, откуда их передают на контроллер базовых станций, на центр коммутации и далее на другую мобильную станцию или на фиксированный телефон.

Передают с центра коммутации голос и данные, предназначенные для мобильной станции, на контроллер базовых станций, откуда их передают на приемопередающую систему базовой станции, а с нее – на мобильную станцию.

При этом обмен служебными сообщениями и голосом и данными между мобильной станцией и приемопередающей системой базовой станции осуществляют, как описано, например, в стандарте TIA/EIA/IS-95-A, Mobile Station – Base Station Compatibility Standard for Dual-Mode Wideband Spread Spectrum Cellular System, 1995 и в патенте US 5673259, Random Access Channel, Int. C1. H 04 J 13/00, H 04 Q 7/30, обмен служебными сообщениями между контроллером базовых станций и центром коммутации осуществляют, как описано, например, в стандарте TIA/EIA/IS-634-B, MSC-BS Interface for Public Wireless Communications Systems, 1999.

Если соединение устанавливают между первой мобильной станцией и второй мобильной станцией одной группы обслуживания линейного участка покрытия, первая мобильная станция находится в зоне обслуживания первой приемопередающей системы базовой станции, вторая мобильная станция находится в зоне обслуживания второй приемопередающей системы базовой станции, и инициатором установления соединения выступает первая мобильная станция, то осуществляют следующую последовательность операций, которая существенно сокращает объем служебных сообщений, которыми необходимо обмениваться для установления соединения.

Передают с первой мобильной станции на первую приемопередающую систему базовой станции запрос на установление соединения.

Передают с первой приемопередающей системы базовой станции на первую мобильную станцию подтверждение о получении запроса и выделяет ей ресурсы.

Передают с первой приемопередающей системы базовой станции на вторую приемопередающую систему базовой станции запрос на вызов второй мобильной станции.

Передают со второй приемопередающей системы базовой станции на вторую мобильную станцию сообщение вызова и принимают от нее ответ на вызов.

Передают со второй приемопередающей системы базовой станции на вторую мобильную станцию сообщение с номером выделенного канала и принимают от нее подтверждение.

Передают с первой мобильной станции голос и данные на первую приемопередающую систему базовой станции, откуда их передают на вторую приемопередающую систему базовой станции и на вторую мобильную станцию.

Передают со второй мобильной станции голос и данные на вторую приемопередающую систему базовой станции, откуда их передают ни первую приемопередающую систему базовой станции и на первую мобильную станцию.

При этом обмен служебными сообщениями и голосом и данными между мобильными станциями и приемопередающими системами базовых станций осуществляют, как описано, например, в стандарте TIA/EIA/IS-95-A, Mobile Station – Base Station Compatibility Standard for Dual-Mode Wideband Spread Spectrum Cellular System, 1995 и в патентах US 5673259, Random Access Channel, Int. Cl. H 04 J 13/00, H 04 Q 7/30 и US 5392287, Apparatus and Method for Reducing Power Consumption in a Mobile Communications Receiver, Int. Cl. H 04 J 3/04.

Поясним теперь подробнее реализацию способа передачи обслуживания мобильной станции между приемопередающими системами базовых станций.

Сначала поясним понятия активного набора, кандидатского набора и соседнего набора мобильной станции.

Под активным набором понимают набор приемопередающих систем базовых станций, с которыми в данный момент у мобильной станции установлено соединение.

Под кандидатским набором понимают набор приемопередающих систем базовых станций, условия приема сигналов которых на данной мобильной станции в данный момент таковы, что позволяют установить с ними соединение и осуществлять прием голоса и данных с требуемым качеством.

Под соседним набором понимают набор приемопередающих систем базовых станций, соседних с одной или более приемопередающей системой базовой станции активного и кандидатского набора. При этом под соседними понимают такие приемопередающие системы базовых станций, у которых зоны обслуживания расположены рядом друг с другом.

Мобильная станция находится в зонах обслуживания первой и второй приемопередающих систем базовых станций, которые включены в группу обслуживания контроллера базовых станций, который обслуживается посредством центра коммутации.

Установлено соединение между мобильной станцией и первой передающей системой базовой станции.

Оценивают на мобильной станции уровень сигнала второй приемопередающей системы базовой станции.

Уровень сигнала приемопередающей системы базовой станции оценивают, как описано, например, в патентах US 5101501, Soft Handoff in a CDMA Cellular Telephone System, Int. Cl. H 04 Q 7/00, H 04 M 11/00 и US 5267261, Mobile Station Assisted Soft Handoff in a CDMA Cellular Communications System, Int. Cl. H 04 K 1/00.

Если уровень сигнала второй приемопередающей системы базовой станции превышает заданный порог, то переносят на мобильной станции вторую приемопередающую систему базовой станции в кандидатский набор и сообщают о превышении порога на первую приемопередающую систему базовой станции.

Передают с первой приемопередающей системы базовой станции сообщение о превышении порога на контроллер базовых станций, и передают его с контроллера базовых станций на центр коммутации.

Передают с центра коммутации на контроллер базовых станций запрос на выделение ресурсов на второй приемопередающей системе базовой станции.

Выделяют посредством контроллера базовых станций ресурсы на второй приемопередающей системе базовой станции и сообщают об этом на центр коммутации.

При этом под ресурсами понимают, например, один или более канал передачи голоса и данных.

Начинают принимать на второй приемопередающей системе базовой станции сигнал мобильной станции.

Начинают передавать со второй приемопередающей системы базовой станции сигнал на мобильную станцию.

Передают с контроллера базовых станций на первую приемопередающую систему базовой станции, а с первой приемопередающей системы базовой станции – на мобильную станцию сообщение, по которому переводят на мобильной станции вторую приемопередающую систему базовой станции из кандидатского набора в активный набор.

Принимают на мобильной станции сигналы первой и второй приемопередающих систем базовых станций, объединяя их при приеме.

Принимают на первой приемопередающей системе базовой станции сигнал мобильной станции, демодулируют и декодируют его и передают полученные голос и данные на контроллер базовых станций.

Принимают на второй приемопередающей системе базовой станции сигнал мобильной станции, демодулируют и декодируют его и передают полученные голос и данные на контроллер базовых станций.

Объединяют на контроллере базовых станций голос и данные мобильной станции, полученные от первой и второй приемопередающих систем базовой станции, и направляют их получателю.

При этом, например, объединение полученных блоков голоса и данных на контроллере базовых станций осуществляют выбором одного из блоков.

Если первая и вторая приемопередающие системы базовых станций принадлежат одной группе обслуживания одного участка линейного обслуживания, то оценивают на мобильной станции уровень сигнала второй приемопередающей системы базовой станции.

Если уровень сигнала второй приемопередающей системы базовой станции превышает заданный порог, то переносят на мобильной станции вторую приемопередающую систему базовой станции в кандидатский набор и сообщают о превышении порога на первую приемопередающую систему базовой станции.

Передают с первой приемопередающей системы базовой станции сообщение о превышении порога на вторую приемопередающую систему базовой станции.

Выделяют ресурсы на второй приемопередающей системе базовой станции и сообщают об этом на первую приемопередающую систему базовой станции.

Начинают принимать на второй приемопередающей системе базовой станции сигнал мобильной станции.

Начинают передавать со второй приемопередающей системы базовой станции сигнал на мобильную станцию.

Передают с первой приемопередающей системы базовой станции сообщение на мобильную станцию, по которому переводят на мобильной станции вторую приемопередающую систему базовой станции из кандидатского набора в активный набор.

Принимают на мобильной станции сигналы первой и второй приемопередающих систем базовых станций, объединяя их при приеме.

Принимают на первой приемопередающей системе базовой станции сигнал мобильной станции, демодулируют и декодируют его и передают полученные голос и данные на контроллер базовых станций.

Принимают на второй приемопередающей системе базовой станции сигнал мобильной станции, демодулируют и декодируют его и передают полученные голос и данные на контроллер базовых станций.

Объединяют на контроллере базовых станций голос и данные мобильной станции, полученные от первой и второй приемопередающих систем базовой станции, и направляют их получателю.

При этом обмен служебными сообщениями и голосом и данными между мобильными станциями, приемопередающими системами базовых станций и контроллером базовых станций осуществляют, как описано, например, в стандарте TIA/EIA/IS-95-A, Mobile Station – Base Station Compatibility Standard for Dual-Mode Wideband Spread Spectrum Cellular System, 1995 и в патентах US 5101501, Soft Handoff in a CDMA Cellular Telephone System, Int. Cl. H 04 Q 7/00, H 04 M 11/00 и US 5267261, Mobile Station Assisted Soft Handoff in a CDMA Cellular Communications System, Int. Cl. H 04 K 1/00.

Поясним теперь подробнее реализацию способа завершения соединения с мобильной станцией.

Мобильная станция находится в зоне обслуживания приемопередающей системы базовой станции, которая включена в группу обслуживания контроллера базовых станций, который обслуживается посредством центра коммутации.

Инициатором завершения соединения с мобильной станцией выступает либо сама мобильная станция, либо другая мобильная станция или фиксированный телефон.

Если соединение с мобильной станцией завершают по инициативе самой мобильной станции, то осуществляют следующую последовательность операций.

Передают с мобильной станции на приемопередающую систему базовой станции запрос на завершение соединения.

Передают с приемопередающей системы базовой станции на контроллер базовых станций запрос на завершение соединения, который затем передают с контроллера базовых станций на центр коммутации.

Передают с центра коммутации на контроллер базовых станций команду завершения соединения, которую затем передают на приемопередающую систему базовой станции, а с нее – на мобильную станцию.

Передают с приемопередающей системы базовой станции на контроллер базовых станций подтверждение завершения соединения, которое затем передают с контроллера базовых станций на центр коммутации.

Если соединение с мобильной станцией завершают по инициативе другой мобильной станции или фиксированного телефона, то осуществляют следующую последовательность операций.

Передают с центра коммутации на контроллер базовых станций команду завершения соединения, которую затем передают на приемопередающую систему базовой станции, а с нее – на мобильную станцию.

Передают с мобильной станции на приемопередающую систему базовой станции подтверждение завершения соединения.

Передают с приемопередающей системы базовой станции на контроллер базовых станций подтверждение завершения соединения, которое затем передают с контроллера базовых станций на центр коммутации.

А если завершают соединение между первой мобильной станцией и второй мобильной станцией одной группы обслуживания линейного участка покрытия, первая мобильная станция находится в зоне обслуживания первой приемопередающей системы базовой станции, вторая мобильная станция находится в зоне обслуживания второй приемопередающей системы базовой станции, и инициатором завершения соединения выступает первая мобильная станция, то осуществляют следующую последовательность операций.

Передают с первой мобильной станции на первую приемопередающую систему базовой станции запрос на завершение соединения.

Передают с первой приемопередающей системы базовой станции на первую мобильную станцию команду завершения соединения.

Передают с первой приемопередающей системы базовой станции на вторую приемопередающую систему базовой станции команду завершения соединения.

Передают со второй приемопередающей системы базовой станции на вторую мобильную станцию команду завершения соединения.

Передают со второй мобильной станции на вторую приемопередающую систему базовой станции подтверждение завершения соединения.

При этом обмен служебными сообщениями между мобильными станциями, приемопередающими системами базовых станций и контроллером базовых станций осуществляют, как описано, например, в стандарте TIA/EIA/IS-95-A, Mobile Station – Base Station Compatibility Standard for Dual-Mode Wideband Spread Spectrum Cellular System, 1995; обмен служебными сообщениями между контроллером базовых станций и центром коммутации осуществляют, как описано, например, в стандарте TIA/EIA/IS-634-B, MSC-BS Interface for Public Wireless Communications Systems, 1999.

Заявляемый способ организации сотовой сети связи обладает следующими существенными преимуществами по сравнению с известными в данной области техники изобретениями.

Во-первых, заявляемый способ позволяет уменьшить нагрузку на проводные линии связи, соединяющие приемопередающие системы базовых станций участков линейного покрытия и обслуживающие их контроллеры базовых станций.

Как следствие, заявляемый способ позволяет снизить требования по пропускной способности указанных проводных линий связи.

Как следствие, заявляемый способ позволяет уменьшить стоимость развертывания и эксплуатации сотовой сети связи.

Эти преимущества достигаются за счет такого изменения организации сотовой сети связи, процедур регистрации мобильной станции в сотовой сети связи, установления соединения с мобильной станцией, передачи обслуживания мобильной станции между приемопередающими системами базовых станций и завершения соединения с мобильной станцией внутри участков линейного покрытия, при котором существенно уменьшается количество служебных сообщений, обмен которыми необходим для осуществления указанных процедур.

Формула изобретения

1. Способ организации сотовой сети связи, при котором формируют зону покрытия сотовой сети связи таким образом, что в нее входит один или более участок сплошного покрытия и один или более участок линейного покрытия, используют в сотовой сети связи одну или более мобильную станцию, одну или более приемопередающую систему базовой станции, один или более контроллер базовых станций, один или более центр коммутации, заключающийся в том, что обслуживают посредством каждого контроллера базовых станций группу из одной или более приемопередающей системы базовой станции, обеспечивают для этого связь каждого контроллера базовых станций внутри участка сплошного покрытия с каждой приемопередающей системой базовой станции обслуживаемой им группы, обслуживают посредством каждого центра коммутации один или более контроллер базовых станций, обеспечивают для этого связь каждого центра коммутации с каждым контроллером базовых станций, который обслуживают посредством этого центра коммутации, обеспечивают на одном или более центре коммутации интерфейс с одной или более внешней сетью, обеспечивают связь всех центров коммутации между собой непосредственно или через другие центры коммутации таким образом, что обеспечивают интерфейс каждого центра коммутации с одной или более внешней сетью непосредственно или через другие центры коммутации, указывают на каждом центре коммутации в зоне обслуживания какой приемопередающей системы базовой станции находится каждая зарегистрированная мобильная станция, регистрируют каждую мобильную станцию в этой сотовой сети связи для предоставления ей в дальнейшем услуг передачи голоса и данных, обеспечивают установление соединения каждой мобильной станции с другой мобильной станцией или с фиксированным телефоном, а также передачу голоса и данных между ними, обеспечивают передачу обслуживания мобильной станции между приемопередающими системами базовых станций для непрерывной передачи голоса и данных при смене мобильной станцией зоны обслуживания во время соединения, обеспечивают завершение соединения с мобильной станцией, для освобождения ресурсов сотовой сети связи, отличающийся тем, что обеспечивают связь каждого контроллера базовых станций внутри участка линейного покрытия только с одной приемопередающей системой базовой станции обслуживаемой им группы, обеспечивают связь всех приемопередающих систем базовых станций каждой обслуживаемой группы каждого участка линейного покрытия между собой таким образом, что обеспечивают связь каждых двух соседних приемопередающих систем базовых станций каждой обслуживаемой группы каждого участка линейного покрытия, каждый набор зон обслуживания приемопередающих систем базовых станций каждой группы обслуживания каждого линейного участка указывают на каждом центре коммутации как зону обслуживания одной приемопередающей системы базовой станции этой группы обслуживания, указывают на каждой приемопередающей системе базовой станции каждой группы обслуживания каждого линейного участка в зоне обслуживания какой приемопередающей системы базовой станции группы находится каждая зарегистрированная мобильная станция.

2. Способ регистрации мобильной станции в сотовой сети связи, при котором мобильная станция находится в зоне обслуживания приемопередающей системы базовой станции, которая включена в группу обслуживания контроллера базовых станций, который обслуживается посредством центра коммутации, заключающийся в том, что передают сообщение регистрации с мобильной станции на приемопередающую систему базовой станции, передают с приемопередающей системы базовой станции на контроллер базовых станций сообщение обновления местоположения, которое затем передают с контроллера базовых станций на центр коммутации, обновляют на контроллере базовых станций информацию о зоне обслуживания мобильной станции, передают с центра коммутации на контроллер базовых станций подтверждение обновления местоположения, которое затем передают с контроллера базовых станций на приемопередающую систему базовой станции, а с нее – на мобильную станцию, отличающийся тем, что передают с приемопередающей системы базовой станции группы обслуживания линейного участка на каждую приемопередающую систему базовой станции этой группы сообщение обновления местоположения и обновляют на каждой приемопередающей системе базовой станции этой группы информацию о зоне обслуживания мобильной станции, если мобильная станция находится в зоне обслуживания приемопередающей системы базовой станции группы обслуживания линейного участка.

3. Способ установления соединения мобильной станции с другой мобильной станцией или с фиксированным телефоном, при котором мобильная станция находится в зоне обслуживания приемопередающей системы базовой станции, которая включена в группу обслуживания контроллера базовых станций, который обслуживается посредством центра коммутации, инициатором установления соединения с мобильной станцией является либо сама мобильная станция, либо другая мобильная станция или фиксированный телефон, заключающийся в том, что передают с центра коммутации на контроллер базовых станций запрос на вызов, который затем передают с контроллера базовых станций на приемопередающую систему базовой станции, передают с приемопередающей системы базовой станции на мобильную станцию сообщение вызова и принимают с мобильной станции ответ на вызов, передают с приемопередающей системы базовой станции на контроллер базовых станций подтверждение вызова, которое затем передают с контроллера базовых станций на центр коммутации, передают с центра коммутации на контроллер базовых станций запрос на выделение канала, который затем передают с контроллера базовых станций на приемопередающую систему базовой станции, передают с приемопередающей системы базовой станции на мобильную станцию сообщение с номером выделенного канала и принимают с мобильной станции подтверждение, передают с приемопередающей системы базовой станции на контроллер базовых станций подтверждение выделения канала, которое затем передают с контроллера базовых станций на центр коммутации, передают с центра коммутации голос и данные, предназначенные для мобильной станции, на контроллер базовых станций, откуда их передают на приемопередающую систему базовой станции, а с нее – на мобильную станцию, передают с мобильной станции голос и данные на приемопередающую систему базовой станции, откуда их передают на контроллер базовых станций, на центр коммутации и далее на другую мобильную станцию или на фиксированный телефон, если инициатором соединения с мобильной станцией является другая мобильная станция или фиксированный телефон; передают с мобильной станции на приемопередающую систему базовой станции запрос на установление соединения, передают с приемопередающей системы базовой станции на мобильную станцию подтверждение о получении запроса и передают на контроллер базовых станций запрос на установление соединения, который передают затем на центр коммутации, передают с центра коммутации на контроллер базовых станций запрос на выделение канала, который затем передают с контроллера базовых станций на приемопередающую систему базовой станции, передают с приемопередающей системы базовой станции на мобильную станцию сообщение с номером выделенного канала и принимают с мобильной станции подтверждение, передают с приемопередающей системы базовой станции на контроллер базовых станций подтверждение выделения канала, которое затем передают с контроллера базовых станций на центр коммутации, передают с мобильной станции голос и данные на приемопередающую систему базовой станции, откуда их передают на контроллер базовых станций, на центр коммутации и далее на другую мобильную станцию или на фиксированный телефон, передают с центра коммутации голос и данные, предназначенные для мобильной станции, на контроллер базовых станций, откуда их передают на приемопередающую систему базовой станции, а с нее – на мобильную станцию, если инициатором соединения с мобильной станцией является сама мобильная станция, отличающийся тем, что передают с первой мобильной станции на первую приемопередающую систему базовой станции запрос на установление соединения, передают с первой приемопередающей системы базовой станции на первую мобильную станцию подтверждение о получении запроса и выделяет ей ресурсы, передают с первой приемопередающей системы базовой станции на вторую приемопередающую систему базовой станции запрос на вызов второй мобильной станции, передают со второй приемопередающей системы базовой станции на вторую мобильную станцию сообщение вызова и принимают от нее ответ на вызов, передают со второй приемопередающей системы базовой станции на вторую мобильную станцию сообщение с номером выделенного канала и принимают от нее подтверждение, передают с первой мобильной станции голос и данные на первую приемопередающую систему базовой станции, откуда их передают на вторую приемопередающую систему базовой станции и на вторую мобильную станцию, передают со второй мобильной станции голос и данные на вторую приемопередающую систему базовой станции, откуда их передают на первую приемопередающую систему базовой станции и на первую мобильную станцию, если соединение устанавливают между первой мобильной станцией и второй мобильной станцией одной группы обслуживания линейного участка покрытия, первая мобильная станция находится в зоне обслуживания первой приемопередающей системы базовой станции, вторая мобильная станция находится в зоне обслуживания второй приемопередающей системы базовой станции, и инициатором установления соединения является первая мобильная станция.

4. Способ передачи обслуживания мобильной станции между приемопередающими системами базовых станций, при котором мобильная станция находится в зонах обслуживания первой и второй приемопередающих систем базовых станций, которые включены в группу обслуживания контроллера базовых станций, который обслуживается посредством центра коммутации, установлено соединение между мобильной станцией и первой передающей системой базовой станции, первая приемопередающая система базовой станции включена в активный набор, а вторая приемопередающая система базовой станции – в соседний набор мобильной станции, заключающийся в том, что оценивают на мобильной станции уровень сигнала второй приемопередающей системы базовой станции, если уровень сигнала второй приемопередающей системы базовой станции превышает заданный порог, то переносят на мобильной станции вторую приемопередающую систему базовой станции в кандидатский набор и сообщают о превышении порога на первую приемопередающую систему базовой станции, передают с первой приемопередающей системы базовой станции сообщение о превышении порога на контроллер базовых станций и передают его с контроллера базовых станций на центр коммутации, передают с центра коммутации на контроллер базовых станций запрос на выделение ресурсов на второй приемопередающей системе базовой станции, выделяют посредством контроллера базовых станций ресурсы на второй приемопередающей системе базовой станции и сообщают об этом на центр коммутации, начинают принимать на второй приемопередающей системе базовой станции сигнал мобильной станции, начинают передавать со второй приемопередающей системы базовой станции сигнал на мобильную станцию, передают с контроллера базовых станций на первую приемопередающую систему базовой станции, а с первой приемопередающей системы базовой станции – на мобильную станцию сообщение, по которому переводят на мобильной станции вторую приемопередающую систему базовой станции из кандидатского набора в активный набор, принимают на мобильной станции сигналы первой и второй приемопередающих систем базовых станций, объединяя их при приеме, принимают на первой приемопередающей системе базовой станции сигнал мобильной станции, демодулируют и декодируют его и передают полученные голос и данные на контроллер базовых станций, принимают на второй приемопередающей системе базовой станции сигнал мобильной станции, демодулируют и декодируют его и передают полученные голос и данные на контроллер базовых станций, объединяют на контроллере базовых станций голос и данные мобильной станции, полученные от первой и второй приемопередающих систем базовой станции, и направляют их получателю, отличающийся тем, что оценивают на мобильной станции уровень сигнала второй приемопередающей системы базовой станции, если уровень сигнала второй приемопередающей системы базовой станции превышает заданный порог, то переносят на мобильной станции вторую приемопередающую систему базовой станции в кандидатский набор и сообщают о превышении порога на первую приемопередающую систему базовой станции, передают с первой приемопередающей системы базовой станции сообщение о превышении порога на вторую приемопередающую систему базовой станции, выделяют ресурсы на второй приемопередающей системе базовой станции и сообщают об этом на первую приемопередающую систему базовой станции, начинают принимать на второй приемопередающей системе базовой станции сигнал мобильной станции, начинают передавать со второй приемопередающей системы базовой станции сигнал на мобильную станцию, передают с первой приемопередающей системы базовой станции сообщение на мобильную станцию, по которому переводят на мобильной станции вторую приемопередающую систему базовой станции из кандидатского набора в активный набор, принимают на мобильной станции сигналы первой и второй приемопередающих систем базовых станций, объединяя их при приеме, принимают на первой приемопередающей системе базовой станции сигнал мобильной станции, демодулируют и декодируют его и передают полученные голос и данные на контроллер базовых станций, принимают на второй приемопередающей системе базовой станции сигнал мобильной станции, демодулируют и декодируют его и передают полученные голос и данные на контроллер базовых станций, объединяют на контроллере базовых станций голос и данные мобильной станции, полученные от первой и второй приемопередающих систем базовой станции, и направляют их получателю, если первая и вторая приемопередающие системы базовых станций принадлежат одной группе обслуживания одного участка линейного обслуживания.

5. Способ завершения соединения с мобильной станцией, при котором мобильная станция находится в зоне обслуживания приемопередающей системы базовой станции, которая включена в группу обслуживания контроллера базовых станций, который обслуживается посредством центра коммутации, инициатором завершения соединения с мобильной станцией является либо сама мобильная станция, либо другая мобильная станция или фиксированный телефон, заключающийся в том, что передают с мобильной станции на приемопередающую систему базовой станции запрос на завершение соединения, передают с приемопередающей системы базовой станции на контроллер базовых станций запрос на завершение соединения, который затем передают с контроллера базовых станций на центр коммутации, передают с центра коммутации на контроллер базовых станций команду завершения соединения, которую затем передают на приемопередающую систему базовой станции, а с нее – на мобильную станцию, передают с приемопередающей системы базовой станции на контроллер базовых станций подтверждение завершения соединения, которое затем передают с контроллера базовых станций на центр коммутации, если соединение с мобильной станцией завершают по инициативе самой мобильной станции; передают с центра коммутации на контроллер базовых станций команду завершения соединения, которую затем передают на приемопередающую систему базовой станции, а с нее – на мобильную станцию, передают с мобильной станции на приемопередающую систему базовой станции подтверждение завершения соединения, передают с приемопередающей системы базовой станции на контроллер базовых станций подтверждение завершения соединения, которое затем передают с контроллера базовых станций на центр коммутации, если соединение с мобильной станцией завершают по инициативе другой мобильной станции или фиксированного телефона, отличающийся тем, что передают с первой мобильной станции на первую приемопередающую систему базовой станции запрос на завершение соединения, передают с первой приемопередающей системы базовой станции на первую мобильную станцию команду завершения соединения, передают с первой приемопередающей системы базовой станции на вторую приемопередающую систему базовой станции команду завершения соединения, передают со второй приемопередающей системы базовой станции на вторую мобильную станцию команду завершения соединения, передают со второй мобильной станции на вторую приемопередающую систему базовой станции подтверждение завершения соединения, если завершают соединение между первой мобильной станцией и второй мобильной станцией одной группы обслуживания линейного участка покрытия, первая мобильная станция находится в зоне обслуживания первой приемопередающей системы базовой станции, вторая мобильная станция находится в зоне обслуживания второй приемопередающей системы базовой станции, и инициатором завершения соединения является первая мобильная станция.

РИСУНКИ

Categories: BD_2256000-2256999