|
|
(21), (22) Заявка: 2002119474/11, 17.07.2002
(24) Дата начала отсчета срока действия патента:
17.07.2002
(43) Дата публикации заявки: 20.01.2004
(45) Опубликовано: 10.07.2005
(56) Список документов, цитированных в отчете о поиске:
Специальные электрические машины. Источники и преобразователи энергии/ Бертинов А.И., Бут Д.А., Алиевский Б.Л. и др./ Под ред. Б.Л. Алиевского. – М.: Энергоатомиздат, 1993, т.2; Сверхпроводниковые электрические машины и магнитные системы/ Бертинов А.И., Алиевский Б.Л., Илюшин К.В. и др. – М.: Изд-во МАИ, 1993. SU 1205224 A, 15.01.1986.
Адрес для переписки:
125871, Москва, Волоколамское ш., 4, МАИ
|
(72) Автор(ы):
Бут Д.А. (RU), Чернова Е.Н. (RU), Голубев С.Б. (RU)
(73) Патентообладатель(и):
Московский авиационный институт (государственный технический университет) (RU)
|
(54) СВЕРХПРОВОДНИКОВАЯ СИНХРОННАЯ ЭЛЕКТРИЧЕСКАЯ МАШИНА
(57) Реферат:
Изобретение относится к электротехнике, в частности к электрическим машинам, и может быть использовано в электроэнергетических установках и системах электропривода. Машина содержит статор, на котором размещены распределенная якорная обмотка с лобовыми частями, закрепленная на несущем изоляционном цилиндре, наружный цилиндрический ферромагнитный экран, защищающий внешнее пространство от магнитного поля машины, боковые магнитнонепроницаемые дискообразные экраны, внешний корпус и ротор, который установлен на валу, закрепленном в подшипниках, и состоит из однополярных относительно якорной обмотки магнитных полюсов на основе сверхпроводников, отделенных от якоря рабочим зазором, друг от друга – немагнитными межполюсными промежутками и от боковых экранов – аксиальными зазорами. Полюсы закреплены на втулке и охвачены цилиндром, выполняющим функции прочностного бандажа и демпферной обмотки, размещены в криостате и имеют ширину, равную ширине межполюсных промежутков, при этом значения магнитной индукции над полюсами и в наружной части межполюсных промежутков будут одинаковыми по модулю, но противоположными по направлению, т.е. магнитное поле – биполярное. Технический результат – увеличение электромагнитного момента и частоты тока в якорной обмотке за счет увеличения числа полюсов. 2 ил.

Изобретение относится к электротехнике, в частности к электрическим машинам, и может быть использовано в электроэнергетических установках и системах электропривода.
Известны машины со сверхпроводниковыми обмотками, обеспечивающие уменьшение удельной массы (кг/кВА) в десятки раз по сравнению с обычными машинами [1].
Наиболее близким к данному изобретению является сверхпроводниковая синхронная электрическая машина, содержащая статор с якорной обмоткой и наружным цилиндрическим ферромагнитным экраном и ротор с магнитными полюсами, отделенными от якорной обмотки рабочим зазором и друг от друга – немагнитными межполюсными промежутками, [2] – прототип.
В отличие от заявляемого изобретения у прототипа полюсы ротора, обращенные к якорной обмотке, выполнены с разной полярностью, последовательно чередующейся от полюса к полюсу. Прототип имеет высокую удельную массу, низкие значения электромагнитного момента и частоты тока в якорной обмотке, что приводит к большому объему машины и связанного с ней оборудования, а также к ограничению функциональных возможностей машины – в плане регулирования, быстродействия и т.п. Причиной перечисленных недостатков прототипа является наличие немагнитных межполюсных промежутков, разделяющих магнитные полюсы разной полярности. В этих промежутках, во-первых, практически не используются проводники якорной обмотки, так как создаваемые в них ЭДС и электромагнитные силы малы вследствие малой магнитной индукции; во-вторых, в промежутках замыкаются неиспользуемые магнитные потоки рассеяния. Кроме того, значительные потоки рассеяния замыкаются в наружных торцевых зонах индуктора между разнополярными полюсами, примыкающих к межполюсным промежуткам. Таким образом, наличие межполюсных промежутков вызывает неполное использование проводников якорной обмотки и магнитного потока, что и приводит к повышенной массе машины.
Кроме того, наличие межполюсных промежутков уменьшает допустимое число полюсов в заданном объеме индуктора и, соответственно, частоты тока в якорной обмотке. Количественно роль межполюсных промежутков характеризуется коэффициентом полюсного перекрытия =bП/ , где bП – тангенциальная ширина полюса, – полюсное деление. В известных синхронных машинах  0,5-0,7. Коэффициент входит в расчетные соотношения типа уравнения Арнольда для всех электрических машин и непосредственно определяет объем и массу машины [2].
Целью изобретения является снижение массы машины, увеличение электромагнитного момента и частоты тока в якорной обмотке за счет увеличения числа полюсов. Последнее обеспечивает расширение функциональных возможностей машины (регулирования, быстродействия и т.п.), а также снижает массу активных элементов не только машины, но и связанного с ней оборудования – трансформаторов, регуляторов, фильтров, коммутаторов и др.
Цель достигается тем, что в сверхпроводниковой синхронной электрической машине, содержащей статор с якорной обмоткой и наружным цилиндрическим ферромагнитным экраном и ротор с магнитными полюсами, отделенными от якорной обмотки рабочим зазором и друг от друга – немагнитными межполюсными промежутками, магнитные полюсы, обращенные к якорной обмотке, выполнены с одинаковой полярностью, при этом машина снабжена магнитно непроницаемыми дискообразными экранами, размещенными напротив торцов полюсов и отделенными от них аксиальными зазорами.
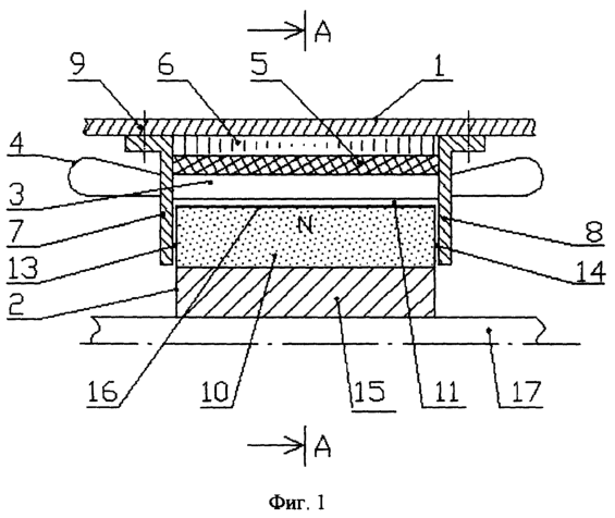
На фиг.1 показан продольный разрез сверхпроводниковой синхронной машины, на фиг.2 – ее поперечное сечение.
Машина содержит неподвижную часть – статор 1 и вращающуюся часть – ротор 2. Ротор 2 устанавливается внутри статора 1 соосно с ним. На статоре 1 размещены распределенная якорная обмотка 3 с лобовыми частями 4, закрепленная на несущем изоляционном цилиндре 5; наружный цилиндрический ферромагнитный экран 6, охватывающий статор и защищающий внешнее пространство от магнитного поля машины; боковые магнитно непроницаемые дискообразные экраны 7 и 8; внешний корпус 9. Ротор 2 содержит однополярные относительно якорной обмотки 3 магнитные полюсы 10 на основе сверхпроводников, отделенные от якоря рабочим зазором 11, друг от друга – немагнитными межполюсными промежутками 12 и от боковых экранов 7 и 8, размещенных напротив торцов полюсов 10 – аксиальными зазорами 13 и 14. Внутренние объемы полюсов 10 на фиг.1 и 2 условно обозначены точечным покрытием, которое соответствует объемным керамическим сверхпроводниковым модулям (криомагнитам) или сверхпроводниковым катушкам.
При использовании высокотемпературных сверхпроводников криомагниты выполняются на основе керамик типа Y-Cu-Ba-0 [3] и их наружные поверхности, обращенные к якорной обмотке 3, имеют одинаковую полярность. При использовании низкотемпературных сверхпроводников полюсы 10 содержат сверхпроводниковые катушки с одинаковым направлением намотки на всех полюсах для обеспечения их одинаковой полярности. Полюсы 10 закреплены на втулке 15 и охвачены цилиндром 16, выполняющим функции прочностного бандажа и демпферной обмотки, повышающей устойчивость работы синхронной машины.
Ротор 2 установлен на валу 17, закрепленном в подшипниках и боковых щитах (на фиг.1 и 2 не показаны) и имеет возможность вращаться, сохраняя соосное положение по отношению к статору 1. Полюсы 10 размещены в криостате, конструкция которого зависит от уровня рабочей температуры. При использовании низкотемпературных сверхпроводников гелиевый криостат размещен на роторе (на фиг.1 и 2 не показан) [2]. При использовании высокотемпературных сверхпроводников отдельный криостат на роторе не требуется и вся внутренняя полость машины заполняется хладагентом [3] (например, жидким азотом).
Магнитно непроницаемые боковые дискообразные экраны 7 и 8 могут быть диамагнитными или электродинамическими. Диамагнитные экраны с нулевой магнитной проницаемостью изготавливаются из сверхпроводников 1-го или 2-го рода [4] и могут закрепляться как на статоре 1, так и на роторе 2. Электродинамические экраны изготавливаются из обычных проводников (Си, А1 и др.) и закрепляются на статоре 1. При относительном движении статора 1 и ротора 2 с полюсами 10 в экране 7 и 8 наводятся вихревые токи, препятствующие проникновению магнитного поля. Толщина экрана должна превышать расчетное значение глубины скин-слоя [2]. При выполнении машины с большим отношением рабочей длины к диаметру активной зоны ( =l/D 2) боковые дискообразные экраны 7 и 8 могут отсутствовать.
Машина может быть выполнена как в цилиндрическом (вращающемся) исполнении, так и в линейном и торцевом исполнениях. Возможна обращенная конструкция с обмоткой якоря 3 на роторе 2 и магнитными полюсами 10 на статоре 1.
Принципы работы машины такие же, как у синхронных машин традиционного исполнения. В генераторном режиме за счет вращения ротора 2 внешним приводом и движения магнитных полюсов 10 наводится рабочая ЭДС в неподвижной якорной обмотке 3, которая создает переменный ток в электрических нагрузках, подключенных к генератору. В двигательном режиме переменный ток подводится из сети (или от автономного источника) к трехфазной или многофазной якорной обмотке 3, благодаря чему создается вращающееся магнитное поле. Его полюсы притягивают противоположные полюсы 10 ротора 2, что создает вращающий момент, приводящий в движение ротор с механической нагрузкой.
Положительный эффект указанной совокупности отличительных признаков заявляемого изобретения заключается в том, что по сравнению с прототипом в предложенной машине отсутствуют неиспользуемые межполюсные промежутки, так как в пространстве между конструктивно выраженными однополярными полюсами 10 возникает магнитное поле обратного направления благодаря неразрывности линий магнитной индукции согласно уравнению Максвелла div Все магнитные линии, исходящие из наружных частей полюсов, возвращаются обратно на их внутренние части по единственному пути – через межполюсные промежутки 12, как показано пунктирными контурами 18 на фиг.2. Боковые ответвления поля на торцах полюсов 10 не пропускаются магнитно непроницаемыми дискообразными экранами 7 и 8. Если ширина межполюсных промежутков 12 равна ширине полюсов 10, то из условия сохранения магнитного потока значения магнитной индукции над полюсами 10 и в наружной части межполюсных промежутков 12 будут одинаковыми по модулю, но противоположными по направлению. Таким образом, в машине имеются конструктивные полюсы одной полярности 10 и идентичные им “воздушные” полюсы противоположной полярности (межполюсные промежутки 12), не обладающие массой, причем конструктивные и воздушные полюсы непосредственно граничат между собой и неиспользуемые зоны между ними (как в аналогах и прототипе) отсутствуют. Машина имеет однополярные полюсы, но биполярное магнитное поле такое же, как в обычной синхронной машине.
Как показало физическое моделирование поля на макете магнитной системы, коэффициент в предложенной машине увеличивается до 0,9-0,95, соответственно на 30-40% уменьшаются расчетные значения объема и массы машины.
В предложенной машине благодаря наличию обратного поля в межполюсных промежутках 12 удваивается эффективное число полюсов по сравнению с числом конструктивных полюсов 10. Использование наряду с конструктивными полюсами 10 одной полярности воздушных полюсов противоположной полярности, обеспечивает уменьшение удельной массы на 30-40%. За счет большего числа полюсов, при прочих равных условиях, увеличивается электромагнитный момент на валу на 20% и частота тока в якорной обмотке по сравнению с прототипом, что приводит к расширению функциональных возможностей машины, а также дополнительному снижению массы машины и связанных с ней электротехнических устройств – трансформаторов, регуляторов, фильтров, коммутаторов на 30-50%, поскольку с ростом частоты увеличиваются рабочие ЭДС при том же магнитном потоке, во всех активных элементах.
ИСТОЧНИКИ ИНФОРМАЦИИ
1. Сверхпроводящие машины и устройства / Под ред. С.Фонера и В.Шварца. Пер. с англ. под ред. Е.Ю.Клименко. – М., М. пр., 1977.
2. Специальные электрические машины. Источники и преобразователи энергии / А.И.Бертинов, Д.А.Бут, Б.Л.Алиевский и др. Под ред. Б.Л.Алиевского. – М.: Энергоатомиздат, 1993, т.2.
3. Сверхпроводниковые электрические машины и магнитные системы / А.И.Бертинов, Б.Л.Алиевский, К.В.Илюшин и др. – М.: Изд-во МАИ, 1993.
4. Глебов И.А., Лаверик И., Шахтарин В.Н. Электрофизические проблемы использования сверхпроводимости. – Л.: Наука, 1980.
Формула изобретения
Сверхпроводниковая синхронная электрическая машина, содержащая статор с якорной обмоткой и наружным цилиндрическим ферромагнитным экраном и ротор с магнитными полюсами, отделенными от якорной обмотки рабочим зазором и друг от друга – немагнитными межполюсными промежутками, отличающаяся тем, что магнитные полюсы, обращенные к якорной обмотке, выполнены с одинаковой полярностью, при этом машина снабжена магнитно непроницаемыми боковыми дискообразными экранами, размещенными напротив торцов полюсов и отделенными от них аксиальными зазорами.
РИСУНКИ
MM4A – Досрочное прекращение действия патента СССР или патента Российской Федерации на изобретение из-за неуплаты в установленный срок пошлины за поддержание патента в силе
Дата прекращения действия патента: 18.07.2006
Извещение опубликовано: 20.06.2007 БИ: 17/2007
|
|