|
|
(21), (22) Заявка: 2003122143/09, 15.07.2003
(24) Дата начала отсчета срока действия патента:
15.07.2003
(43) Дата публикации заявки: 10.01.2005
(45) Опубликовано: 10.07.2005
(56) Список документов, цитированных в отчете о поиске:
БЕЛЫЙ П.Н. Особенности проектирования высокомоментных магнитоэлектрических двигателей дискового типа. Известия академии наук. Энергетика, 2002, №1, с.87-90. SU 1775807 A1, 15.11.1992. RU 2141159 C1, 10.11.1999. SU 1612357 A1, 07.12.1990. US 6239562 А, 29.05.2001. ЕР 0727868 А1, 21.08.1996.
Адрес для переписки:
190008, Санкт-Петербург, ул.Лоцманская, 3, СПб ГМТУ, патентный отдел, А.М. Маркову
|
(72) Автор(ы):
Сеньков А.П. (RU), Сеньков А.А. (RU)
(73) Патентообладатель(и):
Санкт-Петербургский государственный морской технический университет (RU)
|
(54) ТОРЦЕВОЙ МОМЕНТНЫЙ ЭЛЕКТРОДВИГАТЕЛЬ
(57) Реферат:
Изобретение относится к области электротехники, в частности к электрическим машинам и электроприводу, и касается выполнения торцевых моментных двигателей. Сущность изобретения состоит в следующем. Торцевой моментный электродвигатель содержит торцевой ротор с размещенными на нем постоянными магнитами и два статора, расположенных по обе стороны ротора. Согласно изобретению, магнитопровод каждого статора выполнен из пакетов из пластин, расположенных в радиальном направлении, и из полых цилиндрических частей разных диаметров, каждая из которых имеет зубцы на торце, обращенном к ротору, число данных зубцов равно числу пар полюсов ротора. При этом зубцы наружного и внутреннего цилиндрических частей каждого статора смещены по углу на угловую ширину полюса ротора, между цилиндрическими магнитопроводами размещена кольцевая обмотка одной из двух фаз, а зубцы цилиндрических частей магнитопроводов разных статоров смещены по углу относительно друг друга на половину угловой ширины полюса ротора. Пакеты из пластин, расположенные в радиальном направлении, закреплены на крышках электродвигателя. Технический результат состоит в упрощении конструкции электродвигателя с большим числом пар полюсов при одновременном повышении технологичности, а также снижении трудоемкости изготовления и стоимости электродвигателя. 1 з.п. ф-лы, 5 ил.

Изобретение относится к электротехнике, в частности к электрическим машинам и электроприводу.
Аналогом является, например, торцевой магнитоэлектрический моментный двигатель (а.с. №1775807, БИ №42, 1992), имеющий тороидальный зубчатый магнитопровод статора, в радиальных пазах которого расположена обмотка, и роторы с постоянными магнитами, предназначенный для применения в электроприводах с низкими частотами вращения.
Недостатками прототипа является сложность конструкции и технологии изготовления электродвигателей с высоким выходным моментом. Для повышения момента двигателя необходимо увеличивать число пар полюсов ротора, а значит, и увеличивать число зубцов и радиальных пазов магнитопровода статора с размещенными в них обмотками. При изготовлении статора с большим числом зубцов и радиальных пазов, в которых размещаются витки обмотки статора, возникают технологические трудности, повышается трудоемкость и стоимость изготовления электродвигателя.
Предлагаемое изобретение упростит конструкцию электродвигателя с большим числом пар полюсов и одновременно повысит технологичность и снизит трудоемкость и стоимость изготовления двигателя.
Это достигается тем, что в торцевом моментом электродвигателе, содержащем торцевой ротор с размещенными на нем постоянными магнитами и два статора с обмоткой, расположенных по обе стороны ротора, магнитопровод каждого статора выполнен из полых цилиндрических частей разных диаметров и пакетов из пластин, расположенных в радиальном направлении и закрепленных в крышках электродвигателя. Цилиндрические части каждого статора сопрягаются с пакетами из пластин одними торцевыми поверхностями, а со стороны торцов, обращенных к ротору, цилиндрические части каждого магнитопровода имеют зубцы, при этом число зубцов на торце каждой цилиндрической части равно числу пар полюсов ротора. Зубцы наружной и внутренней цилиндрических частей каждого статора смещены по углу друг относительно друга на угловую ширину полюса ротора. Между цилиндрическими частями магнитопровода каждого статора размещена кольцевая обмотка одной из двух фаз. Зубцы цилиндрических частей магнитопроводов разных статоров смещены по углу относительно друг друга на половину угловой ширины полюса ротора.
Построение магнитопровода статоров двигателя из полых цилиндрических частей с зубцами и пакетов из пластин позволяет использовать в двигателе простейшие кольцевые обмотки, что делает предлагаемый электродвигатель намного технологичнее и дешевле, чем электродвигатель с обмотками, уложенными в радиальные пазы магнитопровода. Это особенно проявляется в моментных двигателях с большим числом пар полюсов.
Массу и габариты предлагаемого двигателя можно уменьшить за счет разделения в каждом статоре фазы на несколько кольцевых секций с чередующимися по знаку намагничивающими силами. Кольцевые секции располагаются между полыми цилиндрическими частями магнитопровода статора, число которых на единицу больше числа кольцевых секций фазы. При этом на обращенных к ротору торцевых поверхностях нечетных и четных цилиндрических частей каждого статора зубцы смещены по углу друг относительно друга на угловую ширину полюса ротора. Такое выполнение статоров позволяет разделить магнитный поток, созданный каждой фазой, на несколько потоков. Магнитные потоки, проходящие в радиальном направлении, при этом уменьшаются в число раз, равное числу секций фаз. Значит, и необходимое сечение радиальных пакетов из пластин также уменьшается в число раз, равное числу секций фаз. За счет этого уменьшаются масса и габариты двигателя.
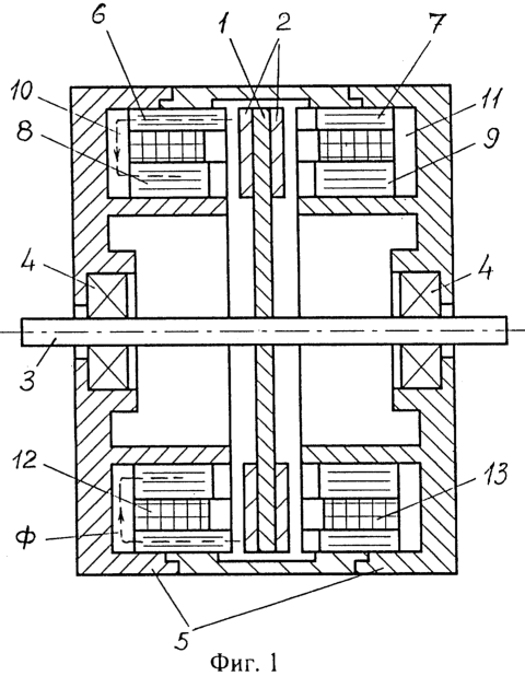
На фиг.1 изображено осевое сечение предлагаемого двигателя; на фиг.2а – обращенный к ротору торец левого от ротора статора, на фиг.2б – расположение постоянных магнитов на одной из торцевых поверхностей ротора, на фиг.2в – обращенный к ротору торец правого статора; на фиг.3 – крышка корпуса статора; на фиг.4 – осевое сечение предлагаемого двигателя с разделенными на секции фазами; на фиг.5а – обращенный к ротору торец левого статора с разделенными на секции фазами, на фиг.5б – расположение постоянных магнитов на одной из торцевых поверхностей ротора, на фиг.5в – обращенный к ротору торец правого статора.
На фиг.1 показано осевое сечение предлагаемого двигателя. Торцевой ротор, состоящий из диска 1, выполненного из ферромагнитного материала, с постоянными магнитами 2 на торцевых поверхностях, закреплен на выходном валу 3 и установлен в подшипниках 4. Постоянные магниты 2 имеют осевой магнитный поток и являются полюсами ротора. Ротор такого исполнения называют “звездочка”, но в предлагаемом двигателе можно использовать и ротор коллекторного типа.
В кольцевых полостях крышек 5 размещены два обращенных к ротору зубцовой зоной статора. Каждый из статоров содержит навитую из стальной ленты полую наружную цилиндрическую часть 6 магнитопровода (в статоре, расположенном на фиг.1 слева от ротора) и 7 (в статоре, расположенном справа от ротора) и внутреннюю, также навитую из стальной ленты, полую цилиндрическую часть 8 и, соответственно, 9. В левом статоре торцевые плоскости полых цилиндрических частей 6 и 8 магнитопровода сопрягаются с пакетами 10 из расположенных в радиальном направлении пластин, установленных в крышке 5. Соответственно, в правом статоре торцевые плоскости полых цилиндрических частей 7 и 9 прижимаются к пакетам 11 из расположенных в радиальном направлении пластин. В полости левого статора между цилиндрическими частями 6 и 8 размещена кольцевая обмотка 12. В полости правого статора между цилиндрическими частями 7 и 9 размещена кольцевая обмотка 13.
На обращенном к ротору торце цилиндрическая часть 6 магнитопровода имеет зубцы 14 (фиг.2а). Соответственно, на обращенном к ротору торце цилиндрической части 7 расположены зубцы 15 (фиг.2в), на торце цилиндрической части 8 расположены зубцы 16, на торце цилиндрической части 9 расположены зубцы 17. На фиг.2а и 2в пазы между зубцами 14, 15, 16, 17 на обращенных к ротору торцах цилиндрических частей 6, 7, 8 и 9 для наглядности заштрихованы. Число зубцов 14, 15, 16, 17 на торце каждой из цилиндрических частей 6, 7, 8 и 9 равно числу пар полюсов 2 ротора (фиг.2б), а угловая ширина каждого зубца 14, 15, 16, 17 примерно равна угловой ширине полюса 2 ротора. На фиг.2б показана полярность полюсов 2 ротора на торцевой поверхности, обращенной к левому статору. На торцевой поверхности ротора, обращенной к правому статору, полярность полюсов 2 противоположная. Зубцы 14 (15) наружной цилиндрической части 6 (7) магнитопровода и зубцы 16 (17) внутренней цилиндрической части 8 (9) в каждом статоре смещены по углу друг относительно друга на угол, равный угловой ширине полюса 2 ротора. Цилиндрические части 6, 7, 8 и 9 располагаются так, что зубцы 14 и 16 цилиндрических частей 6 и 8 магнитопровода левого статора смещены относительно зубцов 15 и 17 цилиндрических частей 7 и 9 магнитопровода правого статора на половину угловой ширины полюса 2 ротора.
На фиг.3 показано размещение в одной из крышек статора 5 пакетов 10 (11) из пластин, расположенных в радиальном направлении.
Двигатель работает следующим образом. Пусть сначала будет включена обмотка 12 левого на фиг.1 от ротора статора, в которой будет протекать ток условного положительного направления. Обмотка 13 правого статора будет выключена. Обмотка 12 будет создавать магнитный поток Ф, проходящий в осевом направлении через цилиндрическую часть 6, в радиальном направлении через пакеты 10 из пластин, в осевом направлении через цилиндрическую часть 8 и ее зубцы 16, воздушный зазор между зубцами 16 и полюсами 2 ротора, диск ротора 1 и снова через полюсы 2, воздушный зазор в зубцы 14 цилиндрической части 6. Зубцы 14 наружной цилиндрической части 6 будут иметь южную полярность, а зубцы 16 внутренней цилиндрической части 8 будут иметь северную полярность. При взаимодействии зубцов 14 и 16 с полюсами 2 ротора возникнет вращающий момент, который установит ротор так, чтобы магнитные поля ротора и левого статора были направлены согласно. То есть напротив зубцов 14 расположатся северные полюсы 2 ротора, а напротив зубцов 16 – южные полюсы 2.
Затем обмотка 12 выключается, а в обмотку 13 правого статора подается положительный ток, который создает аналогичный, уже рассмотренному, магнитный поток правого статора, проходящий через цилиндрическую часть 7, пакеты 11 из пластин, цилиндрическую часть 9, ротор и воздушные зазоры между ротором и правым статором. Зубцы 15 наружной цилиндрической части 7 будут иметь южную полярность, а зубцы 17 внутренней цилиндрической части 9 будут иметь северную полярность. Возникнет электромагнитный момент, который развернет ротор на угол, равный половине угловой ширины полюса 2 ротора, чтобы магнитные поля ротора и правого статора были направлены согласно. Северные полюсы 2 ротора расположатся напротив зубцов 15, а южные полюсы 2 – напротив зубцов 17.
После этого обмотка 13 выключается, а в обмотку 12 подается ток условного отрицательного направления. Теперь зубцы 14 наружной цилиндрической части 6 будут иметь северную полярность, а зубцы 16 внутренней цилиндрической части 8 будут иметь южную полярность. Под действием электромагнитного момента ротор развернется в том же направлении еще на угол, равный половине угловой ширины полюса 2 ротора.
Снова обмотка 12 выключается, а в обмотку 13 подается ток условного отрицательного направления. Зубцы 15 наружной цилиндрической части 7 будут иметь северную полярность, а зубцы 17 внутренней цилиндрической части 9 будут иметь южную полярность. Ротор снова развернется на угол, равный половине угловой ширины полюса 2 ротора.
После этого обмотка 13 выключается, а в обмотку 12 снова подается положительный ток, ротор вновь поворачивается на угол, равный половине угловой ширины полюса 2, и т. д.
Для изменения направления вращения ротора нужно изменить порядок переключения обмоток 12 и 13 двигателя на обратный.
При дискретном характере изменения токов в обмотках, как описано выше, двигатель будет работать, как шаговый. Если в обмотки двигателя подать синусоидальные токи, смещенные по фазе на четверть периода, то двигатель будет работать как двухфазный синхронный электродвигатель с плавным вращением вала. Если переключать обмотки по сигналам датчика положения ротора, то двигатель будет работать как бесконтактный двигатель постоянного тока (вентильный). Предлагаемую электрическую машину можно использовать также в качестве генератора для получения двухфазного или однофазного напряжения.
В предлагаемой конструкции двигателя фазы статора располагаются не на зубцах статора, как в прототипе, а в кольцевой полости, образованной цилиндрическими частями 6 и 8 (7 и 9) магнитопроводов статора. Очевидно, что изготовить двигатель с кольцевой обмоткой намного проще и дешевле, чем с обмоткой, расположенной в радиальных пазах статора. Процесс намотки кольцевой обмотки легко автоматизируется. При этом число зубцов статора и число пар полюсов ротора в предлагаемой конструкции двигателя может быть значительно увеличено по сравнению с прототипом, у которого обмотки размещаются на зубцах статора, что позволит повысить момент на валу двигателя.
Габариты и масса предлагаемого двигателя могут быть уменьшены при разделении фаз двигателя на секции. На фиг.4 показано осевое сечение двигателя, у которого каждая фаза состоит из двух секций: первая фаза – из секций 18 и 19, вторая фаза – из секций 20 и 21. Секции 18 и 19 (20 и 21) каждой фазы соединяются так, чтобы их намагничивающие силы имели противоположные знаки. (Если число секций в фазе больше двух, то их намагничивающие силы по знаку должны чередоваться.) Число навитых из ленты полых цилиндрических частей в каждом статоре должно быть на единицу больше числа секций, в данном случае – три. В состав статора, расположенного слева от ротора, входят цилиндрические части 22, 23 и 24, в состав правого статора – 25, 26 и 27. В радиальном направлении магнитные потоки проходят через пакеты 10 и 11 из пластин, такие же, как на фиг.1.
На фиг.5а показана обращенная к ротору торцевая поверхность левого на фиг.4 статора с разделенными на секции фазами, на фиг.5б – торцевая поверхность ротора, обращенная к левому статору, и на фиг.5в показана обращенная к ротору торцевая поверхность правого статора. Полярность полюсов 2 на торцевой поверхности ротора, обращенная к правому статору, противоположна полярности, показанной на фиг.5б. Каждая из цилиндрических частей 22, 23, 24, 25, 26 и 27 на торцах, обращенных к ротору, имеет зубцы: цилиндрическая часть 22 – зубцы 28, часть 23 – зубцы 29, 24 – 30, 25 – 31, 26 – 32, 27 – 33. Для наглядности пазы между зубцами 28, 29, 30, 31, 32 и 33 цилиндрических частей 22, 23, 24, 25, 26 и 27 на фиг.5а и 5в заштрихованы. Угловая ширина зубцов 28, 29, 30, 31, 32 и 33 примерно равна угловой ширине полюса 2 ротора. При этом в каждом статоре зубцы 28 и 30 (в правом статоре 32) четных цилиндрических частей 22 и 24 (26) и зубцы 29 (31 и 33) нечетных цилиндрических частей 23 (25 и 27) смещены относительно друз друга на угловую ширину полюса 2 ротора. Например, в левом статоре угловое положение зубцов 28 и 30 цилиндрических частей 22 и 24 совпадает, а зубцы 29 цилиндрической части 23 смещены на угол, равный угловой ширине полюса 2 ротора. В правом статоре совпадает угловое положение зубцов 31 и 33 цилиндрических частей 25 и 27, а зубцы 32 цилиндрической части 26 смещены на угол, равный угловой ширине полюса 2 ротора. Цилиндрические части 22, 23, 24 и 25, 26, 27 располагаются в статорах так, что зубцы 28, 29 и 30 цилиндрических частей 22, 23 и 24 левого статора смещены относительно зубцов 31, 32 и 33 цилиндрических частей 25, 26 и 27 правого статора на половину угловой ширины полюса 2 ротора.
Двигатель, изображенный на фиг.4, работает аналогично двигателю, приведенному на фиг.1. Пусть будет включена первая фаза, и в ее секциях 18 и 19 протекает ток условного положительного направления, а секции 20 и 21 второй фазы выключены. Как отмечено выше, намагничивающие силы секций фазы имеют противоположное направление, поэтому секции 18 и 19 первой фазы создают два радиально-осевых магнитных потока Ф1 и Ф2 различного направления, показанные на фиг.4. Один из магнитных потоков Ф1 будет проходить через цилиндрическую часть 22, пакеты 10 из пластин, цилиндрическую часть 23, зазоры между ротором и частями 22 и 23, полюсы 2 ротора и диск 1 ротора. Второй магнитный поток Ф2 будет проходить через цилиндрическую часть 24, пакеты 10 из пластин, цилиндрическую часть 23, зазоры между ротором и частями 23 и 24 и ротор. Зубцы 28 цилиндрической части 22 и зубцы 30 части 24, оси которых по углу совпадают, будут иметь южную полярность, а зубцы 29 цилиндрической части 23, смещенные на угол, равный угловой ширине полюса 2 ротора, будут иметь северную полярность. Под действием электромагнитного момента ротор развернется в такое положение, чтобы магнитные потоки левого статора и ротора были направлены согласно. Северные полюсы 2 ротора совпадут по углу с зубцами 28 цилиндрической части 22 и зубцами 30 цилиндрической части 24, а южные полюсы 2 ротора совпадут по углу с зубцами 29 цилиндрической части 23.
При выключении первой фазы статора и положительном токе во второй фазе секции 20 и 21 второй фазы создадут два радиально-осевых магнитных потока, аналогичных описанным выше и проходящих через цилиндрические части 25, 26 и 27, пакеты 11 из пластин, ротор и зазоры между ротором и частями 25, 26 и 27. При этом зубцы 31 цилиндрической части 25 и зубцы 33 цилиндрической части 27, оси которых по углу совпадают, будут иметь южную полярность, а зубцы 32 цилиндрической части 26, смещенные на угол, равный угловой ширине полюса 2 ротора, будут иметь северную полярность. Ротор под действием электромагнитного момента развернется на угол, равный половине угловой ширины полюса 2.
Затем вторая фаза выключается, и в секции 18 и 19 первой фазы подается ток условного отрицательного направления. Возникают магнитные потоки Ф1 и Ф2 противоположного направления по сравнению с показанными на фиг 4. Ротор двигателя вновь развернется на угол, равный половине угловой ширины полюса 2, и т. д.
По сравнению с двигателем, изображенным на фиг.1, в двигателе, показанном на фиг.4, магнитный поток каждой фазы разделен на число, равное числу секций фазы, в данном случае на два. Магнитный поток, проходящий через любое поперечное сечение пакетов 10 и 11 из пластин, уменьшается в два раза, и можно уменьшить в два раза сечение пакетов 10 и 11 из пластин. Значит, сечение пакетов 10 и 11 из пластин уменьшается в число раз, равное числу секций фаз. За счет этого уменьшаются масса и габариты двигателя.
Формула изобретения
1. Торцевой моментный электродвигатель, содержащий торцевой ротор с размещенными на нем постоянными магнитами и два статора с обмоткой, расположенных по обе стороны ротора, отличающийся тем, что магнитопровод каждого статора выполнен из полых цилиндрических частей разных диаметров и пакетов из пластин, расположенных в радиальном направлении и закрепленных в крышках электродвигателя, с которыми цилиндрические части каждого статора сопрягаются одними торцевыми поверхностями, а со стороны торцов, обращенных к ротору, цилиндрические части каждого магнитопровода имеют зубцы, при этом число зубцов на торце каждой цилиндрической части равно числу пар полюсов ротора, зубцы наружной и внутренней цилиндрических частей каждого статора смещены по углу относительно друг друга на угловую ширину полюса ротора, между цилиндрическими частями магнитопровода каждого статора размещена кольцевая обмотка одной из двух фаз, а зубцы цилиндрических частей магнитопроводов разных статоров смещены по углу относительно друг друга на половину угловой ширины полюса ротора.
2. Торцевой моментный электродвигатель по п.1, отличающийся тем, что в каждом статоре фаза разделена на кольцевые секции с чередующимися по знаку намагничивающими силами, кольцевые секции расположены между полыми цилиндрическими частями магнитопровода статора, число которых на единицу больше числа кольцевых секций фазы, при этом на обращенных к ротору торцевых поверхностях нечетных и четных цилиндрических частей каждого статора зубцы смещены по углу относительно друг друга на угловую ширину полюса ротора.
РИСУНКИ
|
|