|
|
(21), (22) Заявка: 2003126789/09, 01.09.2003
(24) Дата начала отсчета срока действия патента:
01.09.2003
(43) Дата публикации заявки: 10.03.2005
(45) Опубликовано: 10.07.2005
(56) Список документов, цитированных в отчете о поиске:
SU 1811639 A3, 23.04.1993. RU 2172050 C1, 10.08.2001. RU 2039404 C1, 09.07.1995. GB 2045012 A, 22.10.1980.
Адрес для переписки:
350044, г.Краснодар, ул. Калинина, 13, КГАУ, ПИО
|
(72) Автор(ы):
Стрижков И.Г. (RU), Усков А.Е. (RU)
(73) Патентообладатель(и):
Кубанский государственный аграрный университет (RU)
|
(54) ДИФФЕРЕНЦИАЛЬНЫЙ АППАРАТ
(57) Реферат:
Изобретение относится к электротехнике и может быть использовано в электрификации сельского хозяйства, в частности для обеспечения электробезопасности людей и животных. Технический результат заключается в обеспечении самотестирования магнитной системы с целью обнаружения к.з. контура и информирования об этом пользователя. Дифференциальный аппарат содержит основной дифференциальный датчик тока. Он состоит из тороидального магнитопровода со вторичной обмоткой. Через его окно проходят силовые проводники питающей сети, контакты, приводимые к срабатыванию приводом при достижении током вторичной обмотки заданной величины. Через окно магнитопровода дополнительного дифференциального датчика тока, имеющего две вторичные обмотки, проходят силовые проводники питающей сети. Последовательно с одной из его вторичных обмоток включено токоограничивающее сопротивление, подключенное к токоведущей части. К другой его обмотке подключено электромагнитное реле сигнализации состояния цепи дифференциального аппарата, при появлении короткозамкнутого контура оно отключается и своим контактом, не производя защитного отключения, включает сигнальное устройство о наличии неисправности. 1 ил.

Изобретение относится к области электрификации сельского хозяйства, в частности для обеспечения электробезопастности людей и животных.
Известен патент №2149476 “Модульный дифференциальный выключатель” – МПК Н 01 Н 83/14, 2000 г. Устройство содержит многополюсный выключатель, выбираемый из числа многополюсных выключателей, различающихся количеством полюсов, и имеющий соединительные зажимы, количество которых соответствует количеству полюсов, расположенных на боковой соединительной поверхности многополюсного выключателя, блок дифференциальной защиты, выбираемый из числа блоков дифференциальной защиты, различающихся количеством полюсов, и имеющий соединительные провода в количестве, соответствующем количеству полюсов, расположенные на жестком щитке.
В качестве прототипа принято устройство (Якобс А.И., Луковников А.В. Электробезопастность в сельском хозяйстве. – М.: Колос, 1981. – 239 с., на с.151-153), содержащее датчик тока утечки, представляющий собой трансформатор тока, коммутационное устройство в виде силовых контактов, реле-привод отключения силовых контактов, кнопку контроля исправности устройства, резистор ограничения искусственного тока утечки. Датчик тока утечки содержит тороидальный магнитопровод с обмоткой, выполняющей роль вторичной. Через “окно” магнитопровода проходят силовые проводники питающей сети как фазные, так и нулевой, выполняющие все вместе роль первичной обмотки трансформатора. При отсутствии тока утечки в цепи после места включения устройства сумма токов этих проводников равна нулю, т.е. первичный ток равен нулю и во вторичной обмотке ток отсутствует; при появлении тока утечки сумма токов фазных и нейтрального проводников равна току утечки, он отличается от нуля и во вторичной обмотке появляется ток. При достижении током утечки заданной величины вторичный ток вызывает защитное отключение устройства, т.е. размыкание силовых контактов приведением в действие привода.
Известное изобретение имеет недостаток, заключающийся в том, что в случае появления в его магнитопроводе короткозамкнутого электрического контура, последний выполняет роль размагничивающего элемента, увеличивая при этом ток срабатывания устройства, т.е. изменяет защитную характеристику по току утечки. Такой короткозамкнутый контур появляется при электрическом соединении РЕ и N проводников на участке цепи после включения дифференциального аппарата или в случае соединения одного или нескольких одноименных фазных проводников до и после места включения дифференциального аппарата в результате соответствующего повреждения изоляции или случайных и преднамеренных ошибок при монтаже электроустановки.
Техническим решением задачи является обеспечение самотестирования состояния его магнитной цепи с целью обнаружения появления короткозамкнутого контура и информирования об этом пользователя.
Поставленная задача достигается тем, что дифференциальный аппарат, содержащий дифференциальный датчик тока, состоящий из тороидального магнитопровода с обмоткой, выполняющей роль вторичной, силовые проводники питающей сети, проходящие через “окно” магнитопровода, коммутационное устройство и исполнительный орган привода коммутатора, а также снабжен дополнительным дифференциальным датчиком тока, через окно магнитопровода которого проходят силовые проводники питающей сети, имеющим две вторичные обмотки, последовательно с одной из которых включено токоограничивающее сопротивление, подключенное к токоведущей части, а к другой его обмотке подключено электромагнитное реле сигнализации состояния цепи дифференциального аппарата, которое при появлении короткозамкнутого контура отключается и своим контактом, не производя защитного отключения, включает сигнальное устройство о наличии неисправности.
Новизна этого предложения состоит в том, что в дифференциальном аппарате используется дополнительный дифференциальный датчик тока, который обеспечивает самотестирование состояния магнитной цепи аппарата с целью обнаружения появления короткозамкнутого контура и информирования об этом пользователя.
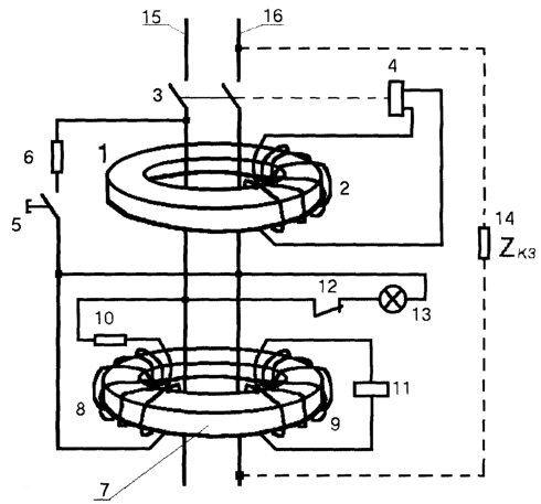
На чертеже представлена схема дифференциального аппарата.
Дифференциальный аппарат содержит датчик тока утечки, состоящий из магнитопровода 1, на котором расположена обмотка 2, коммутационное устройство в виде контактов 3, приводимое к срабатыванию приводом 4, кнопка ручного контроля исправности дифференциального аппарата 5 включена последовательно с резистором имитации тока утечки 6, на магнитопроводе дополнительного дифференциального датчика тока 7 расположены обмотки 8 и 9, резистор ограничения тока 10 включен последовательно с обмоткой 8, электромагнитное реле 11 сигнализации состояния магнитной цепи дифференциального аппарата, подключенного к обмотке 9, контакт реле 12 управляет индикатором состояния магнитной цепи 13 (световой, звуковой или иной), 14 – участок короткозамкнутой цепи с сопротивлением ZКЗ, силовые проводники питающей сети 15 и 16 проведены через “окна” магнитопроводов основного и дополнительного дифференциальных датчиков тока.
Принцип действия устройства состоит в следующем. При отсутствии короткозамкнутой цепи (ZКЗ ) на обмотку 8 подается напряжение и в обмотке 9 наводится вторичная ЭДС, реле 11 находится во включенном состоянии, контакт 12 разомкнут и сигнал неисправности отключен. Дифференциальный аппарат выполняет свои традиционные функции т.е. при отсутствии тока утечки в цепи после места включения устройства сумма токов этих проводников равна нулю, т.е. первичный ток равен нулю и во вторичной обмотке ток отсутствует; при появлении тока утечки сумма токов фазных и нейтрального проводников равна току утечки, он отличается от нуля и во вторичной обмотке появляется ток. При достижении током утечки заданной величины вторичный ток вызывает защитное отключение дифференциального аппарата, т.е. размыкание силовых контактов приведением в действие привода. При появлении короткозамкнутого контура (ZКЗ ) проявляется размагничивающее действие контура (короткозамкнутого витка на обоих магнитопроводах согласно закону Ленца), реле 11 отключается и контактом 12 включает сигнальное устройство. Защитное отключение не производится, но пользователь извещается о наличии неисправности дифференциального аппарата, вызвавшей потерю устройством своих функций защитного отключения при появлении тока утечки.
Формула изобретения
Дифференциальный аппарат, содержащий основной дифференциальный датчик тока, состоящий из тороидального магнитопровода со вторичной обмоткой, через окно которого проходят силовые проводники питающей сети, контакты, приводимые к срабатыванию приводом при достижении током вторичной обмотки заданной величины, отличающийся тем, что он снабжен дополнительным дифференциальным датчиком тока, через окно магнитопровода которого проходят силовые проводники питающей сети, имеющим две вторичные обмотки, последовательно с одной из которых включено токоограничивающее сопротивление, подключенное к токоведущей части, а к другой его вторичной обмотке подключено электромагнитное реле сигнализации состояния цепи дифференциального аппарата, которое при появлении короткозамкнутого контура отключается и своим контактом, не производя защитного отключения, включает сигнальное устройство о наличии неисправности.
РИСУНКИ
MM4A – Досрочное прекращение действия патента СССР или патента Российской Федерации на изобретение из-за неуплаты в установленный срок пошлины за поддержание патента в силе
Дата прекращения действия патента: 02.09.2005
Извещение опубликовано: 10.06.2007 БИ: 16/2007
|
|