|
|
(21), (22) Заявка: 2004110863/09, 06.04.2004
(24) Дата начала отсчета срока действия патента:
06.04.2004
(45) Опубликовано: 10.07.2005
(56) Список документов, цитированных в отчете о поиске:
ХОМИЧ В.И. Ферритовые антенны. М.: “Энергия”, 1969, с.45. SU 1681356 А1, 30.09.1991. SU 1569925 А1, 07.06.1990. DE 3309405 А, 27.09.1984. EP 1376759 А, 02.01.2004. US 3750180 А, 31.07.1973.
Адрес для переписки:
197046, Санкт-Петербург, ул. М. Посадская, 30, ФГУП ЦНИИ “Электроприбор”, Первому зам. директора В.М. Зиненко
|
(72) Автор(ы):
Бобков А.М. (RU)
(73) Патентообладатель(и):
Федеральное государственное унитарное предприятие Центральный научно-исследовательский институт “Электроприбор” (RU)
|
(54) ШИРОКОПОЛОСНАЯ ПРИЕМНАЯ ФЕРРИТОВАЯ АНТЕННА С КОМБИНИРОВАННЫМ СЕРДЕЧНИКОМ
(57) Реферат:
Изобретение относится к области широкополосных приемных магнитных антенн, содержащих ферритовый сердечник. Техническим результатом является повышение чувствительности магнитных антенн. Магнитная антенна содержит составной сердечник в виде стержня из ферритов с различной начальной магнитной проницаемостью с обмоткой поверх сердечника, имеющей количество витков W 2, выводы которой соединены со входом усилителя, или обмотку, состоящую из одного широкого витка, выводы которого соединены через повышающий трансформатор со входом усилителя, выход усилителя образует выход антенны. Ферритовый стержень выполнен из 3-х или более продольных слоев без зазоров между слоями, причем внутренний слой – из сплошного или составного феррита без зазоров или с зазорами между торцами не более 5 мм, имеющего высокую магнитную проницаемость, а крайние – из сплошного или составного феррита без торцевых зазоров, имеющего существенно более низкую ( в 5-15 раз) проницаемость. 1 з.п. ф-лы, 10 ил.

Устройство относится к радиоприемной технике и может быть использовано в области радиосвязи, радионавигации или радиопеленгации.
Широкополосные приемные магнитные антенны (МА) с ферритовыми сердечниками обладают рядом преимуществ перед антеннами электрического типа [См. Хомич В.И. Ферритовые антенны. Массовая радиобиблиотека, выпуск 721. – М.: Энергия, 1969. 96 с.; Вершков М.В. Расчет и проектирование судовых антенн радиосвязи. – Л.: Морской транспорт, 1963, 148 с.; Бобков A.M. Реальная избирательность радиоприемных трактов в сложной помеховой обстановке. – Санкт-Петербург, Абрис, 2001. – 216 с.]. В частности, благодаря ферритам, такие антенны имеют небольшие габариты, они менее восприимчивы к помехам от близлежащих источников помех, обеспечивают в KB диапазоне лучший прием крутопадающих волн коротких трасс вследствие отсутствия нуля диаграммы направленности в вертикальной плоскости и др. Данные антенны используются в основном для целей навигации и пеленгации, но в области радиосвязи они до сих пор не получили широкого распространения из-за трудности получения достаточно высокой чувствительности в широкой полосе частот. Низкая чувствительность МА связана в первую очередь с очень малой действующей высотой рамки с ферритом hдр, которая равна

где Sp – площадь рамки;
д – действующая магнитная проницаемость ферритового сердечника;
– длина волны;
W – количество витков рамки.
Величина hдp изменяется по диапазону с изменением частоты (длины волны) и минимальна на самой низкой частоте рабочего диапазона. При реальных размерах рамки в низкочастотной части KB диапазона hдp составляет обычно всего несколько миллиметров. Увеличение количества витков W повышает hдp, но приводит к росту индуктивности рамки и снижению чувствительности на верхней рабочей частоте МА. Применение ферритовых сердечников с высокой магнитной проницаемостью позволяет заметно улучшить чувствительность МА на низких частотах, однако, из-за существенного ухудшения электрических свойств таких ферритов на высоких частотах чувствительность МАА снижается, причем в основном из-за уменьшения магнитной проницаемости и резкого роста потерь в ферритах.
Задача, на решение которой направлено настоящее изобретение, – повышение чувствительности широкополосных магнитных антенн с ферритовым сердечником.
Известна ферритовая МА [см. Хомич В.И. Ферритовые антенны. Массовая радиобиблиотека, выпуск 721. – М.: Энергия, 1969. 96 с.; Вершков М.В. Расчет и проектирование судовых антенн радиосвязи. – Л.: Морской транспорт, 1963, 148 с.], в которой для повышения чувствительности используются несколько разнесенных по пространству одинаковых рамок с ферритовыми сердечниками, которые соединяются, например, последовательно. Благодаря сложению наведенных в рамках ЭДС сигналов, происходит пропорциональное увеличение hдp и улучшение чувствительности на низких частотах. Однако с увеличением количества рамок пропорционально растут габариты антенны и увеличивается ее собственная индуктивность, которая приводит к снижению ее широкополосности.
В антенне по заявке ФРГ №OS 3109391, МКИ H 01 Q 23/00, H 01 Q 7/08 (США №4439771) для повышения широкополосности МА предлагается к рамочной (или ферритовой) антенне подключать неинвертирующий усилитель с коэффициентом усиления +2, а в цепь обратной связи включать вторую такую же антенну. В результате в первую (основную) антенну вносится импеданс, равный по модулю ее импедансу, но противоположный по знаку (отрицательный импеданс). Происходит компенсация импеданса основной антенны и устранение ее резонансных свойств. Основным недостатком такой антенны является неустойчивость работы и склонность к самовозбуждению при воздействии внешних дестабилизирующих факторов.
Наиболее близким по своей технической сущности устройством (прототипом) является ферритовая МА [см. Хомич В.И. Ферритовые антенны. Массовая радиобиблиотека, выпуск 721. – М.: Энергия, 1969, стр.45], содержащая составной ферритовый сердечник с обмоткой из W витков 1, см. фиг.1 настоящего патента (или обмотку из одного витка и повышающего трансформатора с коэффициентом трансформации 1:W) и усилителя 2, выход которого образует выход антенны, причем сердечник выполнен в виде состыкованных торцами отрезков стержней из ферритов с различной начальной магнитной проницаемостью: в центре длины сердечника, в месте расположения обмотки, – из феррита с низкой проницаемостью 3, а на концах – с высокой проницаемостью 4 (гетерогенный сердечник). Благодаря ферриту с высокой проницаемостью такой сердечник лучше концентрирует магнитное поле внутри обмотки на нижних частотах диапазона, улучшая чувствительность МА в этой части диапазона за счет увеличения ее действующей высоты. Недостатком такой МА является ухудшение чувствительности на средних частотах вследствие повышенных шумов МА, вызванных существенными потерями в крайних ферритах с высокой проницаемостью.
Для повышения чувствительности широкополосной МА предлагается ферритовый стержень выполнять из 3-х или более продольных слоев, причем внутренний слой – из сплошного или составного феррита без зазоров или с зазорами между торцами не более 5 мм, имеющего высокую магнитную проницаемость, а крайние – из сплошного (целикового) или составного феррита без торцевых зазоров, имеющего существенно более низкую (5-15 раз) проницаемость. Вариант МА с обмоткой на ферритовом сердечнике представлен на фиг.2, а с одним витком и повышающим трансформатором – на фиг.3.
На фигурах обозначены:
1 – обмотка на ферритовом сердечнике;
2 – усилитель;
3 – ферритовый слой с низкой магнитной проницаемостью;
4 – ферритовый слой с высокой магнитной проницаемостью;
5 – повышающий трансформатор;
6 – магнитные силовые линии;
7 – сумматор;
8а, 8b – выходы МА;
I0, I3, I4 – вихревые токи.
Применение комбинации из ферритов с низкой и высокой проницаемостью позволяет, как и в прототипе, улучшить чувствительность МА на низких частотах, но благодаря предлагаемому многослойному выполнению сердечника достигается дополнительно существенное снижение в нем потерь сигнала на средних частотах диапазона и улучшение чувствительности МА. Снижение потерь можно объяснить следующим образом.
Известно [см. Хомич В.И. Ферритовые антенны. Массовая радиобиблиотека, выпуск 721. – М.: Энергия, 1969; патент США №6014111], что при малом уровне сигналов, а это характерно для приемных антенн, главным источником потерь в ферритах являются вихревые токи, которые протекают в основном по поверхности ферритового сердечника. На фиг.4 в качестве примера приведено сечение трехслойного ферритового сердечника с указанием направления силовых линий магнитного поля 6, проходящих внутри каждого из слоев сердечника (3 и 4), и порождаемых этим полем вихревых токов: I3 – в феррите с низкой проницаемостью и I4 – с высокой проницаемостью. На низких частотах магнитные силовые линии будут сосредоточены в основном внутри феррита с высокой проницаемостью, вследствие чего потери в сердечнике будут определяться вихревым током I4, проходящим по поверхности среднего слоя.
Если бы крайних слоев не было, то с повышением частоты одновременно с понижением магнитной проницаемости происходило бы увеличение потерь в феррите и ухудшение чувствительности МА. На фиг.5 приведены экспериментальные зависимости от частоты сопротивления потерь в ферритовых стержнях длиной 600 мм Rф(F) для некоторых марок ферритов, а на фиг.6 – тангенса угла потерь tg (F). На фиг.5 дополнительно нанесена прямая приведенного в рамку через повышающий трансформатор (или обмотку) сопротивления шумов усилителя R’шус. В точках пересечения кривых Rф с R’шус уровень шумов, обусловленный потерями в феррите равен уровню шумов усилителя. На частотах ниже этой точки Rфшус и шумы МА определяются усилителем, а выше – потерями в феррите. Чем выше проницаемость феррита, тем выше чувствительность МА на нижней рабочей частоте, но, как видно из графиков, влияние потерь в ферритах на чувствительность будет сказываться, начиная со все более низких частот, и именно они будут определять чувствительность тракта на средних частотах рабочего диапазона. Так при феррите марки М2000НМ1 это ухудшение будет начинаться уже с 4 МГц.’
При наличии крайних слоев образуемые в них вихревые токи I3 в плоскостях АВ и CD будут направлены навстречу вихревым токам среднего слоя I4 (см. фиг.4) и на низких частотах токи I3 будут частично компенсировать I4, оставаясь существенно меньше I4. С увеличением частоты оба этих тока начнут расти, но из-за снижения магнитной проницаемости феррита среднего слоя Мu рост тока I4 будет существенно замедляться, в результате чего эти токи начнут выравниваться по величине. На частоте, соответствующей равенству проницаемостей ферритов внутреннего и внешнего слоев, при одинаковых сечениях слоев, эти токи станут равными, что приведет к практически полной их взаимной компенсации в плоскости между слоями АВ и CD. Основные потери на этой частоте будут обусловлены вихревым током I0, протекающим по поверхности (периметру) всего сердечника. Ввиду того, что этот ток течет в основном по поверхности феррита с малой проницаемостью (за исключением коротких отрезков АС и BD, фиг.4) потери в сердечнике на этой частоте будут минимальными. На более высоких частотах потери начнут расти, но уже в основном за счет потерь в феррите с малой проницаемостью (токов I3).
На фиг.7 приведены экспериментальные зависимости от частоты начальной магнитной проницаемости Мu ферритов марок 2000НМ1 и 200ВНП. Равенство проницаемостей имеет место на частоте порядка 13 МГц. На этой же частоте наблюдается и минимум потерь в трехслойном сердечнике, составленном из этих же ферритов (см. кривую “200+2000+200” на фиг.6), причем значение тангенса угла потерь почти на порядок ниже его значения для одиночного стержня из феррита 2000НМ1. Таким образом, за счет предлагаемого многослойного выполнения ферритового сердечника достигается положительный эффект, заключающийся в существенном (достигающем порядка) снижении потерь в ферритовом сердечнике на средних частотах диапазона при использовании в нем комбинации из ферритов с высокой и низкой магнитной проницаемостью.
Небольшие торцевые зазоры между составными элементами высокопроницаемого феррита в среднем слое позволяют дополнительно уменьшить потери без заметного уменьшения действующей магнитной проницаемости всего ферритового сердечника д (1). Данный эффект подтверждается экспериментальными данными по тангенсу угла потерь, приведенными на фиг.8 для комбинации ферритов марок 2000НМ1 и 200ВНП.
До сих пор в качестве примера рассматривалась прямоугольная форма сечения сердечника, состоящего из 3-х слоев, хотя она и не является оптимальной. На фиг.9 приведен вариант сечения, более близкий к оптимальному, в котором внешние слои выполнены из полукруглого феррита. Сердечник может состоять из большего количества слоев, главное, чтобы внешние слои были выполнены из феррита с низкой проницаемостью.
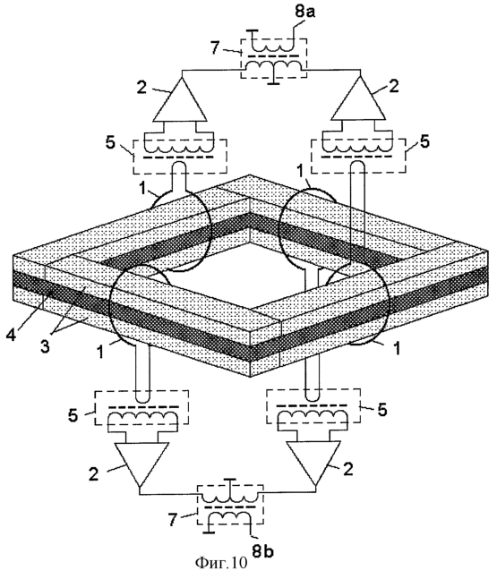
МА с одним ферритовым стержнем используется на практике редко, поскольку такая МА обладает диаграммой направленности в горизонтальной плоскости в виде “восьмерки” с двумя минимумами. Чаще используется вариант МА с двумя ортогонально расположенными стержнями, позволяющий исключить эти минимумы и получить круговую диаграмму направленности. В этом плане МА с ферритовым сердечником в виде рамки обеспечивает наилучшие электрические параметры при минимальных массогабаритных показателях. Применительно к такой реализации заявляемой МА предлагается ферритовый сердечник составлять из 4-х многослойных ферритовых стержней в виде рамки с взаимным перекрытием слоев в ее углах. Пример предлагаемого исполнения МА с таким сердечником представлен на фиг.10.
МА состоит из 4-х рассмотренных ранее одиночных МА, две из которых образуют первый канал приема с выходом 8а, а две другие – второй канал приема с выходом 8b, диаграмма направленности которого ортогональна первому каналу. Поскольку к концам каждого стержня оказываются плотно пристыкованными концы ортогональных стержней, действующая магнитная проницаемость каждого ферритового сердечника увеличивается (до 20-30%), способствуя улучшению чувствительности. Благодаря сложению в сумматорах 7 сигналов, принятых двумя одиночными МА с сердечниками в противоположных сторонах рамки, чувствительность канала приема относительно одиночной МА дополнительно улучшается до раз. В качестве сумматоров могут быть использованы трансформаторы.
Благодаря уменьшению потерь в ферритовых сердечниках, предложенная широкополосная МА имеет более высокую чувствительность и обеспечивает более высокое качество приема по сравнению с известными МА, особенно в сложной помеховой обстановке, складывающейся в районе больших городов или на подвижных объектах связи, например, на морских судах.
ЛИТЕРАТУРА
1. Хомич В.И. Ферритовые антенны. Массовая радиобиблиотека, выпуск 721 – М.: Энергия, 1969. 96 с.
2. Вершков М.В. Расчет и проектирование судовых антенн радиосвязи. – Л.: Морской транспорт, 1963, 148 с.
3. Бобков A.M. Реальная избирательность радиоприемных трактов в сложной помеховой обстановке. – Санкт-Петербург, Абрис, 2001. – 216 с.
5. Авт. свид. СССР №253177, МКИ H 01 Q 11/12, 1973.
8. Заявка ФРГ №OS 3209345, МКИ H 01 Q 7/00, 1982.
9. Заявка ФРГ №OS 3109391, МКИ H 01 Q 23/00, H 01 Q 7/08 (США №4439771).
10. Преображенский А.А. Магнитные материалы и элементы. Изд. 2-е и доп. – М.: Высшая школа, 1976. – 336 с.
11. Патент США №6014111, МКИ H 01 Q 007/08, 1997.
Формула изобретения
1. Широкополосная приемная ферритовая антенна с комбинированным сердечником, содержащая составной сердечник в виде стержня из ферритов с различной начальной магнитной проницаемостью с обмоткой поверх сердечника, имеющей количество витков W 2, выводы которой соединены со входом усилителя, или обмотку, состоящую из одного широкого витка, выводы которого соединены через повышающий трансформатор со входом усилителя, а выход усилителя образует выход антенны, отличающаяся тем, что ферритовый стержень выполнен из 3 или более продольных слоев, причем внутренний слой – из сплошного или составного феррита без зазоров или с зазорами между торцами не более 5 мм, имеющего высокую магнитную проницаемость, а крайние – из сплошного или составного феррита без торцевых зазоров, имеющего существенно более низкую (5-15 раз) проницаемость.
2. Антенна по п.1, отличающаяся тем, что она содержит четыре одиночные антенны, сердечники которых объединены в рамку с взаимно-перекрывающимися слоями в углах.
РИСУНКИ
Изменения:
Зарегистрирован переход исключительного права без заключения договора Дата и номер государственной регистрации перехода исключительного права: 08.02.2010/РП0000532 Патентообладатель: Открытое акционерное общество «Концерн “Центральный научно-исследовательский институт «Электроприбор» Прежний патентообладатель: Федеральное государственное унитарное предприятие “Центральный научно-исследовательский институт “Электроприбор”
Номер и год публикации бюллетеня: 19-2005
Извещение опубликовано: 27.04.2010 БИ: 12/2010
|
|