|
|
(21), (22) Заявка: 2003126963/09, 03.09.2003
(24) Дата начала отсчета срока действия патента:
03.09.2003
(43) Дата публикации заявки: 27.02.2005
(45) Опубликовано: 10.07.2005
(56) Список документов, цитированных в отчете о поиске:
ДЕМИДОВ В.В. и др. Печатно-полосковые вибраторные фазированные антенные решетки L- и S-диапазонов. “Антенны”, 2001, в. 9(55), с.4-7, рис.2а и 6а. RU 2076396 С1, 27.03.1997. US 4197545 A, 08.04.1980. GB 1387450, 19.03.1975. WO 9715093, 24.04.1997.
Адрес для переписки:
603950, г.Нижний Новгород, ул. Шапошникова, 5, ФГУП “Нижегородский научно-исследовательский институт радиотехники”
|
(72) Автор(ы):
Панфилов В.И. (RU), Шабалин А.В. (RU)
(73) Патентообладатель(и):
Федеральное государственное унитарное предприятие “Нижегородский научно-исследовательский институт радиотехники” (RU)
|
(54) МНОГОЭЛЕМЕНТНАЯ ПОЛОСКОВАЯ СВЧ-АНТЕННА
(57) Реферат:
Изобретение относится к многоэлементным полосковым СВЧ-антеннам. Техническим результатом является улучшение массогабаритных характеристик, технологичность изготовления. Сущность изобретения заключается в следующем. Предлагаемая СВЧ-антенна содержит упорядоченно размещенные перпендикулярно к плоскости общего пассивного отражателя симметричные полосковые вибраторы, плечи которых запитаны в противофазе симметричными полосковыми линиями, снабженными симметрирующе-согласующими устройствами. Симметричные полосковые вибраторы выполнены в виде сборных трехслойных конструкций. Плечи вибраторов представляют собой две крайние одноименные и одну центральную, с противоположной ориентацией в плоскости решетки по отношению к крайним, полоски, переходящие в расположенные над общим пассивным отражателем и соединяющиеся под углом 90° к продольной оси плеч вибратора с торцами указанных полосок полосковые отрезки. Полосковый отрезок, соединяющийся с плечом вибратора, являющимся центральной полоской, имеет линейный скос с сужением ширины в сторону плеча на одну треть на расстоянии, составляющем четверть средней длины волны рабочего диапазона, и настроечную выемку в месте соединения полоскового отрезка с торцом центральной полоски в пределах полуширины полоски. 1 з.п. ф-лы, 5 ил., 1 табл.

Изобретение относится к антенной технике, в частности к многоэлементным полосковым СВЧ-антеннам, и может быть использовано в качестве фазированных антенных решеток, как самостоятельных, так и в составе сложных приемопередающих систем.
Известны многоэлементные СВЧ-антенны, содержащие упорядоченно размещенные в соответствии с геометрией треугольной или прямоугольной сетки фазированной антенной решетки волноводные излучатели, запитанные с помощью коаксиальной линии через переходное устройство, расположенное на полуволновом расстоянии от высокочастотного соединителя в месте подключения питающей линии (см. книгу Воскресенского Д.И. и др. Антенны и устройства СВЧ (Проектирование фазированных антенных решеток). М.: Радио и связь, 1981, с.34-36, рис.215).
Несмотря на высокие характеристики уровня пропускаемой мощности и технологичности при проектировании эти антенны уступают по габаритам и массе многоэлементным полосковым антеннам с вибраторными излучателями. Не лишены этого недостатка и многоэлементные СВЧ-антенны, в которых элементы решетки – комбинированные, сочетающие волноводные излучатели и вибраторы (см. Справочник по радиолокации под ред. Сколника. М.: Советское радио, 1977, т.2, с.193-195, рис.46).
Наиболее близкой заявляемой по технической сущности, т.е. прототипом является многоэлементная полосковая СВЧ-антенна, содержащая упорядоченно размещенные на одной плоскости фазированной антенной решетки перпендикулярно к плоскости общего пассивного отражателя полуволновые симметричные печатно-полосковые вибраторы, плечи которых запитаны в противофазе симметричными полосковыми линиями, имеющими удвоенное волновое сопротивление по отношению к волновому сопротивлению входной полосковой линии и отличающимися друг от друга по длине на половину длины волны в полосковой линии, т.е. наличием полуволнового колена (см. статью Демидова В.В. и др. Печатно-полосковые вибраторные фазированные антенные решетки L- и S-диапазонов – Антенны. 2001, в.9 (55) с.4-7 рис.2а и 6а).
По сравнению с волноводными антенными решетками печатные антенные решетки менее громоздки по конструкции и имеют меньший вес, однако сохраняют резерв снижения массогабаритных характеристик антенны, что подтверждает выбранный прототип, имеющий конструктивное решение согласования вибраторов с питающими полосковыми линиями в виде полуволнового колена, требующего дополнительного выделения материала и размера в направлении, перпендикулярном плоскости общего пассивного отражателя.
В качестве прототипа заявляемого способа изготовления предлагаемой многоэлементной полосковой СВЧ-антенны с улучшенными массогабаритными характеристиками из металлических пластин или методом печатной технологии можно сослаться на формирование антенны из тонкой металлической пластины, расположенной на одной стороне диэлектрической подложки с прилеганием к ее другой стороне экрана (см. книгу Бовы Н.Т. и Резникова Г.Б. Антенны и устройства СВЧ. Киев, “Вища школа”, 1982, с.236), и на технологию производства полосковых антенных решеток из большеразмерных печатных плат с высокой степенью интеграции устройств антенной решетки (см. упомянутую в качестве источника информации, содержащего сведения о прототипе заявляемой антенны, статью Демидова В.В. и др. Печатно-полосковые вибраторные фазированные антенные решетки, L- и S – диапазонов. – Антенны. 2001, в.9 (55), с.3-4, 6-7, рис.6а).
Эти традиционные для пластинчатых и печатно-полосковых антенн способы их изготовления менее технологичны и производительны, чем изготовление подобных антенн, в частности предлагаемой антенны, по групповой технологии, что обусловлено различием конструктивного выполнения антенн.
Технический результат предлагаемого изобретения – улучшение массогабаритных характеристик однополяризационной широкополосной СВЧ-антенны, а также технологичности ее изготовления, модернизируемости ее конструктивного исполнения за счет расширения возможности подбора материала полосковых и диэлектрических слоев вибраторов, и ремонтоспособности антенны.
Указанный технический результат достигается тем, что в многоэлементной полосковой СВЧ-антенне, содержащей упорядоченно размещенные на одной линии или плоскости в соответствии со схемой, например, линейной или плоской фазированной антенной решетки, перпендикулярно к плоскости общего пассивного отражателя симметричные полосковые вибраторы, плечи которых запитаны в противофазе симметричными полосковыми линиями, снабженными симметрирующе-согласующими устройствами, симметричные полосковые вибраторы выполнены в виде сборных трехслойных с чередованием полосковых и диэлектрических слоев конструкций, плечи вибраторов в которых представляют собой две крайние одноименные и одну центральную с противоположной ориентацией в плоскости решетки по отношению к крайним полоски, переходящие в расположенные над общим пассивным отражателем и соединяющиеся под углом 90° к продольной оси плеча вибратора с торцами указанных полосок полосковые отрезки, образующие симметричную полосковую линию на участке возбуждения плеч вибратора, при этом полосковый отрезок, соединяющийся с плечом вибратора, являющимся центральной полоской, имеет линейный скос с сужением ширины в сторону плеча на одну треть на расстоянии, составляющим четверть средней длины волны рабочего диапазона, и настроечную выемку в месте соединения полоскового отрезка с торцом центральной полоски в пределах полуширины полоски, а возбуждение вибраторов симметричной полосковой линией осуществлению через высокочастотные соединители, установленные на металлической стойке на уровне общего пассивного отражателя.
Вибраторы антенны могут быть выполнены из металлических пластин или печатными.
Конструктивные особенности предлагаемой антенны, в частности конструктивное решение согласования плеч вибратора с симметричной полосковой линией возбуждения в сочетании с трехслойностью конструкции вибратора и размещения высокочастотных соединителей с линией питания на металлической стойке на уровне общего отражателя, обеспечивают уменьшение размера антенны в направлении, перпендикулярном к плоскости общего отражателя и, соответственно, ее массы (см. фиг.3а-б), и появление у антенны дополнительных возможностей изготовления элементов вибраторов по групповой технологии и варьирования с материалом полосковых и диэлектрических слоев вибраторов, а также замены вышедших из строя отдельных вибраторов.
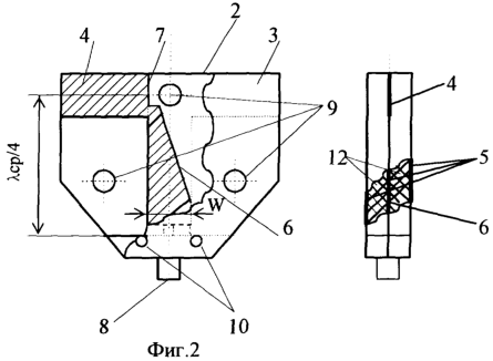
На фиг.1 изображена схема размещения над общим пассивным отражателем симметричных полосковых вибраторов плоской фазированной антенной решетки с прямоугольной сеткой, вид сверху; на фиг.2 – конструкция сборного трехслойного вибратора заявляемой антенны с участком возбуждения вибратора симметричной полосковой линией; на фиг.3 – сравнительная схема взаимного расположения вибратора и полоскового участка его возбуждения относительно плоскости общего пассивного отражателя в конструкции антенны-прототипа (а) и заявляемой антенны (б); на фиг.4 – изготавливаемые по групповой технологии однотипные элементы сборного трехслойного вибратора заявляемой антенны; на фиг.5 – зависимость, характеризующая уровень согласования в полосе частот вибратора заявляемой антенны.
Многоэлементная полосковая СВЧ-антенна содержит размещенные в прямоугольной сетке фазированной антенной решетки на фиксированном расстоянии друг от друга dх и dy (в настоящем варианте выполнения эти величины равны) и на малой высоте над плоскостью общего пассивного отражателя 1 перпендикулярно к ней симметричные полосковые вибраторы 2 (см. фиг.1), выполненные в виде сборных трехслойных с чередованием полосковых и диэлектрических слоев конструкций, плечи вибраторов в которых представляют собой две крайние 3 одноименные и одну центральную 4 с противоположной ориентацией в плоскости решетки по отношению к крайним 3 полоски (см. фиг.2 и 4), переходящие в расположенные над общим пассивным отражателем 1 (см. фиг.3) и соединяющиеся под углом 90° к продольной оси плеча вибратора 2 с торцами указанных полосок 3 и 4 – плеч вибратора 2 полосковые отрезки, образующие симметричную полосковую линию на участке возбуждения 5 плеч вибратора 2, при этом полосковый отрезок, соединяющийся с плечом вибратора 2, являющимся центральной полоской 4, имеет линейный скос 6 с сужением ширины W в сторону плеча на одну треть на расстоянии, составляющем четверть средней длины волны ср рабочего диапазона, и настроечную выемку 7 в месте соединения полоскового отрезка с торцом центральной полоски 4 – плеча вибратора 2 в пределах полуширины полоски 4, а возбуждение вибратора 2 симметричной трехпроводной линией осуществлено через высокочастотный соединитель 8, установленный на металлической стойке (не показана) на уровне общего пассивного отражателя 1.
Многоэлементная полосковая СВЧ-антенна работает в режиме фазированной антенной решетки, обеспечивающей однополярное излучение полуволновых вибраторов 2 в широкой полосе частот, в частности в L-диапазоне, с качанием луча антенны в двух ортогональных плоскостях в секторе углов ±45°.
При этом вибраторы 2 могут быть выполнены металлическими или печатными, например, на стеклотекстолитовой основе (на фиг.4 показан печатный вариант выполнения вибраторов заявляемой антенны), а изготовление антенны в обоих случаях включает формирование вибраторов по групповой технологии отдельно по различным видам а, б, в (см. фиг.4) однотипных элементов сборного вибратора 2 с полосковыми отрезками, образующими участок возбуждения 5 линии питания, и сборку вибраторов 2 из указанных элементов, содержащих фиксационные 9 и крепежные 10 отверстия с поворотом указанного на фиг.4 элемента “в” на 180° с ориентацией его полоскового слоя в сторону центрального элемента “б”, с двухсторонним симметричным полосковым исполнением: по обе стороны от диэлектрической подложки 11 – несущей печатно-платной основы вибратора 2 с диэлектрическим заполнителем 12 между печатно-полосковыми элементами “а”, “б” и “ в”.
Требуемые рабочие характеристики заявляемой антенны подтверждены результатами испытаний при макетировании фрагментов антенны в количестве одного, двух и двадцати пяти вибраторов 2 в печатном выполнении с воздушным в первых двух примерах макетирования и пенопластовым заполнителем 12 в третьем примере макетирования и с возбуждением вибраторов 2 полосковой линией питания с волновым сопротивлением 50 Ом.
При этом приемлемые условия согласования вибратора 2 с линией питания (первый пример макетирования) подтверждены полученными величинами коэффициента стоячей волны ксв в полосе частот f, представленными на графике (см. фиг.5, где частота f выражена в относительных процентно-нормированных единицах).
Во втором примере макетирования (решетка из двух вибраторов 2) при уровне ксв – 1,3 и 1,08 f составила, соответственно. 19 и 16%, ширина диаграммы направленности решетки в плоскости Е составила 49,2° при уровне боковых лепестков 25,8 Дб.
В третьем примере макетирования (решетка из двадцати пяти вибраторов 2 – по пять в пяти линейках) рабочие характеристики, подтверждающие работоспособность антенны, были получены при качании луча на углы 15, 30, 45° в плоскости линеек (см. таблицу).
| Таблица. |
| Условия измерения согласования |
Ксв в точках диапазона f=10% |
Примечание |
| f1 |
fср |
f2 |
| Нормальное положение луча |
1,41 |
1,21 |
1,44 |
– |
| Угол качания луча (в плоскости Е) |
15° |
1,38 |
1,2 |
1,3 |
Выброс 1,44 |
| 30° |
1,46 |
1,3 |
1,27 |
Выброс 1,66 |
| 45° |
1,72 |
1,8 |
1,98 |
Осцилляция 1,5-2,2 |
В настоящее время заявителем проводятся работы по проектированию активной фазированной решетки на основе заявляемой антенны с 1824-мя вибраторами с развязанной схемой питания последовательно-параллельного типа с одинаковыми длинами путей до каждого вибратора.
В этой антенне уменьшение габаритов вдоль оси симметрии вибраторов равно – 30% по сравнению с антенной-прототипом (см. фиг.3) в результате конструктивного выполнения устройства согласования вибратора заявляемой антенны, приводящего к уменьшению длины полоскового участка возбуждения – Lвозб.
В изготовлении такая антенна более технологична за счет группового формирования однотипных элементов сборных вибраторов и замены неисправных вибраторов во время монтажа антенны и ее эксплуатации. Кроме того, антенна характеризуется дополнительной возможностью модернизации в результате оптимизации сочетания веса и материала полосковых и диэлектрических слоев вибратора.
Формула изобретения
1. Многоэлементная полосковая СВЧ-антенна, содержащая упорядоченно размещенные на одной линии или плоскости в соответствии со схемой, например, линейной или плоской фазированной антенной решетки, перпендикулярно к плоскости общего пассивного отражателя симметричные полосковые вибраторы, плечи которых запитаны в противофазе симметричными полосковыми линиями, снабженными симметрирующе-согласующими устройствами, отличающаяся тем, что симметричные полосковые вибраторы выполнены в виде сборных трехслойных с чередованием полосковых и диэлектрических слоев конструкций, плечи вибраторов в которых представляют собой две крайние одноименные и одну центральную с противоположной ориентацией в плоскости решетки по отношению к крайним полоски, переходящие в расположенные над общим пассивным отражателем и соединяющиеся под углом 90° к продольной оси плеч вибратора с торцами указанных полосок полосковые отрезки, образующие симметричную полосковую линию на участке возбуждения плеч вибратора, при этом полосковый отрезок, соединяющийся с плечом вибратора, являющимся центральной полоской, имеет линейный скос с сужением ширины в сторону плеча на одну треть на расстоянии, составляющем четверть средней длины волны рабочего диапазона, и настроечную выемку в месте соединения полоскового отрезка с торцом центральной полоски в пределах полуширины этой полоски, а возбуждение вибраторов симметричной трехпроводной полосковой линией осуществлено через высокочастотные соединители, установленные на металлической стойке на уровне общего пассивного отражателя.
2. Антенна по п.1, отличающаяся тем, что вибраторы выполнены из металлических пластин или печатными.
РИСУНКИ
MM4A – Досрочное прекращение действия патента СССР или патента Российской Федерации на изобретение из-за неуплаты в установленный срок пошлины за поддержание патента в силе
Дата прекращения действия патента: 04.09.2006
Извещение опубликовано: 27.06.2007 БИ: 18/2007
NF4A Восстановление действия патента СССР или патента Российской Федерации на изобретение
Дата, с которой действие патента восстановлено: 10.07.2007
Извещение опубликовано: 10.07.2007 БИ: 19/2007
PD4A – Изменение наименования обладателя патента Российской Федерации на изобретение
(73) Новое наименование патентообладателя:
Открытое акционерное общество «Федеральный научно-производственный центр «Нижегородский научно-исследовательский институт радиотехники» (RU)
Адрес для переписки:
603950, г. Нижний Новгород, ул. Шапошникова, д. 5, ОАО «ФНПЦ «ННИИРТ»
Извещение опубликовано: 10.09.2009 БИ: 25/2009
|
|