|
|
(21), (22) Заявка: 2003129083/09, 29.09.2003
(24) Дата начала отсчета срока действия патента:
29.09.2003
(45) Опубликовано: 10.07.2005
(56) Список документов, цитированных в отчете о поиске:
ЧЕРНУШЕНКО А.М. и др. Конструирование экранов и СВЧ устройств. М.: “Радио и связь”, 1990, с.136. SU 318105 А1, 19.10.1971. US 3161840 А, 15.12.1964. EP 0779672 А1, 18.06.1997. US 2800632 А, 23.07.1957. US 3731235 А, 01.05.1973.
Адрес для переписки:
191124, Санкт-Петербург, пл. Растрелли, 2, ОАО “РИРВ”, Генеральному директору С.Б. Писареву
|
(72) Автор(ы):
Улинский В.Н. (RU), Харчев О.П. (RU), Москаленко А.А. (RU), Румянцев С.Ю. (RU), Тулин К.В. (RU)
(73) Патентообладатель(и):
Открытое акционерное общество “Российский институт радионавигации и времени” (RU)
|
(54) РЕЗОНАНСНЫЙ СВЧ БЛОК
(57) Реферат:
Изобретение относится к СВЧ технике и может быть использовано в конструкциях резонансных СВЧ блоков на основе цилиндрических резонаторов с Н111 типом колебаний, сопрягаемых с прямоугольными волноводами, в частности, сантиметрового диапазона длин волн в атомно-лучевых стандартах частоты. Достигаемый технический результат – обеспечение плавности настройки резонансной частоты и простота сопряжения с внешними прямоугольными волноводами. Резонансный СВЧ блок содержит корпус с замкнутой с двух сторон торцевыми стенками цилиндрической полостью, образующей полость резонатора с Н111 типом колебаний, с двумя элементами связи с внешними СВЧ цепями. Элементы связи с внешними СВЧ цепями выполнены в виде щелевидных отверстий связи. Отверстия связи расположены на противоположных плоских боковых сторонах корпуса, параллельных друг другу и продольной оси полости резонатора и предназначенных для присоединения внешних прямоугольных волноводов. Продольные оси отверстий связи лежат в первой плоскости, проходящей через продольную ось полости резонатора перпендикулярно этим боковым сторонам, а их центры – на пересечении указанной первой плоскости с второй плоскостью, совпадающей с плоскостью поперечной симметрии полости резонатора. По крайней мере в одной из торцевых стенок параллельно продольной оси полости резонатора размещен по меньшей мере один настроечный электропроводящий стержень, служащий для изменения объема полости резонатора в процессе настройки резонансной частоты путем введения внутрь полости резонатора, располагающийся в пределах круговой зоны с диаметром, равным D/4, где D – диаметр полости резонатора, и центром, находящимся на пересечении указанной первой плоскости с плоскостью торцевой стенки на расстоянии L от продольной оси полости резонатора, где L=3D/8. 1 з.п.ф-лы, 3 ил.

Изобретение относится к СВЧ технике и может быть использовано в конструкциях резонансных СВЧ блоков на основе цилиндрических резонаторов с Н111 типом колебаний, сопрягаемых с прямоугольными волноводами, в частности, сантиметрового диапазона длин волн в атомно-лучевых стандартах частоты.
Заявляемый резонансный СВЧ блок относится к классу СВЧ устройств на основе объемных резонаторов, широко используемых в СВЧ технике в качестве резонансных элементов колебательных СВЧ систем различного назначения и в СВЧ фильтрах. Их применение аналогично применению колебательных LC контуров в радиотехнике. Оно основано на том, что при существовании электромагнитного поля во внутренней полости резонатора происходит непрерывный обмен между электрической и магнитной составляющими этого поля подобно тому, как в колебательном LC контуре происходит обмен энергией между электрическим полем конденсатора и магнитным полем индуктивности. При этом возможны колебания электрического типа (Emnp) и магнитного типа (Hmnp). Низшим типом магнитных колебаний является Н111 тип колебаний, характеризующийся наибольшей резонансной длиной волны. Этот тип колебаний реализован в заявляемом резонансном СВЧ блоке, выполненном на основе цилиндрического резонатора. Основными параметрами, характеризующими резонансный СВЧ блок, являются резонансная частота и добротность. Резонансная частота – это частота, на которой при прочих равных условиях амплитуда колебаний в полости резонатора достигает наибольшей величины. Добротность характеризует ширину полосы резонансной характеристики на уровне половинной мощности. Добротность зависит от геометрии резонатора и потерь, возникающих при прохождении электромагнитных колебаний. Резонансная частота зависит от размеров резонатора, параметров заполняющей среды и структуры электромагнитного поля. Исходя из этого, перестройку резонансной частоты осуществляют либо изменением длины резонатора, либо изменением его объема (помещая внутрь полости резонатора металлическое тело), либо изменением параметров среды (используя диэлектрическое тело). Связь резонансного СВЧ блока с внешними СВЧ устройствами осуществляется с помощью элементов связи, конструктивные особенности которых определяются назначением блока и конструкцией сопрягаемых с ним внешних СВЧ устройств.
Среди резонансных СВЧ блоков на основе цилиндрических резонаторов известен, например, резонансный СВЧ блок с линейной перестройкой резонансной частоты ([1] – US №4178562, Н 03 В 9/06, Н 01 P 7/04, Н 01 P 7/06, опубл.11.12.1979). Данный блок содержит корпус с цилиндрической полостью, замкнутой с двух сторон торцевыми стенками, одна из которых выполнена подвижной с обеспечением возможности продольного перемещения внутри цилиндрической полости, и элемент связи, выполненный в виде петли связи. За счет подвижной стенки в таком блоке реализуется широкий диапазон перестройки резонансной частоты, при этом, однако, характер перестройки грубый. Конструкция блока, в частности наличие в нем одного элемента связи, выполненного в виде петли связи, не предусматривает возможность его применения в волноводных СВЧ трактах.
Известен также резонансный СВЧ блок на основе цилиндрического резонатора с температурной стабилизацией резонансной частоты ([2] – SU №179799, опубл.04.05.1966). Данный блок содержит корпус с цилиндрической полостью, замкнутой с двух сторон торцевыми стенками, в первой из которых выполнен элемент связи в виде отверстия связи, а вторая выполнена подвижной с обеспечением возможности продольного перемещения внутри цилиндрической полости. Подвижная торцевая стенка связана с термокомпенсирующим устройством, изменяющим положение этой стенки внутри цилиндрической полости в зависимости от температуры окружающей среды. Конструкция блока отличается сложностью и не предусматривает возможность применения в волноводных СВЧ трактах.
Известен резонансный СВЧ блок на основе цилиндрического резонатора с Н111 типом колебаний, выполняющий функцию колебательного контура в атомном стандарте частоты ([3] – GB №1384809, Н 03 В 3/12, G 01 N 21/24, Н 01 Р 7/06, опубл.19.02.1975). Данный блок содержит корпус с замкнутой двумя торцевыми стенками цилиндрической полостью, образующей полость резонатора с Н111 типом колебаний, элемент связи, выполненный в виде петли связи, и два настроечных винта, служащих для настройки резонансной частоты. Настроечные винты вводятся в полость резонатора со стороны цилиндрической поверхности ортогонально продольной оси резонатора в месте расположения пучности напряжения и изменяют электрическое поле в резонаторе. По сравнению с рассмотренными выше блоками [1] и [2], где для перестройки резонансной частоты используется подвижная торцевая стенка резонатора, конструкция блока [3] с настроечными винтами отличается простотой, при этом характер перестройки резонансной частоты остается грубым. Как и блоки [1], [2], блок [3] не предусматривает применение в волноводных СВЧ трактах.
Наиболее близким к заявляемому изобретению является резонансный СВЧ блок на основе цилиндрического резонатора с Н111
Блок, принятый в качестве прототипа, содержит корпус с замкнутой с двух сторон торцевыми стенками цилиндрической полостью, образующей полость резонатора с H111 типом колебаний. При этом одна из торцевых стенок выполнена подвижной с обеспечением возможности продольного перемещения внутри цилиндрической полости, а в другой (неподвижной) выполнены два элемента связи в виде петель связи.
Наличие двух петель связи – входной и выходной – позволяет подключать блок-прототип к выходу входной СВЧ цепи и входу выходной СВЧ цепи, обеспечивая тем самым возможность выполнения блоком функции резонансного контура, например, в полосно-пропускающем СВЧ фильтре. При этом использование цилиндрического резонатора с H111 типом колебаний позволяет получить наименьшие размеры резонатора при высокой добротности.
Конструктивно корпус блока-прототипа может быть выполнен, например, в виде металлического цилиндрического стакана, дно которого образует неподвижную торцевую стенку, замыкающую полость резонатора снизу. В этой торцевой стенке выполняются указанные петли связи. Вторая торцевая стенка, замыкающая полость резонатора сверху, устанавливается внутри цилиндрического стакана с обеспечением возможности продольного перемещения в нем по типу поршня.
Распределение электромагнитного поля внутри полости резонатора определяется его геометрическими размерами, а также конструкцией и расположением петель связи. При этом важной особенностью является неравномерный характер распределения электрической составляющей поля внутри резонатора и тока проводимости по поверхности резонатора, причем пучность напряжения находится в центре резонатора, а через область контакта корпуса с подвижной торцевой стенкой протекает значительная часть поверхностных токов проводимости. В высокодобротном резонаторе это приводит к тому, что настройка резонансной частоты путем подбора положения подвижной торцевой стенки оказывается взаимосвязанной с потерями на переходном сопротивлении в местах контакта корпуса с подвижной торцевой стенкой и с потерями на излучение через неплотности в местах контакта. На практике это приводит к тому, что настройка резонансной частоты высокодобротного резонатора получается резкой и неповторяемой даже на одном конструктивном образце блока.
Другой особенностью блока-прототипа является сложность его стыковки с волноводами, в частности с прямоугольными волноводами с основной волной типа Н10, из-за сложности сопряжения петель связи с волноводами.
Задачей, на решение которой направлено заявляемое изобретение, является создание конструкции малогабаритного высокодобротного резонансного СВЧ блока на основе цилиндрического резонатора с Н111 типом колебаний, в котором обеспечивается плавность настройки резонансной частоты и простота сопряжения с внешними прямоугольными волноводами (например, сантиметрового диапазона длин волн), применяемыми в атомно-лучевых стандартах частоты.
Сущность изобретения заключается в том, что в резонансном СВЧ блоке, содержащем корпус с замкнутой с двух сторон торцевыми стенками цилиндрической полостью, образующей полость резонатора с Н111 типом колебаний, с двумя элементами связи с внешними СВЧ цепями, в отличие от прототипа элементы связи с внешними СВЧ цепями выполнены в виде щелевидных отверстий связи, расположенных на противоположных плоских боковых сторонах корпуса, параллельных друг другу и продольной оси полости резонатора и предназначенных для присоединения внешних прямоугольных волноводов, причем продольные оси отверстий связи лежат в первой плоскости, проходящей через продольную ось полости резонатора перпендикулярно этим боковым сторонам, а их центры – на пересечении указанной первой плоскости с второй плоскостью, совпадающей с плоскостью поперечной симметрии полости резонатора, при этом по крайней мере в одной из торцевых стенок параллельно продольной оси полости резонатора размещен по меньшей мере один настроечный электропроводящий стержень, служащий для изменения объема полости резонатора в процессе настройки резонансной частоты путем введения внутрь полости резонатора, располагающийся в пределах круговой зоны с диаметром, равным D/4, где D – диаметр полости резонатора, и центром, находящимся на пересечении указанной первой плоскости с плоскостью торцевой стенки на расстоянии L от продольной оси полости резонатора, где L=3D/8.
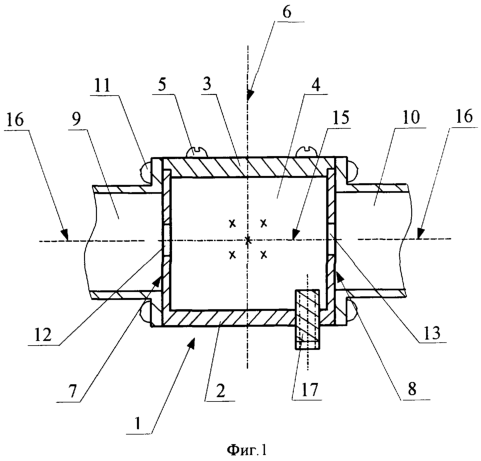
Сущность заявляемого изобретения и возможность его осуществления поясняются схематическими чертежами, представленным на фиг.1-3, иллюстрирующими пример конструктивного выполнения изобретения в одном из возможных вариантов реализации.
На фиг.1 представлен схематический чертеж заявляемого резонансного СВЧ блока с присоединенными внешними прямоугольными волноводами – вид спереди в разрезе;
на фиг.2 – то же, вид сбоку в разрезе;
на фиг.3 – то же, вид сверху с частичным разрезом.
В представленных на фиг.1-3 схематических чертежах крестиками (фиг.1) и пунктирными линиями со стрелками (фиг.2, 3) условно показано распределение электрических составляющих электромагнитного поля внутри полости резонатора. Продолжение этих пунктирных линий со стрелками по поверхности полости резонатора характеризует распределение внутренних поверхностных токов проводимости (на фиг.1-3 не показано).
Заявляемый резонансный СВЧ блок в рассматриваемом примере (фиг.1-3) содержит выполненный в форме прямоугольного параллелепипеда корпус 1 с замкнутой с двух сторон торцевыми стенками 2 и 3 цилиндрической полостью 4, образующей полость резонатора с H111 типом колебаний. Нижняя торцевая стенка 2 выполнена за одно целое с корпусом 1. Верхняя торцевая стенка 3 закреплена на корпусе 1 подобно крышке с помощью винтов 5. Продольная ось 6 полости резонатора (т.е. продольная ось цилиндрической полости 4) перпендикулярна торцевым стенкам 2, 3 и параллельна боковым сторонам корпуса 1. Корпус 1 с торцевыми стенками 2, 3 выполнен из электропроводящего материала, например из алюминиевого сплава или латуни.
Две противоположные боковые стороны 7 и 8 корпуса 1 предназначены для присоединения внешних прямоугольных волноводов 9 и 10 (с Н10 типом колебаний). Закрепление волноводов 9, 10 на боковых сторонах 7, 8 корпуса 1 осуществляется с помощью винтов 11.
Для связи с прямоугольными волноводами 9 и 10 в заявляемом резонансном СВЧ блоке применены элементы связи, выполненные в виде щелевидных отверстий связи 12 и 13, расположенных на боковых сторонах 7 и 8 так, что их продольные оси лежат в первой плоскости 14, проходящей через продольную ось 6 полости резонатора перпендикулярно боковым сторонам 7 и 8, а их центры – на линии пересечения первой плоскости 14 и второй плоскости 15, совпадающей с плоскостью поперечной симметрии полости резонатора. Продольный размер (длина) отверстий связи 12, 13 выбирается преимущественно в диапазоне, определяемом выражением /8   /4, где – длина волны на резонансной частоте резонатора, – длина отверстий связи (фиг.2). При этом учитывается, что увеличение длины отверстий связи 12, 13 приводит к уменьшению потерь в полосе пропускания, но, однако, сопровождается уменьшением добротности.
По отношению к отверстиям связи 12 и 13 прямоугольные волноводы 9 и 10 располагаются так, что их продольные оси 16 проходят через центры отверстий связи (т.е. находятся на линии пересечения первой 14 и второй 15 плоскостей), а их широкие стенки располагаются параллельно длинным сторонам отверстий связи. Такое расположение прямоугольных волноводов 9 и 10 обеспечивает их наилучшее согласование с заявляемым резонансным СВЧ блоком. Поскольку заявляемый резонансный СВЧ блок является ненаправленным, любой из указанных волноводов 9, 10 может выполнять функцию “входного” или “выходного” волновода.
Для настройки резонансной частоты по крайней мере в одной торцевой стенке – в рассматриваемом примере в торцевой стенке 2 – параллельно продольной оси 6 полости резонатора установлен по меньшей мере один настроечный электропроводящий стержень – в рассматриваемом примере резьбовой стержень 17.
Резьбовой стержень 17 располагается в пределах круговой зоны 18 с диаметром d=D/4, где D – диаметр полости резонатора (т.е. диаметр цилиндрической полости 4), и центром, находящимся на пересечении плоскости 14 с плоскостью торцевой стенки 2 на расстоянии L от продольной оси полости резонатора, где L = 3D/8. В рассматриваемом примере резьбовой стержень 17 располагается в зоне 18, которая находится вблизи отверстия связи 13 (фиг.3).
Резьбовой стержень 17 служит для изменения объема полости резонатора в процессе настройки резонансной частоты путем перемещения (ввертывания) внутрь полости резонатора. Предел перемещения резьбового стержня 17 внутрь полости резонатора выбирается в пределах расстояния 1, соответствующего расстоянию между внутренней поверхностью торцевой стенки 2 и нижней кромкой отверстия связи 13 (фиг.2). Для фиксации положения резьбового стержня 17 после настройки резонансной частоты может применяться фиксирующая наружная гайка (на фиг.1-3 не показана).
Рассмотренный пример выполнения заявляемого резонансного СВЧ блока с одним настроечным электропроводящим стержнем – резьбовым стержнем 17 – относится к случаю, когда по условиям применения достаточно небольшого диапазона перестройки резонансной частоты – в пределах 0,5÷1,0%. Величина диапазона перестройки зависит при этом от диаметра резьбового стержня 17 и места его расположения в пределах зоны 18. Например, приближение резьбового стержня 17 к продольной оси 6 полости резонатора увеличивает диапазон перестройки, а удаление от нее уменьшает диапазон перестройки, при этом, однако, увеличивается плавность перестройки.
В случаях, когда требуется увеличение диапазона перестройки, увеличивают количество настроечных электропроводящих стержней. Всего в заявляемом резонансном СВЧ блоке существуют четыре зоны 18, в которых возможно размещение настроечных электропроводящих стержней – по две в каждой из торцевых стенок 2 и 3 вблизи отверстий связи 12 и 13. Естественно, что количество настроечных электропроводящих стержней, могущих располагаться в одной зоне 18, ограничивается конструктивными факторами – соотношением их диаметров.
Предложенные расположение и размеры зон 18 определены экспериментально исходя из возможности выполнения практических требований по обеспечению плавности и воспроизводимости перестройки резонансной частоты, что важно, например, для резонансных СВЧ блоков, используемых в прямоугольных волноводных СВЧ трактах атомно-лучевых стандартов частоты.
Эффект повышения плавности перестройки резонансной частоты, получаемый в заявляемом резонансном СВЧ блоке, объясняется следующим. Внутри резонатора заявляемого резонансного СВЧ блока, включенного, например, в разрыв прямоугольного волноводного СВЧ тракта сантиметрового диапазона длин волн, имеет место характерное неравномерное распределение электромагнитного поля, обусловленное расположением и формой отверстий связи 12 и 13. Особенностью этого распределения является то, что максимум напряженности электрических составляющих электромагнитного поля находится в центре резонатора (на фиг.1 отмечено условно крестиками, а на фиг.2 и 3 – пунктирными линиями со стрелками), а минимум – как раз над зонами 18 предложенных размеров и размещения. Из анализа поверхностного распределения токов проводимости также следует, что предложенное расположение зон 18 соответствует области минимальных поверхностных токов проводимости. Таким образом, установленный в зоне 18 настроечный электропроводящий стержень (резьбовой стержень 17) находится в области, характеризующейся минимальной напряженностью электрической составляющей электромагнитного поля и минимальными поверхностными токами проводимости. Такое размещение настроечного электропроводящего стержня минимизирует зависимость добротности и коэффициента ослабления в полосе пропускания от электрического контакта между настроечным электропроводящим стержнем и торцевой стенкой, обеспечивает плавность настройки резонансной частоты и высокую степень повторяемости амплитудно-частотных характеристик.
Данная особенность заявляемого резонансного СВЧ блока (размещение настроечного электропроводящего стержня в области, характеризующейся минимальной напряженностью электрической составляющей поля внутри резонатора и минимальными поверхностными токами проводимости) принципиально отличает заявляемый резонансный СВЧ блок от известных решений [3] и [4], где аналогичный настроечный элемент располагается в области с максимальной напряженностью электрической составляющей поля.
Достоинствами заявляемого резонансного СВЧ блока также являются малые потери в полосе пропускания, высокая добротность (от 1000 до 4000), простота и удобство включения его в место разрыва прямоугольного волноводного СВЧ тракта. Последнее обеспечивается, в частности, малыми размерами блока, соизмеримыми с поперечными размерами присоединяемых к нему волноводов, и отсутствием необходимости какого-либо дополнительного согласования подключаемых элементов волноводного СВЧ тракта.
Работоспособность заявляемого резонансного СВЧ блока проверена на опытном образце в условиях включения в прямоугольный волноводный СВЧ тракт цезиевого атомно-лучевого стандарта частоты. Опытный образец выполнен из алюминиевого сплава, имеет корпус в форме прямоугольного параллелепипеда, в котором выполнена цилиндрическая резонансная полость, замкнутая торцевыми крышками. Щелевидные отверстия связи расположены на противоположных боковых сторонах. Диаметр и длина резонансной полости составляют примерно 25 мм, длина и ширина отверстий связи – соответственно 6 мм и 1 мм. Полость резонатора посеребрена и отполирована. Размеры широкой и узкой стенок присоединяемых прямоугольных волноводов составляют соответственно 23 мм и 10 мм. Для настройки резонансной частоты (Fрез=9192 МГц) применен один резьбовой стержень с диаметром 4 мм, установленный в нижней торцевой стенке. Центр резьбового стержня расположен на расстоянии 9,5 мм от продольной оси полости резонатора на пересечении плоскости торцевой стенки с плоскостью, проходящей через продольную ось полости резонатора перпендикулярно боковым сторонам с отверстиями связи. Диапазон перестройки резонансной частоты составляет примерно 0,5%, что вполне достаточно для указанных условий применения. Значение добротности – 1500.
Рассмотренное показывает, что заявляемое изобретение осуществимо и решает поставленную задачу по созданию конструкции малогабаритного высокодобротного резонансного СВЧ блока на основе цилиндрического резонатора с Н111 типом колебаний, в котором обеспечивается плавность настройки резонансной частоты и простота сопряжения с внешними прямоугольными волноводами (например, сантиметрового диапазона длин волн), применяемыми в атомно-лучевых стандартах частоты.
Источники информации
1. US №4178562, Н 03 В 9/06, H 01 P 7/04, H01P 7/06, опубл.11.12.1979.
2. SU №179799, H 03 j (21a4, 70), опубл.04.05.1966.
3. GB №1384809, Н 03 В 3/12, G 01 N 21/24, H 01 P 7/06, опубл.19.02.1975.
Формула изобретения
1. Резонансный СВЧ блок, содержащий корпус с замкнутой с двух сторон торцевыми стенками цилиндрической полостью, образующей полость резонатора с Н111 типом колебаний, с двумя элементами связи с внешними СВЧ цепями, отличающийся тем, что элементы связи с внешними СВЧ цепями выполнены в виде щелевидных отверстий связи, расположенных на противоположных плоских боковых сторонах корпуса, параллельных друг другу и продольной оси полости резонатора и предназначенных для присоединения внешних прямоугольных волноводов, продольные оси которых проходят через центры отверстий связи, а широкие стенки волноводов располагаются параллельно длинным сторонам отверстий связи, причем продольные оси отверстий связи лежат в первой плоскости, проходящей через продольную ось полости резонатора перпендикулярно этим боковым сторонам, а их центры – на пересечении указанной первой плоскости с второй плоскостью, совпадающей с плоскостью поперечной симметрии полости резонатора, при этом по крайней мере в одной из торцевых стенок параллельно продольной оси полости резонатора размещен по меньшей мере один настроечный электропроводящий стержень, служащий для изменения объема полости резонатора в процессе настройки резонансной частоты путем введения внутрь полости резонатора, располагающийся в пределах круговой зоны с диаметром, равным D/4, где D – диаметр полости резонатора, и центром, находящимся на пересечении указанной первой плоскости с плоскостью торцевой стенки на расстоянии L от продольной оси полости резонатора, где L=3D/8.
2. Резонансный СВЧ блок по п.1, отличающийся тем, что корпус выполнен в форме прямоугольного параллелепипеда.
РИСУНКИ
|
|