|
|
(21), (22) Заявка: 2004126997/28, 09.09.2004
(24) Дата начала отсчета срока действия патента:
09.09.2004
(45) Опубликовано: 10.07.2005
(56) Список документов, цитированных в отчете о поиске:
PRODUCT CATALOG – 12th EDITION, General Instrument Power Semiconductor Division, 1997. SU 1803943 A1, 23.03.1993. RU 2213392 C1, 27.09.2003. US 5233214 A, 03.08.1993. US 2001045624 A1, 29.11.2001.
Адрес для переписки:
111250, Москва, ул. Красноказарменная, 19, кв.39, В.А.Потапчуку
|
(72) Автор(ы):
Муратов Алик Фахтдинович (UZ), Потапчук В.А. (RU), Умаров Алишер Михайлович (UZ), Радд Чарльз Лео (UZ)
(73) Патентообладатель(и):
Муратов Алик Фахтдинович (UZ), Потапчук Владимир Александрович (RU), Умаров Алишер Михайлович (UZ), Радд Чарльз Лео (UZ)
|
(54) ОГРАНИЧИТЕЛЬ НАПРЯЖЕНИЯ С УВЕЛИЧЕННОЙ МОЩНОСТЬЮ
(57) Реферат:
Использование: изобретение относится к области полупроводниковых ограничителей напряжения, диодов Зеннера, варакторов и других полупроводниковых приборов и может быть использовано при защите электронных устройств от перенапряжений, а также при конструировании названных приборов. Техническим результатом изобретения является увеличение мощности и эксплуатационной надежности ограничителя напряжения в корпусе для поверхностного монтажа при сохранении толщины прибора. Ограничитель напряжения содержит размещенные в изолирующем плоском корпусе полупроводниковый кристалл кремния с одним или двумя P-N-переходами, соединенный с положительным и отрицательным выводами через металлические прокладки, являющиеся тепловыми компенсаторами. Глубина залегания P-N-перехода от поверхности кристалла составляет менее 50 мкм, что позволяет мгновенно передавать тепло, возникающее после воздействия импульса мощности, на теплоемкие компенсаторы. Теплопроводность и теплоемкость каждой металлической прокладки больше не менее чем в два раза соответственно теплопроводности и теплоемкости кристалла. При этом толщины металлических прокладок и выводов выбраны из условия обеспечения определенного соотношения между количеством тепла, которое может быть передано теплопроводностью одним выводом к радиатору и количеством тепла выделяемого на одном P-N-переходе при воздействии импульса мощности. 1 ил., 2 табл.

Изобретение относится к области полупроводниковых ограничителей напряжения, диодов Зеннера, варакторов и других полупроводниковых приборов и может быть использовано при защите электронных устройств от перенапряжений, а также при конструировании и технологии создания названных приборов.
Известны кремниевые ограничители напряжения, у которых имеются кристалл с P-N-переходом (P-N-переходами) и контактами, оформленные в пластмассовый корпус, поглощаемая мощность и напряжение пробоя которых определяются рабочей площадью кристалла полупроводника и его удельного сопротивления, конструкцией кристалла с диффузионными слоями и толщиной базовой области [1].
Однако при использовании ограничителей напряжения существуют ограничения, по которым величины рассеиваемой (поглощаемой) мощности должны быть соизмеримы с конструкцией и размерами прибора, т.е. прибор может быть исполнен с недостаточной надежностью.
Ближайшим аналогом могут быть кремниевые ограничители напряжения фирмы Thomson – SMCG [2] для поверхностного монтажа, в котором кристалл напрямую спаивается с медными выводами и отвод тепла осуществляется через эти выводы на общий теплоотвод (радиатор). Данные приборы оформлены в плоский стандартный корпус DO-214AB и рассчитаны на максимальную мощность до 1,5 кВт.
В то же время, при воздействии мощных импульсов на кристалл полупроводника выделяется большое количество тепла с резким увеличением температуры на P-N-переходе (P-N-переходах). Это может привести к перегреву и выходу его из строя.
Техническим результатом изобретения является увеличение мощности и эксплуатационной надежности ограничителя напряжения в корпусе для поверхностного монтажа типа DO-214AB, при сохранении толщины прибора.
Технический результат достигается тем, что в ограничителе напряжения с увеличенной мощностью, содержащем в плоском корпусе для поверхностного монтажа полупроводниковый кристалл кремния с одним или двумя P-N-переходами, соединенный с положительным и отрицательным выводами через металлические прокладки, являющиеся тепловыми компенсаторами, P-N переход(ы) расположен(ы) на расстоянии менее чем 50 мкм от близлежащей границы прокладка-плоскость поверхности кристалла, теплоемкость и теплопроводность каждой металлической прокладки больше не менее чем в два раза соответственно теплоемкости и теплопроводности кристалла, при этом толщины металлических прокладок и выводов выбраны из условия обеспечения следующего соотношения между количеством тепла, которое может быть передано теплопроводностью одним выводом к радиатору и количеством тепла, выделяемого на одном P-N-переходе при воздействии импульса мощности:
n· QP-N 0,48Qвывод· t , где

QP-N=Cpsi· Gsi(TP-N-T), кал;
n – число P-N-переходов в кристалле ограничителя напряжения, равное 1 или 2;
Qвывод – количество тепла, которое может быть передано теплопроводностью одним выводом к радиатору, Вт;
QP-N – количество тепла выделяемого на одном P-N-переходе при воздействии импульса мощности, кал;
t – время выключенного состояния прибора (время скважности), сек;
– коэффициент теплопроводности материала выводов, ккал/м· час· ° С;
Т – температура кристалла после истечения времени выключенного состояния прибора, ° С;
TP-N – максимальная температура Р-N-перехода(ов), ° С;
Т1’ и Т2’ – температура на одном и другом концах выводов, ° С;
S – площадь поперечного сечения выводов, м2;
Cpsi – удельная теплоемкость кристалла кремния (Срsi=0,17 кал/г· град);
Gsi – масса кристалла кремния, г;
– длина пути теплового потока от теплового компенсатора до радиатора, м.
Технический результат, полученный при реализации данного изобретения, заключается в увеличении мощности прибора по крайней мере в два раза, путем введения теплоемких компенсаторов (прокладок), теплоемкость и теплопроводность которых по крайней мере в два раза выше теплопроводности и теплоемкости кристалла, и глубина залегания P-N-перехода (P-N-переходов) менее 50 мкм от поверхности кристалла, т.е. от близлежащей границы прокладка-плоскость поверхности кристалла. Например, в аналогичном изделии фирмы Thomson, максимальная импульсная мощность 1,5 кВт. Нами в этом же корпусе DO-214AB достигнута мощность более 3 кВт (tu=10-3 секунд, где tu – длительность импульса).
Суть изобретения заключается в том, что ограничитель напряжения с увеличенной мощностью содержит в корпусе для поверхностного монтажа, например DO-214AB, полупроводниковый кристалл с одним или двумя P-N-переходами, расположенными менее чем на глубине 50 мкм от пограничной с прокладкой плоскости поверхности кристалла. Кристалл соединен с выводами через металлические прокладки, являющиеся тепловыми компенсаторами, при этом теплоемкость и теплопроводность каждой металлической прокладки больше не менее чем в два раза соответственно теплоемкости и теплопроводности кристалла. Экспериментально установленное необходимое превышение теплоемкости и теплопроводности прокладок по отношению к теплоемкости и теплопроводности кристалла, а также глубина залегания P-N перехода (переходов) и толщины прокладок и выводов, приняты по условию увеличения эксплуатационной надежности прибора, что обеспечивает устойчивость приборов к случайным разовым воздействиям более мощных однократных импульсов, или более длительных, или значительно превосходящих по допустимым значениям импульсных напряжений или тока. Тепло, при воздействии кратковременного импульса мощности, передается на теплоемкие прокладки (компенсаторы), аккумулируясь в них, предохраняя кристалл от перегрева и сбрасывая достаточно быстро тепло через выводы на радиатор за время выключенного состояния импульса мощности, т.е. за время скважности (t ). Тепло разогретого импульсом мощности P-N-перехода будет перераспределяться пропорционально теплоемкостям кристалла и контактирующей близко к P-N-переходу прокладки в соотношении их теплоемкостей, т.е. температура P-N-перехода снизится близко до температуры прокладки, в которую перераспределилось тепло пропорционально его теплоемкости. Исходя из требований к величине напряжения лавинного пробоя прибора, выбранного исходного удельного сопротивления кремния и необходимого значения градиента концентрации примеси у P-N-перехода, толщина кремния от P-N-перехода до теплоемкой прокладки составила менее 50 мкм. Расчетами и экспериментально показано, что время отвода тепла от P-N-перехода, а также время релаксации тепла от арматуры, собранной через выводы, вполне удовлетворительны для работы представленной конструкции изделия, при общей толщине кристалла до 200 мкм и глубине залегания P-N-перехода до 50 мкм.
Были проведены сравнительные испытания приборов с применением заявленного изобретения и приборов фирмы Thomson [2]. В результате применения данного изобретения была намного увеличена эксплуатационная надежность приборов, вследствие практически мгновенной передачи тепла от избыточно разогретого P-N-перехода при включении импульсной мощности, превышающей допустимое значение (возможно случайного), на теплоемкую прокладку, и далее на радиатор. При увеличении допустимой мощности импульсов также увеличивается эксплуатационная надежность, поскольку резко уменьшается вероятность многократного лавинного пробоя в локальном месте, переходящего в плазму и, в дальнейшем, к тепловому пробою. Создан прибор с улучшенными эксплуатационными характеристиками и повышенной надежностью.
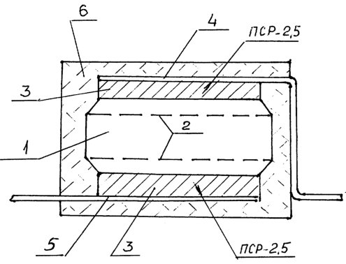
На чертеже представлена конструкция ограничителя напряжения с увеличенной мощностью в корпусе для поверхностного монтажа.
Конструкция прибора представляет собой кремниевый кристалл 1 с двумя встречными P-N-переходами 2 площадью Ssi=0,25 cм2 между прокладками (компенсаторами) 3, каждая площадью Sкомпен=0,33 см2, толщиной hпрокл=200 мкм из материала КМК (ковар – 10 мкм, медь – 180 мкм, ковар – 10 мкм). Пайка выводов 4 и 5 произведена припоем ПСР – 2,5, толщиной 3-5 мкм. Использованы выводы из меди лента ДПРНТ 0,25× 35 НД M1. Прибор размещен в пластмассовом корпусе 6. Напряжение лавинного пробоя прибора равно: Ubr=39 В, максимальное напряжение ограничителя Uoгр.мах 51,4 В.
Толщины металлических прокладок и выводов выбраны такими, чтобы обеспечить условие, когда количество тепла, выделившееся на P-N-переходе (переходах) за время действия импульса мощности, меньше или равно количеству тепла, отводимого через выводы за время выключенного состояния прибора.
В качестве примера представим расчет устойчивости предложенной конструкции ограничителей напряжения для поверхностного монтажа с увеличенной допустимой импульсной мощностью.
За основу расчетов конструкции приборов принято утверждение, что температура в приборе после воздействия импульса мощности перераспределяется пропорционально теплоемкости кристалла с P-N-переходом и теплоемким компенсатором (или выводам).
а) Теплоемкость кремниевого кристалла – CVsi;
CVsi=CpsiGSi, где GSi – масса кристалла кремния, г;
Cpsi – удельная теплоемкость кремния, CPsi=0,19 кал/г· град,
GSi=VSi PSi, GSi=SSi hSi Psi=12,7· 10-2· 0,025· 2,34=7,43· 10-3 (г), где SSi=12,7· 10-2 см2 – площадь кристалла кремния, hsi=0,025 cм – толщина кристалла кремния,
Psi=2,34 г/см3 – удельная масса кремния
CVsi=0,19· 7,43· 10-3=1,4· 10-3 (кал/град).
б) Теплоемкость прокладки (компенсатора) СVкомпен
СVкомпен.=CPCu GCu=Sкомпен. hкомпен. PCu СPСu=0,17· 0,02· 8,9· 0,1 3· 10-3 (кал/град), где Sкомпен=0,17 мм2 – площадь компенсатора,
hкомпен=0,02 см – толщина компенсатора,
РCu=8,9 г/см2 – удельная масса меди,
СРСu=0,1 кaл/г – удельная теплоемкость меди
в) Теплоемкость части вывода из меди, находящаяся непосредственно под кристаллом (служащая “накопителем” тепла) Сvсuвывод
CVCu вывод.=hвывод. bвывод Iвывод PCu CPCu, где
h вывод=0,02 см – толщина вывода
b вывод=0,35 см – ширина вывода
I вывод=0,45 см – длина вывода
CVcu вывод.=0,45· 0,35· 0,02· 8,9· 0,1=2,8· 10-3 кал/град.
г) Суммарная теплоемкость компенсатора и прокладки составит:
CVCu=3· 10-3+2,8· 10-3=5,8· 10-3 кал/град;
Т.е. теплоемкость компенсатора плюс части вывода, прилегающего к прокладке, больше теплоемкости кристалла в n=5,8/1,4 4 (раза).
Температура, до которой нагревается P-N-переход за время включения импульса мощности (Р=3 кВт, tи=1+1=2 мс – у симметричных приборов) определиться из зависимости:
, где:
А – коэффициент, зависящий от теплофизических параметров материала (Si);
А=1,9 см3 град/Вт· сек;
ТP-N=1,9· 3000· 4,45· 10-2· 0,5=127 (град) – для формы волны – спадающая экспонента;
и ТP-N=1,9· 3000· 4,45· 10-2=254 (град) – для прямоугольных импульсов;
Температура на P-N-переходе снизится за время скважности (выключенного состояния) до Т 127_3=42(° С).
Распределение температур у P-N-перехода и металлической прокладки выбрано 1:3 из-за переходной области между кристаллом и теплоемкой прокладкой (место пайки).
При отсутствии теплоемкого компенсатора теплоемкость части вывода в 2 раза превышает теплоемкость кристалла; снижение температуры с T1=127 (град) до T2=62-65 (град), что недопустимо; происходит накопление тепла.
В случае же поступления прямоугольных, синусоидальных или иных, близких к ним по форме импульсов перегрев очевиден.
Процесс установления теплового равновесия (охлаждения) кристалла (P-N-перехода) при скачкообразном изменении мощности, выделяющейся на P-N-переходе в виде тепла, после прекращения подачи импульса, определяется зависимостью:
где
t – время релаксации тепла от P-N-перехода в тепловой компенсатор (прокладку);
т – тепловая постоянная кристалла, характеризующая тепловую релаксацию между P-N-переходом и теплоотводом (прокладкой).
где
L – расстояние от P-N-перехода до теплоотвода, определяется глубиной залегания P-N-перехода, т.е. на глубине от пограничной с прокладкой плоскости:
а – коэффициент температуропроводности кремния (см2/град)

Si – коэффициент теплопроводности кремния,
Si=0,28 кал/см· сек· град;
а=0,28/2,34· 0,19=0,64 (см2/град).
Определим t при L1=50 мкм, L2=70 мкм и L3=100 мкм.
t(50)=17· 10-6 (сек);
t(70)=22· 10-6 (сек);
t(100)=70,6· 10-6 (сек).
В то же время, фронт нарастания импульса мощности tфронта, который дается во всех справочниках вместе с временем длительности импульса, например 10/1000, что говорит о длительности фронта нарастания, равной 10 мкс, и 1000 мкс длительности самого импульса. Условием работоспособности прибора выбрано условие, при котором длительность (время) передачи тепла tтеплоотвод от разогретого P-N-перехода до теплоемкого компенсатора не должно превышать двойного фронта нарастания импульса мощности, т.е. tтеплоотвод. 2tфронта имп., в данном случае этому условию соответствует конструкция прибора с глубиной залегания P-N-перехода менее 50 мкм.
Условие надежной работы приборов с глубиной залегания P-N-перехода менее 50 мкм или tтеплоотвод. 2tфронта имп. подтверждено статистикой экспериментов.
Работоспособность изобретения подтверждена сравнительными испытаниями с использованием данного технического решений по данному изобретению (Таблица 7) и без использования технического решения (Таблица 2).
Таблица 1 Приборы, использующие техническое решение |
Мощность, кВт tи=1 мс t =10 сек nимп=20 |
1,8 |
3 |
4 |
5 |
| Нормы при |
Ioгp, A=35 |
Ioгp, A=59 |
Ioгp,A=77 |
Ioгp,A=97 |
| |
Uoгp.мах 51,4 |
Uoгp.мax 51,4 |
Uoгp.мax 51,4 |
Uoгp.мax 51,4 |
| 1 |
40,7 |
42,4 |
48,4 |
51,6 |
| 2 |
39,4 |
41,8 |
49,6 |
50,4 |
| 3 |
38,8 |
41,8 |
48,4 |
52,2 |
| 4 |
41 |
43,0 |
49,3 |
52,3 |
| 5 |
42,4 |
43,4 |
47,4 |
49,8 |
| 6 |
39,7 |
42,4 |
45,3 |
48,9 |
| 7 |
41,6 |
44,0 |
50,2 |
50,1 |
| 8 |
41,4 |
43,6 |
47,6 |
48,9 |
| 9 |
38,3 |
41,8 |
46,8 |
49,4 |
| 10 |
43,4 |
43,8 |
51,4 |
48,8 |
Таблица 2 Приборы, не использующие техническое решение |
Мощность, кВт, tи=1 мc t =10 сек nимп=20 |
1,5 |
1,8 |
2,5 |
| Нормы при |
Ioгp, A=30 |
Ioгp, A=35 |
Ioгp, A=48 |
| |
Uoгp.мax 51,4 |
Uoгp.мax 51,4 |
Uoгp.мax 51,4 |
| 1 |
46,4 |
51,2 |
51,2 |
| 2 |
47,2 |
51,0 |
56,4 |
| 3 |
47,3 |
52,0 |
51,0 |
| 4 |
48,2 |
49,9 |
50,8 |
| 5 |
47,1 |
50,2 |
55,1 |
| 6 |
46,6 |
51,8 |
53,9 |
| 7 |
47,0 |
49,9 |
52,9 |
| 8 |
47,6 |
51,6 |
51,0 |
| 9 |
48,5 |
50,0 |
54,8 |
| 10 |
48,4 |
49,8 |
55,0 |
Где:
tи – длительность импульса,
t – скважность,
nимп. – количество импульсов, после которых осуществляются измерения.
Таким образом, таблицы 1 и 2 показывают, что ограничители напряжения, в которых отсутствуют металлические прокладки – компенсаторы отказывают при подаче импульсной мощности более 1,8 кВт. В то же время, приборы имеющие в конструкции тепловые прокладки – компенсаторы, устойчивы к воздействию импульсной мощности значительно больше 3 кВт, поэтому с хорошим запасом установлена для них допустимая импульсная мощность Р=3 кВт, tимп=1 мс, при условии, что глубина залегания P-N-перехода расположена менее чем на 50 мкм от поверхности кристалла.
Температура кристалла у P-N-перехода снизится до Т 45° С за время релаксации тепла от P-N-перехода до прокладки. Таким образом, будет выполнено условие работоспособности ограничителя напряжения с увеличенной мощностью.
Использование предложенного ограничителя позволит потребителю для поверхностного монтажа использовать одну плату вместо двух.
В настоящее время закончены ведомственные испытания, и приборы вводятся в технические условия.
ЛИТЕРАТУРА
1. Б.В.Кондратьев, Б.В.Попов. Ограничители для защиты радиоэлектронной аппаратуры от перенапряжений. “Зарубежная электронная техника”, 1983 г., в. 2, М., ЦНИИ “Электроника”, с.87.
2. PRODUCT CATALOG – 12ТН EDITION, General Instrument, Power Semiconductor Division, 1997.
Формула изобретения
Ограничитель напряжения с увеличенной мощностью, содержащий в плоском корпусе для поверхностного монтажа полупроводниковый кристалл кремния с одним или двумя P-N-переходами, соединенный с положительным и отрицательным выводами через металлические прокладки, являющиеся тепловыми компенсаторами, при этом P-N переход(ы) расположен(ы) на расстоянии менее чем 50 мкм от близлежащей границы прокладка-плоскость поверхности кристалла, теплоемкость и теплопроводность каждой металлической прокладки больше не менее чем в два раза соответственно теплоемкости и теплопроводности кристалла, при этом толщины металлических прокладок и выводов выбраны из условия обеспечения следующего соотношения между количеством тепла, которое может быть передано теплопроводностью одним выводом к радиатору, и количеством тепла, выделяемого на одном P-N-переходе при воздействии импульса мощности:
n· QP-N 0,48Qвывод· t ,
где 
QP-N=Cpsi· Gsi(TP-N-T) кал;
n – число P-N-переходов в кристалле ограничителя напряжения, равное 1 или 2;
Qвывод – количество тепла, которое может быть передано теплопроводностью одним выводом к радиатору, Вт;
QP-N – количество тепла выделяемого на одном P-N-переходе при воздействии импульса мощности, кал;
t – время выключенного состояния прибора (время скважности), с;
– коэффициент теплопроводности материала выводов, ккал/м· ч· ° С;
Т – температура кристалла после истечения времени выключенного состояния прибора, ° С;
TP-N – максимальная температура P-N-пepexoдa(oв), ° C;
T1’ и T2’ – температура на одном и другом концах выводов, ° С;
S – площадь поперечного сечения выводов, м2;
– удельная теплоемкость кристалла кремния 
Gsi – масса кристалла кремния, г;
– длина пути теплового потока от теплового компенсатора до радиатора, м.
РИСУНКИ
MM4A – Досрочное прекращение действия патента СССР или патента Российской Федерации на изобретение из-за неуплаты в установленный срок пошлины за поддержание патента в силе
Дата прекращения действия патента: 10.09.2006
Извещение опубликовано: 20.08.2007 БИ: 23/2007
|
|