|
|
(21), (22) Заявка: 2003120411/09, 03.07.2003
(24) Дата начала отсчета срока действия патента:
03.07.2003
(43) Дата публикации заявки: 20.02.2005
(45) Опубликовано: 10.07.2005
(56) Список документов, цитированных в отчете о поиске:
RU 2120104 C1, 10.10.1998. RU 2174251 С2, 27.09.2001. ЕР 0326796 А2, 09.08.1989. US 6505140 В1, 07.01.2003.
Адрес для переписки:
630058, г.Новосибирск, ул. Русская, 41, КТИ НП СО РАН
|
(72) Автор(ы):
Верхогляд А.Г. (RU), Финогенов Л.В. (RU), Чугуй Ю.В. (RU)
(73) Патентообладатель(и):
Конструкторско-технологический институт научного приборостроения Сибирского отделения Российской академии наук (статус государственного учреждения) (RU)
|
(54) СЧИТЫВАТЕЛЬ КОДА С ПОВЕРХНОСТИ ТЕЛ ВРАЩЕНИЯ
(57) Реферат:
Изобретение относится к оптико-электронной технике. Его применение в системах идентификации продукции, маркируемой штриховыми, алфавитно-цифровыми или графическими символами позволяет получить технический результат в виде обеспечения возможности считывания информации в процессе движения объекта. Этот результат достигается благодаря тому, что считыватель кода с поверхности тел вращения содержит блок обработки видеосигнала и соединенный с ним оптический блок, включающий расположенные последовательно на оптической оси многоэлементный матричный фотоприемник, объектив, осветитель, соединенный с выходом управления блока обработки видеосигнала, коническое зеркало со сквозным отверстием для ввода изделия с кодом и плоское зеркало, расположенное под углом к плоскости объектива, перпендикулярной его оптической оси, и имеющее отверстие для прохода изделия с кодом с центром в точке излома оптической оси считывателя. Кроме того, считыватель содержит устройство синхронизации, подключенное своим выходом к входу управления блока обработки видеосигнала. 4 ил.

Изобретение относится к оптико-электронной технике и может быть использовано в системах идентификации продукции, маркируемой штриховыми, алфавитно-цифровыми или графическими символами.
Известен считыватель штриховых кодов [1], состоящий из блока обработки видеосигнала и оптического блока, содержащего расположенные вдоль оптической оси многоэлементный линейный фотоприемник, объектив, осветительные элементы и цилиндрическую линзу. Осветительные элементы размещены попарно симметрично относительно оптической оси вне конуса поля зрения объектива в плоскости, проходящей через оптическую ось объектива, перпендикулярной к поверхности многоэлементного фотоприемника. Вдоль образующей цилиндрической линзы выполнено сквозное щелевое отверстие, длина и ширина которого превышают длину и ширину изображения многоэлементного фотоприемника, спроецированного объективом на цилиндрическую линзу.
Данный считыватель обладает ограниченными функциональными возможностями, так как не может быть использован для считывания алфавитно-цифровых и графических символов по причине использования линейного многоэлементного фотоприемника и одномерного освещения поверхности с кодом. Кроме того, данное устройство не позволяет считывать алфавитно-цифровые и графические символы в процессе движения объекта, так как отсутствуют необходимые в данном случае средства синхронизации работы осветителя, фотоприемника и системы подачи объекта с нанесенными символами.
Наиболее близким к предлагаемому устройству по совокупности существенных признаков и решаемой задаче является считыватель кода с поверхности тел вращения [2], содержащий блок обработки видеосигнала и соединенный с ним оптический блок, включающий расположенные последовательно на оптической оси многоэлементный матричный фотоприемник, объектив, осветитель и коническое зеркало. Осветитель содержит осветительные элементы, размещенные равномерно по окружности симметрично относительно оптической оси в кольцевом коллиматоре вне конуса поля зрения объектива. Коническое зеркало имеет сквозное отверстие по центру для ввода изделия с кодом, а отражающая поверхность зеркала направлена в сторону объектива и располагается вокруг поверхности с кодом.
Данный считыватель обладает ограниченными функциональными возможностями, так как не может быть использован для считывания символов в процессе движения объекта с нанесенными символами.
Заявляемый считыватель кода с поверхности тел вращения обеспечивает расширение функциональных возможностей устройства, а именно возможность считывания информации в процессе движения объекта.
Поставленная цель достигается за счет изменения оптической схемы считывателя и обеспечения синхронизации работы осветителя и многоэлементного матричного фотоприемника с моментом поступления объекта в зону считывания.
Для достижения этого технического результата в считыватель кода с поверхности тел вращения, содержащий блок обработки видеосигнала и соединенный с ним оптический блок, включающий расположенные последовательно на оптической оси многоэлементный матричный фотоприемник, объектив, осветитель, коническое зеркало и дополнительно введенное плоское зеркало, введено устройство синхронизации, выход которого соединен с управляющим входом блока обработки видеосигнала, а управляющий выход блока обработки видеосигнала соединен с входом осветителя. Причем плоское зеркало, расположенное под углом к плоскости объектива, перпендикулярной его оптической оси, имеет отверстие для прохода изделия с кодом с центром в точке излома оптической оси считывателя, а коническое зеркало, отражающая поверхность которого располагается вокруг поверхности с кодом и направлена в сторону плоского зеркала, имеет сквозное отверстие для ввода изделия с кодом.
Новыми признаками являются введение плоского зеркала, расположенного под углом к плоскости объектива, перпендикулярной его оптической оси, имеющего отверстие для прохода изделия с кодом с центром в точке излома оптической оси устройства, а также устройства синхронизации, выход которого соединен с управляющим входом блока обработки видеосигнала, при этом управляющий выход блока обработки видеосигнала соединен с входом осветителя.
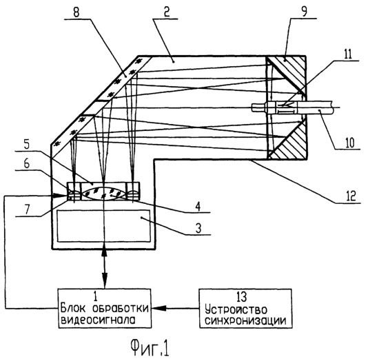
На фиг.1 изображен считыватель кода с поверхности тел вращения.
На фиг.2 представлено изображение кода, получаемое на двумерном матричном фотоприемнике.
На фиг.3 представлен алгоритм работы блока обработки видеосигнала.
На фиг.4 показано изображение кода, получаемое после преобразований в блоке обработки видеосигнала.
Считыватель кода с поверхности тел вращения (фиг.1) состоит из блока обработки видеосигнала 1 и соединенного с ним оптического блока 2. Оптический блок 2 содержит располагающиеся вдоль оптической оси многоэлементный матричный фотоприемник 3, объектив 4, осветитель 5, содержащий осветительные элементы 6, установленные равномерно по окружности симметрично оптической оси в кольцевом коллиматоре 7, плоское зеркало 8 и коническое зеркало 9. Плоское зеркало 8 располагается под углом к оптической оси и имеет сквозное отверстие с центром в точке излома оптической оси для выхода изделия 10. Коническое зеркало 9 имеет сквозное отверстие по центру для ввода изделия 10 с нанесенным кодом 11.
Размер отражающих поверхностей зеркал 8 и 9 должен обеспечивать получение полной проекции кода 11 на фоточувствительной площадке многоэлементного матричного фотоприемника 3. Элементы оптического блока 2 установлены в корпусе 12, имеющем отверстия со стороны конического зеркала 9 и плоского зеркала 8, предназначенные, соответственно, для ввода и вывода изделия 10. Многоэлементный матричный фотоприемник 3 соединен с входом блока обработки видеосигнала 1. Осветитель 5 соединен с управляющим выходом блока обработки видеосигнала 1, а устройство синхронизации 13 соединено с управляющим входом блока обработки видеосигнала 1.
Предлагаемое устройство работает следующим образом: изделие 10 с нанесенным кодом 11 вводится через отверстие в корпусе 12 со стороны конического зеркала 9. В процессе движения изделия 10, в момент, когда изображение кода 11 проецируется на фоточувствительную область двумерного матричного фотоприемника 3, устройство синхронизации 13 выдает в блок обработки видеосигнала 1 сигнал синхронизации поступления изделия 10 на контрольную позицию. Блок обработки видеосигнала 1 включает фотоприемник 3 в режим регистрации изображения (накопления сигнала), а также включает на короткое время осветительные элементы 6. В оптическом блоке 2 световое излучение от осветительных элементов 6, располагающихся по окружности симметрично оптической оси объектива 4, ограничивается по углу кольцевым коллиматором 7 и далее, отражаясь от плоского зеркала 8 и конического зеркала 9, освещает область поверхности изделия 10 с нанесенным кодом 11.
Время импульсной подсветки кода 11 выбирается из условия отсутствия смаза изображения на фотоприемнике 3. В качестве осветительных элементов 6 предпочтительно использовать светодиоды. Равномерность освещения поверхности изделия 10 с кодовой информацией 11 обеспечивается плотностью расположения осветительных элементов 6 и подбором элементов 6 с близкими параметрами излучения. Кольцевой коллиматор 7 вырезает лучи света, освещающие только отражающую поверхность конического зеркала 9, и блокирует прохождение лучей, падающих на поверхность с кодом 11, минуя коническое зеркало 9. Освещенный посредством плоского зеркала 8 и конического зеркала 9 код 11 с помощью этих же зеркал и объектива 4 проецируется на фоточувствительную поверхность многоэлементного матричного фотоприемника 3. Изображение поверхности изделия 10 с кодом 11 на фоточувствительной площадке многоэлементного матричного фотоприемника 3 будет иметь вид кольцевой развертки считываемой поверхности в полярных координатах. Характер полученного изображения представлен на фиг.2, где 14 – изображение кода. С выхода многоэлементного матричного фотоприемника 3 видеосигнал поступает на выход оптического блока 2 и далее в блок обработки видеосигнала 1. Алгоритм работы блока обработки видеосигнала 1 приведен на фиг.3. После регистрации изображения кода на фоточувствительной матрице фотоприемника 3 изображение считывается в ОЗУ блока обработки видеосигнала 1. Считанная картинка представляет собой круговую панораму поверхности изделия 10 в области нанесенного кода 11. Из полученного изображения выделяется кольцевая область, содержащая полезную информацию. После геометрических преобразований изображение принимает обычный вид (фиг.4) и может быть обработано по одной из известных программ распознавания. Например, в случае буквенно-цифровой информации можно использовать программу Fine Reader [3].
В качестве блока обработки видеосигнала 1 может использоваться компьютер, например, IBM – PC с встроенными стандартными устройствами: адаптером видеокамеры Pic Port Mono фирмы Leutron Vision (устройство управления камерой) и многофункциональной платой сбора данных PCI-1712 фирмы ADVANTECH (включает порт приема сигнала синхронизации и ЦАП для управления осветителем).
В качестве двумерного матричного фотоприемника 3 может быть использована серийная цифровая ПЗС камера, например, КР-M1АР фирмы Hitachy.
Устройство синхронизации 13 может быть выполнено на оптопаре (светодиод-фотодиод) или на емкостном сенсоре, например, на сенсоре серии 600 фирмы MICRO-EPSILON. Позиция установки устройства синхронизации 13 относительно изделия 10 выбирается таким образом, чтобы импульсная подсветка поверхности с кодом 11 осуществлялась в момент проецирования изображения кода на фоточувствительную площадку многоэлементного матричного фотоприемника 3.
Пример. В качестве блока обработки видеосигнала 1 использован компьютер IBM PC Pentium. Многоэлементный матричный фотоприемник 3 выполнен на камере КР-М1АР с ПЗС матрицей, содержащей 752×582 фоточувствительных элементов (размер фоточувствительной области 8,72×6,52 мм). Объектив “Вега” 4 с относительным отверстием 2/20. Использовано 12 осветительных элементов 5 из светодиодов АЛ336К с матированной поверхностью. Коэффициент уменьшения изображения алфавитно-цифрового кода в плоскости многоэлементного матричного фотоприемника 3 составил 6-7. Коническое зеркало 9 изготовлено из металла с напыленной алюминием зеркальной поверхностью, расположенной под углом 45° к оптической оси. Плоское зеркало 8 с отверстием изготавливалось из обычного оптического зеркала.
Литература
1. Патент Российской Федерации RU 2071102, G 02 В 27/14.
2. Патент Российской Федерации RU 2183030, G 02 В 27/00.
3. Мир ПК, №12, 1995, стр.84-90.
Формула изобретения
Считыватель кода с поверхности тел вращения, содержащий блок обработки видеосигнала и оптический блок, содержащий расположенные последовательно на оптической оси двумерный матричный фотоприемник, соединенный с входом блока обработки видеосигнала, объектив, осветитель, коническое зеркало со сквозным отверстием для ввода изделия с кодом, отличающийся тем, что в него введено устройство синхронизации, выход которого соединен с портом приема сигнала синхронизации блока обработки видеосигнала, включающего двумерный матричный фотоприемник в режим регистрации изображения и осветитель, а в оптический блок введено плоское зеркало, расположенное под углом к плоскости объектива, перпендикулярной его оптической оси, и имеющее отверстие для прохода изделия с кодом с центром в точке излома оптической оси считывателя.
РИСУНКИ
MM4A – Досрочное прекращение действия патента СССР или патента Российской Федерации на изобретение из-за неуплаты в установленный срок пошлины за поддержание патента в силе
Дата прекращения действия патента: 04.07.2008
Извещение опубликовано: 20.06.2010 БИ: 17/2010
|
|