|
|
(21), (22) Заявка: 2004124917/28, 09.08.2004
(24) Дата начала отсчета срока действия патента:
09.08.2004
(45) Опубликовано: 10.07.2005
(56) Список документов, цитированных в отчете о поиске:
RU 2187139 C2, 10.08.2002. SU 1645934 A1, 30.04.1991. US 5704700, 06.01.1998. RU 2173000 С1, 27.08.2001. US 2004141234, 22.07.2004. WO 9835504, 13.08.1998.
Адрес для переписки:
190005, Санкт-Петербург, ул. 1-я Красноармейская, 1, БГТУ “Военмех”, пом. 453а
|
(72) Автор(ы):
Дуняшев Э.С. (RU), Телегин Ю.А. (RU), Трофимов Ю.В. (RU)
(73) Патентообладатель(и):
Дуняшев Эдварт Сулейманович (RU)
|
(54) ПРОЕКТОР
(57) Реферат:
Изобретение относится к проекционной технике, в частности к технике для создания сверхбольших изображений. Проектор содержит осветитель, пространственно-временной модулятор света (ПВМС) с двухмерной матрицей пикселей, световодный волоконный жгут, присоединенный одним торцом к двухмерной матрице пикселей таким образом, что каждому пикселю соответствует отдельный световод, экран. Экран выполнен просветным. Противоположный ПВМС торец каждого световода снабжается индивидуальной увеличивающей оптической системой. Увеличивающая оптическая система закреплена перед просветным экраном. Индивидуальные увеличивающие оптические системы в своей совокупности образуют фигуру, геометрически подобную двухмерной матрице пикселей ПВМС. Предлагаемый проектор позволяет создавать большие качественные движущиеся изображения без увеличения глубины проектора. 1 н. и 5 з.п. ф-лы, 2 ил.

Изобретение относится к проекционной технике, в частности к технике для создания сверхбольших изображений.
Известна светооптическая система для фотоувеличителя по патенту СССР №1645934, МПК G 03 В 27/54, основанная на прохождении потока света через кадровое окно и дальнейшем прохождении его через увеличивающую оптическую систему для проецирования увеличенного изображения кадра на экран. Светооптическая система содержит источник света с отражателем, размещенные между источником (лампой) и кадровым окном, перпендикулярно оптической оси установлены две рассеивающие пластины. За кадровым окном установлен проекционный объектив, проецирующий изображение на экран. Световой луч от светящейся нити лампы, представляющий точечный источник света, проходит через рассеивающие пластины, затем через объектив и строит в плоскости экрана световое пятно. Кроме того, световой луч от светящейся нити лампы отражается от каждой грани зеркальной поверхности отражателя и проходит через объектив и также образует ряд пятен на экране в зависимости от количества отражающих поверхностей отражателя.
Основным недостатком указанной светооптической системы являются большие габариты, в особенности необходимо большое расстояние между объективом и экраном, связанное с прямым ходом лучей между объективом и экраном.
Также известен лазерный проектор по патенту РФ №2187139, МПК G 03 B 21/12, который является наиболее близким по технической сущности к заявляемому изобретению, принятый в качестве ближайшего аналога.
Лазерный проектор состоит из лазерного резонатора, включающего пространственно-временной модулятор света (ПВМС) на ЖК, создающий двухмерную матрицу пикселей, преобразователь двухмерной матрицы пикселей в линейку пикселей, например световолоконный преобразователь (выходные концы световых волокон преобразователя 3 расположены в плоскости), объектив, дефлектор (например, поворачивающийся зеркальный барабан) и экран. Лазерный резонатор содержит ретранслирующую оптическую систему, состоящую из двух линз, расположенных таким образом, что два зеркала взаимно отображаются друг на друга, причем одно из зеркал может пропускать модулированный световой поток. Активный элемент размещается внутри ретранслирующей оптической системы, вблизи общей фокальной плоскости составляющих ее двух линз. ПВМС совмещен с зеркалом. Устройство работает следующим образом. На ПВМС известными способами создается изображение. Это может быть сделано непосредственно с помощью светоадресуемых ПВМС (фотопроводник – ЖК), либо используя координатные фотоприемники и управляемые компьютером электроадресуемые ПВМС. Далее сигнал, записанный на ПВМС, размещенном в фокальной плоскости линзы, считывается лазерным излучением. Для генерации лазерного излучения активный элемент возбуждается системой накачки. Момент формирования изображения соответствует моменту пропускания световой энергии зеркалом. При этом создается двухмерная матрица пикселей, которая проектируется на световолоконный преобразователь, преобразующий двухмерное изображение в линейку пикселей. Эта линейка пикселей проектируется через объектив на дефлектор, например зеркальный барабан, поворот которого синхронизирован с источником излучения. Управление ПВМС ведется таким образом, чтобы распределение пропускания (отражения) соответствовало распределению освещенности одной строки изображения. При срабатывании лазера на экране формируется изображение данной строки. При смене распределения пропускания ПВМС, синхронной с поворотом барабана на угол, соответствующий следующей строке изображения, и синхронном стабилизировании лазера происходит формирование второй строки изображения и т.д. При этом если число строк и пикселей равно, то число пикселей на экране увеличивается в квадратичной зависимости по сравнению с исходным числом пикселей на ПВМС.
Основным недостатком указанного лазерного проектора, принятого в качестве ближайшего аналога, является сравнимое с размером экрана расстояние от экрана до увеличивающего объектива, что приводит к увеличению габаритов лазерного проектора.
Перед изобретением поставлена задача снизить зависимость величины габаритов проектора от величины экрана.
Проектор, содержащий осветитель, пространственно-временной модулятор света (ПВМС) с двухмерной матрицей пикселей, световодный волоконный жгут, присоединенный одним торцом к двухмерной матрице пикселей таким образом, что каждому пикселю соответствует отдельный световод, экран, который выполнен просветным, противоположный ПВМС торец каждого световода снабжен индивидуальной увеличивающей оптической системой, которая закреплена перед просветным экраном, таким образом, что индивидуальные увеличивающие оптические системы в своей совокупности образуют фигуру, геометрически подобную двухмерной матрице пикселей ПВМС.
Каждая индивидуальная оптическая увеличивающая система может быть снабжена устройством для регулировки положения фокуса.
Параллельно просветному экрану может быть установлена пластина с гнездами для закрепления каждого противоположного ПВМС торца световода.
Устройство для регулировки положения фокуса индивидуальной оптической увеличивающей системы может быть расположено в каждом гнезде пластины и состоять из втулки с внешней резьбой, в которую вставлен световод, и двух гаек на резьбе втулки, расположенных по обе стороны пластины.
Противоположный ПВМС торец каждого световода может быть выполнен в виде увеличивающей линзы.
ПВМС может быть выполнен в виде жидкокристаллической матрицы.
Техническим результатом изобретения является снижение зависимости величины габаритов проектора от величины экрана по глубине проектора.
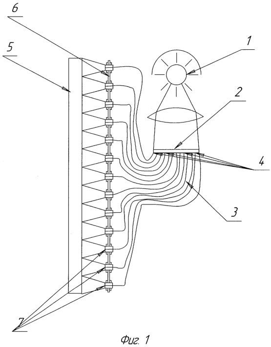
На фиг.1 изображена оптическая схема проектора.
На фиг.2 изображено крепление световода к индивидуальной оптической системе с возможностью регулировки.
Проектор (фиг.1) состоит из осветителя 1, двухмерной жидкокристаллической матрицы 2, расположенной поперек светового потока от осветителя 1 и выполняющей функцию пространственно-временного модулятора света (ПВМС). Световодный жгут 3 торцами световодов 4 присоединен к двухмерной жидкокристаллической матрице 2 таким образом, что к каждому пикселю двухмерной жидкокристаллической матрицы 2 соответствует один световод. Проектор также содержит просветный экран 5 и установленную параллельно между просветным экраном 5 и осветителем 1 пластину 6 с гнездами для закрепления противоположных двухмерной жидкокристаллической матрице 2 торцов 7 световодов световодного жгута 3. Количество гнезд пластины 6 равно количеству пикселей двухмерной матрицы 2 Расстояние между центрами гнезд пластины 6 равно расстоянию между оптическими осями торцов световодов 4, обращенных к двухмерной жидкокристаллической матрице 2, умноженному на коэффициент увеличения проектора. Торцы 7 световодов световодного жгута 3 закреплены в гнездах пластины 6 с помощью втулок (фиг.2) 8 с внешней резьбой, закрепленных в гнездах пластины 6 с помощью двух гаек 9 и 10 с разных сторон пластины на гнездо, позволяющих закреплять торец 7 световодов световодного жгута 3 на различном расстоянии от просветного экрана 5. Торцы 7 световодов световодного жгута 3 имеют форму увеличивающей линзы. Расстояние между пластиной 6 и просветным экран 5 приблизительно равно фокусному расстоянию увеличивающих линз торцов 7 световодов световодного жгута 3.
Проектор работает следующим образом: световой поток от осветителя 1 проходит через двухмерную жидкокристаллическую матрицу 2, затем световой поток разделяется по количеству пикселей двухмерной жидкокристаллической матрицы 2 и попадает в световоды световодного жгута 3. Затем световой поток выходит из каждого световода световодного жгута 3 и рассеивается на торце 7, имеющем форму увеличивающей линзы, и проецируется на просветный экран 5. На просветном экране 5 формируется изображение, подобное изображению на двухмерной жидкокристаллической матрице 2, но увеличенное в зависимости от коэффициента увеличения увеличивающих линз торцов 7 световодов, который является также общим коэффициентом увеличения проектора. Благодаря гибким свойствам световодов световодного жгута 3 возможно так расположить осветитель 1 и двухмерную жидкокристаллическую матрицу 2, что ширина и высота проектора будут равны ширине и высоте просветного экрана 5, глубина проектора будет ненамного превышать фокусное расстояние увеличивающих линз торцов 7 световодов.
Таким образом, достигнуто снижение зависимости величины габаритов проектора от величины экрана по глубине проектора.
Формула изобретения
1. Проектор, содержащий осветитель, пространственно-временной модулятор света (ПВМС) с двухмерной матрицей пикселей, световодный волоконный жгут, присоединенный одним торцом к двухмерной матрице пикселей таким образом, что каждому пикселю соответствует отдельный световод, и экран, отличающийся тем, что экран выполнен просветным, противоположный ПВМС торец каждого световода снабжен индивидуальной увеличивающей оптической системой, которая закреплена перед просветным экраном таким образом, что индивидуальные увеличивающие оптические системы в своей совокупности образуют фигуру, геометрически подобную двухмерной матрице пикселей ПВМС.
2. Проектор по п.1, отличающийся тем, что каждая индивидуальная оптическая увеличивающая система снабжена устройством для регулировки положения фокуса.
3. Проектор по п.1, отличающийся тем, что параллельно просветному экрану установлена пластина с гнездами для закрепления каждого противоположного ПВМС торца световода.
4. Проектор по п.2, отличающийся тем, что устройство для регулировки положения фокуса индивидуальной оптической увеличивающей системы расположено в каждом гнезде пластины и состоит из втулки с внешней резьбой, в которую вставлен световод, и двух гаек на резьбе втулки, расположенных по обе стороны пластины.
5. Проектор по п.1, отличающийся тем, что противоположный ПВМС торец каждого световода выполнен в виде увеличивающей линзы.
6. Проектор по п.1, отличающийся тем, что ПВМС выполнен в виде жидкокристаллической матрицы.
РИСУНКИ
MM4A – Досрочное прекращение действия патента СССР или патента Российской Федерации на изобретение из-за неуплаты в установленный срок пошлины за поддержание патента в силе
Дата прекращения действия патента: 10.08.2006
Извещение опубликовано: 20.06.2007 БИ: 17/2007
NF4A Восстановление действия патента СССР или патента Российской Федерации на изобретение
Дата, с которой действие патента восстановлено: 10.04.2008
Извещение опубликовано: 10.04.2008 БИ: 10/2008
MM4A – Досрочное прекращение действия патента СССР или патента Российской Федерации на изобретение из-за неуплаты в установленный срок пошлины за поддержание патента в силе
Дата прекращения действия патента: 10.08.2008
Извещение опубликовано: 20.07.2010 БИ: 20/2010
|
|