|
(21), (22) Заявка: 2002116220/28, 12.10.2000
(24) Дата начала отсчета срока действия патента:
12.10.2000
(30) Конвенционный приоритет:
12.11.1999 US 09/439,795 18.05.2000 US 09/573,267
(43) Дата публикации заявки: 20.03.2004
(45) Опубликовано: 10.07.2005
(56) Список документов, цитированных в отчете о поиске:
DE 3138514 А1, 14.04.1983. WO 99/0724 A3, 04.03.1999. US 3699804 A, 24.10.1972. FR 2510257 А1, 28.01.1983. SU 1239551 А1, 23.06.1986. SU 1520392 A1, 07.11.1989.
(85) Дата перевода заявки PCT на национальную фазу:
13.06.2002
(86) Заявка PCT:
US 00/28249 (12.10.2000)
(87) Публикация PCT:
WO 01/36936 (25.05.2001)
Адрес для переписки:
191002, Санкт-Петербург, а/я 5, ООО “Ляпунов и партнеры”, пат.пов. Н.Е.Свиридовой
|
(72) Автор(ы):
КЕНСЕЙ Кеннет (US), ХОГЕНАУЕР Вильям Н. (US), ЧО Юнг (US), КИМ Сангхо (US)
(73) Патентообладатель(и):
РЕОЛОДЖИКС, ИНК. (US)
|
(54) ВИСКОЗИМЕТР С ДВУМЯ ВОСХОДЯЩИМИ ТРУБКАМИ И ОДНИМ КАПИЛЛЯРОМ (ВАРИАНТЫ) И СПОСОБ ИЗМЕРЕНИЯ ВЯЗКОСТИ ЖИДКОСТЕЙ (ВАРИАНТЫ)
(57) Реферат:
Настоящее изобретение относится к устройству и способу измерения вязкости жидкостей, а более конкретно к устройству и способам измерения in vivo вязкости крови живых существ в широком диапазоне коэффициентов сдвига. Система измерения вязкости крови и способы измерения вязкости крови обеспечивают контроль за изменением высоты двух перемещающихся в противоположных направлениях столбиков крови из циркулирующей крови пациента и, при известных размерах капиллярной трубки, по которой течет кровь, определение вязкости крови в некотором диапазоне коэффициентов сдвига, в частности, при малых коэффициентах сдвига. В состав системы входит комплект трубок (одноразового или многоразового пользования), включающий пару восходящих трубок, капилляр заданных размеров, связывающий между собой две восходящие трубки и размещенный между ними (или образующий участок одной восходящей трубки), и клапанный механизм для регулирования потока циркулирующей крови от пациента в восходящие трубки. Предусмотрены соответствующие датчики, обеспечивающие контроль перемещения столбиков крови в каждой из восходящих трубок, и связанный с ними микропроцессор, анализирующий эти перемещения с учетом размеров капилляра с целью определения вязкости циркулирующей крови пациента. Согласно другому варианту выполнения системы и способа производится контроль только одного из двух перемещающихся в противоположных направлениях столбиков с одновременным определением отдельной точки высоты другого из перемещающихся столбиков. Исходя из этих данных, а также из размеров капилляра, производится определение вязкости крови в некотором диапазоне коэффициентов сдвига, в частности, при малых коэффициентах сдвига. 5 н. и 110 з.п. ф-лы, 21 ил.

Настоящее изобретение относится в целом к устройству и способу измерения вязкости жидкостей, а более конкретно – к устройству и способам измерения in vivo вязкости крови живых существ и в широком диапазоне коэффициентов сдвига.
Важность определения вязкости крови общеизвестна. Этой теме посвящены многочисленные работы – см. Fibroqen. Viscosity and White Blood Cell Count Are Major Risk Factors for Ischemic Heart Disease, by Yarnell et. al., Circulation, Vol.83, No.3. March 1991; Postprandial Changes in Plasma and Serum Viscosity and Plasma Lipids and Lipoproteins After an Acute Test Meal, by Tangney, et al., American Journal for Clinical Nutrition, 65:36-40, 1997; Studies of Plasma Viscosity in Primary Hyperlipoproteinaemia, by Leonhardt et al., Atherosclerosis 28, 29-40, 1977; Effects of Lipoproteins on Plasma Viscosity, by Seplowitz, et al., Atherosclerosis 38, 89-95, 1981; Hyperviscositv Syndrome in a Hypercholesterolemic Patient with Primary Biliary Cirrhosis, Rosenson, et al., Gastroenterology, Vol.98, No.5, 1990; Blood Viscosity and Risk of Cardiovascular Events: the Edinburgh Artery Study, by Lowe et al., British Journal of Hematology, 96, 168-171, 1997; Blood Rheology Associated with Cardiovascular Risk Factors and Chronic Cardiovascular Diseases: Results of an Epidemiologic Cross-Sectional Study, by Koenig, et al., Angiology, The Journal of Vascular Diseases, November 1988; Importance of Blood Viscoelasticitv in Arteriosclerosis, by Hell, et al., Angiology, The Journal of Vascular Diseases, June, 1989; Thermal Method for Continuous Blood-Velocity Measurements in Large Blood Vessels, and Cardiac-Output Determination, by Delanois, Medical and Biological Engineering, Vol.11, No.2, March 1973; Fluid Mechanics in Atherosclerosis, by Nerem, et al., Handbook of Bioengineering, Chapter 21, 1985.
Были предприняты многочисленные усилия с целью разработки устройства и способов для определения вязкости крови – см. Theory and Design of Disposable Clinical Blood Viscometer. by Lift et al., Biorheology, 25, 697-712, 1988; Automated Measurement of Plasma Viscosity by Capillary Viscometer. by Cook, et al., Journal of Clinical Pathology 41, 1213-1216, 1988: A Novel Computerized Viscometer/Rheometer by Jimenez and Kostic, Rev. Scientific Instruments 65, Vol.1, January 1994; A New Instrument for the Measurement of Plasma-Viscosity, by John Harkness, The Lancet, pp. 280-281, August 10, 1963; Blood Viscosity and Raynaud’s Disease, by Pringle, et al., The Lancet, pp.1086-1089, May 22, 1965; Measurement of Blood Viscosity Using a Conicylindrical Viscometer, by Walker et al., Medical and Biological Engineering, pp.551-557, September 1976.
В одном из источников, а именно в работе The Goldman Algorithm Revisited: Prospective Evaluation of a Computer-Derived Algorithm Versus Unaided Physician Judgment in Suspected Acute Myocardial Infarction, by Qamar, et al., Am Heart J 138(4):705-709, 1999, обсуждается использование алгоритма Голдмана для получения индикатора острого инфаркта миокарда. Этот алгоритм строится, главным образом, на фактах из анамнеза пациента, его объективном обследовании и электрокардиограмме, снятой в приемном отделении или кабинете неотложной помощи.
Кроме того, существует целый ряд патентов, касающихся устройств и способов измерения вязкости крови – см., например, патенты США №3342063 (Smythe et al.); 3720097 (Kron); 3999538 (Philpot, Jr.); 4083363 (Philpot); 4149405 (Ringrose); 4165632 (Weber et al.); 4517830 (Gunn [покойный] et al.); 4519239 (Kiesewetter et al.); 4554821 (Kiesewetter et al.); 4858127 (Kron et al.); 4884577 (Merrill); 4947678 (Hori et al.); 5181415 (Esvan et al.); 5257529 (Taniguchi et al.); 5271398 (Schlain et al.) и 5447440 (Davis et al.).
В патенте Smythe ’063 описано устройство для измерения вязкости образца крови, действие которого основано на определении давления в трубке, содержащей образец крови. В патенте Kron ’097 раскрыты способ и устройство для определения вязкости крови с использованием расходомера, источника давления и датчика давления. В патенте Philpot ’538 раскрыт способ определения вязкости крови путем отбора крови из вены при постоянном давлении в течение заданного промежутка времени и исходя из объема отобранной крови. В патенте Philpot ’363 раскрыты устройство для определения вязкости крови с использованием полой иглы, средства для отбора крови из вены через эту иглу, устройства для измерения отрицательного давления и таймера. В патенте Ringrose ’405 описан способ измерения вязкости крови, по которому образец крови помещают на подложку, пропускают через образец луч света и определяют отраженный свет, создавая вибрацию подложки с заданной частотой и амплитудой. В патенте Weber ’632 описаны способ и устройство для определения текучести крови путем прокачивания крови через измерительную камеру с капилляром в специальный сосуд, а затем возвращения крови обратно через трубку при постоянной скорости потока и с разницей давления между концами капилляра, которая зависит от вязкости крови. В патенте Gunn ‘830 описано устройство для определения вязкости крови, содержащее прозрачную плоскую трубку с иглой на одном конце и поршнем на другом конце для создания вакуума с целью извлечения заданного количества крови, а также грузик с насечкой, имеющий возможность перемещения внутри трубки, причем скорость его перемещения под действием силы тяжести определяется вязкостью крови. В патенте Kiesewetter ’239 описано устройство для определения напряжения сдвига потока суспензий, главным образом, крови, с использованием измерительной камеры, включающей конфигурацию протоков, имитирующую естественную микроциркуляцию капиллярных протоков в живом организме. В патенте Kiesewetter ’821 описано еще одно устройство для определения вязкости жидкостей, главным образом, крови, которое включает использование двух параллельных ветвей контура циркулирующей жидкости в сочетании с устройством для измерения скорости потока в одной из указанных ветвей с целью определения вязкости крови. В патенте Кrоn ’127 описаны устройство и способ для определения вязкости образца крови в широком диапазоне коэффициентов сдвига. В патенте Merrill ’577 описаны устройство и способ определения вязкости образца крови с использованием полой колонки, которая сообщается с камерой, содержащей пористый слой, и средство для измерения скорости крови внутри колонки. В патенте Hori ’678 описан способ определения изменения вязкости крови путем установки температурного датчика в поток крови и стимуляции крови таким образом, чтобы вызвать изменение ее вязкости. В патенте Esvan ’415 описано устройство, которое определяет изменение вязкости образца крови на основании относительного сдвига ведущего и ведомого элементов, которые удерживают образец крови и которые вращаются. В патенте Taniguchi ’529 описаны способ и устройство для определения вязкости жидкостей, например, образца крови, с использованием двух вертикально расположенных друг над другом трубок, соединенных между собой через тонкие трубки и с использованием датчика давления для определения изменения внутреннего давления в трубке во времени и при изменении скорости потока крови. В патенте Bedingham ’328 описана система для определения параметров внутрисосудистой крови, включающая катетер и зонд, снабженный множеством датчиков (таких, например, как датчик О2, датчик СО2 и пр.) для измерения отдельных параметров крови in vivo. В патенте Schlain ’398 описаны способ и устройство для внутрисосудистого обнаружения нежелательного пристеночного эффекта на датчики параметров крови и перемещения этих датчиков с целью ослабления или устранения указанного эффекта. В патенте Davis ’440 описано устройство для проведения разнообразных тестов, которые чувствительны к изменению вязкости образца жидкости, например, крови.
Способы и устройства для измерения вязкости жидкостей в общем известны – см., например, патенты США №1810992 (Dallwitz-Wegner); 2343061 (Irany); 2696734 (Brunstrum et al.); 2700891 (Shafer); 2934944 (Eolkin); 3071961 (Heigl et al.); 3116630 (Piros); 3137161 (Lewis et al.); 3138950 (Welty et al.); 3277694 (Cannon et al.); 3286511 (Harkness); 3435665 (Tzentis); 3520179 (Reed); 3604247 (Gramain et al.); 3666999 (Moreland, Jr. et al.); 3680362 (Geerdes et al.); 3699804 (Gassmann et al.); 3713328 (Aritomi); 3782173 (Van Vessem et al.); 3864962 (Stark et al.); 3908441 (Virloget); 3952577 (Hayes et al.); 3990295 (Renovanz et al.); 4149405 (Ringrose); 4302965 (Johnson et al.); 4426878 (Price et al.); 4432761 (Dawe); 4616503 (Plungis et al.); 4637250 (Irvine, Jr. et al.); 4680957 (Dodd); 4680958 (Ruelle et al.); 4750351 (Ball); 4856322 (Langrick et al.); 4899575 (Chu et al.); 5142899 (Park et al.); 5222497 (Ono); 5224375 (You et al.); 5257529 (Taniguchi et al.); 5327778 (Park) и 5365776 (Lehmann et al.).
Имеется также ряд патентов США, в которых описаны устройства для измерения вязкости или потока либо устройства для определения уровня жидкости с использованием оптических средств контроля, – это патенты №3908441 (Virloget); 5099698 (Kath et al.); 5333497 (Br nd Dag A. et al.). В патенте Virloget ’441 описано устройство, включенное в состав вискозиметра, которое определяет уровень жидкости в прозрачной трубке с использованием фотодетекции. В патенте Kath ’698 описано устройство для оптического сканирования расходомера ротаметрического типа и определения положения находящегося в нем поплавка. В патенте Br nd Dag A. ’497 описаны способ и устройство для непрерывного измерения скорости потока жидкости в двух вертикальных трубках с помощью датчика в виде прибора с зарядовой связью (ПЗС).
В патенте США №5421328 (Bedingham) описана система для определения характеристик внутрисосудистой крови.
В официально зарегистрированном изобретении Н93 (Matta et al.) описаны устройство и способ для измерения элонгационной вязкости испытуемой жидкости с использованием кино- или телевизионной камеры с целью контроля за стеканием этой жидкости.
О деформируемости эритроцитов и/или устройствах для ее измерения говорится в следующих работах: Measurement of Human Red Blood Cell Deformability Using a Single Micropore on a Thin Si3N4Film, by Ogura et al., IEEE Transactions on Biomedical Engineering, Vol.38, No.8, August 1991; the Pall BPF4 High Efficiency Leukocyte Removal Blood Processing Filter System. Pall Biomedical Products Corporation, 1993.
Недавно в Интернет-сайте www.hevimet.freeserve.co.uk. была дана реклама устройства, названного “Hevimet 40”. Там было сказано, что это устройство представляет собой вискозиметр для измерения вязкости цельной крови и плазмы, обеспечивающий прослеживание за мениском образца крови, который падает в капиллярной трубке под действием силы тяжести.
Хотя в рассматриваемой области уже существует ряд разработок, все-таки сохраняется потребность в устройстве и способе для определения in vivo вязкости крови живого организма в широком диапазоне коэффициентов сдвига и быстрого получения этих результатов.
ЦЕЛИ ИЗОБРЕТЕНИЯ
Таким образом, основной целью настоящего изобретения является создание устройства и способов, которые позволили бы удовлетворить указанную потребность.
Другой целью изобретения является создание устройства и способов для измерения вязкости циркулирующей крови в широком диапазоне коэффициентов сдвига, в частности, при очень низких коэффициентах сдвига.
Еще одна цель изобретения состоит в создании устройства и способов для определения вязкости циркулирующей крови живого организма (например, измерения in vivo вязкости крови) без необходимости непосредственного измерения давления, расхода и объема.
Следующей целью изобретения является быстрое получение индикации вязкости циркулирующей крови живого организма.
Следующей целью изобретения является создание устройства и способов для измерения вязкости циркулирующей крови живого организма с минимальным применением инвазивных методов.
Следующей целью изобретения является создание устройства и способов для измерения вязкости циркулирующей крови живого организма, которые не требовали бы использования антикоагулянтов и других химических веществ, а также биологически активных материалов.
Следующей целью изобретения является создание устройства и способов для измерения вязкости крови живого организма, при которых кровь не подвергается воздействию атмосферы или кислорода.
Следующей целью изобретения является создание устройства и способов для определения вязкости циркулирующей крови одновременно с отведением крови в какое-либо средство для ее переноса (например, иглу), которое каким-либо способом связано с пациентом, например введено в него.
Следующей целью изобретения является создание устройства и способов для измерения вязкости циркулирующей крови живого организма с применением одноразовых элементов для обеспечения стерильности, удобства в эксплуатации и повтора испытаний.
Следующей целью изобретения является создание устройства и способов для измерения вязкости крови, обеспечивающих возможность определения тиксотропных точек крови.
Следующей целью изобретения является создание устройства и способов для определения предела текучести циркулирующей крови.
Следующей целью изобретения является создание устройства и способов для определения вязкости циркулирующей крови, обеспечивающих возможность оценки эффективности различных фармацевтических препаратов и т.п. в изменении вязкости крови живого организма.
Следующей целью изобретения является создание устройства и способов для определения вязкости циркулирующей крови пациента с исключением влияния венозного давления.
КРАТКОЕ ИЗЛОЖЕНИЕ СУЩНОСТИ ИЗОБРЕТЕНИЯ
В соответствии с одним из признаков изобретения предлагается устройство для определения движения жидкости с разными коэффициентами сдвига, в котором использовано уменьшение перепада давлений. В состав этого устройства входят: источник жидкости, приподнятый над некоторой горизонтальной плоскостью; элемент гидродинамического сопротивления, имеющий первый конец и второй конец, причем первый конец имеет жидкостное соединение с источником жидкости; вертикальная трубка, один конец которой соединен со вторым концом элемента гидродинамического сопротивления, а второй конец выходит в атмосферу, причем эта вертикальная трубка установлена под некоторым углом, превышающим ноль градусов, относительно горизонтальной плоскости, и датчик для определения перемещения жидкости, вызванного уменьшением перепада давлений, в вертикальной трубке с разными коэффициентами сдвига в процессе движения жидкости от источника жидкости через элемент гидродинамического сопротивления в восходящую трубку.
В соответствии с другим признаком изобретения предлагается устройство для определения вязкости неньютоновской жидкости с разными коэффициентами сдвига с использованием уменьшения перепада давлений. Это устройство содержит: источник неньютоновской жидкости, приподнятый над некоторой горизонтальной плоскостью; капилляр, имеющий первый конец и второй конец, причем первый конец соединен с источником неньютоновской жидкости; восходящую трубку, один конец которой соединен с первым концом капилляра, а второй конец выходит в атмосферу, причем эта восходящая трубка установлена под некоторым углом, превышающим ноль градусов, относительно горизонтальной плоскости; датчик для определения перемещения неньютоновской жидкости, вызванного уменьшением перепада давлений, в восходящей трубке с разными коэффициентами сдвига в процессе движения неньютоновской жидкости от источника неньютоновской жидкости через капилляр в восходящую трубку, причем этот датчик генерирует данные, относящиеся к перемещению неньютоновской жидкости во времени; и связанный с датчиком компьютер для вычисления вязкости неньютоновской жидкости на основе данных, относящихся к перемещению неньютоновской жидкости во времени.
В соответствии с еще одним признаком изобретения предлагается устройство для выполнения измерения (например, в реальном времени) вязкости крови, циркулирующей в живом организме. Это устройство содержит: полый элемент, выполненный с возможностью его связи с сосудистой системой живого организма; пару трубок, соответствующие первые концы которых соединены с полым элементом для приема циркулирующей крови от живого организма, причем одна трубка из пары трубок представляет собой капиллярную трубку с некоторыми известными параметрами; клапан для регулирования потока циркулирующей крови от сосудистой системы живого организма к паре трубок и связанный с клапаном анализатор для управления клапаном с целью пропускания потока крови в пару трубок, вследствие чего кровь в каждой трубке из пары трубок занимает соответствующее начальное положение относительно нее. Анализатор обеспечивает также такое управление работой клапана, при котором достигается изоляция пары трубок от сосудистой системы живого организма, и такое соединение вместе пар трубок, при котором происходит изменение положения крови в паре трубок. Кроме того, анализатор обеспечивает контроль изменения положения крови в одной из трубок, определение, по меньшей мере, одного положения крови в другой из трубок и вычисление на его основе вязкости крови.
В соответствии со следующим признаком изобретения предлагается способ определения вязкости (например, в реальном времени) циркулирующей крови живого организма. Этот способ включает в себя следующие этапы: (а) доступ к циркулирующей крови живого организма с целью получения входного потока циркулирующей крови; (б) разделение входного потока циркулирующей крови на первый контур потока и второй контур потока, в которые поступают соответствующие части входного потока, причем один из контуров потока – первый или второй – включает проходной участок с некоторыми известными параметрами; (в) отделение первого и второго контуров потока от входного потока и такое соединение друг с другом первого и второго контуров потока, при котором происходит изменение положения крови в каждом из контуров потока; (г) контроль изменения во времени положения крови в одном из двух контуров потока; (д) определение, по меньшей мере, одного положения крови в другом из двух контуров потока и (е) вычисления вязкости циркулирующей крови на основе изменения положения крови и известных параметров проходного участка.
В соответствии со следующим признаком изобретения предлагается устройство для выполнения измерения вязкости (например, в реальном времени) циркулирующей крови живого организма. Это устройство содержит: полый элемент, выполненный с возможностью его связи с сосудистой системой живого организма; пару трубок, имеющих соответствующие первые концы и вторые концы, причем первые концы соединены друг с другом через капиллярную трубку с некоторыми известными параметрами; клапан для регулирования потока циркулирующей крови от сосудистой системы живого организма к паре трубок, причем клапан соединен со вторым концом одной трубки из пары трубок и соединен с полым элементом; и связанный с клапаном анализатор для управления клапаном с целью пропускания потока крови в пару трубок, вследствие чего кровь в каждой трубке из пары трубок занимает соответствующее начальное положение относительно нее. Анализатор обеспечивает также такое управление работой клапана, при котором достигается такая изоляция пары трубок от сосудистой системы живого организма, при которой происходит изменение положения крови в паре трубок. Кроме того, анализатор обеспечивает контроль изменения положения крови в одной из трубок, обнаружение, по меньшей мере, одного положения крови в другой из трубок и вычисление на его основе вязкости крови.
Наконец, в соответствии с еще одним признаком изобретения предлагается способ определения вязкости (например, в реальном времени) циркулирующей крови живого организма. Этот способ включает в себя этапы: (а) доступ к циркулирующей крови живого организма с целью формирования входного потока циркулирующей крови; (б) подачу входного потока к одному концу пары соединенных друг с другом трубок через проходной участок с некоторыми известными параметрами, в результате чего входной поток поступает через первую трубку из пары трубок и через проходной участок на первый участок второй трубки из пары трубок с формированием соответствующих столбиков в первой и второй трубках; (в) отделение соответствующих столбиков от входного потока, вследствие чего происходит изменение положения крови в каждом из столбиков; (г) контроль изменения во времени положения крови в соответствующих столбиках крови; (д) обнаружение, по меньшей мере, одного положения крови в другом из столбиков крови; (е) вычисления вязкости циркулирующей крови на основе изменения положения крови, по меньшей мере, одного положения крови и известных параметров проходного участка.
ОПИСАНИЕ ЧЕРТЕЖЕЙ
Указанные цели и ряд преимуществ настоящего изобретения с очевидностью явствуют из нижеследующего подробного описания, рассматриваемого в сочетании с приложенными чертежами.
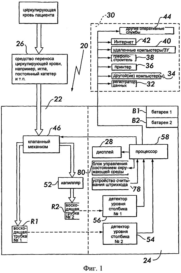
На фиг.1 показана блок-схема вискозиметра с двумя восходящими трубками и одним капилляром (ДВОК).
На фиг.2 дан вид спереди для одного из вариантов осуществления вискозиметра ДВОК с иллюстрацией соответствующих корпусов для блока приема крови с открытой дверцей и блока анализатора/вывода.
На фиг.2А дан вид спереди для варианта осуществления вискозиметра ДВОК по фиг.2, но с заменой одного из детекторов уровня столбика на точечный детектор.
На фиг.3 приведен вид сбоку для варианта по фиг.2.
На фиг.4 представлена функциональная диаграмма вискозиметра ДВОК непосредственно перед проведением теста на вязкость.
На фиг.5 представлена функциональная диаграмма вискозиметра ДВОК в процессе проведения теста на вязкость.
На фиг.6 дано графическое представление соответствующих столбиков жидкости в восходящих трубках вискозиметра ДВОК в процессе проведения теста на вязкость.
Фиг.7А-7С иллюстрируют работу клапанного механизма вискозиметра ДВОК непосредственно перед проведением и в процессе проведения теста на вязкость.
На фиг.8 приведена блок-схема вискозиметра ДВОК, обеспечивающего определение перемещения столбика жидкости в каждой из восходящих трубок, с использованием датчиков разных типов.
На фиг.9А и 9В дана блок-схема, иллюстрирующая работу вискозиметра ДВОК.
На фиг.10А дано графическое представление вязкости циркулирующей крови живого пациента, соответствующее определенному диапазону коэффициентов сдвига.
На фиг.10В дано графическое представление зависимости логарифма вязкости циркулирующей крови живого пациента от логарифма коэффициента сдвига.
На фиг.11 показан пример выполнения участка капилляра и восходящей трубки средства приема крови.
На фиг.12 дан частичный поперечный разрез по линии 12-12 на фиг.11.
На фиг.13 дана блок-схема другого, более предпочтительного варианта вискозиметра с двумя восходящими трубками и одним капилляром (ДВОК).
На фиг.14 показан вид спереди для второго варианта осуществления вискозиметра ДВОК с иллюстрацией соответствующих корпусов для средства приема крови с открытой дверцей и блока анализатора/вывода.
На фиг.14А дан вид спереди для варианта осуществления вискозиметра ДВОК по фиг.14, но с заменой одного из детекторов уровня столбика на точечный детектор.
На фиг.15 представлена функциональная диаграмма для второго варианта осуществления вискозиметра ДВОК непосредственно перед проведением теста на вязкость.
На фиг.16 представлена функциональная диаграмма для второго варианта осуществления вискозиметра ДВОК в процессе проведения теста на вязкость.
Фиг.17А-17С иллюстрируют работу клапанного механизма вискозиметра ДВОК согласно второму варианту осуществления непосредственно перед проведением и в процессе проведения теста на вязкость.
На фиг.18 приведена блок-схема для второго варианта осуществления вискозиметра ДВОК, обеспечивающего обнаружение движения столбика жидкости в каждой из восходящих трубок, с использованием датчиков разных типов.
На фиг.19А и 19В приведена блок-схема, иллюстрирующая работу вискозиметра ДВОК согласно второму варианту осуществления.
На фиг.20 показан пример выполнения участка восходящих трубок с капилляром блока приема крови согласно второму варианту осуществления вискозиметра ДВОК.
На фиг.21 дан частичный поперечный разрез по линии 21-21 на фиг.20.
ПОДРОБНОЕ ОПИСАНИЕ ПРЕДПОЧТИТЕЛЬНЫХ ВАРИАНТОВ ОСУЩЕСТВЛЕНИЯ ИЗОБРЕТЕНИЯ
Одно из ключевых новшеств, которые предлагаются согласно настоящему изобретению, состоит в определении перемещения жидкости с разными коэффициентами сдвига с использованием уменьшения перепада давлений. Более четко это можно увидеть на фиг.16, где показан источник жидкости (например, крови живого организма, циркулирующей через средство переноса 26 циркулирующей крови), расположенный выше некоторой горизонтальной плоскости (href). На этой схеме показан также элемент гидродинамического сопротивления (например, капилляр 52), один конец которого имеет жидкостное соединение с источником жидкости (например, через восходящую трубку R1), а другой конец соединен с восходящей трубкой (R2), выведенной в атмосферу. Как будет показано ниже, при открытии клапанного механизма 46 жидкость перемещается от источника жидкости через элемент гидродинамического сопротивления и вверх по восходящей трубке, вначале с высокой скоростью, а затем с замедлением, обусловленным уменьшением перепада давлений, то есть в некотором диапазоне коэффициентов сдвига. Имеется датчик (например, детектор 56 уровня столбика), который обнаруживает это перемещение жидкости с разными коэффициентами сдвига. После того, как данные зависимости высоты столбика от времени в сочетании с параметрами элемента гидродинамического сопротивления, вводятся в компьютер (например, процессор), становится возможным определение вязкости жидкости для разных коэффициентов сдвига. Это может быть очень полезным для определения вязкости неньютоновских жидкостей. В данной заявке на патент описан ряд применений этой системы для целей определения вязкости такой типично неньютоновской жидкости, как циркулирующая кровь живого организма.
Как было указано выше, данная заявка представляет собой частичное продолжение первой заявки США №08/919906, поданной 28 августа 1997 г. (ныне патент США 6019735) с названием УСТРОЙСТВО ДЛЯ ИЗМЕРЕНИЯ ВЯЗКОСТИ И СПОСОБ ЕГО ИСПОЛЬЗОВАНИЯ, которая принадлежит заявителю настоящей заявки и полное раскрытие которой приведено здесь в порядке ссылки. Для измерения вязкости циркулирующей крови, включая цельную кровь, живого организма предпочтительны в целом устройство и способ, описанные в заявке №08/919906 (ныне патент США 6019735). При работе с таким устройством можно для устранения влияния венозного давления в условиях малых коэффициентов сдвига использовать манжеты или аналогичные средства.
На фиг.1 позицией 20 обозначено другое устройство для реализации способа, в соответствии с которым устраняется влияние давления при низких коэффициентах сдвига при измерении вязкости циркулирующей крови, включая цельную кровь, живого организма. Основными компонентами вискозиметра 20 с двумя восходящими трубками и одним капилляром (ДВОК) являются блок приема крови 22 и блок анализатора/вывода 24. Пациент подключается к вискозиметру ДВОК 20 через средство для переноса циркулирующей крови 26, например, простую иглу, иглу для внутривенных инъекций, катетер и т.п., либо любое другое аналогичное устройство, обеспечивающее перенос циркулирующей крови от пациента к вискозиметру ДВОК 20. Как будет детальнее показано ниже, предусмотренный в блоке анализатора/вывода 24 дисплей 28 обеспечивает отображение информации о вязкости, равно как и другой необходимой оператору информации. Кроме того, эта информация может передаваться из указанного блока на другую подходящую систему вывода, состоящую, например, из регистратора данных 32, другого(их) компьютера(ов) 34, принтера 36, графопостроителя 38, удаленных компьютеров/ЗУ 40 и сети Интернет 42, или в другие диалоговые службы 44.
Основными компонентами блока приема крови 22 являются клапанный механизм 46, соединенный с одной стороны с первой восходящей трубкой R1 и с другой стороны, через капилляр 52, – со второй восходящей трубкой R2. Капилляр 52 имеет небольшой, порядка 0,8 мм, равномерный внутренний диаметр и длину порядка 60 мм. При соединении средства для переноса циркулирующей крови 26 (ниже именуется СПЦК) с блоком приема крови 22 клапанный механизм 46 обеспечивает, как будет показано ниже, регулировку потока крови в блок 22. Обе восходящие трубки R1 и R2 имеют в предпочтительном варианте одни и те же размеры – длину порядка 12 дюймов ( 30 см) и внутренний диаметр 2 мм.
Следует иметь в виду, что блок приема крови 22 может быть выполнен в виде системы как одноразового, так и многократного пользования. Как будет показано ниже, в случае работы со средством приема крови одноразового пользования его компоненты (клапанный механизм 46, восходящие трубки R1 и R2, капилляр 52) закреплены с возможностью съема в корпусе этого средства, который можно быстро и легко вставить, использовать в ходе теста на вязкость, а затем быстро и легко снять и отправить на утилизацию, после чего вставляют другое одноразовое средство приема крови, подготавливая его к следующему тесту на вязкость. Когда же работают с блоком приема крови 22 многократного пользования, его компоненты (клапанный механизм 46, восходящие трубки R1 и R2, капилляр 52) можно тщательно промыть и очистить прямо на месте эксплуатации, с тем чтобы подготовить их к следующему тесту на вязкость.
Следует также иметь в виду, что капилляр 52 не обязательно должен иметь вытянутую форму – возможны самые разнообразные его конфигурации, например, в виде спиральной трубки.
Основными компонентами блока анализатора/вывода 24 являются первый детектор уровня столбика 54, второй детектор уровня столбика 56, процессор 58, дисплей 28, устройство считывания штрихового кода 78, блок контроля за состоянием окружающей среды 80, первая батарея В1 и вторая, резервная, батарея В2. Первый детектор уровня столбика 54 осуществляет контроль уровня крови в первой восходящей трубке R1, а второй детектор уровня столбика 56 – во второй восходящей трубке R2. Процессор 58 (например, микропроцессор серии “386” или более позднего поколения либо какой-нибудь аналогичный) выполняет анализ данных, поступающих от детекторов 54, 56 и вычисляет на их основе вязкость крови, что будет ниже рассмотрено более детально. Этот процессор управляет также работой дисплея 28 с целью предоставления данных вязкости и другой информации оператору, а также выдачи этой информации на другие средства вывода 30. Кроме того, как будет показано ниже, процессор 58 управляет работой клапанного механизма 46 на основе данных, поступающих от детекторов 54, 56. Батарея В1 обеспечивает всю требуемую мощность для блока анализатора/вывода 24, тогда как батарея В2 служит резервным источником питания. Работа устройства считывания штрихового кода 78 и блока управления состоянием окружающей среды 80 будет рассмотрена ниже.
Как видно более четко на фиг.2 и 3, вискозиметр ДВОК 20 содержит согласно предпочтительному варианту выполнения блок приема крови 22 и блок анализатора/вывода 24, заключенные в корпуса соответственно 60 и 62, каждый из которых может быть закреплен с возможностью съема на общей опоре, например, на стандартном держателе 48 иглы для внутривенных инъекций. В этой конструкции блок анализатора/вывода 24 может быть установлен наклонно (см. фиг.3), с тем чтобы облегчить работу пользователя и наблюдение за дисплеем 28. Однако следует понимать, что конструкции соответствующих корпусов показаны здесь лишь в качестве примера, так что, не ограничивая объем изобретения, можно предусмотреть и другие варианты их выполнения.
Дисплей 28 может быть выполнен в виде любой традиционной системы – такой, например, как ЭЛД (электролюминесцентный дисплей) или ЖКД (жидкокристаллический дисплей), которая обеспечивала бы отображение как текстовой, так и графической информации. Разрешающая способность дисплея 28 равна в предпочтительном варианте 800×600 VGA (видеографических матриц) и более. Кроме того, хотя в предпочтительном варианте используется дисплей с сенсорным экраном, который в числе прочих элементов содержит:
графический дисплей 61, дисплей 65 для команд и/или для данных (имеет также командную строку, для которой на схеме показана команда RUN TEST [выполнить тест], – например, TESTING [тестирование], TEST IN PROGRESS [выполняется тест] и пр.);
буквенно-цифровую клавиатуру 68;
кнопку аварийного останова 70;
индикаторы 72А и 72В состояния батарей;
функциональные клавиши 74,
совершенно очевидно, что в пределах объема изобретения может быть применено любое другое аналогичное устройство отображения. Так, вместе с дисплеем 28 можно использовать любое количество пользовательских интерфейсов. Поэтому выполнение вискозиметра 20 согласно изобретению не ограничивается вариантом, показанным на фиг.2. Кроме того, можно построить работу с дисплеем 28 таким образом, чтобы свернуть, развернуть или наложить любое графическое или текстовое экранное изображение, имеющееся в любой стандартной объектно-ориентированной операционной системе типа Microsoft® WINDOWS.
В нижний корпус 60 помещены блок приема крови 22 и два детектора уровня столбика 54 и 56. Согласно предпочтительному варианту выполнения каждый из детекторов уровня столбика 54, 56 содержит излучатель СИД (светоизлучающий диод) 64 и ПЗС (прибор с зарядовой связью) 66, которые находятся на противоположных сторонах обеих восходящих трубок R1 и R2. Во время работы детекторов уровня столбика 54, 56 каждый излучатель СИД 64 освещает соответствующую восходящую трубку R1 или R2, и в зависимости от того, есть ли в них столбик жидкости, различные пиксели (элементы изображения) в ПЗС 66 будут детектировать свет от излучателя СИД 64 (жидкости в трубке нет, поэтому через нее проходит свет) или не будут (в трубке есть жидкость, которая не дает проходить свету от излучателя СИД 64). Данные элементов изображения от каждого ПЗС 66 поступают в блок анализатора/вывода 24 по стандартным проводам (не показаны), где они обрабатываются процессором 58. Кроме того, по этим проводам подается питание на излучатель СИД 64 и приборы ПЗС 66 от батарей В1, В2, если эти батареи помещены в корпус 62 блока анализатора/вывода.
При работе с блоком приема крови 22 одноразового пользования он крепится с возможностью съема в корпусе 60 таким образом, чтобы, как только завершится тест и/или на испытание поступит новый пациент, можно было легко и быстро снять все полые элементы (например, трубку 50, капилляр 52, восходящие трубки R1, R2 и клапанный механизм 46), отправить их на утилизацию и вставить новый комплект. Так, например, можно использовать кронштейны 47 (фиг.2) для крепления с возможностью съема верхних частей восходящих трубок R1, R2 и их нижних частей; клапанный механизм 46 имеет канал 49, плотно вставляемый в отверстие (не показано), выполненное в нижней стенке корпуса 60. Детекторы уровня столбика 54, 56 выполнены в предпочтительном варианте без возможности съема с корпуса 60. Имеется дверца 76 (ее можно прикрепить к корпусу 60 с помощью вертикального или горизонтального шарнира) для создания затемнения на время теста. Кроме того, на дверце 76 крепится упомянутое выше устройство считывания штрихового кода 78. Это устройство автоматически считывает штриховой код (не показан), предусмотренный на одной из восходящих трубок (например, R2). В этом коде содержится вся заданная информация о характеристиках капилляра 52 (например, о его длине и диаметре) и восходящих трубок R1, R2. Эта информация поступает в процессор 58, который выполняет на ее основе, как будет показано ниже, определение вязкости. От устройства считывания штрихового кода 78 эта информация передается в процессор 58 по упомянутым выше монтажным жгутам. Следует иметь в виду, что размещение (на дверце 76) устройства считывания штрихового кода 78 показано здесь лишь в качестве примера, так что в пределах объема изобретения можно предусмотреть другие места его крепления.
Следует также иметь в виду, что кронштейны 47 нисколько не мешают определению уровня столбика, поскольку перемещение крови в каждой из соответствующих восходящих трубок R1, R2, которая контролируется в процессе теста на вязкость, имеет место между верхней и нижней парами кронштейнов 47.
Кроме того, на дверце 76 крепится блок управления состоянием окружающей среды 80 (например, нагреватель, вентилятор и/или термореле) таким образом, чтобы при ее закрытии для подготовки к тесту происходил нагрев (или охлаждение) капилляра 52, причем его температура и окружающие условия должны поддерживаться в течение всего теста такими же, как у пациента. Перед началом теста оператор измеряет температуру пациента и вводит ее через дисплей с сенсорным экраном 28. После этого блок управления состоянием окружающей среды 80 выполняет действия, направленные на достижение и поддержание этой температуры. Следует заметить, что в объем изобретения в его наиболее полном виде может быть включен такой блок управления состоянием окружающей среды 80, который обеспечивает достижение такой же температуры, как у пациента, и ее поддержание в процессе теста для всего средства приема крови 22. Питание на устройство считывания штрихового кода 78 и блок управления состоянием окружающей среды 80 поступает от блока анализатора/вывода 24 по упомянутым выше проводам (не показаны). Один из типовых вариантов выполнения блока приема крови 22 продемонстрирован на фиг.11 и 12. В частности, восходящие трубки R1 и R2 (полученные, например, литьем под давлением) имеют выполненные за одно целое с ними колена 50А и 50В, которые вставляются в соответствующие каналы (не показаны) клапанного механизма 46 (например, одиночного трехходового запорного крана). Перед вводом колена 50В восходящей трубки R2 в соответствующий канал клапанного механизма внутрь этой трубки помещают вкладыш 53 с внутренним капилляром 52. Как лучше видно на фиг.12, вкладыш 53 имеет конический входной канал 55 и конический выходной канал 57, обеспечивающие сведение к минимуму малейшей турбулентности при поступлении циркулирующей крови от клапанного механизма по колену 50В вверх в восходящую трубку R2.
В качестве батарей В1, В2 могут использоваться батареи на 12 В пост. тока, 4 ампер-часа или любой другой аналогичный источник питания (например, ионно-литиевые батареи для стандартных портативных компьютеров). В дисплее 28 предусмотрены индикаторы состояния 72А, 72В для каждой батареи вискозиметра ДВОК 20. В частности, когда вискозиметр работает от батареи В1, на экране дисплея 28 видны оба индикатора 72А и 72 В. Однако как только батарея В1 разрядилась, индикатор ее состояния 72А исчезает, и начинает мигать сигнал индикатора 72В, предупреждая оператора о том, что вискозиметр работает теперь от резервной батареи В2, и необходима перезарядка батареи В1.
Согласно другому варианту выполнения конструкцию фиг.2 можно изменить таким образом, чтобы для контроля уровня одного из столбиков использовался только один из детекторов 56, тогда как для получения экспериментальной точки для уровня другого столбика будет использоваться точечный детектор 954. В частности, как видно на фиг.2А, один из детекторов уровня столбика – поз. 54 – заменен на точечный детектор 954. В основу этой модификации положена симметрия характеристик изменения во времени высоты столбика крови (то есть h1(t) и h2(t)) (см. фиг.6). Пока осуществляется контроль одного из двух столбиков крови 82, 84 (см. фиг.4), можно получить данные по изменению во времени высоты другого столбика благодаря использованию точки высоты другого столбика. Предпочтительный способ (с применением соответствующего устройства) состоит в контроле поднимающегося столбика крови 84 в восходящей трубке R2 и в определении начального соответствующего тесту на вязкость уровня (то есть h1i, как будет детальнее показано ниже) столбика крови 82 в восходящей трубке R1. Таким образом, объем изобретения в его наиболее полном виде включает в себя: (1) контроль обоих перемещающихся столбиков крови (фиг.2) или (2) контроль одного из перемещающихся столбиков крови с одновременным определением одной точки для другого столбика (фиг.2А).
В частности, точечный детектор 954 может состоять (хотя изобретение не ограничивается этим вариантом) из светодиода 964 и фотодетектора 966, которые детектируют конкретный уровень столбика крови, например, h1i, как тоже будет детальнее показано ниже.
Принцип определения вязкости с использованием вискозиметра ДВОК 20 заключается в контроле изменения высоты двух перемещающихся в противоположных направлениях столбиков циркулирующей крови пациента при заданных размерах капилляра, по которому должна протекать кровь. Вискозиметр 20 выполняет эту задачу путем такого управления работой клапанного механизма 46, при котором в первую очередь устанавливается оптимальная разность высот двух столбиков крови в соответствующих восходящих трубках R1 и R2 (фиг.4). Как только эта разность получена, вискозиметр 20 обеспечивает связывание друг с другом обоих столбиков крови через свой клапанный механизм 46, благодаря чему достигается их уравновешивание, при этом одновременно производится контроль за перемещением обоих столбиков крови (фиг.5).
В частности, как видно на фиг.4, обеспечивается возможность непрерывного потока крови пациента от СПЦК 26 через клапанный механизм 46 в обе восходящие трубки R1 и R2. В процессе циркуляции крови детекторы уровня столбика 54, 56 контролируют высоту каждого соответствующего столбика крови. По достижении оптимальной разности высот, то есть когда столбик крови в восходящей трубке R1 достигает высоты h1i, а столбик крови в восходящей трубке R2 – высоты h2i, клапанный механизм 46 прекращает поток крови от СПЦК 26 и одновременно связывает друг с другом оба столбика (фиг.5). В результате этого столбик крови в восходящей трубке R1 опускается, а столбик в трубке R2 поднимается в направлении к окончательному равновесному значению h (которое, как будет показано ниже, представляет собой, по сути дела, отклонение, обозначаемое как “ h”). Как будет пояснено ниже, решающую роль в определении вязкости крови играет обнаружение именно этих перемещающихся в противоположных направлениях столбиков крови (фиг.5), обозначаемых также как h1(t) и h2(t). На фиг.6 дано графическое представление значений h1(t) и h2(t).
Следует иметь в виду, что оптимальная разность высот, то есть h1i-h2i, также как и размеры капилляра 52, способствует предотвращению малейших колебаний столбиков крови по окончании теста на вязкость. Другими словами, эти два фактора способствуют выходу на плато каждого из графиков h1(t) и h2(t) по окончании теста на вязкость, как это видно на фиг.6.
На фиг.7А-7С проиллюстрирован типичный цикл работы клапанного механизма 46, когда он устанавливает столбики крови перед тестом (фиг.4) и во время теста (фиг.5). Клапанный механизм 46 представляет собой одиночный трехходовой запорный кран. Он может включать в себя соленоид (например, соленоид на 500 мА, шаговый двигатель и т.п., обозначенные как клапанный привод 86), на который процессор 58 подает импульсы для получения срабатывания клапана в нужном направлении. Говоря более конкретно, процессор 58 управляет поворотом клапана путем подачи на соленоид положительного или отрицательного импульса. Так, например, для первоначального приема потока циркулирующей крови пациента в вискозиметр ДВОК 20 привод 86 устанавливает клапан в такое положение, чтобы циркулирующая кровь могла поступать в обе восходящие трубки R1 и R2 по соответствующим каналам 13 и 14 (фиг.7А). В то же время детекторы уровня столбика 54, 56 контролируют соответствующие столбики крови 82 и 84. Если первым будет достигнут уровень столбика крови h1i перед тестом, процессор 58 подаст на клапанный привод 86 положительный импульс для перекрытия потока в восходящую трубку R1 (фиг.7В); напротив, если первым будет достигнут уровень столбика крови h1i перед тестом, то процессор 58 подаст отрицательный импульс для перекрытия потока в восходящую трубку R2 с сохранением в то же время возможности поступления потока циркулирующей крови в восходящую трубку R1 (не показано). Наконец, для соединения друг с другом обеих восходящих трубок R1 и R2 с их одновременной изоляцией от потока циркулирующей крови пациента процессор 58 выдает в клапанный привод 86 команду на переход в положение, показанное на фиг.7С.
Что касается точечного детектора 954 (фиг.2А), то во время работы устройства 20 с открытым клапанным механизмом 46 кровь протекает вверх по восходящей трубке R1, при этом фотодетектор 966 продолжает принимать свет от светодиода 964. Как только верхняя часть столбика крови 82 прервет свет от светодиода 964, фотодетектор 966 посылает в процессор 58, управляющий работой клапанного механизма 46, сигнал на прекращение какого бы то ни было последующего потока крови в восходящую трубку R1. Этот уровень столбика крови, обозначаемый как h1i, является начальной исходной точкой столбика крови в восходящей трубке R1 для проведения теста на вязкость, то есть в момент начала теста этот столбик крови опускается вниз от указанного уровня h1i. Учитывая, что фотодетектор 966 находится в заранее заданной точке hi, над контрольным уровнем (фиг.2), этот фотодетектор обеспечивает проверку достижения столбиком крови в восходящей трубке R1 указанного начального положения h1i.
Согласно другому варианту выполнения детектор уровня столбика можно использовать, как уже говорилось, для обнаружения спада столбика крови в первой восходящей трубке R1, а точечный детектор 954 – для определения соответствующего тесту на вязкость начального положения h2i поднимающегося столбика крови в восходящей трубке R2. Таким образом, объем изобретения в его наиболее полном виде охватывает использование одного детектора уровня столбика для контроля изменения положения столбика крови в одной из восходящих трубок и использование точечного детектора для определения какой-либо отдельной точки столбика крови в другой восходящей трубке. Следует понимать, что с помощью точечного детектора 954 может быть определена абсолютно любая точка столбика крови. Предпочтительной точкой следует считать начальный уровень столбика, то есть h1i или h2i. Однако возможно определение и любой другой точки столбика для получения соответствующего графика изменения высоты во времени.
Как видно из фиг.8, объем изобретения в его наиболее полном виде включает использование любого средства и/или способа для определения перемещения столбиков крови 82, 84 в восходящих трубках R1 и R2 (или определения перемещения только одного из столбиков с одновременным определением какой-либо отдельной точки другого столбика), так что изобретение не ограничивается применением излучателя СИД 64 и ПЗС 66, а также применением детекторов уровня столбика 54, 56 или точечного детектора. По существу, оно охватывает следующие виды физических способов обнаружения (см. “ДАТЧИК 1” и “ДАТЧИК 2” на фиг.8):
dW/dt: изменение во времени веса каждого столбика жидкости с использованием в качестве датчика средства определения веса для каждого столбика жидкости; например, W1(t)-W2(t);
dP/dt: изменение во времени давления каждого столбика жидкости с использованием датчика давления, устанавливаемого в верхней части каждого столбика жидкости; например, p1(t)-p2(t);
время прохождения: время, необходимое звуковому сигналу для излучения из датчика (например, ультразвукового), находящегося над каждым столбиком жидкости, и для его отражения и возвращения к датчику; например, время прохождения 1(t) – время прохождения 2(t);
dV/dt: изменение во времени объема каждого столбика жидкости;
например, V1(t)-V2(t);
dPos/dt: изменение положения каждого уровня столбика с использованием цифровой видеокамеры; например, Pos1(t)-Pos2(t);
dm/dt: изменение во времени массы каждого столбика жидкости;
например, m1(t)-m2(t).
На фиг.9А и 9В приведена пооперационная блок-схема работы вискозиметра ДВОК 20 по определению вязкости циркулирующей крови пациента. Общее время проведения теста составляет при использовании приборов ПЗС 66 приблизительно 3 минуты. Когда данные пикселей (элементов изображения) приборов ПЗС 66 перестают изменяться, вискозиметр 20 устанавливает, что достигнуто значение t и тест можно считать завершенным.
Как уже говорилось выше, принцип определения вязкости с использованием вискозиметра ДВОК 20 заключается в контроле изменения высоты двух перемещающихся в противоположных направлениях столбиков циркулирующей крови пациента при заданных размерах капилляра, по которому должен перемещаться один из столбиков крови.
Существует целый ряд математических моделей, которые можно применить в качестве моделей построения кривой для данных, получаемых от вискозиметра 20 и вискозиметра 120 (см. ниже), – это, например, модель изменений по степенному закону, модели Кассона, Карро, Хершела-Балкли, Пауэлла-Эйринга, Кросса, Карро-Ясуды. Объем изобретения в его наиболее полном виде включает в себя использование всех этих моделей. В нижеследующих рассуждениях мы используем лишь в качестве примера, безо всяких ограничений, модель степенного закона, так что любой специалист сможет заменить ее любой из вышеперечисленных моделей построения кривой.
В частности, вязкость таких неньютоновских жидкостей, как кровь, изменяется с изменением коэффициента сдвига, однако течение Хагена-Пуазейля внутри капилляра считается еще стационарным или квазистационарным ламинарным течением. Для жидкости, хорошо коррелирующей с моделью аномальной вязкости, изменяющейся по степенному закону, падение капиллярного давления и скорость течения связаны следующим образом:

где коэффициент сдвига связан со скоростью течения в капилляре выражением:

где изменяющаяся по степенному закону вязкость определяется как:

и где
Рс = падение давления в капилляре (Па);
Lc = длина капилляра (м);
Q = объемная скорость течения (м3/с);
k = показатель консистенции (постоянная, используемая в капиллярной вискозиметрии), то есть определенный;
n = показатель степенного закона (еще одна постоянная, используемая в капиллярной вискозиметрии), то есть определенный;
с = диаметр капилляра (м);
= вязкость жидкости (сантипуазы, сП);
= коэффициент сдвига (с-1).
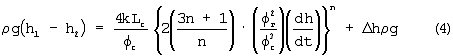
Поскольку кровь, будучи неньютоновской жидкостью, хорошо характеризуется с помощью модели вязкости, изменяющейся по степенному закону, уравнение (1) можно переписать следующим образом:

где = плотность крови;
g = гравитационная постоянная;
h1 = мгновенная высота столбика крови в восходящей трубке R1;
h2 = мгновенная высота столбика крови в восходящей трубке R2;
с = внутренний диаметр капилляра;
г = внутренний диаметр восходящей трубки, причем с<<< г;
h = отклонение, обусловленное пределом текучести крови и являющееся одним из ее свойств.
Следует иметь в виду, что длина капилляра Lc предполагается достаточно большой для того, чтобы можно было не принимать во внимание любые силы трения в восходящих трубках R1, R2 и соединительных гидравлических элементах. Кроме того, равны диаметры этих трубок.
Благодаря интегрированию по времени обеих сторон уравнения (4) устраняется необходимость в определении dh/dt, в результате получаем:

где
h0=h1(t)-h2(t) при t=0, то есть h0=h1i-h2i и

Для того чтобы определить вязкость, следует найти значения k и n, пользуясь построением кривой на основе результатов теста. В частности, надо выполнить следующие действия.
1) Провести тест и получить все данные по h1(t) и h2(t).
2) Построить кривые по точкам на основе этих данных до получения символических выражений для h1(t) и h2(t).
3) Определить все данные по h1(t)-h2(t), а также h.
4) Принять значения для изменяющихся по степенному закону параметров k и n.
5) Вычислить следующие значения ошибок для всех экспериментальных точек:

6) Суммировать значения ошибок для всех экспериментальных точек.
7) Выполнить итерацию для определения значений к и n, минимизирующих сумму ошибок.
8) Подставив найденные значения к и n в уравнения (2) и (3), вычислить вязкость.
На фиг.10А дано графическое представление зависимости вязкости циркулирующей крови пациента от диапазона коэффициентов сдвига, а на фиг.10В – логарифмическое представление той же зависимости. Совершенно очевидно, что изображенные на этих диаграммах кривые в математическом отношении одинаковы и что описанный выше вискозиметр ДВОК 20 обеспечивает более высокую точность, чем существующие технические аналоги.
В верхней части восходящих трубок R1 и R2 можно предусмотреть комбинированный узел рукоятки с фильтром (не показан). Он предназначен для подачи инертного газа с атмосферным давлением в восходящие трубки R1 и R2 над соответствующими столбиками жидкости. Кроме того, этот узел может служить рукояткой для установки и снятия средства приема крови 22 в случае работы с вариантом этого средства, рассчитанным на одноразовое пользование.
Следует также отметить, что точки размещения многих из компонентов блока приема крови 22 показаны лишь в виде примеров, не имеющих ограничительного характера. Так, например, капилляр можно установить как горизонтально, так и вертикально; клапанный механизм 46 не обязательно располагается на коленах 50А, 50В восходящих трубок R1 и R2. Объем изобретения в его наиболее полном виде охватывает самые разнообразные места установки компонентов блока приема крови 22. Такие места можно проиллюстрировать на примере рассматриваемого ниже другого варианта выполнения изобретения.
На фиг.13-21 продемонстрирован более предпочтительный вариант 120 описанного ранее вискозиметра ДВОК. Этот вариант идентичен первому, обозначенному позицией 20, по всем функциям и строению, за исключением размещения клапанного механизма 46, использования контейнерного механизма 101, положения капилляра 52 и требуемого объема крови, используемой в средстве приема крови. Поэтому уравнения, описывающие работу вискозиметра 120 согласно второму варианту выполнения, идентичны уравнениям 1-7, а графики для изменения во времени уровней столбиков и для вязкости те же, что и на фиг.6, 10А и 10В, так что приводить их здесь нет необходимости. Таким образом, мы не будем повторять общие детальные особенности конструкции и функционирования вискозиметра 120. Кроме того, точно так же, как говорилось выше применительно к вискозиметру 20, капилляр 52, используемый в вискозиметре 120, не обязательно должен быть продолговатым и может иметь самые разнообразные конфигурации, например, в виде спирали.
Как показано на фиг.13, вискозиметр 120 содержит блок приема крови 122 и блок анализатора/вывода 24. Точно так же, как описанный выше блок приема крови 22 и 122 может быть устройством одноразового или многократного пользования. В качестве примера блока приема крови 122 одноразового пользования показана конструкция, в которой фитинг фрикционного типа 147 (см. фиг.14) обеспечивает крепление с возможностью съема в корпусе 60 верхней части восходящей трубки R2, а клапанный механизм 46 крепится фрикционным фитингом к корпусу 60 в верхней части восходящей трубки R1. Таким образом, для снятия блока приема крови 122 одноразового пользования оператору достаточно лишь разъединить фитинг 147 и фрикционный фитинг клапанного механизма 46.
Блок приема крови 122 содержит клапанный механизм 46, который находится в этом варианте в верхней части восходящей трубки R1, а капилляр 52 помещен между восходящими трубками R1 и R2. Кроме того, в блок 122 включен контейнерный механизм 101, обеспечивающий возможность возвращения образца первой крови, которая должна попасть в блок приема крови 122 для целей последующего анализа (например, определения числа кровяных телец). Однако следует иметь в виду, что этот контейнерный механизм не входит в систему определения вязкости и ни в коей мере не препятствует работе вискозиметра ДВОК 120 по измерению вязкости крови в соответствии с описанным выше применительно к варианту 22. На практике контейнерный механизм, как будет показано ниже, перед началом теста на вязкость отсоединяется от клапанного механизма 46.
Контейнерный механизм 101 состоит из собственно контейнера 107 и привода 109, обеспечивающего его позиционирование. Работа этого механизма иллюстрируется на фиг.15, 16, 17А и 17В, а также с помощью блок-схем, приведенных на фиг.19А и 19В. В частности, как более четко видно на фиг.17А, когда детектор 103 (например, фотодетектор, “фотоглаз” и т.п.) обнаруживает первую или начальную порцию крови пациента (через СПЦК 26), он посылает сигнал в микропроцессор 58, который активизирует привод 109, с тем чтобы тот переместил контейнер 107 в сторону прокалывающего устройства 111 (например, иглы на фиг.15) в клапанном механизме 46, вследствие чего выполняется прокол соответствующего участка поверхности контейнера 107. Одновременно с этим процессор 58 выдает в клапанный привод 86 команду на установку клапана в первое положение (см. фиг.17А). В результате первая или начальная порция поступающего потока крови оказывается заключенной в контейнере 107. По истечении некоторого заданного промежутка времени t1 процессор 58 выдает в привод контейнера 109 команду на отсоединение контейнера 107 от прокалывающего устройства 111. Теперь оператор может снять контейнер 107 вместе с находящейся в нем порцией поступающего потока крови с привода 109 и затем направить эту порцию в отдельную анализирующую систему, которая может находиться как на месте работы, так и в каком-либо удаленном помещении.
Одновременно с выдачей в привод 109 команды на отсоединение контейнера 107 от прокалывающего устройства 111 процессор 58 выдает также в клапанный привод 86 команду на перемещение клапана во второе положение, показанное на фиг.17В. В результате поступающий поток крови достигает верхней части восходящей трубки R2, опускается по ней вниз и по капилляру 52 проходит в трубку R1. В это время детекторы уровня 54, 56 контролируют столбики крови в каждой из восходящих трубок. Когда детектор 56 выявляет заданный уровень hsv, он информирует об этом процессор 58. Эта величина hsv является точным значением, которое соответствует точному объему крови таким образом, что, когда столбик крови в восходящей трубке R2 достигает высоты h2i (фиг.17В и 17С), столбик крови в восходящей трубке R1 будет на уровне h1i. Следовательно, когда детектор уровня столбика 56 обнаруживает, что достигнут уровень hsv, процессор 58 активизирует клапанный привод 86, который поворачивает клапан, устанавливая его в третье положение (фиг.17С), вследствие чего оба столбика изолируются от поступающего потока крови и одновременно начинается тест на вязкость. Этот тест проводится точно так же, как и в случае с вариантом вискозиметра 20, и потому приводить его описание еще раз не имеет смысла.
Согласно другому варианту выполнения, как уже говорилось выше, конструкцию вискозиметра по фиг.14 можно изменить таким образом, чтобы для контроля уровня одного из столбиков крови использовался только один из детекторов – 56, тогда как для получения одной экспериментальной точки для уровня другого столбика будет использоваться точечный детектор 954. В частности, детектор уровня столбика 56 можно использовать для обнаружения опускания столбика крови в первой восходящей трубке R1, а точечный детектор 954 – для обнаружения заданного уровня hsv поднимающегося столбика крови в восходящей трубке R2. Таким образом, объем изобретения в его наиболее полном виде охватывает использование одного детектора уровня столбика для контроля изменения положения столбика крови в одной из восходящих трубок и использование точечного детектора для определения какой-либо отдельной точки столбика крови в другой восходящей трубке. Следует понимать, что с помощью точечного детектора 954 может быть определена абсолютно любая точка столбика крови. Предпочтительной точкой следует считать начальный уровень столбика, соответствующий тесту на вязкость, то есть h1i или hsv. Однако возможно определение и любой другой точки столбика для получения соответствующего графика изменения высоты во времени.
Один из типовых вариантов выполнения блока приема крови 122 продемонстрирован на фиг.20 и 21. В частности, восходящие трубки R1 и R2 (полученные, например, литьем под давлением) имеют колена 50А и 50В, которые вставляются в соответствующие концы капиллярного элемента 153. Каждый конец капиллярного элемента 153 образует соответствующую по форме втулку, которая скользит по каждому концу колен 50А и 50В. Как лучше видно на фиг.21, элемент 153 имеет конический входной канал 155 и конический выходной канал 157, обеспечивающие сведение к минимуму малейшей турбулентности при поступлении циркулирующей крови от конца колена 50Ф в капиллярный элемент 153 и затем по колену 50В вверх в восходящую трубку R2.
Следует отметить, что для всех описываемых вариантов выполнения блока “приема крови” даны всего лишь типовые примеры различных комбинаций элементов – восходящих трубок и пр., хотя они могут принимать любые другие формы, отличные от рассмотренных здесь.
Как видно на фиг.18, объем изобретения в его наиболее полном виде включает использование любого средства и/или способа определения перемещения столбиков крови в восходящих трубках R1 и R2 (или определения перемещения только одного из столбиков с одновременным определением какой-либо отдельной точки другого столбика), так что изобретение не ограничивается применением излучателя СИД 64 и ПЗС 66, а также применением детекторов уровня столбика 54, 56. По существу, оно охватывает следующие виды физических способов обнаружения (см. “ДАТЧИК 1” и “ДАТЧИК 2” на фиг.18):
dw/dt: изменение во времени веса каждого столбика жидкости с использованием в качестве датчика средства определения веса для каждого столбика жидкости; например, W1(t)-W2(t);
dp/dt: изменение во времени давления каждого столбика жидкости с использованием датчика давления, устанавливаемого в верхней части каждого столбика жидкости; например, p1(t)-p2(t);
время прохождения: время, необходимое звуковому сигналу для излучения из датчика (например, ультразвукового), находящегося над каждым столбиком жидкости, и для его отражения и возвращения к датчику; например, время прохождения 1(t) – время прохождения 2(t);
dV/dt: изменение во времени объема каждого столбика жидкости;
например, V1(t)-V2(t);
dPos/dt: изменение положения каждого уровня столбика с использованием цифровой видеокамеры; например, Pos1(t)-Pos2(t);
dm/dt: изменение во времени массы каждого столбика жидкости;
например, m1(t)-m2(1).
В качестве ПЗС 66 можно использовать любые традиционные устройства. Одно из наиболее пригодных для этих целей устройств выпускается компанией ScanVision из Сан-Хосе в штате Калифорния. Этот ПЗС имеет разрешение 300 точек на дюйм – 83 микропикселей. Указанная компания использует стандартные программные средства сбора данных для ПЗС. Излучатель СИД 64 можно выполнить с самыми разнообразными источниками света, включая волоконно-оптические линии.
Кроме того, дверцу 76 корпуса 60 можно выполнить так, чтобы она шарнирно крепилась вдоль днища корпуса с возможностью откидывания вниз для получения доступа к блоку приема крови 22 или 122.
Следует понимать, что в устройствах 20 и 120 изобретения в его наиболее полном виде используют давление от вспомогательного источника (например, насоса) для перемещения столбиков крови 82, 84 в процессе проведения теста, вместо того чтобы предусматривать сообщение каждой из восходящих трубок R1, R2 с атмосферой.
Следует также иметь в виду, что хотя дисплей 28 снабжен эффективными средствами для передачи пользователю данных вязкости, вискозиметры ДВОК 20 и 120, если их рассматривать в рамках наиболее полного объема изобретения, не требуют применения этого дисплея. Правильнее будет сказать, что цели изобретения достигаются при единственном условии выдачи данных вязкости на любое средство вывода 30. Кроме того, следует понимать, что блок анализатора/вывода 24 согласно вариантам вискозиметра 20 и 120 может быть реализован на любом переносном персональном компьютере, и вовсе не обязательно на таком, как описан применительно к фиг.2 и 3.
Блоки приема крови 22 и 122 согласно соответствующим вариантам 20 и 120 размещают, как правило, ниже сердца пациента. В результате венозное давление благодаря дополнительному действию силы тяжести будет легче доставлять циркулирующую кровь к блоку 22/122, но кроме этого предотвращается создание обратного потока крови к пациенту в процессе предварительного подключения и проведения теста на вязкость.
Следует также иметь в виду, что в случае применения блока приема крови 22 многократного пользования для варианта 20 или такого же блока 122 для варианта 120 этап “ввода комплекта одноразового пользования” по фиг., 9В и 19В соответственно будет, естественно, опущен.
Следует отметить, что, как говорилось выше, предпочтительные способ и средство предусматривают контроль поднимающегося столбика крови 84 с помощью детектора уровня 56, вместо того чтобы контролировать опускающийся столбик 82, так как в этом последнем случае приходится иметь дело с довольно сильными шумами. Поднимающийся же столбик 84 дает более чистый сигнал, поэтому предпочтительнее контролировать именно его. Однако в рамках объема изобретения в его наиболее полном виде можно предусмотреть средства для фильтрации или компенсации указанных шумов в случае использования детектора уровня 56 для контроля опускающегося столбика.
Следует также отметить, что можно использовать вискозиметры 20 и 120 для определения вязкости и других неньютоновских жидкостей (например, масел, красок, косметических средств и пр.), не ограничиваясь такими биологическими жидкостями, как кровь.
Приведенного выше описания вполне достаточно, без какой-либо его доработки, для иллюстрации настоящего изобретения, так что желающие легко смогут, применив уже имеющуюся информацию или ту, которая станет доступной в будущем, адаптировать его к самым разнообразным условиям применения.
Формула изобретения
1. Устройство для определения вязкости неньютоновской жидкости с разными коэффициентами сдвига с использованием уменьшения перепада давлений, содержащее:
источник неньютоновской жидкости, расположенный выше некоторой горизонтальной плоскости;
капиллярную трубку, имеющую первый конец и второй конец, причем указанный первый конец соединен с источником неньютоновской жидкости;
восходящую трубку, один конец которой соединен с указанным вторым концом указанной капиллярной трубки, а второй конец выведен в атмосферу, причем эта восходящая трубка установлена под некоторым углом, превышающим ноль градусов, относительно указанной горизонтальной плоскости;
датчик для определения перемещения неньютоновской жидкости, вызванного указанным уменьшением перепада давлений, в указанной восходящей трубке с разными коэффициентами сдвига в процессе движения неньютоновской жидкости от источника неньютоновской жидкости через указанную капиллярную трубку в указанную восходящую трубку, причем указанный датчик генерирует данные, относящиеся к перемещению неньютоновской жидкости с течением времени; и
компьютер, соединенный с указанным датчиком, для вычисления вязкости неньютоновской жидкости на основе указанных данных, относящихся к перемещению неньютоновской жидкости с течением времени.
2. Устройство по п.1, в котором указанная восходящая трубка установлена вертикально относительно указанной горизонтальной плоскости.
3. Устройство по п.1, в котором в качестве указанной неньютоновской жидкости используется циркулирующая кровь живого организма, а источником неньютоновской жидкости является сосудистая система живого организма.
4. Устройство для измерения вязкости крови, циркулирующей в живом организме, содержащее:
полый элемент для соединения с сосудистой системой живого организма;
пару трубок, соответствующие первые концы которых соединены с указанным полым элементом для приема циркулирующей крови от живого организма, причем одна трубка из пары трубок представляет собой капиллярную трубку с известными параметрами;
клапанный механизм для регулирования потока циркулирующей крови от сосудистой системы живого организма к указанной паре трубок; и связанный с указанным клапанным механизмом анализатор для управления указанным клапанным механизмом с целью пропускания потока крови в указанную пару трубок, вследствие чего кровь в каждой трубке указанной пары трубок занимает соответствующее начальное положение относительно нее, причем указанный анализатор обеспечивает также такое управление работой указанного клапанного механизма, при котором достигается изоляция указанной пары трубок от сосудистой системы живого организма, и такое соединение вместе трубок указанной пары, при котором происходит изменение положения крови в указанной паре трубок, и, кроме того, указанный анализатор обеспечивает контроль изменения положения крови в одной из указанных трубок, определение, по меньшей мере, одного положения крови в другой из указанных трубок и вычисление на его основе вязкости крови.
5. Устройство по п.4, в котором указанный анализатор, рассчитанный на определение, по меньшей мере, одного положения крови в другой из указанных трубок, обеспечивает контроль изменения положения крови в другой из указанных трубок.
6. Устройство по п.4, которое приспособлено для измерения вязкости циркулирующей крови живого организма в реальном времени.
7. Устройство по п.6, в котором каждая из указанных трубок имеет второй конец, вследствие чего указанное устройство дополнительно содержит средство для сообщения вторых концов указанной пары трубок в атмосферу.
8. Устройство по п.6, в котором указанный анализатор детектирует изменение во времени веса указанной пары трубок для осуществления указанного контроля изменения положения крови.
9. Устройство по п.6, в котором указанные соответствующие начальные положения включают в себя первое положение первого столбика крови относительно одной трубки из указанной пары трубок и второе положение второго столбика крови относительно другой трубки из указанной пары трубок перед тестом, причем указанные первое и второе положения перед тестом отличны друг от друга.
10. Устройство по п.9, в котором указанная пара трубок расположена вертикально и указанное первое положение перед тестом представляет собой первую начальную высоту первого столбика крови, а указанное второе положение перед тестом представляет собой вторую начальную высоту второго столбика крови.
11. Устройство по п.10, в котором указанный анализатор детектирует изменение высоты указанных первого и второго столбиков крови.
12. Устройство по п.11, в котором указанный анализатор детектирует указанное изменение высоты столбика путем определения времени прохождения излучаемых сигналов к верхней части каждого из указанных столбиков.
13. Устройство по п.12, в котором указанные излучаемые сигналы являются звуковыми сигналами.
14. Устройство по п.10, в котором указанный анализатор содержит цифровую видеокамеру для определения изменения высоты указанных первого и второго столбиков крови.
15. Устройство по п.10, в котором указанный анализатор детектирует изменение во времени давления указанных первого и второго столбиков крови для осуществления указанного контроля изменения положения крови.
16. Устройство по п.6, в котором указанный анализатор детектирует изменение объема крови в указанной паре трубок для осуществления указанного контроля изменения положения крови.
17. Устройство по п.6, дополнительно содержащее средство управления состоянием окружающей среды, которое поддерживает температуру крови в указанной капиллярной трубке практически на том же уровне, что и температура живого организма, в течение времени, когда анализатор соединяет указанные трубки вместе.
18. Устройство по п.17, в котором указанное средство управления состоянием окружающей среды поддерживает температуру крови в указанной паре трубок практически на том же уровне, что и температура живого организма, в течение времени, когда анализатор соединяет указанные трубки вместе.
19. Устройство по п.9, в котором указанные соответствующие начальные положения крови в указанной паре трубок устанавливаются в результате работы указанного анализатора.
20. Устройство по п.10, в котором первая начальная высота и вторая начальная высота устанавливаются в результате работы указанного анализатора.
21. Устройство по п.9, в котором изменение положения крови в указанной паре трубок представляет собой перемещение соответствующего уровня первого и второго столбиков крови, движущихся в противоположных направлениях, и в котором указанный анализатор определяет значение разности указанных соответствующих уровней.
22. Устройство по п.10, в котором указанное изменение положения крови в указанной паре трубок представляет собой опускание столбика крови вниз от указанной первой начальной высоты и подъем столбика крови вверх от указанной второй начальной высоты, причем указанный анализатор контролирует изменение положения крови, соответствующее указанному подъему столбика крови, и определяет, по меньшей мере, одно положение крови, соответствующее указанному опусканию столбика крови.
23. Устройство по п.22, в котором, по меньшей мере, одно положение крови представляет собой указанную первую начальную высоту.
24. Устройство по п.10, в котором указанный анализатор определяет значения разности высот столбиков крови с течением времени, обозначаемой как h1(t)-h2(t), где h1(t) – высота первого столбика крови, a h2(t) – высота второго столбика крови.
25. Устройство по п.24, в котором указанный анализатор детектирует отклонение указанных высот столбиков крови, обозначаемое как h, после контроля изменения положения крови в течение некоторого периода времени.
26. Устройство по п.25, в котором указанный анализатор вычисляет вязкость с использованием значений h1(t)-h2(t) и h для определения показателя консистенции k и показателя степенного закона n в соответствии с уравнением

где

и где h0=h1(0)-h2(0);
Lс – длина капиллярной трубки;
с – внутренний диаметр указанной капиллярной трубки;
г – диаметр указанных столбиков крови, причем с<<< г;
– плотность крови;
g – гравитационная постоянная.
27. Устройство по п.26, в котором указанный анализатор вычисляет вязкость с использованием указанных определенных значений n и k в уравнении

где

и где Q – объемная скорость течения в указанной капиллярной трубке;
с – диаметр капиллярной трубки;
– коэффициент сдвига.
28. Устройство по п.6, в котором указанный анализатор приводит в действие указанный клапанный механизм для изоляции указанной пары трубок от сосудистой системы живого организма с одновременным соединением друг с другом указанной пары трубок.
29. Устройство по п.6, в котором указанный анализатор содержит соответствующий орган контроля для каждой из указанной пары трубок, причем каждый из соответствующих органов контроля контролирует изменение положения крови в соответствующей трубке.
30. Устройство по п.29, в котором указанные соответствующие органы контроля содержат соответствующие световые излучатели и приборы с зарядовой связью (ПЗС).
31. Устройство по п.30, в котором каждый из световых излучателей содержит ряд светоизлучающих диодов, установленных линейно с возможностью освещения соответствующей трубки по ее длине.
32. Устройство по п.4, в котором указанный анализатор содержит орган контроля для контроля изменения положения крови в одной из указанных трубок и детектор для определения, по меньшей мере, одного положения крови в другой из указанных трубок.
33. Устройство по п.32, в котором указанный орган контроля содержит световой излучатель и прибор с зарядовой связью (ПЗС).
34. Устройство по п.33, в котором указанный световой излучатель содержит ряд светоизлучающих диодов, установленных линейно с возможностью освещения указанной одной из указанных трубок по ее длине.
35. Устройство по п.32, в котором указанный детектор содержит светоизлучающий диод и фотодетектор.
36. Устройство по п.6, в котором трубки указанной пары трубок являются трубками одноразового пользования.
37. Устройство по п.6, в котором указанный клапанный механизм является механизмом одноразового пользования.
38. Способ определения вязкости циркулирующей крови живого организма, включающий этапы:
(а) доступа к циркулирующей крови живого организма с целью формирования входного потока циркулирующей крови;
(б) разделения указанного входного потока циркулирующей крови на первый контур потока и второй контур потока, в которые поступают соответствующие части указанного входного потока, причем один из указанных контуров потока – первый или второй – включает проходной участок с некоторыми известными параметрами:
(в) отделения указанных первого и второго контуров потока от указанного входного потока и такое соединение друг с другом указанных первого и второго контуров потока, при котором происходит изменение положения крови в каждом из указанных контуров потока;
(г) контроля изменения во времени положения крови в одном из указанных контуров потока;
(д) определения, по меньшей мере, одного положения крови в другом из указанных контуров потока и
(е) вычисления вязкости указанной циркулирующей крови на основе изменения по меньшей мере одного положения крови и известных параметров указанного проходного участка.
39. Способ по п.38, в соответствии с которым этап определения, по меньшей мере, одного положения крови в другом из указанных контуров потока включает в себя контроль изменения положения крови в другом из указанных контуров потока, и этап вычисления вязкости включает в себя вычисление вязкости на основе указанного изменения положения крови в каждом из указанных контуров потока и на основе известных параметров указанного проходного участка.
40. Способ по п.39, в соответствии с которым этап вычисления вязкости циркулирующей крови выполняют в реальном времени.
41. Способ по п.40, в соответствии с которым первый и второй контуры потока представляют собой соответствующие вертикальные столбики крови, а этап контроля изменения во времени положения крови включает в себя контроль изменения во времени высоты первого и второго столбиков крови.
42. Способ по п.38, в соответствии с которым первый и второй контуры потока представляют собой соответствующие вертикальные столбики крови, а этап контроля изменения во времени положения крови включает в себя контроль изменения во времени высоты, по меньшей мере, одного из указанных первого и второго столбиков крови.
43. Способ по п.41, в соответствии с которым первый и второй столбики сообщаются с атмосферой.
44. Способ по п.40, в соответствии с которым первый и второй контуры потока представляют собой соответствующие вертикальные столбики, а этап контроля изменения во времени положения крови включает в себя контроль изменения во времени веса первого и второго столбиков циркулирующей крови.
45. Способ по п.40, в соответствии с которым первый и второй контуры потока представляют собой соответствующие вертикальные столбики, а этап контроля изменения во времени положения крови включает в себя контроль времени прохождения излучаемых сигналов к верхней части каждого из указанных столбиков.
46. Способ по п.45, в соответствии с которым излучаемые сигналы являются звуковыми сигналами.
47. Способ по п.41, в соответствии с которым высоту столбика контролируют цифровой видеокамерой.
48. Способ по п.40, в соответствии с которым первый и второй контуры потока представляют собой соответствующие вертикальные столбики, а этап контроля изменения во времени положения крови включает в себя контроль изменения во времени давления первого и второго столбиков крови.
49. Способ по п.40, в соответствии с которым первый и второй контуры потока представляют собой соответствующие вертикальные столбики, а этап контроля изменения во времени положения крови включает в себя контроль изменения во времени массы первого и второго столбиков циркулирующей крови.
50. Способ по п.40, в соответствии с которым указанные первый и второй контуры потока представляют собой соответствующие вертикальные столбики, а указанный этап контроля изменения во времени положения крови включает в себя контроль изменения во времени объема первого и второго столбиков крови.
51. Способ по п.40, дополнительно включающий этап поддержания температуры указанного проходного участка практически на том же уровне, что и температура живого организма, в процессе выполнения этапа контроля изменения положения крови в первом и втором контурах потока.
52. Способ по п.51, в соответствии с которым этап поддержания температуры дополнительно включает поддержание температуры первого и второго контуров потока практически на том же уровне, что и температура живого организма, в процессе выполнения этапа контроля изменения положения крови в первом и втором контурах потока.
53. Способ по п.41, в соответствии с которым этап разделения входного потока циркулирующей крови на первый контур и второй контур потока включает в себя установление первого уровня первого столбика крови и второго уровня второго столбика крови перед тестом, причем указанные первый и второй уровни перед тестом отличны друг от друга.
54. Способ по п.53, в соответствии с которым этап вычисления вязкости включает в себя определение значений разности высот первого и второго столбиков жидкости с течением времени, обозначаемой как h1(t)-h2(t), где h1 – высота первого столбика, a h2 – высота второго столбика.
55. Способ по п.54, в соответствии с которым этап вычисления вязкости дополнительно включает определение отклонения указанных высот первого и второго столбиков, обозначаемого как h.
56. Способ по п.55, в соответствии с которым этап вычисления вязкости дополнительно включает использование h1(t)-h2(t) и h для определения показателя консистенции k и показателя степенного закона n в соответствии с уравнением

где

и где h0=h1(0)-h2(0);
Lс – длина указанного проходного участка;
с – внутренний диаметр указанного проходного участка;
г – диаметр указанного первого или второго столбика жидкости, причем с<<< г;
– плотность крови;
g – гравитационная постоянная.
57. Способ по п.56, в соответствии с которым этап вычисления вязкости дополнительно включает использование определенных значений n и k в уравнении

где

и где Q – объемная скорость течения в указанном проходном участке;
с – диаметр проходного участка;
– коэффициент сдвига.
58. Устройство для измерения вязкости крови, циркулирующей в живом организме, содержащее:
полый элемент, размещенный так, чтобы он был соединен с сосудистой системой живого организма;
пару трубок, имеющих соответствующие первые концы и вторые концы, причем первые концы соединены друг с другом через капиллярную трубку с некоторыми известными параметрами;
клапанный механизм для регулирования потока циркулирующей крови от сосудистой системы живого организма к указанной паре трубок, причем этот клапанный механизм соединен со вторым концом одной трубки из указанной пары трубок и соединен с указанным полым элементом, и
связанный с указанным клапанным механизмом анализатор для управления этим клапанным механизмом с целью пропускания потока крови в указанную пару трубок, вследствие чего кровь в каждой трубке указанной пары трубок занимает соответствующее начальное положение, причем этот анализатор обеспечивает также управление работой указанного клапанного механизма с целью изоляции пары трубок от сосудистой системы живого организма, так что происходит изменение положения крови в указанной паре трубок, и, кроме того, указанный анализатор обеспечивает контроль изменения положения крови в одной из указанных трубок, и определение, по меньшей мере, одного положения крови в другой из указанных трубок, и вычисление на его основе вязкости крови.
59. Устройство по п.58, в котором анализатор, рассчитанный на определение, по меньшей мере, одного положения крови в одной из указанных трубок, обеспечивает контроль изменения положения крови в другой из указанных трубок.
60. Устройство по п.59, которое приспособлено для измерения вязкости циркулирующей крови живого организма в реальном времени.
61. Устройство по п.60, дополнительно содержащее средство для сообщения указанного второго конца одной из указанной пары трубок с атмосферой.
62. Устройство по п.60, в котором анализатор детектирует изменение во времени веса указанной пары трубок для осуществления контроля изменения положения крови.
63. Устройство по п.60, в котором соответствующие начальные положения включают в себя первое положение первого столбика крови относительно одной трубки из указанной пары трубок и второе положение второго столбика крови относительно другой трубки из указанной пары трубок перед тестом, причем указанное первое и второе положения перед тестом отличны друг от друга.
64. Устройство по п.63, в котором указанная пара трубок расположена вертикально, и указанное первое положение перед тестом представляет собой первую начальную высоту первого столбика крови, а указанное второе положение перед тестом представляет собой вторую начальную высоту второго столбика крови.
65. Устройство по п.64, в котором анализатор детектирует изменение высоты указанных первого и второго столбиков крови.
66. Устройство по п.65, в котором указанный анализатор детектирует указанное изменение высоты столбика путем определения времени прохождения излучаемых сигналов к верхней части каждого из указанных столбиков.
67. Устройство по п.66, в котором указанные излучаемые сигналы являются звуковыми сигналами.
68. Устройство по п.64, в котором анализатор содержит цифровую видеокамеру для определения изменения высоты указанных первого и второго столбиков крови.
69. Устройство по п.64, в котором анализатор изменения во времени давления указанных первого и второго столбиков крови для осуществления контроля изменения положения крови.
70. Устройство по п.60, в котором анализатор определяет изменение объема крови в указанной паре трубок для осуществления контроля изменения положения крови.
71. Устройство по п.60, дополнительно содержащее средство управления состоянием окружающей среды, которое поддерживает температуру крови в капиллярной трубке практически на том же уровне, что и температура живого организма, в течение времени, когда анализатор соединяет указанные трубки вместе.
72. Устройство по п.71, в котором средство управления состоянием окружающей среды поддерживает температуру крови в указанной паре трубок практически на том же уровне, что и температура живого организма, в течение времени, когда анализатор соединяет указанные трубки вместе.
73. Устройство по п.63, в котором соответствующие начальные положения крови в указанной паре трубок устанавливаются в результате работы указанного анализатора.
74. Устройство по п.64, в котором первая и вторая начальные высоты устанавливаются в результате работы указанного анализатора.
75. Устройство по п.63, в котором изменение положения крови в указанной паре трубок представляет собой перемещение соответствующего уровня первого и второго столбиков крови, движущихся в противоположных направлениях, и в котором указанный анализатор определяет значение разности указанных соответствующих уровней.
76. Устройство по п.64, в котором указанное изменение положения крови в указанной паре трубок представляет собой опускание столбика крови вниз от указанной первой начальной высоты и подъем столбика крови вверх от указанной второй начальной высоты, причем указанный анализатор контролирует изменение положения крови, соответствующее указанному подъему столбика крови, и определяет, по меньшей мере, одно положение крови, соответствующее указанному опусканию столбика крови.
77. Устройство по п.76, в котором, по меньшей мере, одно положение крови представляет собой указанную первую начальную высоту.
78. Устройство по п.64, в котором анализатор определяет значения разности указанных высот столбиков крови с течением времени, обозначаемой как h1(t)-h2(t), где h1(t) – высота первого столбика крови, a h2(t) – высота второго столбика крови.
79. Устройство по п.78, в котором анализатор детектирует отклонение указанных высот указанных столбиков крови, обозначаемое как h, после контроля изменения положения крови в течение некоторого периода времени.
80. Устройство по п.79, в котором анализатор вычисляет вязкость с использованием величин h1(t)-h2(t) и h для определения показателя консистенции k и показателя степенного закона n в соответствии с уравнением

где

и где h0=h1(0)-h2(0);
Lс – длина капиллярной трубки;
с – внутренний диаметр указанной капиллярной трубки;
г – диаметр столбиков крови, причем 0<<< г;
– плотность крови;
g – гравитационная постоянная.
81. Устройство по п.80, в котором анализатор вычисляет вязкость с использованием указанных определенных значений n и k в уравнении

где

и где Q – объемная скорость течения в указанной капиллярной трубке;
с – диаметр капиллярной трубки;
– коэффициент сдвига.
82. Устройство по п.60, в котором анализатор содержит соответствующий орган контроля для каждой трубки из указанной пары трубок, причем каждый из соответствующих органов контроля контролирует изменение положения крови в соответствующих трубках.
83. Устройство по п.82, в котором указанные органы контроля содержат световые излучатели и приборы с зарядовой связью (ПЗС).
84. Устройство по п.83, в котором каждый из световых излучателей содержит ряд светоизлучающих диодов, установленных линейно с возможностью освещения соответствующей трубки по ее длине.
85. Устройство по п.58, в котором указанный анализатор содержит орган контроля для контроля изменения положения крови в одной из указанных трубок и детектор для определения, по меньшей мере, одного положения крови в другой из указанных трубок.
86. Устройство по п.85, в котором орган контроля содержит световой излучатель и прибор с зарядовой связью (ПЗС).
87. Устройство по п.86, в котором световой излучатель содержит ряд светоизлучающих диодов, установленных линейно с возможностью освещения одной из указанных трубок по ее длине.
88. Устройство по п.85, в котором указанный детектор содержит светоизлучающий диод и фотодетектор.
89. Устройство по п.60, в котором трубки являются трубками одноразового пользования.
90. Устройство по п.60, в котором указанный клапанный механизм является механизмом одноразового пользования.
91. Устройство по п.58, в котором анализатор дополнительно содержит контейнер, который обеспечивает сбор начальной порции потока циркулирующей крови из сосудистой системы живого организма.
92. Устройство по п.91, в котором анализатор дополнительно содержит детектор, расположенный рядом со входным каналом клапанного механизма, для детектирования указанной начальной порции потока циркулирующей крови из сосудистой системы живого организма.
93. Устройство по п.92, в котором клапанный механизм изолирует указанный контейнер от сосудистой системы живого организма, одновременно соединяя указанную пару трубок с сосудистой системой живого организма.
94. Устройство по п.82, в котором один из указанных органов контроля детектирует некоторый заданный уровень в одной трубке, с тем чтобы анализатор изолировал указанную пару трубок от сосудистой системы живого организма.
95. Способ определения вязкости циркулирующей крови живого организма, включающий этапы:
(а) доступа к циркулирующей крови живого организма с целью формирования входного потока циркулирующей крови;
(б) направления указанного входного потока в один конец пары трубок, соединенных друг с другом через проходной участок с некоторыми известными параметрами, причем указанный входной поток проходит через первую трубку из указанной пары трубок и через указанный проходной участок на первый участок второй трубки с формированием соответствующих столбиков в первой и второй трубках;
(в) отделения указанных столбиков от входного потока таким образом, что происходит изменение положения крови в каждом из столбиков;
(г) контроля изменения во времени положения крови в одном из столбиков крови;
(д) определения, по меньшей мере, одного положения крови в другом из указанных столбиков крови и
(е) вычисления вязкости циркулирующей крови на основе, по меньшей мере, изменения одного положения крови и известных параметров указанного проходного участка.
96. Способ по п.95, в соответствии с которым этап определения, по меньшей мере, одного положения крови в другом из указанных столбиков крови включает в себя контроль изменения положения крови в другом из указанных столбиков крови, и этап вычисления вязкости включает в себя вычисление вязкости на основе изменения положения крови в каждом из указанных столбиков крови и известных параметров указанного проходного участка.
97. Способ по п.96, в соответствии с которым этап вычисления вязкости циркулирующей крови выполняют в реальном времени.
98. Способ по п.97, в соответствии с которым указанные столбики крови находятся в вертикальных положениях, а этап контроля изменения во времени положения крови включает в себя контроль изменения во времени высоты указанных столбиков крови.
99. Способ по п.95, в соответствии с которым столбики крови являются вертикальными, а этап контроля изменения во времени положения крови включает в себя контроль изменения во времени высоты, по меньшей мере, одного из указанных столбиков крови.
100. Способ по п.98, в соответствии с которым один конец указанной пары трубок имеет сообщение с атмосферой.
101. Способ по п.97, в соответствии с которым указанные столбики крови являются вертикальными, а этап контроля изменения во времени положения крови включает в себя контроль изменения во времени веса указанных столбиков циркулирующей крови.
102. Способ по п.97, в соответствии с которым указанные столбики крови являются вертикальными, а этап контроля изменения во времени положения крови включает в себя контроль времени прохождения излучаемых сигналов к верхней части каждого из указанных столбиков.
103. Способ по п.102, в соответствии с которым излучаемые сигналы являются звуковыми сигналами.
104. Способ по п.98, в соответствии с которым указанную высоту столбика контролируют цифровой видеокамерой.
105. Способ по п.97, в соответствии с которым указанные столбики крови являются вертикальными, а этап контроля изменения во времени положения крови включает в себя контроль изменения во времени давления указанных столбиков крови.
106. Способ по п.97, в соответствии с которым указанные столбики крови являются вертикальными, а этап контроля изменения во времени положения крови включает в себя контроль изменения во времени массы указанных столбиков циркулирующей крови.
107. Способ по п.97, в соответствии с которым указанные столбики крови являются вертикальными, а этап контроля изменения во времени положения крови включает в себя контроль изменения во времени объема указанных столбиков крови.
108. Способ по п.97, дополнительно включающий этап поддержания температуры указанного проходного участка практически на том же уровне, что и температура живого организма, в процессе выполнения этапа контроля изменения положения крови в указанных столбиках.
109. Способ по п.108, в соответствии с которым этап поддержания температуры дополнительно включает поддержание температуры столбиков крови практически на том же уровне, что и температура живого организма, в процессе выполнения этапа контроля изменения положения крови в указанных столбиках.
110. Способ по п.98, в соответствии с которым этап направления входного потока циркулирующей крови в один конец пары трубок включает в себя установление первого уровня первого столбика крови и второго уровня второго столбика крови перед тестом, причем указанные первый и второй уровни перед тестом отличны друг от друга.
111. Способ по п.110, в соответствии с которым этап вычисления вязкости включает в себя определение значений разности высот первого и второго столбиков жидкости с течением времени, обозначаемой как h1(t)-h2(t), где h1 – высота первого столбика, a h2 – высота второго столбика.
112. Способ по п.111, в соответствии с которым этап вычисления вязкости дополнительно включает определение отклонения указанных высот первого и второго столбиков, обозначаемого как h.
113. Способ по п.112, в соответствии с которым этап вычисления вязкости дополнительно включает использование величин h1(t)-h2(t) и h для определения показателя консистенции k и показателя степенного закона n в соответствии с уравнением

где

и где h0=h1(0)-h2(0);
Lс – длина проходного участка;
с – внутренний диаметр указанного проходного участка;
г – диаметр первого или второго столбика жидкости, причем с<<< г;
– плотность крови;
g – гравитационная постоянная.
114. Способ по п.113, в соответствии с которым этап вычисления вязкости дополнительно включает использование определенных значений n и k в уравнении

где

и где Q – объемная скорость течения в указанном проходном участке;
с – диаметр проходного участка; и
– коэффициент сдвига.
115. Способ по п.95, в соответствии с которым этап доступа к циркулирующей крови живого организма включает сбор в контейнер некоторого конечного количества начальной порции указанного входного потока циркулирующей крови.
Приоритеты по пунктам: 12.11.1999 – пп.4-21, 24-34, 37-41 43-58, 60-75, 80-84, 89-98, 100-115;
18.05.2000 – пп.1-3, 22, 23, 35, 42, 59 76-79, 85-88, 99.
РИСУНКИ
MM4A – Досрочное прекращение действия патента СССР или патента Российской Федерации на изобретение из-за неуплаты в установленный срок пошлины за поддержание патента в силе
Дата прекращения действия патента: 13.10.2007
Извещение опубликовано: 27.12.2010 БИ: 36/2010
|