|
|
(21), (22) Заявка: 2004102630/28, 29.01.2004
(24) Дата начала отсчета срока действия патента:
29.01.2004
(45) Опубликовано: 10.07.2005
(56) Список документов, цитированных в отчете о поиске:
RU 2060472 C1, 20.05.1996. RU 2222786 C1, 27.01.2004. RU 2064666 C1, 27.07.1996. GB 1077817 A, 02.08.1967.
Адрес для переписки:
450106, г.Уфа, а/я 17, В.А. Кабатчикову
|
(72) Автор(ы):
Кабатчиков В.А. (RU)
(73) Патентообладатель(и):
Кабатчиков Валерий Александрович (RU)
|
(54) УРОВНЕМЕР
(57) Реферат:
Изобретение относится к области ультразвуковых измерений длин и расстояний и предназначено для использования в системах непрерывного контроля уровней жидких сред. Сущность: уровнемер содержит герметизированную трубку 1, ультразвуковой преобразователь 2, установленный на торце волновода 3 поплавок 4 с постоянным магнитом 5, измерительную обмотку 6, генератор 7, первый триггер 8, логический блок 9, выполняющий операцию “Исключающее ИЛИ”, усилитель 10, компаратор 11, второй триггер 12 и решающий блок 13. С помощью первого триггера 8, компаратора 11, логического блока 9 и второго триггера формируются прямоугольные импульсы, среднее значение длительности которых не зависит от амплитуды сигнала в измерительной обмотке 6 и позволяет более точно определять местонахождение постоянного магнита 5 на волноводе 3 и, соответственно, более точно измерять уровни жидкостей. Технический результат: повышение точности измерения уровня жидкостей. 3 ил.

Изобретение относится к области ультразвуковых измерений длин и расстояний и предназначено для использования в системах непрерывного контроля уровней жидких сред.
Известен ультразвуковой уровнемер, содержащий волновод с распределенной по его длине измерительной обмоткой, ультразвуковой излучающий элемент, подключенный к первому выходу генератора и установленный на торце волновода, герметизированную трубку, в которой размещены волновод и излучающий элемент, поплавок с закрепленным на нем постоянным магнитом, установленный концентрично с герметизированной трубкой, усилитель, подключенный входом к сигнальной обмотке, а также решающий блок, подключенный входами к выходу усилителя и второму выходу генератора [Авторское свидетельство №838381, опубл. в Б.И. №22, 1981 г.].
Существенным недостатком известного ультразвукового уровнемера является наличие у него значительной температурной погрешности, которая обусловлена зависимостью скорости распространения ультразвука в волноводе от температуры окружающей среды и проявляется в виде температурных дрейфов временных интервалов между моментами возбуждения ультразвуковых импульсов в ультразвуковом излучающем элементе и моментами появления импульсов в измерительной обмотке.
Известен также ультразвуковой уровнемер, содержащий герметизированную трубку, в которой расположен волновод и установленный на его торце ультразвуковой излучающий элемент, измерительную обмотку, распределенную по высоте волновода, опорную обмотку, расположенную на волноводе между сигнальной обмоткой и ультразвуковым излучающим элементом и подключенную выводами к первому усилителю, постоянные магниты, первый из которых расположен на цилиндрическом поплавке, а второй – закреплен неподвижно и охватывает витки опорной обмотки, первый и второй усилители, подключенные входами к выводам соответственно сигнальной и опорной обмоток, генератор, подключенный первым выходом к ультразвуковому излучающему элементу, а вторым выходом к объединенным первым входам первого и второго формирователей временных интервалов, при этом вторые входы формирователей временных интервалов подключены к выходам соответствующих усилителей, первый выход первого формирователя соединен с третьим входом второго формирователя, а второй выход первого формирователя и выход второго формирователя подключены ко входам решающего блока [Патент №2064666, G 01 F 23/28, опубл. в Б.И. №21, 1996 г.].
В данном ультразвуковом уровнемере измеряется временной интервал между моментом возбуждения излучающим элементом ультразвукового импульса и моментом появления в опорной обмотке импульса ЭДС, наведенного отраженным от нижнего торца волновода ультразвуковым импульсом. Этот временной интервал зависит от температуры и используется в качестве опорного сигнала при измерении уровня, в результате чего температурная погрешность измерения уровня практически исключается и уровнемер по сравнению с предыдущим аналогом имеет более высокую точность измерения.
Недостатком ультразвукового уровнемера является наличие у него дополнительной опорной обмотки и дополнительного неподвижного постоянного магнита, которые усложняют конструкцию и повышают стоимость уровнемера.
Наиболее близким по технической сущности к заявляемому устройству является уровнемер, который принят в качестве прототипа и содержит герметизированную трубку, в которой размещены волновод и установленный на его верхнем торце приемоизлучающий ультразвуковой преобразователь, поплавок с постоянным магнитом, выполненный в виде полого цилиндра и одетый на герметизированную трубку с возможностью перемещения по ней, распределенную по длине волновода измерительную обмотку, подключенную ко входам первого усилителя, генератор, подключенный первым выходом к ультразвуковому преобразователю и входу второго усилителя, а также первый и второй формирователи импульсов, первые входы которых объединены и подключены ко второму выходу генератора, вторые входы соединены с выходами соответствующих усилителей, а выходы подключены ко входам решающего блока [Патент №2060472, G 01 F 23/28, опубл. в Б.И. №14, 1996 г.].
Данный уровнемер сохраняет все достоинства предыдущего аналога и имеет при этом более простую конструкцию, поскольку в нем отсутствуют дополнительный неподвижный постоянный магнит и опорная обмотка, а их функцию при формировании опорного сигнала выполняет приемоизлучающий ультразвуковой преобразователь.
В этом уровнемере измеряемой величиной является длительность импульса, вырабатываемого первым формирователем импульсов. Первый фронт этого импульса определяется моментом появления сигнала на втором выходе генератора, совпадающим с моментом возбуждения волны ультразвуковым преобразователем, а задний фронт – моментом времени, когда наведенный в измерительной обмотке и усиленный в усилителе сигнал достигнет определенного порогового значения. Поскольку сигнал в измерительной обмотке имеет вид затухающих колебаний, среднее значение амплитуды которых зависит от местонахождения на волноводе постоянного магнита, момент достижения сигналом порогового значения зависит не только от местонахождения магнита, но и от среднего значения амплитуды сигнала. При этом влияние амплитуды сигнала на момент формирования заднего фронта импульса является причиной появления нелинейной погрешности и соответственно низкой точности известного уровнемера.
Таким образом недостатком известного уровнемера является низкая точность, обусловленная зависимостью амплитуды сигнала в измерительной обмотке от местонахождения на волноводе постоянного магнита.
Изобретение решает задачу исключения влияния изменения амплитуды наводимого в измерительной обмотке сигнала на результат измерения уровня и повышения тем самым точности уровнемера.
Решение указанной задачи достигается тем, что в уровнемер, включающий в себя герметизированную трубку, в которой размещены волновод с распределенной по его длине измерительной обмоткой и установленный на торце волновода ультразвуковой преобразователь, поплавок с постоянным магнитом, выполненный в виде полого цилиндра, одетого на герметизированную трубку с возможностью перемещения по ней, генератор, подключенный первым выходом к ультразвуковому преобразователю, усилитель, входы которого соединены с выводами измерительной обмотки, а также решающий блок, в отличие от прототипа введены первый и второй триггеры, логический блок, выполняющий операцию “Исключающее ИЛИ”, и компаратор, при этом счетный вход первого триггера и вход установки второго триггера объединяются и подключаются ко второму выходу генератора, вход компаратора соединяется с выходом усилителя, выходы первого триггера и компаратора подключаются ко входам логического блока, выход которого соединяется со счетным входом второго триггера, а выход второго триггера подключается ко входу решающего блока.
Существенное отличие предлагаемого уровнемера от известных устройств состоит в том, что в нем формируется два информационных импульса, первые фронты которых формируются в моменты появления сигнала на втором выходе генератора, а задние – в моменты первых двух совпадений значения колебательного сигнала, снимаемого с выхода усилителя, с порогом срабатывания компаратора. При этом вычисляется среднее значение длительностей этих импульсов, которое соответствует временному интервалу между моментом появления сигнала на втором выходе генератора и моментом времени, когда первая полуволна колебательного сигнала достигает своего максимального значения. Поскольку момент достижения максимума в данном случае практически не зависит от величины максимума, т.е. от амплитуды первой полуволны колебательного сигнала, то и среднее значение длительностей указанных импульсов также не зависит от амплитуды сигнала, а определяется исключительно местонахождением постоянного магнита на волноводе. Этот эффект и обуславливает высокую точность предлагаемого уровнемера.
Принцип обработки сигналов и схема, используемые в предлагаемом уровнемере, в известных аналогах не обнаружены, в связи с чем можно считать, что заявляемое техническое решение обладает элементами новизны.
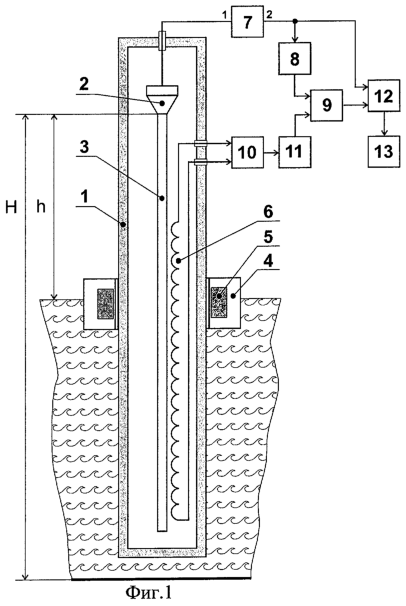
На фиг.1 представлена структурная схема предлагаемого уровнемера, а на фиг.2, 3 – временные диаграммы, поясняющие его работу.
Уровнемер включает в себя герметизированную трубку 1, ультразвуковой преобразователь 2, установленный на верхнем торце волновода 3, поплавок 4 с постоянным магнитом 5, одетый на герметизированную трубку 1 и имеющий возможность передвигаться по ней, измерительную обмотку 6, распределенную по длине волновода 3, генератор 7, подключенный выходом “1” к ультразвуковому преобразователю 2, первый триггер 8, подключенный счетным входом к выходу “2” генератора 7, а выходом – к первому входу логического блока 9, выполняющего логическую операцию “Исключающее ИЛИ”, усилитель 10, подключенный входами к выводам измерительной обмотки 6, а выходом – через компаратор 11 ко второму входу логического блока 9, а также второй триггер 12, вход установки которого соединен с выходом “2” генератора 7, счетный вход – с выходом логического блока 9, а выход подключен ко входу решающего блока 13.
Уровнемер работает следующим образом. Генератор 7 возбуждает мощными электрическими импульсами U7-1 (Фиг.2) ультразвуковой преобразователь 2, который излучает в волновод 3 ультразвуковые импульсы. Эти импульсы распространяются по волноводу в виде упругих продольных волн и, проходя мимо участка, намагниченного расположенным на поплавке 4 постоянным магнитом 5, наводят в измерительной обмотке 6 сигналы, имеющие после усиления в усилителе 10 вид затухающих колебаний U10. Сигналы U10 поступают на вход компаратора 11, где сравниваются по величине с пороговым напряжением U0. В моменты времени, характеризующие собой равенство значений сигнала U10 и порогового напряжения U0, т.е. U10=U0, компаратор 11 формирует прямоугольные импульсы U11.
Одновременно с мощными импульсами, возбуждающими ультразвуковой преобразователь 2, генератор 7 вырабатывает импульсы U7-2, которые снимаются с его выхода “2” и поступают на счетный вход первого триггера 8 и вход установки второго триггера 12. С приходом импульсов первый триггер периодически меняет логический уровень сигнала U8 на своем выходе, осуществляя тем самым деление частоты генератора 7 на два, а второй триггер устанавливается в положение, при котором его выходной сигнал U12 имеет уровень “лог.1” (Фиг.2).
Логический блок 9, выполняющий логическую операцию “Исключающее ИЛИ”, сравнивает выходные сигналы первого триггера и компаратора U8, U11 и вырабатывает сигнал U9, поступающий на счетный вход второго триггера 12. Первые после моментов установки второго триггера положительные фронты сигнала U9 приводят к изменению логического уровня сигнала U12 на выходе второго триггера 12. В результате сигнал U12 имеет вид прямоугольных импульсов, первые фронты которых формируются в моменты появления сигналов на выходах генератора, а задние фронты – в моменты, когда первая полуволна колебательного сигнала U10 проходит значения, равные значению порогового напряжения U0. При этом, если сигнал U8 на выходе первого триггера имеет уровень “лог.0”, задние фронты импульсов U12 соответствуют переднему фронту первой полуволны сигнала U10 на выходе усилителя, а если сигнал U8 имеет уровень “лог.1”, то задние фронты импульсов U12 соответствуют заднему фронту первой полуволны сигнала U10. Соответственно в первом случае длительность импульсов U12 равна 1, а во втором – 2 (Фиг.2).
Триггер 12, работа которого определяется указанными сигналами, может быть реализован, например, на основе D-триггера, на вход “D” которого подан сигнал с уровнем “лог.1”. При этом выходом триггера 12 будет являться инверсный выход D-триггера.
В решающем блоке 13 определяется среднее из N значений длительностей импульсов U12, которое составляет

где N=n1+n2, а n1 и n2 – количество измеряемых импульсов с длительностями соответственно 1 и 2, или

где *=0,5( 1+ 2) – среднее значение длительности двух следующих друг за другом импульсов из последовательности U12, n=n1-n2,  = 1– 2.
В силу того, что первые полуволны сигнала U10 обладают симметрией относительно своих максимумов, временной интервал * соответствует моментам появления этих максимумов (Фиг.3). При этом благодаря неизменной форме сигнала U10 он не зависит от величины максимумов, т.е. для двух произвольных значений максимумов Um и Um1 имеет место равенство

Вследствие этого * характеризует собой исключительно местонахождение постоянного магнита 5 на волноводе 3 и точную величину измеряемого уровня.
Заметим, что в уровнемере, принятом за прототип, формируются только импульсы, длительность которых определяется величиной 1. При этом изменение амплитуды первых полуволн колебательного сигнала при постоянной величине U0 ведет к дополнительному изменению длительностей импульсов, что является причиной низкой точности этого уровнемера.
Погрешность измерения уровня в предлагаемом уровнемере обуславливается неравенством количеств измеряемых импульсов с длительностями 1 и 2. Она снижается путем увеличения числа измеряемых импульсов N и практически исключается при равенстве n1=n2, когда N является четным числом.
Значение измеряемого уровня определяется по формуле

где Н – значение расстояния от верхнего торца волновода 3 до дна резервуара с жидкостью (Фиг.1), которое вводится перед началом работы уровнемера в память решающего блока 13,

– расстояние от верхнего торца волновода 3 до середины его участка, намагниченного постоянным магнитом 5, а К – коэффициент преобразования, определяемый при калибровке уровнемера.
Таким образом, определение среднего значения длительностей импульсов, соответствующих одинаковым значениям сигнала U10 на переднем и заднем фронтах его первых полуволн, дает возможность вычислять параметр *, не зависящий от изменений средней амплитуды сигнала, и тем самым существенно увеличить точность уровнемера.
Формула изобретения
Уровнемер, включающий в себя герметизированную трубку, в которой размещены волновод с распределенной по его длине измерительной обмоткой и установленный на торце волновода ультразвуковой преобразователь, поплавок с постоянным магнитом, выполненный в виде полого цилиндра, одетого на герметизированную трубку с возможностью перемещения по ней, генератор, подключенный первым выходом к ультразвуковому преобразователю, усилитель, входы которого соединены с выводами измерительной обмотки, а также решающий блок, отличающийся тем, что он содержит первый и второй триггеры, логический блок, выполняющий операцию Исключающее ИЛИ, и компаратор, при этом счетный вход первого триггера и вход установки второго триггера объединены и подключены ко второму выходу генератора, вход компаратора соединен с выходом усилителя, выходы первого триггера и компаратора подключены ко входам логического блока, выход которого соединен со счетным входом второго триггера, а выход второго триггера подключен ко входу решающего блока.
РИСУНКИ
RH4A – Выдача дубликата патента Российской Федерации на изобретение
Дата выдачи дубликата: 30.06.2006
Наименование лица, которому выдан дубликат:
Кабатчиков Валерий Александрович (RU)
Извещение опубликовано: 20.08.2006 БИ: 23/2006
|
|