|
|
(21), (22) Заявка: 2003126137/28, 18.08.2003
(24) Дата начала отсчета срока действия патента:
18.08.2003
(43) Дата публикации заявки: 20.02.2005
(45) Опубликовано: 10.07.2005
(56) Список документов, цитированных в отчете о поиске:
US 5029482 А, 09.07.1991. US 4773257 A, 27.09.1988. WO 0131298 А2, 03.05.2001. RU 2141640 С1, 20.11.1999. RU 2084832 С1, 20.07.1997.
Адрес для переписки:
194223, Санкт-Петербург, а/я 3, Н.И. Степановой
|
(72) Автор(ы):
Кратиров В.А. (RU), Гареев М.М. (RU), Логоша И.И. (RU)
(73) Патентообладатель(и):
Кратиров Владимир Алексеевич (RU), Гареев Мурсалим Мухутдинович (RU), Логоша Игорь Иванович (RU)
|
(54) ИЗМЕРИТЕЛЬНАЯ ЛИНИЯ УЗЛА УЧЕТА НЕФТИ
(57) Реферат:
Изобретение относится к измерительной технике, а именно к конструкциям измерительных линий узла учета нефти. Заявлена измерительная линия узла учета нефти, включающая рабочий участок трубопровода, на входе и выходе которого установлены задвижки. В линии размещено средство для измерения расхода контролируемой среды. На рабочем участке трубопровода дополнительно размещено средство для измерения доли свободного газа. На рабочем участке трубопровода установлены узел подачи в измерительную линию газа, узел подачи в измерительную линию свободной от газа нефти и задвижка, соединяющая измерительную линию со сливным трубопроводом. Технический результат: повышение точности измерения расхода потока нефти. 1 з.п. ф-лы, 1 ил.

Изобретение относится к измерительной технике, а именно к конструкциям измерительных линий узла учета нефти.
В состав узлов учета нефти входит комплекс контрольно-измерительного оборудования, в том числе измерительные линии для контроля расхода нефти.
Так, известна измерительная линия узла учета нефти [кн. А.Ш.Фатхутдинов и др. “Автоматизированный учет нефти и нефтепродуктов при добыче, транспорте и переработке”. М.: 2002 г., с.14-15], которая выбрана авторами за прототип. Рассматриваемая измерительная линия входит в блок измерительных линий и содержит участок трубопровода, на входе и выходе которого установлены задвижки, позволяющие включать измерительную линию в работу. На участке трубопровода установлено устройство для измерения расхода текучей среды.
Указаная измерительная линия позволяет определять расход нефти. Однако поскольку расход нефти определяется без учета доли свободного газа в ней, невозможно обеспечить высокую точность измерения расхода при наличии свободного газа в нефти.
Задачей изобретения является повышение точности измерения расхода нефти за счет учета содержания в ней свободного газа.
Сущность изобретения заключается в том, что в измерительной линии узла учета нефти, включающей рабочий участок трубопровода, на входе и выходе которого установлены задвижки и в котором размещено средство для измерения расхода контролируемой среды, согласно изобретению на рабочем участке трубопровода дополнительно размещено средство для измерения доли свободного газа, при этом на рабочем участке трубопровода установлены узел подачи в измерительную линию газа, а также задвижка, соединяющая измерительную линию со сливным трубопроводом.
Возможен вариант выполнения изобретения, в котором измерительная линия узла учета нефти дополнительно содержит контрольный участок трубопровода, вход которого расположен перед выходной задвижкой рабочего участка трубопровода, а выход соединен с выходом рабочего участка трубопровода, при этом на входе и выходе контрольного участка трубопровода установлены задвижки, в контрольном участке трубопровода размещены контрольное средство для измерения расхода контролируемой среды, средство для измерения доли свободного газа, узел подачи в контрольный участок трубопровода газа, а также задвижка, соединяющая контрольный участок трубопровода со сливным трубопроводом.
Включение в измерительную линию средства для измерения свободного газа позволяет на основании его показаний корректировать показания средства для измерения расхода контролируемой среды.
Наличие на участке трубопровода узла подачи в измерительную линию газа и задвижки, соединяющей измерительную линию со сливным трубопроводом, обеспечивает возможность оперативной градуировки средства для измерения доли свободного газа непосредственно в измерительной линии.
Для повышения точности корректировки показаний средства для измерения расхода контролируемой среды по показаниям средства для измерения доли свободного газа измерительная линия может быть дополнительно снабжена контрольным участком трубопровода, в котором установлены контрольное средство для измерения расхода контролируемой среды, средство для измерения доли свободного газа, узел подачи в контрольный участок трубопровода газа, а также задвижка, соединяющая контрольный участок трубопровода со сливным трубопроводом.
В качестве средства для измерения расхода контролируемой среды в заявляемой измерительной линии может быть использован массовый или объемный расходомер, например турбинный преобразователь расхода, ультразвуковой расходомер, кориолисовый массовый расходомер.
В качестве средства для измерения доли свободного газа в заявляемой измерительной линии может быть использован измеритель, работа которого основана на радиоизотопном методе измерения плотности (см., например, патент RU 2141640).
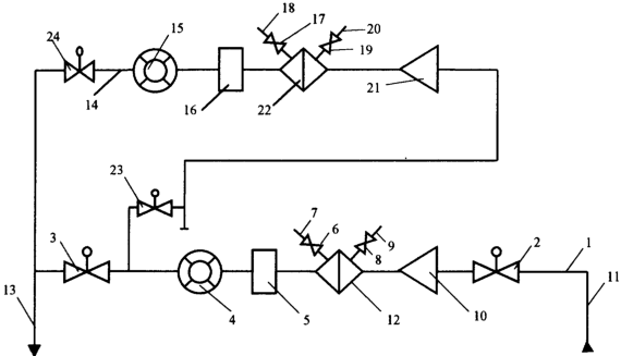
На чертеже представлена функциональная схема заявляемой измерительной линии.
Измерительная линия содержит рабочий участок 1 трубопровода, на входе которого установлена задвижка 2, а на выходе – задвижка 3, которые предназначены для включения измерительной линии в работу и выключения ее. На участке 1 трубопровода размещено устройство 4 для измерения расхода контролируемой среды. Перед средством 4 для измерения расхода контролируемой среды установлено средство 5 для измерения доли свободного газа. На участке 1 трубопровода перед средством 5 для измерения доли свободного газа размещен узел подачи в рабочий участок 1 трубопровода газа, представляющий собой вентиль 6, который соединяет участок 1 трубопровода или с атмосферой или с трубопроводом 7, подключенным к источнику газа, например к компрессору (не показан). На участке 1 трубопровода установлена задвижка 8, соединяющая участок 1 трубопровода со сливным трубопроводом 9. На участке 1 трубопровода также имеется переходник 10, предназначенный для согласования диаметра участка 1 трубопровода с диаметром входного трубопровода 11. Кроме того, после вентиля 6 и задвижки 8 и перед средством 5 для измерения доли свободного газа на участке трубопровода 1 установлен фильтр 12 твердых частиц, одновременно выполняющий функцию смесителя газа и жидкости. Выход участка 1 трубопровода соединен с выходным трубопроводом 13.
Измерительная линия также содержит контрольный участок 14 трубопровода, вход которого расположен перед задвижкой 3, а выход соединен с выходным трубопроводом 13. На участке 14 трубопровода установлены контрольное средство 15 для измерения расхода контролируемой среды, такое же, как средство 4 для измерения расхода контролируемой среды на участке 1 трубопровода, а также средство 16 для измерения доли свободного газа, такое же, как средство 5 на участке 1 трубопровода. На участке 14 трубопровода перед средством 16 для измерения доли свободного газа размещен узел подачи в контрольный участок 14 трубопровода газа, представляющий собой вентиль 17, который соединяет участок 14 трубопровода или с атмосферой или с трубопроводом 18, подключенным к источнику газа, например к компрессору (не показан). На участке 14 трубопровода установлена задвижка 19, соединяющая участок 14 трубопровода со сливным трубопроводом 20. На участке 14 трубопровода также имеется переходник 21. Кроме того, после вентиля 17 и задвижки 19 и перед средством 16 для измерения доли свободного газа на участке трубопровода 14 установлен фильтр 22 твердых частиц, одновременно выполняющий функцию смесителя газа и жидкости. На входе и выходе участка 14 трубопровода соответственно расположены задвижки 23 и 24.
Измерительная линия работает следующим образом.
Используют рабочий участок 1 трубопровода при закрытой задвижке 23 и открытых задвижках 2 и 3.
Перед работой осуществляют градуировку средства 5 для измерения доли свободного газа.
Закрывают задвижки 2 и 3, открывают задвижку 8 и опорожняют участок 1 трубопровода через сливной трубопровод 9. Заполняют участок 1 трубопровода газом, для чего открывают вентиль 6. При этом в случае, когда вентиль 6 соединен с атмосферой, участок 1 трубопровода заполняется атмосферным воздухом, а в случае, когда вентиль 6 соединен с трубопроводом 7, участок 1 трубопровода заполняется газом, поступающим от источника газа. Снимают показание средства 5 для измерения доли свободного газа при 100%-ном заполнении участка 1 трубопровода газом. Затем закрывают вентиль 6 и задвижку 8 и через входной трубопровод 11 заполняют участок 1 трубопровода свободной от газа нефтью, поступающей из специального резервуара (не показан). Снимают показание средства 5 для измерения доли свободного газа при 100%-ном заполнении участка 1 трубопровода нефтью, не содержащей газа. После этого заполняют участок 1 трубопровода фиксированным количеством газа, для чего открывают вентиль 6. В случае, когда вентиль 6 соединен с атмосферой, отливают фиксированное количество нефти через открытую задвижку 8, при этом объем отлитой нефти соответствует объему поступившего из атмосферы газа. В случае, когда участок 1 трубопровода через вентиль 6 соединен с источником газа, заполняют участок 1 трубопровода фиксированным количеством газа, а вытесненная газом нефть сливается в сливной трубопровод 9. Снимают показание средства 5 для измерения доли свободного газа при наличии в нефти фиксированной доли свободного газа. По показаниям средства 5, полученным для случая 100%-ного заполнения участка 1 трубопровода свободным газом, для случая 100%-ного заполнения участка 1 трубопровода свободной от газа нефтью и для случая заполнения участка 1 трубопровода нефтью с фиксированной долей свободного газа, строят градуировочную зависимость, которой затем пользуются при измерении с помощью средства 5 доли свободного газа в контролируемой среде.
После проведения градуировки средства 5 для измерения доли свободного газа опорожняют участок 1 трубопровода, открывают задвижки 2 и 3, соединяют
входной трубопровод 11 с нефтепроводом и пропускают через рабочий участок 1 трубопровода поток контролируемой нефти. В процессе прохождения потока нефти через участок 1 трубопровода измерительной линии определяют расход нефти по показаниям средства 4, при этом корректируют показания средства 4, умножая измеренную указанным средством величину расхода на поправочный коэффициент, равный (1- ), где – доля свободного газа, измеренная средством 5.
Для более точного определения поправки, вносимой в показания средства 4 для определения расхода контролируемой среды, используют контрольный участок 14 трубопровода, при этом открывают задвижки 2, 23 и 24 и закрывают задвижку 3.
Перед работой осуществляют градуировку средства 16 для измерения доли свободного газа аналогично тому, как осуществляли градуировку средства 4 для измерения доли свободного газа на участке 1 трубопровода, осуществляя 100%-ное заполнение участка 14 трубопровода свободным газом с помощью вентиля 17, 100%-ное заполнение участка 14 трубопровода свободной от газа нефтью, подключая входной трубопровод 11 к специальному резервуару, и заполнение участка 14 трубопровода нефтью с фиксированной долей свободного газа, используя для этого вентиль 17 и задвижку 19, установленную в сливном трубопроводе 20.
Затем определяют поправку, вносимую в показания средства 4 для определения расхода контролируемой среды в зависимости от доли свободного газа в нефти.
Пропускают поток свободной от газа нефти, поступающей через входной трубопровод 11 из специального резервуара, последовательно через рабочий участок 1 трубопровода и контрольный участок 14 трубопровода, фиксируя величину расхода нефти, протекающей через участок 1 трубопровода, с помощью средства 4 и величину расхода нефти, протекающей через участок 14 трубопровода, с помощью средства 15. Затем на участке 14 трубопровода в поток нефти вводят некоторое количество газа с помощью вентиля 17 и задвижки 19 и измеряют долю свободного газа в нефти, протекающей через участок 14 трубопровода, и ее расход соответственно средством 16 и средством 15. Определяют разность в показаниях средства 4 и средства 15 для измерения расхода соответственно на участке 1 трубопровода и участке 14 трубопровода при данном значении доли свободного газа в нефти, протекающей через участок 14 трубопровода. Осуществляют ряд измерений доли свободного газа и расхода нефти на участке 14 трубопровода для
ряда значений доли свободного газа в нефти, протекающей через участок 14 трубопровода. При этом каждый раз определяют разность в показаниях средства 4 и средства 15 для измерения расхода нефти при соответствующем фиксированном значении доли свободного газа в нефти, протекающей через участок 14 трубопровода. По полученным данным строят поправочную зависимость, связывающую разность между показаниями расхода контролируемой среды, измеренного средством 4 и средством 15, с величиной доли свободного газа в контролируемой среде для данного значения расхода. Аналогичным образом определяют поправочную зависимость, связывающую разность показаний средства 4 и средства 15 с величиной доли свободного газа в контролируемой среде, для различных значений расхода контролируемой среды.
Определяют значение расхода контролируемой среды с помощью средства 4, при известном значении доли свободного газа в ней, измеренной средством 5, корректируя значение расхода с учетом определенной с помощью участка 14 трубопровода поправочной зависимости.
Формула изобретения
1. Измерительная линия узла учета нефти, включающая рабочий участок трубопровода, на входе и выходе которого установлены задвижки и в котором размещено средство для измерения расхода контролируемой среды, отличающаяся тем, что на рабочем участке трубопровода дополнительно размещено средство для измерения доли свободного газа, при этом на рабочем участке трубопровода установлены узел подачи в измерительную линию газа, а также задвижка, соединяющая измерительную линию со сливным трубопроводом.
2. Измерительная линия узла учета нефти по п.1, отличающаяся тем, что она дополнительно содержит контрольный участок трубопровода, вход которого расположен перед выходной задвижкой рабочего участка трубопровода, а выход соединен с выходом рабочего участка трубопровода, при этом на входе и выходе контрольного участка трубопровода установлены задвижки, в контрольном участке трубопровода размещены контрольное средство для измерения расхода контролируемой среды, средство для измерения доли свободного газа, узел подачи в контрольный участок трубопровода газа, а также задвижка, соединяющая контрольный участок трубопровода со сливным трубопроводом.
РИСУНКИ
|
|