|
|
(21), (22) Заявка: 2003126225/28, 29.08.2003
(24) Дата начала отсчета срока действия патента:
29.08.2003
(43) Дата публикации заявки: 20.02.2005
(45) Опубликовано: 10.07.2005
(56) Список документов, цитированных в отчете о поиске:
SU 1211602 A, 15.02.1986. SU 1480799 A, 23.05.1989. US 5666204 A, 09.09.1997.
Адрес для переписки:
105118, Москва, пр-т Буденного, 16, ФГУП “ММПП “САЛЮТ”, ПЛО, С.Е. Кирееву
|
(72) Автор(ы):
Степняков В.П. (RU), Ахметдинов Р.М. (RU), Ганеев Д.А. (RU)
(73) Патентообладатель(и):
Федеральное государственное унитарное предприятие “Московское машиностроительное производственное предприятие “САЛЮТ” (ФГУП “ММПП “САЛЮТ”) (RU)
|
(54) УСТРОЙСТВО ДЛЯ ИЗМЕРЕНИЯ ФОРМЫ ОБЪЕКТА
(57) Реферат:
Устройство для измерения формы объекта содержит две расположенные относительно измеряемых поверхностей объекта светоизлучающие системы, каждая из которых формирует световые линии на заданных участках объекта, фотоприемник с объективом и вычислительный блок, подключенный входом к выходу фотоприемника. Фотоприемник выполнен в виде матрицы и оптически связан с каждой светоизлучающей системой. Устройство дополнительно содержит зеркала, расположенные относительно измеряемых поверхностей объекта под острым углом к его поверхности и оптически связанные с фотоприемником через объектив, оптическая ось которого расположена в плоскости симметрии. Технический результат – повышение точности измерения, производительности и упрощение конструкции устройства. 5 з.п. ф-лы, 2 ил.

Изобретение относится к измерительной технике, в частности к устройствам для измерения формы объекта, и может быть использовано в авиадвигателестроении, машиностроении и других областях техники для измерения геометрических параметров профиля поверхности объекта оптоэлектронным методом.
Известно устройство для измерения геометрических параметров детали, содержащее две симметрично расположенных относительно измеряемых поверхностей детали светоизлучающие системы, каждая из которых формирует световые линии на заданных участках детали, два фотоприемника, каждый из которых оптически связан с соответствующей светоизлучающей системой, и вычислительный блок, вход которого подключен к выходам фотоприемников (см. патент РФ №2105265, кл. G 01 B 11/24, опубл. 20.02.1998).
Наличие двух фотоприемников приводит к усложнению конструкции устройства и системы маштабирования фотоприемников, что отрицательно сказывается на точности измерения. Область применения данного устройства ограничена: оно не предназначено для контроля изделия со сложной поверхностью и большой протяженностью, например, лопаток газотурбинных двигателей.
Задача изобретения – повышение точности измерения, производительности и упрощение конструкции устройства.
Указанная задача решается тем, что в устройстве для измерения формы объекта, содержащем, по меньшей мере, две расположенные относительно измеряемых поверхностей объекта светоизлучающие системы, каждая из которых формирует световые линии на заданных участках объекта, фотоприемник с объективом и вычислительный блок, подключенный входом к выходу фотоприемника, согласно изобретению фотоприемник выполнен в виде матрицы и оптически связан с каждой светоизлучающей системой, при этом устройство дополнительно содержит зеркала, расположенные относительно измеряемых поверхностей объекта под острым углом к его поверхности и оптически связанные с фотоприемником через объектив, оптическая ось которого расположена в плоскости симметрии.
Располагать зеркала под острым углом к измеряемым поверхностям необходимо для того, чтобы изображение световых линий попало через объектив на фотоприемник. Фотоприемник выполнен в виде матрицы для возможности измерения сразу по двум координатам.
Устройство может дополнительно содержать дисплей, подключенный входом к выходу вычислительного блока, что позволяет визуализировать результаты измерения.
Дисплей может быть выполнен жидкокристаллическим, что повышает качество изображения измеряемого профиля объекта.
Светоизлучающие системы, зеркала, фотоприемник с объективом, вычислительный блок и дисплей могут быть закреплены на опорной плите, что позволяет уменьшить влияние вибрации на результаты измерения.
Объект измерения может быть установлен с возможностью перемещения относительно опорной плиты, что позволяет измерить всю поверхность объекта в заданных сечениях.
В качестве объекта измерения могут быть выбраны лопатки газотурбинного двигателя.
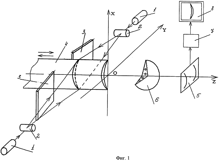
На фиг.1 схематично изображено предложенное устройство;
на фиг.2 – оптическая схема предложенного устройства.
Направление световых лучей на чертежах указано стрелками .
В качестве объекта измерения выбрана компрессорная лопатка авиационного газотурбинного двигателя.
Устройство для измерения формы объекта содержит две светоизлучающие системы, включающие лазеры 1 и формирователи световой линии виде цилиндрических линз 2, плоские зеркала 3, измеряемый объект – компрессорная лопатка 4, оптически связанный с каждой светоизлучающей системой фотоприемник 5 с объективом 6, жидкокристаллический дисплей 7, вычислительный блок 8.
Фотоприемник 5 с объективом 6 расположены с торцевой поверхности лопатки 4, вычислительный блок 7 подключен входом к выходу фотоприемника 5, дисплей 8 подключен входом к выходу вычислительного блока 7. Оптическая ось объектива 6 расположена в плоскости симметрии лопатки 4, плоские зеркала 3 симметрично расположены относительно измеряемых поверхностей – спинки и корыта-лопатки 4 под острым углом, например 20°. Такой угол наклона позволяет формировать через объектив 6 изображение световой линии на фотоприемник 5. Светоизлучающие системы расположены симметрично относительно измеряемых поверхностей – спинки (выгнутой поверхности) и корыта (вогнутой поверхности) – лопатки 4.
Устройство работает следующим образом.
Устанавливают симметрично (с противоположных поверхностей), относительно измеряемых поверхностей (спинки и корыта) лопатки 4 на опорной плите (на чертеже на обозначена) две светоизлучающие системы, каждая из которых состоит из лазера 1 и цилиндрической линзы 2, фотоприемник 5 с объективом 6, вычислительный блок 7, плоские зеркала 3 и дисплей 8. С возможностью взаимного перемещения устанавливают в базирующее приспособление (на чертеже не показано), расположенное на опорной плите, лопатку 4 измеряемыми поверхностями к зеркалам 3 и торцом к фотоприемнику 5.
При включении устройства лучи лазеров 1 формирует через линзы 2 световые линии на измеряемом сечении профиля лопатки 4 как со стороны спинки, так и со стороны корыта, при этом изображение световых линий повторяет рельеф измеряемого сечения поверхности лопатки 4. Изображение световых линий с помощью зеркал 3 отражается вдоль оптической оси объектива 6, который в свою очередь, учитывая масштабный фактор измеряемого объекта, формирует изображение световых линий на фотоприемнике 5. Преобразованное в электрический сигнал изображение передается в вычислительный блок 7, где осуществляется совмещение изображений спинки и корыта измеряемого сечения лопатки 4. На дисплее 8 осуществляется индикация изображения измеряемого сечения и координат лопатки.
Для измерения следующего сечения лопатки 4 ее перемещают в продольном направлении относительно зеркал 3 на опорной плите, закрепляют и повторяют процесс измерения.
Объект измерения можно перемещать в любом направлении как в продольном направлении, так и в окружном и т.д. в зависимости от выбранного объекта измерения.
Формула изобретения
1. Устройство для измерения формы объекта, содержащее, по меньшей мере, две расположенные относительно измеряемых поверхностей объекта светоизлучающие системы, каждая из которых формирует световые линии на заданных участках объекта, фотоприемник с объективом и вычислительный блок, подключенный входом к выходу фотоприемника, отличающееся тем, что фотоприемник выполнен в виде матрицы и оптически связан с каждой светоизлучающей системой, при этом устройство дополнительно содержит зеркала, расположенные относительно измеряемых поверхностей объекта под острым углом к его поверхности и оптически связанные с фотоприемником через объектив, оптическая ось которого расположена в плоскости симметрии.
2. Устройство для измерения по п.1, отличающееся тем, что дополнительно содержит дисплей, подключенный входом к выходу вычислительного блока.
3. Устройство для измерения по п.2, отличающееся тем, что дисплей выполнен жидкокристаллическим.
4. Устройство для измерения по любому из пп.1-3, отличающееся тем, что светоизлучающие системы, зеркала, фотоприемник с объективом, вычислительный блок и дисплей закреплены на опорной плите.
5. Устройство для измерения по п.4, отличающееся тем, что объект измерения установлен с возможностью перемещения относительно опорной плиты.
6. Устройство для измерения по любому из пп.1-5, отличающееся тем, что в качестве объекта измерения выбраны лопатки газотурбинного двигателя.
РИСУНКИ
|
|