|
|
(21), (22) Заявка: 2004113213/02, 28.04.2004
(24) Дата начала отсчета срока действия патента:
28.04.2004
(45) Опубликовано: 10.07.2005
(56) Список документов, цитированных в отчете о поиске:
Жуков И.И. и др. Артиллерийское вооружение. М.: Машиностроение, 1975, с.281, 318, 322. RU 2000110215 А, 27.03.2002. US 5129307 A, 14.07.1992. US 5067268 А, 26.11.1991. ЕР 0015174 А1, 03.09.1980.
Адрес для переписки:
601900, Владимирская обл., г. Ковров, ул. Труда, 4, ОАО “Завод им. В.А. Дегтярёва”, ОПЛИР
|
(72) Автор(ы):
Бобылев А.М. (RU), Липсман Д.Л. (RU), Савельев В.Б. (RU)
(73) Патентообладатель(и):
Открытое акционерное общество “Завод им. В.А. Дегтярёва” (RU)
|
(54) ОРУЖЕЙНАЯ УСТАНОВКА
(57) Реферат:
Изобретение относится к военной технике, в частности к установкам стрелково-пушечного вооружения на транспортных средствах-носителях. Сущность изобретения заключается в том, что подъемный механизм выполнен в виде жестко установленной на задней части люльки П-образной перекладины, на одной боковой стенке которой закреплена рукоятка управления, а на другой – трубчатая направляющая. Тяга спускового механизма с пружиной расположены в трубчатой направляющей с возможностью продольного перемещения. Другая рукоятка управления снабжена осью, расположенной в продольных пазах трубчатой направляющей и жестко закреплена в поперечном отверстии тяги. Тяга спускового механизма посредством оси рукоятки управления и рычажных механизмов, шарнирно установленных на люльке, кинематически связана со спусковым рычагом оружия и тормозным рычагом тормоза люльки. Предохранитель установлен на трубчатой направляющей с возможностью взаимодействия с осью рукоятки управления, сектор тормоза жестко установлен на верхнем станке. Технический результат изобретения состоит в повышении боевой эффективности оружейной установки. 11 ил.

Изобретение относится к военной технике, в частности к установкам стрелково-пушечного вооружения на транспортных средствах-носителях (катерах, кораблях, автобронетехнике), а также стационарно.
Известна тумбовая оружейная установка (см. Артиллерийское вооружение, И.И.Жуков и др., Москва, Машиностроение, 1975 г., стр.281, 318, 322). Установка содержит нижний станок и верхний станок с механизмами горизонтальной и вертикальной наводки. Механизмы наводки имеют рукоятки управления и включают самотормозящиеся червячные пары для исключения действия нагрузок от выстрелов на рукоятки управления.
Недостатком аналога является то, что при стрельбе люлька с оружием колеблется в пределах зазоров, существующих в кинематических парах механизмов наводки, что увеличивает рассеивание траекторий пуль при стрельбе, вследствие чего ухудшается кучность боя оружия.
Известна оружейная установка (см. Универсальный станок 6У6.Техническое описание и инструкция по эксплуатации 6У6 ТО, стр.6, стр.16-18, стр.54-62, стр.64-71), взятая за прототип. Оружейная установка содержит нижний и верхний станок, люльку с цапфами и с установленным на ней оружием, включающим затвор с выступами боевого взвода, спусковой рычаг и шептало, уравновешивающий механизм, поворотный и подъемный механизмы с рукоятками управления, тормоз люльки, включающий сектор с тормозными поверхностями, винтовой зажим с винтом и гайкой, тормозной рычаг, спусковой механизм, включающий тягу с пружиной и предохранитель.
Недостатками прототипа-устройства являются:
– при стрельбе с расторможенными поворотной и качающейся частями установки при управлении оружием рукоятками подъемного и поворотного механизмов происходят колебания люльки с оружием вследствии наличия люфтов в кинематических парах механизмов наводки, что снижает кучность боя оружия;
– при стрельбе с закрепленными ручными тормозами вращающейся и качающейся частей установки происходит “сбой” наводки при повороте рукояток тормозов, что ведет к ухудшению меткости боя оружия;
– затрачивается больше времени для производства прицельной стрельбы, так как после наводки оружия требуется произвести повороты рукояток двух тормозов, что уменьшает практическую скорострельность оружия;
– сложность механизмов и узлов установки, что снижает ее надежность в условиях повышенной запыленности или влажности.
Задачей предлагаемого изобретения является повышение боевой эффективности оружейной установки.
Технический результат, получаемый при осуществлении изобретения “Оружейная установка” заключается в следующем:
– в улучшении кучности и меткости боя, установленного на установке оружия;
– в повышении практической скорострельности;
– в упрощении конструкции механизмов наводки.
Указанный технический результат достигается тем, что в оружейной установке, содержащей нижний станок и верхний станок, люльку с цапфами и с установленным на ней оружием, включающим затвор с выступами боевого взвода, спусковой рычаг и шептало, уравновешивающий механизм, поворотный и подъемный механизмы с рукоятками управления, тормоз люльки, включающий сектор с тормозными поверхностями, винтовой зажим с винтом и гайкой, и тормозным рычагом, спусковой механизм, включающий тягу с пружиной и предохранитель, новым является то, что подъемный механизм выполнен в виде жестко установленной на задней части люльки П-образной перекладины, на одной боковой стенке которой закреплена рукоятка управления, а на другой боковой стенке перекладины закреплена трубчатая направляющая, имеющая в задней части сквозные продольные пазы, тяга спускового механизма с пружиной расположены в трубчатой направляющей с возможностью продольного перемещения, при этом другая рукоятка управления снабжена осью, расположенной в продольных пазах трубчатой направляющей и жестко закреплена в поперечном отверстии тяги, при этом тяга спускового механизма посредством оси рукоятки управления и рычажных механизмов, шарнирно установленных на люльке, кинематически связана со спусковым рычагом орудия и тормозным рычагом тормоза люльки, а предохранитель установлен на трубчатой направляющей с возможностью взаимодействия с осью рукоятки управления, сектор тормоза жестко установлен на верхнем станке, при этом на торце цапфы люльки жестко установлен зажимной рычаг, имеющий на конце втулку, установленную параллельно оси цапфы и имеющую радиальный паз в средней части и фиксаторы угловых перемещений, установленные на боковой стенке втулки, при этом винтовой зажим тормоза расположен во втулке зажимного рычага с возможностью закрепления люльки после схода выступов боевого взвода затвора с шептала, а в средней части винта винтового зажима радиально установлен поводок, расположенный в пазу втулки и имеющий на конце горизонтально расположенный цилиндрический палец, а винтовой зажим выполнен с двумя гайками, имеющими разное направление резьбы и продольные пазы на наружных поверхностях, взаимодействующие с фиксаторами угловых перемещений, а на внешних торцовых поверхностях гаек жестко установлены фрикционные элементы, взаимодействующие при закреплении люльки с тормозными поверхностями сектора, при этом на цапфе с зажимным рычагом выполнено по центру сквозное отверстие, в котором установлен вал, на одном конце которого расположен тормозной рычаг, а на другом жестко установлен поворотный рычаг, имеющий на конце продольный паз, взаимодействующий с пальцем поводка.
Технические решения с признаками, отличающими заявляемое решение от прототипа, не известны и не следуют явным образом из уровня техники. Это позволяет считать, что заявляемое решение является НОВЫМ и обладает ИЗОБРЕТАТЕЛЬСКИМ УРОВНЕМ.
Сущность предлагаемого технического решения поясняется чертежами:
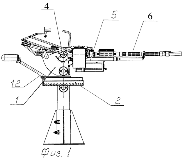
на фиг.1 показан общий вид оружейной установки;
на фиг.2 – верхний станок с люлькой;
на фиг.3 – перекладина с трубой направляющей в разрезе;
на фиг.4 – верхний станок с люлькой, вид сверху;
на фиг.5 – верхний станок с люлькой с местным разрезом, вид сзади;
на фиг.6 – винтовой зажим в разрезе, выносной элемент Б;
на фиг.7 – цапфа люльки в разрезе Г-Г;
на фиг.8 – верхний станок с местным разрезом, вид по стрелке А,
на фиг.9 – нижняя часть поворотного рычага и винтовой зажим, выносной элемент В;
на фиг.10 – затвор пулемета КПВТ с выступами боевого взвода;
на фиг.11 – спусковой механизм пулемета КПВТ.
Оружейная установка состоит из верхнего станка 1, установленного на нижнем станке 2, нижняя часть которого выполнена в виде тумбы. На верхнем станке 1 на цапфах 3 и 4 установлена люлька 5, на которой установлен крупнокалиберный пулемет Владимирова (КПВТ) 6, который включает затвор 7 с выступами 8 боевого взвода и спусковой механизм, содержащий шептало 9 и спусковой рычаг 10. На люльке 5 расположен уравновешивающий механизм 11. Установка содержит поворотный механизм 12 и подъемный механизм, состоящий из П-образной перекладины 13, имеющей на одной боковой стенке 14 жестко установленную рукоятку управления 15, а на другой боковой стенке 16 перекладины 13 установлена трубчатая направляющая 17, имеющая в задней части сквозные продольные пазы 18. В трубчатой направляющей 17 расположена тяга 19 спускового механизма установки, поджатая пружиной 20. Другая рукоятка управления 21 имеет ось 22 с резьбой на конце. Ось рукоятки 21 вставлена в поперечное отверстие 23 тяги 19 и в продольные пазы 18 трубчатой направляющей 17 и закреплена на тяге 19, гайкой 24. На трубчатой направляющей установлен с возможностью поворота вокруг оси 25 предохранитель 26, имеющий на конце паз, в котором при походном положении установки находится ось 22 рукоятки 21.
В отверстиях опорных стоек 27, расположенных на П-образной перекладине, установлен вал 28, на котором жестко закреплены рычаги 29,30,31 рычажных механизмов, связывающих тягу 19 спускового механизма установки со спусковым рычагом 10 оружия и тормозным рычагом 32 тормоза люльки. Рычаг 29 с помощью шатуна 33 связан с осью 22 рукоятки 21. Рычаг 30 посредством шатуна 34 связан с тормозным рычагом 32.
В отверстии кронштейна 35, закрепленного на люльке, установлен вал 36, на одном конце которого закреплен рычаг 37, взаимодействующий посредством шатуна 38 с рычагом 31, а на другом конце расположен рычаг-толкатель 39, взаимодействующий со спусковым рычагом 10 оружия. На внешнем торце цапфы 3 люльки жестко установлен зажимной рычаг 40, имеющих на конце втулку 41, установленную параллельно оси цапфы. В средней части втулки 41 выполнен радиальный паз 42, а на боковой стенке втулки установлены фиксаторы угловых перемещений 43. Внутри втулки 41 установлен винтовой зажим 44, состоящий из винта 45 и двух гаек 46 и 47, расположенных на концах винта и имеющих разное направление резьбы. На наружных поверхностях гаек 46 и 47 выполнены продольные пазы 48, в которых расположены фиксаторы угловых перемещений 43.На внешних торцовых поверхностях гаек жестко установлены фрикционные элементы 49 и 50.
В средней части винта 45 винтового зажима 44 радиально установлен поводок 51, закрепленный в винте 45 штифтом 52. В радиальном пазу 42 втулки 41 расположен поводок 51, на верхнем конце которого установлен цилиндрический палец 53, расположенный в горизонтальной плоскости.
На верхнем станке 1 жестко установлен сектор 54 тормоза люльки. Винтовой зажим 44 расположен между тормозными поверхностями сектора 54.
На цапфе 3, на которой установлен зажимной рычаг 40, по центру выполнено сквозное отверстие 55, в котором установлен вал 56, на одном конце которого жестко установлен тормозной рычаг 32, а на другом жестко установлен поворотный рычаг 57, имеющий на конце продольный паз 58, в котором расположен цилиндрический палец 53 поводка 51.
Винтовой зажим 44 тормоза люльки, зажимной рычаг 40 и поворотный рычаг 57 закрыты крышкой 59.
На цапфе 4 люльки установлен параллелограмм 60, на котором закреплен прицел 61.
Устройство работает следующим образом.
Предохранитель 26 поворачивают на оси 25 и фиксируют на трубчатой направляющей 17. Тяга 19, снятая с предохранителя 26, находится в крайнем заднем положении и поджата пружиной 20. За рукоятки управления 15 и 21 производят наводку оружия 6 по прицелу 61. Горизонтальную наводку производят с помощью поворотного механизма 12, поворачивая поворотную часть установки вместе с пулеметом 6. Вертикальную наводку осуществляют поворотом качающейся части установки за рукоятки 15 и 21. При вертикальном повороте люльки 5 поворачивается и зажимной рычаг 40 вместе с винтовым зажимом 44, находящимся при всех углах возвышения и склонения оружия между тормозными поверхностями сектора 54. Синхронно с люлькой поворачивается и поворотный рычаг 57, при этом ведущим звеном движения поворотного рычага 57 при наводке является вал 28, установленный на люльке и перемещающийся вместе с ней при ее повороте. После наводки прицела 61 на цель установка готова к стрельбе. Для начала стрельбы рукоятку 21 с осью 22 и тягой 19 перемещают по трубчатой направляющей в крайнее переднее положение. Ось 22, посредством шатуна 33 и рычага 29, поворачивает вал 28, который с помощью рычага 30 и шатуна 34 поворачивает тормозной рычаг 32. Рычаг 31 вала 28 посредством шатуна 38 поворачивает рычаг 37, который через вал 36 передает вращение рычагу-толкателю 39, взаимодействующему со спусковым рычагом 10 оружия. Тормозной рычаг 32 передает вращение валу 56, который поворачивает поворотный рычаг 57, который, взаимодействуя своим пазом 58 с пальцем 53, поворачивает поводок 51 винтового зажима 44. Поводок 51, жестко установленный на винте 45, поворачивает винт 45, а гайки 46 и 47, установленные на краях винта, получают осевое перемещение в направлении тормозных поверхностей сектора 54. От проворота гайки 46 и 47 удерживаются фиксаторами угловых перемещений 43, находящимися в пазах 48 гаек 46 и 47.
Спусковой механизм установки и тормоз люльки конструктивно выполнены так, что первым срабатывает спусковой механизм оружия, а во время движения затвора 7 в крайнее переднее положение происходит закрепление люльки с оружием винтовым зажимом 44 тормоза люльки.
При приходе спускового рычага 10 в крайнее положение происходит сход выступов 8 боевого взвода затвора 7 с шептала 9, а тормозной рычаг 32, поворотный рычаг 57, поводок 51, винт 45 и гайки 46 и 47, продолжая свои движения, в конце хода прижмут фрикционные элементы 49 и 50 гаек 46 и 47 к тормозным поверхностям сектора 54, произведя закрепление люльки в вертикальной плоскости до производства первого выстрела. При отжатой вперед рукоятке 21 и ее удержании в крайнем переднем положении производится стрельба из оружия 6. Для прекращения стрельбы необходимо рукоятку 21 отвести назад, при этом тяга 19 и ось 22 рукоятки под действием пружины 20 и руки стрелка возвратят рычажные механизмы и связанные с ними спусковой рычаг 10 оружия 6 и тормозной рычаг 32 тормоза люльки в исходное положение. При возвращении спускового рычага 10 и шептала 9 в исходное положение выступы 8 боевого взвода затвора “ловятся” шепталом 9 и стрельба прекращается. При возвращении тормозного рычага 32 в исходное положение поворотный рычаг 57, поводок 51 и винт 45 поворачиваются в обратном направлении и гайки 46 и 47 с фрикционными элементами 49 и 50 отходят от тормозных поверхностей сектора 54, производя растормаживание люльки 5. При приходе рукоятки управления 21 в крайнее заднее положение оружейная установка готова для проведения следующей наводки и производства стрельбы.
Жесткое закрепление люльки на верхнем станке перед стрельбой посредством предложенного выполнения тормоза, а также уменьшение “сбоя” наводки путем закрепления люльки во время движения затвора в крайнее переднее положение, позволяет повысить кучность и меткость боя, установленного на установке оружия.
Совмещение операций наводки, спуска затвора с шептала и закрепление люльки перед стрельбой посредством ручного перемещения одной из рукояток управления наводкой позволяет повысить практическую скорострельность оружия.
Размещение рукояток управления жестко на люльке в сочетании с наличием уравновешивающего механизма и жесткого закрепления люльки во время стрельбы позволяют упростить оружейную установку путем упрощения конструкции подъемного механизма.
Формула изобретения
Оружейная установка, содержащая нижний станок и верхний станок, люльку с цапфами и установленным на ней оружием, включающим затвор с выступами боевого взвода, спусковой рычаг и шептало, уравновешивающий механизм, поворотный и подъемный механизм с рукоятками управления, тормоз люльки, включающий сектор с тормозными поверхностями, винтовой зажим с винтом и гайкой и тормозным рычагом, спусковой механизм, включающий тягу с пружиной и предохранитель, отличающаяся тем, что подъемный механизм выполнен в виде жестко установленной на задней части люльки П-образной перекладины, на одной боковой стенке которой закреплена рукоятка управления, а на другой боковой стенке перекладины закреплена трубчатая направляющая, имеющая в задней части сквозные продольные пазы, тяга спускового механизма с пружиной расположены в трубчатой направляющей с возможностью продольного перемещения, при этом другая рукоятка управления снабжена осью, расположенной в продольных пазах трубчатой направляющей и жестко закреплена в поперечном отверстии тяги, при этом тяга спускового механизма посредством оси рукоятки управления и рычажных механизмов, шарнирно установленных на люльке, кинематически связана со спусковым рычагом оружия и тормозным рычагом тормоза люльки, а предохранитель установлен на трубчатой направляющей с возможностью взаимодействия с осью рукоятки управления, сектор тормоза жестко установлен на верхнем станке, при этом на внешнем торце цапфы люльки жестко установлен зажимной рычаг, имеющий на конце втулку, установленную параллельно оси цапфы и имеющую радиальный паз в средней части и фиксаторы угловых перемещений, установленные на боковой стенке втулки, при этом винтовой зажим тормоза расположен во втулке зажимного рычага с возможностью закрепления люльки после схода выступов боевого взвода затвора с шептала, а в средней части винта винтового зажима радиально установлен поводок, расположенный в пазу втулки и имеющий на конце горизонтально расположенный цилиндрический палец, а винтовой зажим выполнен с двумя гайками, имеющими разное направление резьбы и продольные пазы на наружных поверхностях, взаимодействующие с фиксаторами угловых перемещений, а на внешних торцевых поверхностях гаек жестко установлены фрикционные элементы, взаимодействующие при закреплении люльки с тормозными поверхностями сектора, при этом на цапфе с зажимным рычагом выполнено по центру сквозное отверстие, в котором установлен вал, на одном конце которого расположен тормозной рычаг, а на другом жестко установлен поворотный рычаг, имеющий на конце продольный паз, взаимодействующий с пальцем поводка.
РИСУНКИ
|
|