|
|
(21), (22) Заявка: 2004105643/06, 24.02.2004
(24) Дата начала отсчета срока действия патента:
24.02.2004
(45) Опубликовано: 10.07.2005
(56) Список документов, цитированных в отчете о поиске:
Большая советская энциклопедия. М.: Советская энциклопедия, 1976, т.2, с.313, рис.4. SU 106183 А, 29.05.1957. SU 131681 А, 01.11.1960. SU 1682739 А1, 07.10.1991. RU 2089799 C1, 10.09.1997.
Адрес для переписки:
199106, Санкт-Петербург, В.О., 21 линия, 2, СПГГИ (ТУ), патентный отдел
|
(72) Автор(ы):
Тарасов Ю.Д. (RU), Рыжих А.Б. (RU), Прялухин А.Ф. (RU)
(73) Патентообладатель(и):
Государственное образовательное учреждение высшего профессионального образования Санкт-Петербургский государственный горный институт им.Г.В. Плеханова (технический университет) (RU)
|
(54) КОМПЛЕКС ДЛЯ СУШКИ САПРОПЕЛЯ
(57) Реферат:
Изобретение относится к сушильным устройствам, а именно к комплексам для сушки сапропелевой массы после ее предварительного обезвоживания при снижении влагосодержания до 50%. В комплексе для сушки сапропеля, включающем герметизированный кожух, размещенный внутри него бесконечный гибкий контур с несущим элементом для высушиваемого материала, огибающий приводной и обводной блоки с формированием петлевых участков, калорифер с возможностью обдува подогретым воздухом всех ветвей петлевых участков, загрузочное и разгрузочное устройство, опорные ролики, бесконечный гибкий контур выполнен в виде вертикально ориентированных петлевых участков и замыкающей горизонтальной ветви, размещенной над петлевыми участками, согласно изобретению все блоки выполнены в виде звездочек, взаимодействующих с двумя цепями, при этом звездочки горизонтальной замыкающей ветви и верхние звездочки петлевых участков установлены на полуосях с наружных сторон контура, цепи связаны между собой поперечными связями, размещенными по длине контура с одинаковым интервалом, а на поперечных связях с возможностью поворота относительно них свободно подвешены решетки прямоугольной формы, которые перекрывают по длине интервалы между смежными поперечными связями, загрузочное устройство размещено в зоне установки приводной звездочки на восходящей ветви первого петлевого участка по направлению движения контура и содержит питающий патрубок, примыкающий к загрузочной камере, состоящей из плоских и установленных параллельно друг другу направляющих с возможностью свободного прохода между ними решеток с поперечными связями и прикрепленных к ним со стороны выхода из них решеток консольно установленных упругих фартуков с возможностью их взаимодействия с обеими сторонами решеток, а на нисходящей ветви первого петлевого участка перед приводной звездочкой и с возможностью взаимодействия с обеими сторонами решеток установлены нитяные лопастные щетки, оси которых кинематически связаны с приводом их вращения, по направлению движения контура внутри герметизированного кожуха сформированы воздушные каналы с помощью горизонтального экрана, размещенного между горизонтальной ветвью контура и верхними звездочками петлевых участков, вертикальных экранирующих стенок, консольно закрепленных на горизонтальном экране в створах с восходящими ветвями петлевых участков, и вертикальных экранирующих стенок, закрепленных на боковых стенках кожуха в створах с нисходящими ветвями петлевых участков, разгрузочное устройство выполнено в виде размещенных под герметизированным кожухом и перекрывающих его снизу ленточного конвейера и приемника для высушенного сапропеля. Изобретение должно обеспечить возможность эффективной сушки предварительно обезвоженной сапропелевой массы с получением сапропеля с заданной крупностью гранул при минимизации энергозатрат на сушку за счет формирования равномерного по толщине слоя сапропеля на решетках. 3 ил.

Изобретение относится к сушильным устройствам, а именно к комплексам для сушки сапропелевой массы после ее предварительного обезвоживания при снижении влагосодержания до 50%.
Известна ленточная сушилка для сыпучих материалов (прототип), включающая герметизированный несущий кожух, бесконечный гибкий контур в виде несущей ленты, огибающей ведущие и ведомые барабаны и образующей горизонтально ориентированные петлевые участки, загрузочное и разгрузочное устройство, калорифер с возможностью обдува подогретым воздухом всех ветвей петлевых участков, опорные ролики (Большая советская энциклопедия. М.: Советская энциклопедия, 1976, т.2, с.313, рис.4).
Недостатками известной сушилки является невозможность ее использования для сушки предварительно обезвоженного сапропеля, обладающего большой вязкостью и способностью интенсивно налипать на опорные поверхности, что не допускает его многократную перегрузку в процессе сушки и надежную разгрузку высушенного сапропеля, а также высокая энергоемкость процесса сушки.
Техническими результатами изобретения являются обеспечение возможности эффективной сушки предварительно обезвоженной сапропелевой массы с получением гранул одинаковой крупности и качества при минимизации энергозатрат на сушку.
Технический результат достигается тем, что в комплексе для сушки сапропеля, включающем герметизированный кожух, размещенный внутри него бесконечный гибкий контур с несущим элементом для высушиваемого материала, огибающий приводной и обводной блоки с формированием петлевых участков, калорифер с возможностью обдува подогретым воздухом всех ветвей петлевых участков, загрузочное и разгрузочное устройство, опорные ролики, бесконечный гибкий контур выполнен в виде вертикально ориентированных петлевых участков и замыкающей горизонтальной ветви, размещенной над петлевыми участками, согласно изобретению все блоки выполнены в виде звездочек, взаимодействующих с двумя цепями, при этом звездочки горизонтальной замыкающей ветви и верхние звездочки петлевых участков установлены на полуосях с наружных сторон контура, цепи связаны между собой поперечными связями, размещенными по длине контура с одинаковым интервалом, а на поперечных связях с возможностью поворота относительно них свободно подвешены решетки прямоугольной формы, которые перекрывают по длине интервалы между смежными поперечными связями, загрузочное устройство размещено в зоне установки приводной звездочки на восходящей ветви первого петлевого участка по направлению движения контура и содержит питающий патрубок, примыкающий к загрузочной камере, состоящей из плоских и установленных параллельно друг другу направляющих с возможностью свободного прохода между ними решеток с поперечными связями и прикрепленных к ним со стороны выхода из них решеток консольно установленных упругих фартуков с возможностью их взаимодействия с обеими сторонами решеток, а на нисходящей ветви первого петлевого участка перед приводной звездочкой и с возможностью взаимодействия с обеими сторонами решеток установлены нитяные лопастные щетки, оси которых кинематически связаны с приводом их вращения, по направлению движения контура внутри герметизированного кожуха сформированы воздушные каналы с помощью горизонтального экрана, размещенного между горизонтальной ветвью контура и верхними звездочками петлевых участков, вертикальных экранирующих стенок, консольно закрепленных на горизонтальном экране в створах с восходящими ветвями петлевых участков, и вертикальных экранирующих стенок, закрепленных на боковых стенках кожуха в створах с нисходящими ветвями петлевых участков, разгрузочное устройство выполнено в виде размещенных под герметизированным кожухом и перекрывающих его снизу ленточного конвейера и приемника для высушенного сапропеля.
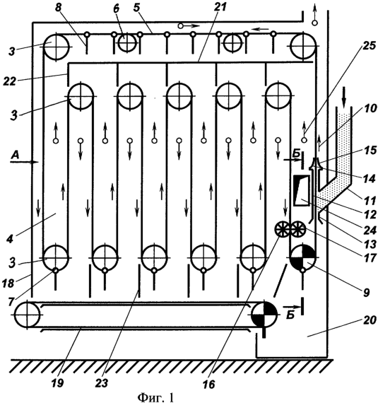
Комплекс для сушки сапропеля представлен на фиг.1 – вид сбоку, на фиг.2 – вид А по фиг.1, на фиг.3 – вид Б-Б по фиг.1.
Комплекс состоит из бесконечного гибкого контура, состоящего из двух цепей 1, 2 и замкнутого на сдвоенных звездочках 3 с образованием вертикально ориентированных петлевых участков 4 и горизонтальной замыкающей ветви 5, размещенной над петлевыми участками 4 и опирающейся на ролики или звездочки 6. Звездочки 3 горизонтальной замыкающей ветви 5 и верхние звездочки 3 петлевых участков установлены с возможностью вращения на полуосях, размещенных в подшипниковых опорах с наружных сторон контура.
Цепи 1 и 2 связаны между собой поперечными связями 7, размещенными по длине контура с одинаковым интервалом l, а на поперечных связях 7 с возможностью поворота относительно них свободно подвешены решетки 8 прямоугольной формы, перекрывающие по длине интервалы l между смежными поперечными связями.
Одна из сдвоенных звездочек 9 кинематически связана с приводом (не показан).
В зоне установки приводной звездочки 9 на восходящей ветви первого петлевого участка 4 с направлением движения 10 контура размещено загрузочное устройство, состоящее из питающего патрубка 11, связанного со шнековым питателем (не показан), при этом питающий патрубок 11 примыкает к загрузочной камере, состоящей из жестких плоских и установленных параллельно друг другу направляющих 12 и 13 с возможностью свободного прохода между ними решеток 8 с поперечными связями 7. К жестким плоским направляющим 12 и 13 со стороны выхода из них решеток 8 консольно прикреплены упругие фартуки 14 и 15 с возможностью их взаимодействия с обеими сторонами решеток 8.
На нисходящей ветви первого петлевого участка 4 перед приводной звездочкой 9 с возможностью взаимодействия с обеими сторонами решеток 8 установлены нитяные лопастные щетки 16 и 17, кинематически связанные с приводом их вращения (не показан).
Нити, формирующие лопасти щеток 16 и 17, могут быть выполнены из стальной проволоки или из полимерного материала.
Весь бесконечный гибкий контур заключен в герметизированный кожух 18, под нижним срезом которого размещен ленточный конвейер 19 на опорах скольжения для сбора возможной просыпи и приемник 20 для высушенной сапропелевой массы.
По направлению движения 10 контура внутри герметизированного кожуха 18 сформирован воздушный канал с помощью горизонтального экрана 21, размещенного между горизонтальной ветвью 5 контура и верхними звездочками петлевых участков 4, вертикальных экранирующих стенок 22, консольно закрепленных на горизонтальном экране 21 в створах с восходящими ветвями петлевых участков 4, и вертикальных экранирующих стенок 23, закрепленных на боковых стенках кожуха 18 в створах с нисходящими ветвями петлевых участков 4.
На восходящей ветви первого петлевого участка 4 под прямым углом к питающему патрубку 11 на кожухе 18 размещен патрубок 24, связанный с калорифером (не показан) с возможностью подачи через него воздуха в воздушный канал с образованием потока 25 воздуха.
Комплекс для сушки сапропеля действует следующим образом.
При движении цепей 1, 2 с подвешенными к ним решетками 8 в направлении 10 решетки 8 последовательно втягиваются в загрузочную камеру, образованную плоскими направляющими 12, 13 и упругими фартуками 14, 15, в которую под давлением подается сапропелевая масса.
При прохождении в стесненном пространстве загрузочной камеры, наполненной сапропелевой массой, решетки 8 захватывают эту массу, налипающую на них с двух сторон тонким слоем, который окончательно формируется упругими фартуками 14, 15. После выхода из камеры решетки 8 начинают с двух сторон обдуваться потоками 25 нагретого воздуха, поступающего их калорифера. Пройдя все петлевые участки 4 по восходящим и нисходящим ветвям, каждая решетка 8 доходит до щеток 16, 17, размещенных перед приводной звездочкой 9. К этому времени сапропелевая масса высушивается до заданной влажности, определяемой расходом нагретого воздуха, его температурой и скоростью движения цепей 1 и 2.
За счет вращения щеток 16 и 17 навстречу друг другу происходит очистка проходящих через щетки 16 и 17 решеток 8 от приставшего к ним сапропеля. Благодаря взаимному перекрытию лопастей щеток 16 и 17 происходит и очистка их лопастей. Выбором угловой скорости вращения щеток 16 и 17 обеспечивается заданная крупность гранул высушенного сапропеля. Высушенная сапропелевая масса, отделенная от решеток 8, разгружается в приемник 20. Туда же сбрасывается и просыпь сапропелевой массы с периодически включаемого ленточного конвейера 19. Эти фрагменты смешиваются с основной массой высушенного сапропеля, незначительно корректируя его остаточную влажность, что может быть учтено при разработке технологического регламента сушки сапропеля.
Отличительные признаки изобретения обеспечивают возможность эффективной сушки предварительно обезвоженной сапропелевой массы с получением сапропеля с заданной крупностью гранул при минимизации энергозатрат на сушку за счет формирования равномерного по толщине слоя сапропеля на решетках и канализации воздушного потока в сушильной камере.
Формула изобретения
Комплекс для сушки сапропеля, включающий герметизированный кожух, размещенный внутри него бесконечный гибкий контур с несущим элементом для высушиваемого материала, огибающий приводной и обводной блоки с формированием петлевых участков, калорифер с возможностью обдува подогретым воздухом всех ветвей петлевых участков, загрузочное и разгрузочное устройство, опорные ролики, бесконечный гибкий контур выполнен в виде вертикально ориентированных петлевых участков и замыкающей горизонтальной ветви, размещенной над петлевыми участками, отличающийся тем, что все блоки выполнены в виде звездочек, взаимодействующих с двумя цепями, при этом звездочки горизонтальной замыкающей ветви и верхние звездочки петлевых участков установлены на полуосях с наружных сторон контура, цепи связаны между собой поперечными связями, размещенными по длине контура с одинаковым интервалом, а на поперечных связях с возможностью поворота относительно них свободно подвешены решетки прямоугольной формы, которые перекрывают по длине интервалы между смежными поперечными связями, загрузочное устройство размещено в зоне установки приводной звездочки на восходящей ветви первого петлевого участка по направлению движения контура и содержит питающий патрубок, примыкающий к загрузочной камере, состоящей из плоских и установленных параллельно друг другу направляющих с возможностью свободного прохода между ними решеток с поперечными связями и прикрепленных к ним со стороны выхода из них решеток консольно установленных упругих фартуков с возможностью их взаимодействия с обеими сторонами решеток, а на нисходящей ветви первого петлевого участка перед приводной звездочкой и с возможностью взаимодействия с обеими сторонами решеток установлены нитяные лопастные щетки, оси которых кинематически связаны с приводом их вращения, по направлению движения контура внутри герметизированного кожуха сформированы воздушные каналы с помощью горизонтального экрана, размещенного между горизонтальной ветвью контура и верхними звездочками петлевых участков, вертикальных экранирующих стенок, консольно закрепленных на горизонтальном экране в створах с восходящими ветвями петлевых участков, и вертикальных экранирующих стенок, закрепленных на боковых стенках кожуха в створах с нисходящими ветвями петлевых участков, разгрузочное устройство выполнено в виде размещенных под герметизированным кожухом и перекрывающих его снизу ленточного конвейера и приемника для высушенного сапропеля.
РИСУНКИ
MM4A – Досрочное прекращение действия патента СССР или патента Российской Федерации на изобретение из-за неуплаты в установленный срок пошлины за поддержание патента в силе
Дата прекращения действия патента: 25.02.2006
Извещение опубликовано: 10.12.2007 БИ: 34/2007
|
|