|
|
(21), (22) Заявка: 2003136064/06, 16.12.2003
(24) Дата начала отсчета срока действия патента:
16.12.2003
(45) Опубликовано: 10.07.2005
(56) Список документов, цитированных в отчете о поиске:
RU 2036376 C1, 27.05.1995. SU 989233 А, 15.01.1983. DE 3537388 A1, 23.04.1987. DE-OS 3105628 A1, 10.04.1981. DE-OS 3107649 А1, 11.11.1982. FR 2466708 A1, 10.04.1981.
Адрес для переписки:
109341, Москва, ул. Верхние поля, 10, кв.44, А.С. Кондратьеву
|
(72) Автор(ы):
Кондратьев А.С. (RU)
(73) Патентообладатель(и):
Кондратьев Александр Сергеевич (RU)
|
(54) СПОСОБ ПОДГОТОВКИ ВОДОУГОЛЬНОГО ТОПЛИВА К СЖИГАНИЮ В ЭНЕРГЕТИЧЕСКОЙ КОТЕЛЬНОЙ УСТАНОВКЕ
(57) Реферат:
Изобретение относится к области энергетики, может быть использовано в котельных установках на тепловых электростанциях, промышленных котельных и обеспечивает повышение эффективности и экономичности подготовки водоугольного топлива к сжиганию в энергетической котельной установке. Этот технический результат достигается тем, что перед предварительным подогревом готового топлива определяют эффективную вязкость о, температуру То и концентрацию угля Со готового водоугольного топлива и задают значения максимальной эффективной вязкости топлива , определяемого из условия распыливания, максимальной температуры Т и максимальной концентрации угля С в топливе, направляемом на распыливание, водоугольным топливом частично заполняют конденсационный теплообменник с условием образования в верхней части полости для паров воды, выделяемых из подогреваемого топлива и в нижней части – открытой поверхности, с которой проводят испарение водной составляющей топлива путем отвода вакуумным насосом из верхней части полости паров воды и поддержания давления в ней ниже атмосферного. 1 ил.

Изобретение относится к области энергетики и может быть использовано в котельных установках на тепловых электростанциях, промышленных котельных и т.п.
Известно техническое решение подготовки жидкого топлива к сжиганию в энергетической котельной установке, в котором осуществлен способ подготовки жидкого топлива (водомазутной эмульсии) к сжиганию в энергетической котельной установке, включающий приготовление жидкого топлива, заполнение готовым топливом теплообменника для предварительного подогрева продуктами сгорания, подачу подогретого топлива к горелкам котла и подачу дымовых газов в конденсатор для их охлаждения (Авторское свидетельство СССР №989233, кл. F 22 В 33/18, 1981 г.).
Недостатком известного способа является то, что для предварительного подогрева жидкого топлива перед сжиганием необходимо использование отдельного теплообменника с подводом к нему тепла, что снижает экономичность способа.
Наиболее близким техническим решением (прототипом) является способ подготовки водоугольного топлива к сжиганию в энергетической котельной установке, который реализован в известной системе подготовке водоугольного топлива к сжиганию в энергетической котельной установке (Патент РФ №2036376, кл. F 22 В 33/18, 1993 г.).
Способ включает приготовление водоугольного топлива, заполнение готовым топливом конденсационного теплообменника для предварительного подогрева продуктами сгорания, подачу подогретого топлива к горелке котла и подачу образующихся продуктов сгорания, насыщенных водяными парами, в золоуловитель, а обеззоленных дымовых газов – в конденсационный теплообменник, где они отдают свое физическое тепло и тепло конденсации содержащихся в них водяных паров циркулирующему по трубопроводу водоугольному топливу.
Недостатком известного способа является то, что он не позволяет увеличивать концентрацию твердой фазы (угля) в топливе, а значит, не позволяет увеличить его теплоту сгорания, которая прямо пропорциональна содержанию угля в топливе.
Целью настоящего изобретения является повышение эффективности и экономичности способа подготовки водоугольного топлива для сжигания в энергетической котельной установке за счет повышения теплоты сгорания водоугольного топлива, направляемого на сжигание.
Эта цель достигается за счет того, что в известном способе подготовки водоугольного топлива к сжиганию в энергетической котельной установке, включающем заполнение готовым топливом конденсационного теплообменника для предварительного подогрева продуктами сгорания, подачу подогретого топлива к горелкам котла и подачу образующихся продуктов сгорания, насыщенных водяными парами, в золоуловитель, а обеззоленных дымовых газов – в конденсационный теплообменник для их охлаждения, в отличие от прототипа, перед предварительным подогревом готового топлива определяют эффективную вязкость о, температуру То и концентрацию угля Со готового водоугольного топлива и задают значения максимальной эффективной вязкости топлива , определяемого из условия распыливания, максимальной температуры Т и максимальной концентрации угля С в топливе, направляемом на распыливание, водоугольным топливом частично заполняют конденсационный теплообменник с условием образования в верхней части полости для паров воды, выделяемых из подогреваемого топлива, и в нижней части – открытой поверхности, с которой проводят испарение водной составляющей топлива путем отвода вакуумным насосом из верхней части полости паров воды и поддержания давления в ней ниже атмосферного.
Знание величин эффективной вязкости, температуры и концентрации угля в готовом водоугольном топливе перед предварительным подогревом и их максимальными значениями перед подачей в горелки на распыливание и последующее сжигание позволяет определить количество влаги (воды), которое должно быть испарено из готового топлива при его нагреве в конденсаторе-теплообменнике, что позволяет увеличить его теплоту сгорания перед подачей в горелки.
Наличие в конденсаторе-теплообменнике открытой поверхности обеспечивает поступление водяных паров с поверхности нагреваемого водоугольного топлива в полость, расположенную в верхней части конденсатора-теплообменника.
Поддержание в полости давления ниже атмосферного обеспечивает отвод водяных паров путем их откачки вакуумным насосом, что позволяет поддерживать заданные значения концентраций воды и угля в топливе, направляемом в горелки.
Повышение эффективности и экономичности способа достигается за счет того, что в конденсационном теплообменнике продукты сгорания охлаждаются ниже точки росы при движении в теплообменных трубах, омываемых водоугольным топливом, нагревающимся при этом с одновременным испарением части водной составляющей водоугольного топлива в виде водяных паров, удаляемых с помощью вакуумного насоса, что повышает массовую долю твердой фазы, а значит и теплоту сгорания водоугольного топлива, подаваемого на сжигание.
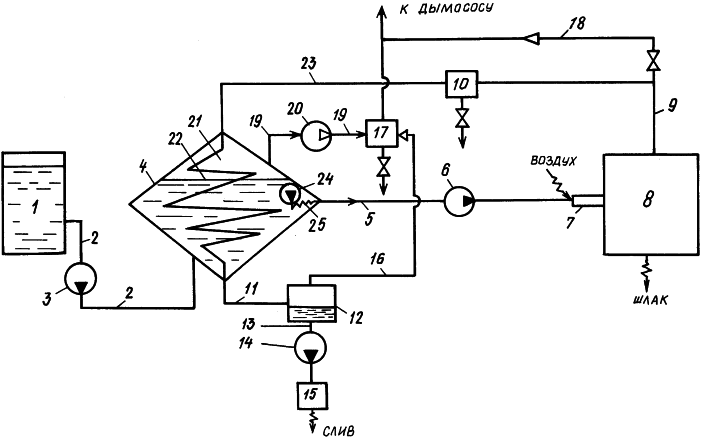
Сущность изобретения поясняется чертежом, на котором представлена система подготовки водоугольного топлива к сжиганию в энергетической котельной установке.
Система, реализующая предлагаемый способ, подготовки водоугольного топлива к сжиганию в энергетической котельной установке содержит резервуар 1 готового водоугольного топлива, соединенный трубопроводом 2 с насосом 3, с конденсационным теплообменником 4. Конденсационный теплообменник 4 соединен трубопроводом 5 с насосом 6 и горелкой 7 для сжигания водоугольного топлива в топке котла 8, имеющего отводящий газоход 9 продуктов сгорания, который соединен с золоуловителем 10 и конденсационным теплообменником 4. Нижняя часть конденсационного теплообменника 4 посредством трубопровода 11 соединена с конденсатосборником 12, который посредством трубопровода 13 подачи сконденсировавшейся воды соединен с насосом 14 и нейтрализатором 15 на слив. Верхняя часть конденсатосборника 12 трубопроводом 16 подачи газообразной части продуктов сгорания соединена с каплеуловителем 17. В системе имеется байпасная линия 18 подачи продуктов сгорания через отводящий газоход 9 в дымосос. Верхняя часть конденсационного теплообменника 4 соединена трубопроводом 19 с вакуумным насосом 20 и с каплеуловителем 17. Конденсационный теплообменник 4 имеет в верхней части полость 21 для паров воды, а в нижней части полость 22 для водоугольного топлива. Конденсационный теплообменник 4 посредством трубопровода 23 связан с газоходом 9 продуктов сгорания котла 8. Ниже уровня водоугольного топлива в конденсационном теплообменнике 4 размещен погружной насос 24, соединенный гибким шлангом 25 с трубопроводом 5.
Способ подготовки водоугольного топлива к сжиганию в энергетической котельной установке осуществляется следующим образом.
С помощью вискозиметра, влагомера и термометра определяются значения эффективной вязкости о, концентрации угля Со и температуры То готового топлива. Отметим, что концентрация угля однозначно определяется влагосодержанием Wo по формуле: Wo=(1-Со). Исходя из заданных значений эффективной вязкости и температуры Т топлива, направляемого на горелки, по формуле определяется значение концентрации угля С=1-W, которое должно иметь это топливо. Здесь W -влагосодержание топлива, направляемого на горелки. При этом в расчете на единицу веса поданного готового топлива, количество испаренной воды должно составить:

Поступившее на сжигание из резервуара 1 готовое водоугольное топливо с помощью насоса 3 по трубопроводу 2 подают в нижнюю часть конденсационного теплообменника 4, в котором оно подогревается уходящими продуктами сгорания по мере подъема до максимальной температуры Т, достигаемой на открытой поверхности 22, с которой испаряется часть водной составляющей топлива, которую в виде водяных паров откачивают вакуумным насосом 20. Частично обезвоженное водоугольное топливо погружным насосом 24 подают по гибкому шлангу 25 в трубопровод 5 и, далее, с помощью насоса 6 подают в горелку 7 котла 8. Продукты сгорания, насыщенные водяными парами, поступают в газоход 9, а затем в золоуловитель 10. Обеззоленные дымовые газы по трубопроводу 23 направляют в конденсационный теплообменник 4, где они отдают свое физическое тепло и тепло конденсации содержащихся в них водяных паров при прохождении по теплообменнику конденсационного теплообменника 4 окружающему водоугольному топливу.
После прохождения конденсационного теплообменника 4 обеззоленные и частично обезвоженные продукты сгорания по трубопроводу 11 поступают в конденсатосборник 12. Сконденсировавшаяся вода собирается в нижней части конденсатосборника 12, откуда по трубопроводу 13 насосом 14 направляется через нейтрализатор 15 на слив или использование в технологических целях. Газообразная часть продуктов сгорания по трубопроводу 16 поступает в каплеуловитель 17 и далее дымососом направляется в дымовую трубу. Для предотвращения возможного выпадения конденсата в дымовой трубе возможно частичное смещение этих газов с дымовыми газами из газохода 9, подаваемыми по байпасной линии 18, минуя конденсационный теплообменник 4. Поступившее в нижнюю часть конденсационного теплообменника 4 водоугольное топливо за счет теплообмена с обеззоленными дымовыми газами нагревается до температуры 70-90°С в зависимости от заданного режима. Далее проводят испарение водной составляющей водоугольного топлива со свободной открытой поверхности 22 путем откачки вакуумным насосом 20 из полости 21 паров воды, выделяемых из подогреваемого топлива, и поддержания давления в этой полости ниже атмосферного, одновременно определяют долю испарения водной составляющей по вышеуказанной формуле (1).
Хотя в выбранном прототипе, так же как и в заявленном способе, утилизируется тепло уходящих продуктов сгорания, используемых для подогрева водоугольного топлива, в заявленном объекте утилизируемое тепло используется не только для подогрева водоугольного топлива, но и на испарение части его водной составляющей, путем отвода паров воды вакуумным насосом, что позволяет значительно расширить область использования низкопотенциального (низкотемпературного) тепла. Дополнительное повышение эффективности в заявленном объекте достигается также за счет того, что в конденсационном теплообменнике объединены процессы подогрева водоугольного топлива, охлаждения дымовых газов ниже точки росы и испарения части водной составляющей топлива.
Представленный способ подготовки водоугольного топлива к сжиганию позволяет контролировать его теплоту сгорания, эффективную вязкость и температуру топлива, подаваемого в горелки путем регулирования расхода продуктов сгорания, то есть количества тепла, подаваемого в конденсационный теплообменник, что определяет температуру подогрева и долю испарения водоугольного топлива. Регулируемая вакуумным насосом степень разрежения в паровой полости конденсационного теплообменнника, при известной температуре водоугольного топлива, определяет количество испаренной воды, удаленной из водоугольного топлива. При этом характеристики водоугольного топлива, направляемого на сжигание, определяются из условия допустимой для используемых распылительных устройств величины эффективной вязкости подготовленного к сжиганию водоугольного топлива.
При этом относительное увеличение величины теплоты сгорания (калорийности) топлива определяется по формуле:

где J – теплота сгорания сжигаемого топлива; Jo – теплота сгорания исходного топлива; Qс – теплота сгорания сухого угля; Qи – теплота испарения воды.
Пример реализации
Готовое водоугольное топливо, полученное из каменного угля Кузнецкого бассейна, имеет следующие характеристики: о=500 сПз; Со=0,6; to=20°С; Qс=27,2 МДж/кг; Qи=2,26 МДж/кг; допустимые значения: эффективной вязкости при распыливании =2000 сПз; температуры t=90°С. Давление насыщенного водяного пара при t=90°С составляет 526 мм рт. ст., то есть разрежение составляет 0,3 атм.
Эмпирическая зависимость эффективной вязкости водоугольного топлива от концентрации твердой фазы (угля) и температуры описывается зависимостью:


где – максимально эффективная вязкость водоугольного топлива, определяемая из условий распыливания; o – эффективная вязкость готового водоугольного топлива; С – максимальная концентрация угля в водоугольном топливе, направляемом на распыливание; Со – концентрация угля в готовом водоугольном топливе; t – температура водоугольного топлива, направляемого на распыливание, °С; to – температура готового водоугольного топлива, °С; 1,564 – эмпирический показатель, характеризующий зависимость вязкости воды от температуры (Бретшнайдер С. Свойства газов и жидкостей (инженерные методы расчета). М.-Л., Химия, 1966 г., стр.311-316); А, К – эмпирические коэффициенты, характеризующие зависимость вязкости водоугольного топлива от вида угля и его концентрации (Ерохин С.Ф., Кондратьев А.С., Чиненков И.А. Зависимость эффективной вязкости высококонцентрированных угольных суспензий от концентрации, журн. Строительство трубопроводов, 1993, с.27, 28; Транспортирование водоугольных суспензий: гидродинамика и температурный режим. Кондратьев А.С., Овсянников В.М., Олофинский Е.П. и др. М., Недра 1988 г., с.23); например, у водоугольного топлива из каменных углей Кузнецкого бассейна К=33,4, а у водоугольного топлива из бурого угля Подмосковного бассейна К=22,3.
Из формул (3) и (31) следует, что допустимое изменение концентрации угля в водоугольном топливе равно:

После подстановки численных значений исходных данных получим: С-Со=0,076
Относительное увеличение теплоты сгорания (калорийности) топлива в соответствии с (2)

Что соответствует повышению калорийности топлива на 14,5%.
Благодаря такому способу подготовки к сжиганию водоугольного топлива повышается теплота сгорания топлива, подаваемого на сжигание, обеспечивается возможность регулирования свойств топлива непосредственно перед подачей его в котел.
Формула изобретения
Способ подготовки водоугольного топлива к сжиганию в энергетической котельной установке, включающий заполнение готовым топливом конденсационного теплообменника для предварительного подогрева продуктами сгорания, подачу подогретого топлива к горелкам котла и подачу образующихся продуктов сгорания, насыщенных водяными парами, в золоуловитель, а обеззоленных дымовых газов – в конденсационный теплообменник для их охлаждения, отличающийся тем, что перед предварительным подогревом готового топлива, определяют эффективную вязкость о, температуру То и концентрацию угля Со готового водоугольного топлива и задают значения максимальной эффективной вязкости топлива , определяемого из условия распыливания, максимальной температуры Т и максимальной концентрации угля С в топливе, направляемом на распыливание, водоугольным топливом частично заполняют конденсационный теплообменник с условием образования в верхней части полости для паров воды, выделяемых из подогреваемого топлива, и в нижней части – открытой поверхности, с которой проводят испарение водной составляющей топлива путем отвода вакуумным насосом из верхней части полости паров воды и поддержания давления в ней ниже атмосферного.
РИСУНКИ
MM4A – Досрочное прекращение действия патента СССР или патента Российской Федерации на изобретение из-за неуплаты в установленный срок пошлины за поддержание патента в силе
Дата прекращения действия патента: 17.12.2006
Извещение опубликовано: 20.02.2008 БИ: 05/2008
|
|