|
(21), (22) Заявка: 2003100600/06, 08.01.2003
(24) Дата начала отсчета срока действия патента:
08.01.2003
(43) Дата публикации заявки: 20.09.2004
(45) Опубликовано: 10.07.2005
(56) Список документов, цитированных в отчете о поиске:
RU 95120674 А1, 10.09.1996. SU 27146 А, 31.07.1932. SU 20753 А, 31.05.1931. SU 1740864 А2, 15.06.1992. FR 2038975 A, 08.01.1971. DE 1245017 A, 20.07.1967.
Адрес для переписки:
456790, Челябинская обл., г. Озерск, ул. Калинина, 6-58, В.В.Кислякову
|
(72) Автор(ы):
Кисляков В.В. (RU), Пашацкий Н.В. (RU)
(73) Патентообладатель(и):
Южно-Уральский государственный университет (RU)
|
(54) ЦЕПНАЯ РЕШЕТКА
(57) Реферат:
Изобретение относится к топочным устройствам и может быть использовано в котельных установках. Изобретение заключается в том, что волновая цепная передача, соединенная своей цепью с полотном решетки, применяется в качестве цепной решетки для перемещения топлива в топке. Изобретение позволяет интенсифицировать процесс горения за счет перемешивания топлива и уменьшить шуровку. 1 ил.

Изобретение относится к топочным устройствам и может быть использовано в котельных установках.
Известны топки с подвижной колосниковой решеткой и подвижным слоем топлива, в частности цепные решетки (Щеголев М.М., Гусев Ю.Л., Иванова М.С. Котельные установки. М., 1972).
Цепная решетка механизирует подачу топлива и удаление шлака. Недостатки решетки – невысокая интенсивность горения, необходимость шуровать топку при сжигании шлакующегося, спекающегося или многозольного топлива.
Известна волновая цепная передача, соединенная своей цепью с полотном решетки (см. заявку №95120674, МПК F 16 Н 7/00, 1996).
До настоящего времени не было известно применение указанной волновой цепной передачи для перемещения топлива для увеличения интенсификации его горения.
Задача изобретения – увеличение интенсификации горения за счет перемешивания топлива на решетке и уменьшения шуровки.
Задача решается за счет применения волновой цепной передачи, соединенной своей цепью с полотном решетки, в качестве цепной решетки для перемещения топлива в топке.
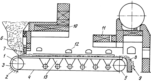
На чертеже изображена схема волновой цепной решетки.
На входном валу привода установлен генератор 1 волн. На корпусе 2 закреплен зубчатый сектор 3. Роликовая цепь 4, соединенная с полотном решетки, огибает генератор 1 волн и ведомую звездочку 5. Над передним краем решетки находится загрузочный бункер 6 с шибером 7.
За ведомой звездочкой 5 расположен шлакосниматель 8, ниже него золовой бункер 9. Над цепной решеткой расположены лучеиспускающие своды 10 и 11. В стенках топки установлены боковые дверцы 12. Под решеткой расположены дутьевые секции 13.
Устройство работает следующим образом.
Формула изобретения
Применение волновой цепной передачи, соединенной своей цепью с полотном решетки, в качестве цепной решетки для перемещения топлива в топке.
РИСУНКИ
MM4A Досрочное прекращение действия патента Российской Федерации на изобретение из-за неуплаты в установленный срок пошлины за поддержание патента в силе
Дата прекращения действия патента: 09.01.2005
Извещение опубликовано: 27.01.2007 БИ: 03/2007
|