|
|
(21), (22) Заявка: 2003128609/06, 23.09.2003
(24) Дата начала отсчета срока действия патента:
23.09.2003
(43) Дата публикации заявки: 20.03.2005
(45) Опубликовано: 10.07.2005
(56) Список документов, цитированных в отчете о поиске:
SU 458995 A, 30.01.1975. SU 1560847 A1, 30.04.1990. SU 1760221 A1, 07.09.1992. US 2876025 A, 03.03.1959. US 5493954 A, 27.02.1996.
Адрес для переписки:
394055, г.Воронеж, ул. Ворошилова, 22, ФГУП “Воронежский механический завод”
|
(72) Автор(ы):
Коцюбинский В.К. (RU), Шелякин А.И. (RU), Имшенецкий М.А. (RU)
(73) Патентообладатель(и):
Федеральное государственное унитарное предприятие “Воронежский механический завод” (RU)
|
(54) УПЛОТНЕНИЕ ПОДВИЖНОГО СОЕДИНЕНИЯ
(57) Реферат:
Изобретение относится к уплотнительной технике, в частности к уплотнениям штоков, поршней, работающих в условиях высокого давления. Уплотнение состоит из уплотняющего и поджимающего колец, выполненных из разных по упругости материалов, расположенных параллельно в кольцевых проточках. Уплотняющее кольцо, выполненное из более жесткого материала в виде V-образной манжеты, установленной с зазором с разворотом усов не менее 120° и цилиндрическим пояском на выпуклой части, контактирующим с поджимающим кольцом. Поверхность кольцевой проточки над поджимным кольцом выполнена конической. Поджимающее кольцо может быть круглого сечения и выполнено с пазом, направленным открытой частью навстречу подаче давления. Изобретение повышает надежность герметизации. 2 з.п.ф-лы, 6 ил.

Изобретение относится к уплотнительной технике, в частности к уплотнениям штоков и поршней, работающих в условиях высокого давления.
Известно уплотнение, состоящее из уплотняющего и поджимающего колец, выполненных из разных по упругости материалов, установленных в кольцевой проточке коаксиально, причем поджимающее кольцо установлено с возможностью осевого перемещения (патент СССР №458995, F 16 K 1/08). Недостатком данной разработки является недостаточная надежность герметизации.
Технической задачей данной разработки является повышение надежности герметизации. Данная задача решается за счет конструкции уплотнения подвижного соединения, состоящего из уплотняющего и поджимающего колец, выполненных из разных по упругости материалов, расположенных параллельно друг другу. Уплотняющее кольцо выполнено в виде V-образной манжеты с разворотом усов не менее 120° и плоским пояском цилиндрической формы на выпуклой части манжеты, контактирующим с поджимающим кольцом, причем боковая поверхность кольцевой проточки со стороны манжеты, установленной с зазором, повторяет профиль и размеры последней. Поверхность кольцевой проточки над поджимающим кольцом выполнена конической. Поджимающее кольцо может быть выполнено в виде кольца круглого сечения или кольца с внутренним пазом, установленным полой частью навстречу подаче давления среды.
Выпуклая часть манжеты всегда направлена в сторону высокого давления, поэтому для уплотнения штока при возвратно-поступательном движении необходим блок уплотнений, состоящий из двух, одно из которых является зеркальным отражением другого. Данные уплотнения можно устанавливать как в корпусах движущихся штоков, так и на движущихся поршнях (деталях).
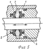
На фиг.1 показано уплотнение в разрезе без воздействия давления среды, на фиг.2 – уплотнение в разрезе в рабочем состоянии, на фиг.3 показан блок уплотнений, установленных в корпусе при возвратно-поступательном движении штока, на фиг.4 показан блок уплотнений, установленный на движущемся возвратно-поступательном штоке (поршне, детали). На фиг.5, 6 показано уплотнение, имеющее поджимное кольцо в форме кольца с пазом.
Уплотнение подвижного соединения состоит из уплотняющего кольца в виде манжеты 1, поджимающего кольца 2. Уплотняющее кольцо в виде манжеты 1 установлено в кольцевой проточке корпуса 3. Поверхность 4 кольцевой проточки повторяет профиль и размеры манжеты 1. Разворот усов манжеты 1 равен углу и составляет не менее 120°. Со стороны выпуклой части манжеты 1 имеется плоский цилиндрический поясок 5, контактирующий с поджимным кольцом 2, являющимся менее жестким, и может быть выполнено, например, из резины, тогда как манжета 1 изготавливается из более жесткого материала, например, флубона. Над поджимающим кольцом 2 кольцевая проточка имеет коническую поверхность 6.
Давление среды попадает под поджимающее кольцо 2, перемещает его в клинообразный промежуток между цилиндрической поверхностью 5 и конической поверхностью 6. Поджимающее кольцо 2 передает давление на цилиндрический поясок манжеты 1, заставляя последнюю распрямиться, действуя на уплотняющую поверхность, обеспечивая контактное давление, превышающее давление среды, что способствует улучшению условий герметичности. При установке данного уплотнения в корпусе при возвратно-поступательном движении штока или на движущемся возвратно-поступательном поршне устанавливается два уплотнения, одно из которых является зеркальным отражением первого. Между манжетами 1 в данном случае устанавливается металлическое кольцо 7 – фиг.3, 4, на торцах которого имеются выступы, повторяющие форму, профиль и размеры манжеты с образованием зазора между манжетами и торцом кольца. Работа блока манжет происходит по тому же правилу, что и при одностороннем движении штока.
На фиг.2 показано разложение сил от давления среды на поджимающее кольцо 2, при этом составляющая сила (вектор) Рк значительно превышает равнодействующую силу давления среды Рж, создает дополнительное усилие на уплотнительных поверхностях. Таким образом, данное уплотнение надежно уплотняет движущиеся поверхности в условиях высокого давления.
Формула изобретения
1. Уплотнение подвижного соединения, состоящее из уплотняющего и поджимающего колец, выполненных из разных по упругости материалов, расположенных в кольцевых проточках, отличающееся тем, что оба кольца расположены параллельно, при этом уплотняющее кольцо выполнено из более жесткого материала в виде V-образной манжеты, установленной с зазором, с разворотом усов не менее 120° и цилиндрическим пояском на выпуклой части, контактирующим с поджимающим кольцом, причем боковая поверхность кольцевой проточки со стороны манжеты повторяет профиль и размеры последней.
2. Уплотнение по п.1, отличающееся тем, что поверхность кольцевой проточки над поджимающим кольцом выполнена конической.
3. Уплотнение по п.1, отличающееся тем, что поджимающее кольцо выполнено в виде кольца с внутренним пазом, направленным открытой частью навстречу подаче давления.
РИСУНКИ
|
|