|
|
(21), (22) Заявка: 2003119918/11, 01.07.2003
(24) Дата начала отсчета срока действия патента:
01.07.2003
(43) Дата публикации заявки: 20.12.2004
(45) Опубликовано: 10.07.2005
(56) Список документов, цитированных в отчете о поиске:
RU 21817 U1, 20.02.2002. SU 1216503 А, 07.03.1986. US 4184783, 22.01.1980.
Адрес для переписки:
630099, г.Новосибирск, ул. Щетинкина, 33, НГАВТ
|
(72) Автор(ы):
Лебедев О.Н. (RU), Савинов Ю.П. (RU), Зуев А.К. (RU)
(73) Патентообладатель(и):
Новосибирская государственная академия водного транспорта (НГАВТ) (RU)
|
(54) КРИВОШИПНО-ШАТУННЫЙ МЕХАНИЗМ
(57) Реферат:
Изобретение относится к области энергетического машиностроения и может быть использовано в поршневых машинах: насосах, компрессорах и двигателях. Кривошипно-шатунный механизм содержит шатун, связанный шарнирно с кривошипом и поршнем посредством подшипников скольжения, имеющих вкладыши, взаимодействующие своими внутренними цилиндрическими поверхностями с шейкой кривошипа и пальцем поршня. При этом оси наружных цилиндрических поверхностей вкладышей выполнены перпендикулярно осям их внутренних цилиндрических поверхностей и соосны с осями внутренних поверхностей головок шатуна. Технический результат заключается в снижении затрат при изготовлении механизма. 3 з.п. ф-лы, 4 ил.

Изобретение относится к области энергетического машиностроения и может быть использовано в поршневых машинах: насосах компрессорах и двигателях.
Широко известны кривошипно-шатунные механизмы (КШМ) поршневых машин для преобразования возвратно-поступательного движения поршней во вращательное движение вала [1]. Эти механизмы содержат коленвал, к шатунным шейкам которого присоединены шатуны, которые, в свою очередь, посредством поршневых пальцев связаны с поршнями, помещенными в цилиндрах двигателя.
В известных КШМ даже незначительные погрешности изготовления цилиндрических поверхностей, особенно по пересекающимся осям (несоосность, неперпендикулярность, или непараллельность), вызывают перекосы между осями подшипников скольжения и шейками валов или пальцами. Эти перекосы ведут к неравномерности износов цилиндрических поверхностей шеек и пальцев, которые превращаются в гиперболоиды вращения, что приводит к уменьшению площади контакта между поверхностями скольжения, к нарушению условий гидродинамической смазки и к ускорению износа. В конечном итоге, это снижает долговечность машин.
Известны КШМ [2], в которых имеется шатун, связанный шарнирно с кривошипом и поршнем посредством подшипников скольжения с вкладышами, которые взаимодействуют своими внутренними цилиндрическими поверхностями с шейкой коленвала и пальцем поршня. При этом наружные поверхности вкладышей выполнены в виде сферических поверхностей, взаимодействующих со сферическими гнездами, выполненных в головках шатуна.
Недостатком этих KШM является сложность изготовления сферических опор и особенно сферических гнезд в головках шатуна. Сложная технология расточки внутренних сферических поверхностей усугубляется необходимостью применения сложной оснастки для закрепления и ориентирования такой “неудобной” детали как шатун с разъемной нижней головкой.
Основной задачей, которая решается в данном изобретении, является упрощение технологии изготовления самоустанавливающихся подшипников. Техническим результатом решения этой задачи является снижение затрат при изготовлении двигателей.
Этот результат достигается тем, что КШМ содержит шатун, связанный шарнирно с кривошипом и поршнем посредством подшипников скольжения, имеющих вкладыши, взаимодействующие своими внутренними цилиндрическими поверхностями с шейкой кривошипа и пальцем поршня. При этом оси наружных цилиндрических поверхностей вкладышей выполнены перпендикулярно осям их внутренних цилиндрических поверхностей и соосны с осями внутренних поверхностей головок шатуна.
Причем вкладыш нижней головки шатуна выполнен разъемным, а каждая половинка его имеет на наружной цилиндрической поверхности лыски, параллельные плоскости разъема, с просверленными в них отверстиями для стяжных болтов.
Кроме того, в разъеме нижней головки шатуна установлены с примыканием к торцовым поверхностям вкладыша цилиндрические вставки с диаметральными отверстиями под шатунные болты.
Причем наружная цилиндрическая поверхность вкладыша верхней головки шатуна выполнена усеченной по двум плоскостям, параллельным продольной оси шатуна, а сопряженная с ней внутренняя цилиндрическая поверхность верхней головки шатуна выполнена также усеченной по двум плоскостям, размер между которыми заведомо больше одноименного размера у вкладыша.
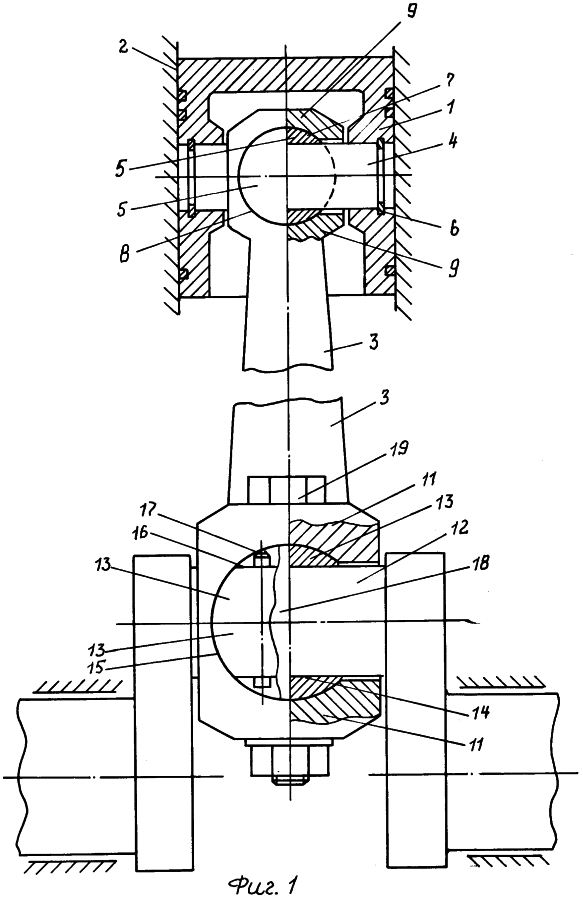
Изобретение показано на чертежах, где на Фиг.1 показан продольный разрез КШМ; на Фиг.2 – поперечный разрез; на Фиг.3 – разрез верхней головки шатуна с усеченным вкладышем; на Фиг.4 – поперечный разрез.
КШМ содержит поршень 1, помещенный во втулке 2 цилиндра и сочлененный с шатуном 3 посредством пальца 4 и вкладыша 5. Палец 4 зафиксирован в бобышках поршня 1 стопорными кольцами 6. Вкладыш 5 своей внутренней цилиндрической поверхностью 7 охватывает палец 4, а наружная цилиндрическая поверхность 8 вкладыша 5 вставлена в верхнюю головку 9 шатуна 3 и зафиксирована стопорными кольцами 10. При этом оси внутренней 7 и наружной 8 цилиндрических поверхностей вкладыша 5 взаимноперпендикулярны. Нижняя разъемная головка 11 шатуна 3 сочленена с шейкой 12 коленвала посредством разъемного вкладыша 13, внутренняя цилиндрическая поверхность 14 которого охватывает шейку 12, а наружная цилиндрическая поверхность 15 вставлена в нижнюю головку 11. При этом оси внутренней 14 и наружной 15 цилиндрических поверхностей вкладыша 13 взаимноперпендикулярны. Каждая половинка разъемного вкладыша 13 имеет на концах лыски 16, параллельные плоскости разъема вкладыша. На лысках 16 просверлены отверстия для стяжных болтов 17, соединяющих половинки вкладыша в одно целое. В нижней головке 11, примыкая к торцам вкладыша 13, установлены цилиндрические вставки 18 с диаметральными отверстиями под установку шатунных болтов 19, стягивающих нижнюю разъемную головку 11 шатуна. Диаметр цилиндрических вставок 18 обеспечивает плотную посадку вставок в разъеме, а наружный диаметр вкладыша 13 обеспечивает ходовую посадку вкладыша в разъеме нижней головки 11. В варианте наружная цилиндрическая поверхность 8 продольной оси шатуна и сопряженная с ней внутренняя цилиндрическая поверхность верхней головки шатуна выполнены усеченными по двум плоскостям, размер между которыми заведомо больше одноименного размера у вкладыша.
Наружная цилиндрическая поверхность вкладыша 5 усечена двумя плоскостями, параллельными продольной оси шатуна 3, а сопряженная с ней внутренняя цилиндрическая поверхность верхней головки 9 шатуна выполнена также усеченной по двум плоскостям, размер между которыми заведомо больше одноименного размера у вкладыша. Это позволяет увеличить площадь опасного сечения верхней головки шатуна без увеличения диаметрального размера головки.
Сборка КШМ осуществляется в следующем порядке. В верхнюю головку 9 шатуна 3 вставляется неразъемный вкладыш 5 и фиксируется кольцами 10. Внутренняя цилиндрическая поверхность 7 вкладыша 5 устанавливается соосно отверстиям бобышек поршня 1 и замыкается пальцем 4, который фиксируется в бобышках кольцами 6. Далее на шатунную шейку 12 накладываются половинки разъемного вкладыша 13 и стягиваются болтами 17. На вкладыш 13 устанавливается разъемная нижняя шатунная головка 11 с вложенными в нее вставками 18 и стягивается болтами 19.
КШМ действует как обычно. Поршневой палец 4 и шатунная шейка 12 вращаются во вкладышах 5 и 13 как в обычных подшипниках. Вкладыш 5 фиксируется от продольных перемещений в верхней шатунной головке 9 кольцами 10, а вкладыш 13 фиксируется от продольных перемещений в нижней шатунной головке 11 вставками 18. Наружные поверхности 8 и 15 вкладышей 5 и 13 имеют возможность поворачиваться в верхней и нижней шатунных головках. Таким образом, вкладыши 5 и 13 представляют собой шарниры Гука, то есть эквивалентны сферическим подшипникам.
Благодаря такому сочленению шатуна с поршнем и кривошипом отклонения осей цилиндровых втулок и коленвала, связанные с неточностью изготовления, компенсируются. Нагрузки на цилиндрических поверхностях вкладышей распределяются равномерно, что повышает несущую способность вкладышей и их долговечность. В то же время, технология цилиндрических поверхностей несравнимо проще технологии сфер.
Источники информации
1. Решетов Л.Н. Самоустанавливающиеся механизмы. Справочник. М.: Машиностроение, 1979.
2. Полезная модель №21817, М.кл. 7 В 01 В 7/06, 2001.
Формула изобретения
1. Кривошипно-шатунный механизм, содержащий шатун, связанный шарнирно с кривошипом и поршнем посредством подшипников скольжения, имеющих вкладыши, взаимодействующие своими внутренними цилиндрическими поверхностями с шейкой кривошипа и пальцем поршня, отличающийся тем, что оси наружных цилиндрических поверхностей вкладышей выполнены перпендикулярно осям их внутренних цилиндрических поверхностей и соосны с осями внутренних поверхностей головок шатуна.
2. Кривошипно-шатунный механизм по п.1, отличающийся тем, что вкладыш нижней головки шатуна выполнен разъемным, а каждая половинка его имеет на оконечностях наружной цилиндрической поверхности лыски, параллельные плоскости разъема, с просверленными в них отверстиями для стяжных болтов.
3. Кривошипно-шатунный механизм по п.1, отличающийся тем, что в разъеме нижней головки шатуна установлены с примыканием к торцовым поверхностям вкладыша цилиндрические вставки с диаметральными отверстиями под шатунные болты.
4. Кривошипно-шатунный механизм по п.1, отличающийся тем, что наружная цилиндрическая поверхность вкладыша верхней головки шатуна выполнена усеченной по двум плоскостям, параллельным продольной оси шатуна, а сопряженная с ней внутренняя цилиндрическая поверхность верхней головки шатуна выполнена также усеченной по двум плоскостям, размер между которыми заведомо больше одноименного размера у вкладыша.
РИСУНКИ
|
|