|
(21), (22) Заявка: 2002127528/11, 14.10.2002
(24) Дата начала отсчета срока действия патента:
14.10.2002
(43) Дата публикации заявки: 27.04.2004
(45) Опубликовано: 10.07.2005
(56) Список документов, цитированных в отчете о поиске:
US 4418802, 06.12.1983. SU 291057, 06.01.1971. GB 1393939, 14.05.1975. EP 0027163 A1, 22.04.1981.
Адрес для переписки:
197136, Санкт-Петербург, Чкаловский пр., 50, ЗАО “Плаза”
|
(72) Автор(ы):
Гусев Е.П. (RU), Кривоносов И.И. (RU), Леошко А.В. (RU)
(73) Патентообладатель(и):
ЗАО “Плаза” (RU)
|
(54) ОДНОТРУБНЫЙ АМОРТИЗАТОР С ПОЛОСТЬЮ В ШТОКЕ
(57) Реферат:
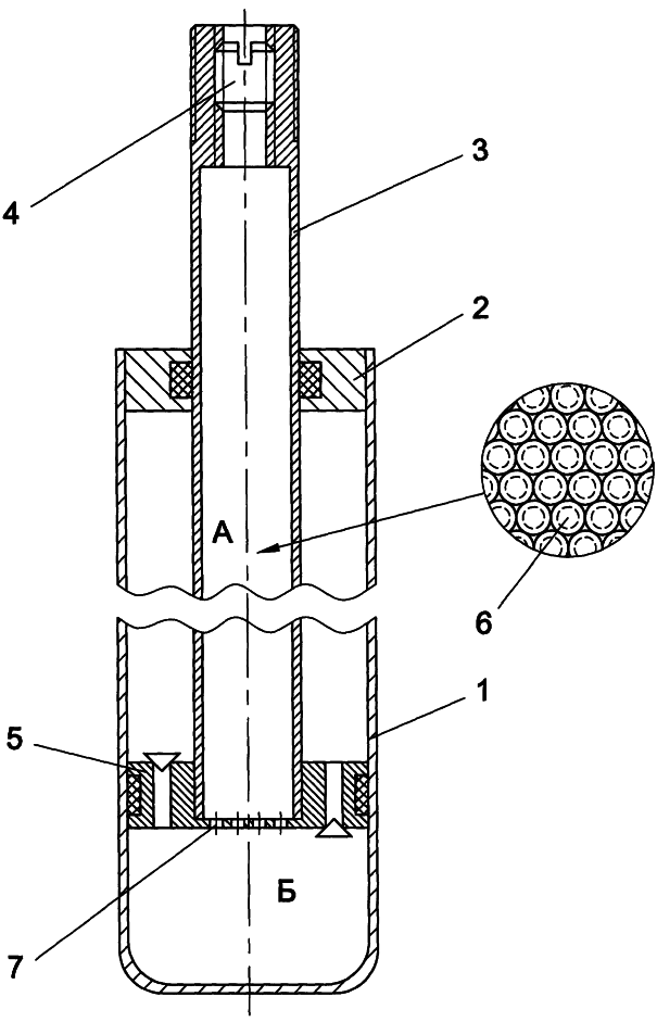
Изобретение относится к транспортному машиностроению, а именно к подвеске транспортных средств. Однотрубный амортизатор содержит корпус 1, трубчатый полый шток 3 с неподвижно установленным рабочим поршнем 5, разделяющим гидравлическую полость Б на две части. Полость А штока соединена отверстиями 7 с гидравлической полостью. В полости штока размещены упругие полые шарики 6 из эластичного синтетического материала. В хвостовике штока установлен винт 4, подпирающий шарики, для исключения кавитации при высоких скоростях рабочего поршня. Технический результат, достигаемый при использовании изобретения, заключается в повышении энергоемкости, надежности и чувствительности однотрубного амортизатора. 1 ил.

Изобретение относится к транспортному машиностроению, а именно к подвеске транспортных средств.
Аналогом служит гидропневматический упругодемпфирующий элемент [1], имеющий полый шток. Недостатками указанного устройства являются громоздкость конструкции из-за наличия отдельно вынесенной газовой полости, а также отсутствие изоляции газовой и гидравлической полостей в штоке, приводящее к неопределенности демпфирующей характеристики устройства вследствие частичного растворения газа в рабочей жидкости при работе элемента.
Прототипом заявляемого изобретения является описанный в патенте [2] однотрубный газонаполненный амортизатор. Он содержит корпус, направляющую втулку, шток, неподвижно установленный на нем рабочий поршень, гидравлическую полость, заполненную рабочей жидкостью и разделенную рабочим поршнем на две части, а также газовую полость и поршень-разделитель, отделяющий ее от гидравлической полости. Амортизатор более компактен по сравнению с аналогом [1] и газ в нем отделен от рабочей жидкости. Недостатками данного амортизатора являются:
– неиспользованный резерв энергоемкости, заключающийся в том, что гидравлическая полость занимает не все пространство между цилиндром и штоком (часть этого пространства отводится под газовую полость);
– пониженное сопротивление изгибу штока от боковых сил;
– трение подвижного поршня-разделителя о корпус, приводящее к уменьшению чувствительности амортизатора, а также к снижению надежности разделения газовой и гидравлической полостей по причине изнашивания уплотнения.
Технической задачей заявляемого изобретения является повышение энергоемкости, надежности и чувствительности однотрубного амортизатора.
Техническая задача решается тем, что в однотрубном амортизаторе, содержащем корпус, трубчатый полый шток с неподвижно установленным рабочим поршнем, разделяющим гидравлическую полость на две части, полость штока соединена отверстиями с гидравлической полостью, при этом в полости штока размещены упругие полые шарики из эластичного синтетического материала, а в хвостовике штока установлен винт, подпирающий шарики, для исключения кавитации при высоких скоростях рабочего поршня.
На чертеже изображен общий вид однотрубного амортизатора с полостью в штоке.
Однотрубный амортизатор с полостью в штоке содержит корпус 1, направляющую втулку 2, трубчатый шток 3 с полостью А, винтом 4 в хвостовике и с неподвижно установленным на штоке рабочим поршнем 5, а также разделенную им на две части гидравлическую полость Б. В полости А штока 3 размещены упругие полые шарики 6 из эластичного синтетического материала. Полость А штока 3 соединена с гидравлической полостью Б амортизатора отверстиями 7.
В амортизаторе гидравлическая полость Б занимает все пространство между корпусом 1 и штоком 3, в результате чего почти вся поверхность корпуса 1 участвует в отводе теплоты от рабочей жидкости, обеспечивая увеличенную энергоемкость.
Полая конструкция шариков 6 в сочетании с наполнением их газом придает им упругость и свойство изменять объем. За счет варьирования последнего при работе амортизатора компенсируется изменение объема части штока 3, находящейся в корпусе 1. Объем полости А штока 3 больше максимального изменения объема части штока 3, находящейся в корпусе 1, достигаемого в процессе эксплуатации.
Применение шариков 6 позволяет отказаться от подвижного поршня–разделителя с присущим ему трением, а это, в свою очередь, повысит чувствительность и надежность амортизатора. Эластичный материал шариков обеспечивает им долговечность, более высокую, чем весь жизненный цикл амортизатора.
Постоянный подпор шариков 6, или их силовое воздействие на рабочую жидкость, реализуется в процессе сборки амортизатора посредством винта 4. Такой подпор позволяет исключить явление кавитации при высоких скоростях рабочего поршня 5 и обеспечивает полный выход штока 3 при отсутствии нагрузки.
Амортизатор работает следующим образом.
При сжатии рабочий поршень 5 амортизатора движется вниз. Давление рабочей жидкости в нижней части гидравлической полости Б становится выше, чем в ее верхней части. Рабочая жидкость выходит из нижней части двумя потоками: во-первых, через канал рабочего поршня в верхнюю часть гидравлической полости, во-вторых, через отверстия 7 в полость А штока. Повышающееся в этой полости давление сжимает шарики 6, уменьшая их общий объем на величину, равную увеличению объема части штока 3, находящейся в корпусе 1.
При отбое рабочий поршень 5 амортизатора движется вверх. Давление в верхней части гидравлической полости Б становится выше, чем в ее нижней части. Рабочая жидкость переходит из верхней части гидравлической полости через канал рабочего поршня в нижнюю часть гидравлической полости. Вследствие снижения давления в нижней части гидравлической полости рабочая жидкость поступает туда и из полости А штока 3 через отверстие 7. Общий объем шариков 6 увеличивается на величину, равную уменьшению объема части штока 3, находящейся в корпусе 1.
Существующие технологии машиностроения и применяемые в нем материалы позволяют организовать промышленное изготовление и оснащение транспортных средств однотрубными амортизаторами с полостью в штоке.
Использованные источники информации:
1. Колесное шасси 547А и 547В. Техническое описание. Инструкция по эксплуатации. Воениздат. М., 1980, с.135…137 (аналог).
2. Патент США №4418802, кл. F 16 F 9/34, 1983 г. (прототип).
Формула изобретения
Однотрубный амортизатор, содержащий корпус, трубчатый полый шток с неподвижно установленным рабочим поршнем, разделяющим гидравлическую полость на две части, при этом полость штока соединена отверстиями с гидравлической полостью, отличающийся тем, что в полости штока размещены упругие полые шарики из эластичного синтетического материала, а в хвостовике штока установлен винт, подпирающий шарики, для исключения кавитации при высоких скоростях рабочего поршня.
РИСУНКИ
MM4A – Досрочное прекращение действия патента СССР или патента Российской Федерации на изобретение из-за неуплаты в установленный срок пошлины за поддержание патента в силе
Дата прекращения действия патента: 15.10.2007
Извещение опубликовано: 20.06.2009 БИ: 17/2009
|