|
(21), (22) Заявка: 2003137687/06, 29.12.2003
(24) Дата начала отсчета срока действия патента:
29.12.2003
(45) Опубликовано: 10.07.2005
(56) Список документов, цитированных в отчете о поиске:
SU 1275133 A1, 07.12.1986. DE 19627388 A1, 15.01.1998. SU 1673751 A1, 30.08.1991. SU 720851 A, 07.12.1984. DE 4129848 A1, 11.03.1993.
Адрес для переписки:
105037, Москва, ул. Первомайская, 26, кв.11, пат.пов. Б.С.Ляховичу
|
(72) Автор(ы):
Барбулев С.Я. (RU), Фурман Е.Э. (RU)
(73) Патентообладатель(и):
Барбулев Сергей Яковлевич (RU)
|
(54) ЭЛЕКТРОПНЕВМАТИЧЕСКИЙ ПРЕОБРАЗОВАТЕЛЬ И СТЕНД ДЛЯ ИСПЫТАНИЯ ДЫХАТЕЛЬНЫХ АППАРАТОВ
(57) Реферат:
Преобразователь и стенд предназначены для испытания дыхательных аппаратов. Преобразователь содержит установленный в корпусе кольцевой постоянный магнит, внутри которого расположена подвижная электрокатушка, жестко связанная с диффузором, подвижно смонтированном в диффузородержателе корпуса, при этом диффузородержатель герметично соединен с неподвижной поверхностью основания так, что упомянутая поверхность образует совместно с диффузором герметичную рабочую камеру, имеющую соединенный с ней выходной канал. Стенд содержит исполнительное устройство, соединенное со средством передачи данных и имитирующее дыхание человека, выполненное в виде электропневматического преобразователя, соединенного с усилителем, при этом к выходному каналу рабочей камеры электропневматического преобразователя подсоединен дыхательный аппарат, а с диффузором электропневматического преобразователя связан датчик положения или перемещения, соединенный со средством передачи данных. Технический результат – повышение надежности. 2 н. и 2 з.п.ф-лы, 2 ил.

Изобретение относится к пневматическому оборудованию и может быть использовано в различных отраслях промышленности для преобразования управляющего электрического сигнала в пневматический сигнал, пропорциональный по давлению управляющему сигналу, и может быть использовано в различных областях, например для автоматизации процессов обработки материалов, нанесения покрытий, а также для искусственной вентиляции легких. Изобретение также относится к стенду для испытаний дыхательных аппаратов, имитирующих процесс дыхания человека при одновременной визуализации показателей производительности.
Известны различные типы пневматических устройств, автоматически преобразующих изменения электрического тока в изменение давления воздуха в результате перемещения рабочего элемента в виде мембраны, поршня или заслонки, соединенных с якорем электромагнита или с валом электродвигателя. В качестве наиболее близкого аналога было принято техническое решение по SU 1275133, которое содержит электромагнит с сердечником и корпус с выходным соплом, питающим и приемным соплами. Сердечник электромагнита выполнен в виде плоской рамки с размещенной в ней катушкой с обмоткой, при этом в рамке выполнен сквозной паз, в центре которого расположено двухступенчатое отверстие с шариком и системой сопел. Основным недостатком известных устройств является сложность их конструкции, а также невозможность их использования для испытания дыхательных аппаратов.
Известен стенд для испытаний дыхательных аппаратов, содержащий соединенное со средством передачи данных, имитирующее дыхание человека исполнительное устройство, выполненное в виде поршневого насоса, к выходному каналу рабочей камеры которого подсоединен дыхательный аппарат, в котором имеется редуктор и баллон с газом, а также система датчиков, соединенных со средством передачи данных для управления процессом испытания (DE 19627388 А1).
Недостаток известного стенда заключается в сложности конструкции, кроме того, использование поршневого насоса не является оптимальным для проведения испытаний различных типов дыхательных аппаратов.
При создании предложенных изобретений была поставлена задача обеспечить максимальную простоту и надежность как конструкции непосредственно электропневматического преобразователя, так и создаваемых на его основе систем, и, в частности, представленного в данной заявке стенда для испытания дыхательных аппаратов.
Поставленная задача решается в предложенном электропневматическом преобразователе, содержащем установленный в корпусе кольцевой постоянный магнит, внутри которого расположена подвижная электрокатушка, которая жестко связана с диффузором, подвижно смонтированном в диффузородержателе корпуса, при этом диффузородержатель герметично соединен с неподвижной поверхностью основания так, что упомянутая поверхность образует совместно с диффузором герметичную рабочую камеру, имеющую соединенный с ней выходной канал.
Согласно изобретению упомянутые постоянный магнит, катушка, диффузор и диффузородержатель могут быть элементами широко известной низкочастотной динамической головки (сабвуфера).
Еще одним объектом изобретения является стенд для испытания дыхательных аппаратов, содержащий соединенное со средством передачи данных, имитирующее дыхание человека исполнительное устройство, состоящее из электропневматического преобразователя по первому объекту, соединенного с усилителем, при этом к выходному каналу рабочей камеры электропневматического преобразователя подсоединен дыхательный аппарат, а с диффузором электропневматического преобразователя связан датчик положения или перемещения, соединенный со средством передачи данных.
Средство передачи данных может быть выполнено в виде компьютера с интегрированным цифроаналоговым преобразователем, а усилитель – в виде усилителя инфранизкой частоты.
Разработанные устройства для испытания позволяют получать в автоматическом режиме и с высокой точностью параметры имитации дыхательного цикла человека, отражаемые на мониторе, что обеспечивает возможность проведения испытаний и высокое качество настройки дыхательных аппаратов различных модификаций.
Предложенное изобретение поясняется прилагаемыми чертежами, на которых:
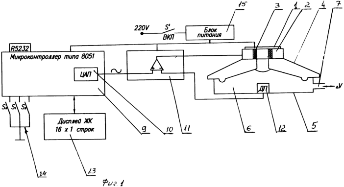
на фиг.1 показана блок-схем стенда для испытания дыхательных аппаратов и там же поперечный разрез электропневматического преобразователя;
на фиг.2 показан схематично упомянутый стенд с испытуемым оборудованием.
Электропневматический преобразователь, выполненный согласно изобретению, состоит из основания 1, закрепленного на основании 1 постоянного магнита 2, расположенной между полюсами магнита 2 подвижной электрокатушки 3 и связанной с диффузором 4, имеющим гофрированный участок, обладающий определенной гибкостью, и обеспечивающий диффузору в целом гибкость (податливость) в продольном направлении. Диффузор 4 посредством такого гибкого подвеса соединен с диффузородержателем (с корпусом диффузора), который в свою очередь герметично соединен с неподвижной поверхностью 5 основания 1 так, что упомянутая поверхность образует совместно с диффузором рабочую камеру 6, имеющую соединенный с ней выходной канал 7. Упомянутый гибкий подвес обеспечивает диффузору возможность колебаться в широком диапазоне частот и позволяет изменять диапазон перемещений в линейной зависимости от входного сигнала.
Диффузор связан с датчиком 8 положения или перемещения.
Показанный на фиг.1 стенд для испытания дыхательных аппаратов, кроме того, содержит средство передачи данных, выполненное в виде компьютера 9 с интегрированным цифроаналоговым преобразователем 10 (ЦАП), при этом с компьютером 9 соединено имитирующее дыхание человека исполнительное устройство, состоящее из соединенного с усилителем 11 упомянутого электропневматического преобразователя. Исполнительное устройство служит для преобразования входного синусоидального сигнала в соответствующее перемещение диффузора 4. Выходной канал 7 соединен с дыхательным аппаратом (на чертеже не показано), например с маской на муляже головы (фиг.2).
Датчик 12 положения или перемещения диффузора 4 соединен через усилитель 11 с ЦАП компьютера 9.
Кроме того, компьютер связан с дисплеем 13 и переключателем режимов работы 14, при этом соответствующие блоки стенда соединены с блоком питания 15.
Работа электропневматического преобразователя, выполненного согласно предложенному изобретению, осуществляется следующим образом.
В настоящем изобретении принцип действия преобразователя осуществляется практически аналогично обычному режиму работы низкочастотною динамика, т.е. для преобразования электрических колебаний в механические используют взаимодействие магнитного поля постоянного магнита с магнитным полем в подвижной катушке, подключенной к источнику электрических колебаний. Катушка располагается в зазоре магнита и жестко связана с диафрагмой (диффузором). При подаче электрических сигналов определенной частоты на электрокатушку взаимодействие тока с магнитным полем вызывает механические колебания диффузора, однако эти колебание не сопровождаются, как в обычном динамике, излучением звуковых волн, а являются, например, как в предложенном втором объекте изобретения – имитацией работы легочной системы человека.
Диффузор 5, перемещаясь пропорционально электрическому сигналу, повышает давление в рабочей камере 6 и вытесняет газ из рабочей камеры в выходной канал. Таким образом, в выходном отверстии обеспечивается давление, пропорциональное электрическому сигналу управления. При увеличении тока электрического сигнала управления, подаваемого на электрокатушку 3, происходит дальнейшее перемещение диффузора 5 и увеличение давления в рабочей камере, что вызывает увеличение давления на выходе (в выходном канале 7), пропорционально увеличению тока электрического сигнала управления.
При изменении знака электрического сигнала управления, подаваемого на электрокатушку 3, происходит обратное перемещение диффузора 5.
Таким образом, при работе электропневматического преобразователя в цикличном режиме задания тока электрического сигнала управления происходят соответствующие изменения давления в рабочей камере 6.
На основе показанного выше принципа действия электропневматического преобразователя осуществляется работа испытательного стенда, в котором измерение дыхательного объема осуществляется следующим образом.
При испытании дыхательных аппаратов в разработанном стенде предусматриваются следующие основные режимы работы:
A) установка глубины дыхания (0,5-3 дм3),
Б) установка частоты дыхания (10-40 циклов/мин);
B) легочная вентиляция.
При подаче на катушку 3 электрического напряжения вокруг нее образуется электромагнитное поле, взаимодействующее с полем постоянного магнита 2. В результате катушка 3 выталкивается из кольцевого магнита 2 или втягивается внутрь в зависимости от направления тока. Вместе с катушкой 3 вперед и назад перемещается диффузор 4, что вызывает сжатия и разрежения воздуха у его поверхности. Однако, в отличие от режима работы обычного динамика, сигналы электрического тока выбираются таким образом, чтобы колебания катушки приводили не к образованию звуковой волны, а поперечной волны низкой частоты в объеме воздуха и камере давления, к подаче в дыхательный аппарат необходимого количества воздушного потока, позволяющего имитировать дыхание человека. Величина создаваемого давления воздуха зависит от площади поверхности диффузора, длины хода катушки и параметров электрической цепи.
Так, например, сабвуфер диаметром 12’’ (300 мм) при стандартном ходе диффузора ±13 мм (этих параметров придерживается большинство производителей) “выталкивает” 4 литра воздуха, создавая при этом динамический перепад давления 10 кПа при Р=400 Вт подводимой электрической мощности.
От датчика 8 сигнал через усилитель 11 и ЦАП 10 поступает в компьютер 9, с помощью которого оператор может правильно подобрать необходимые режимы для надежной проверки дыхательного аппарата. Как показано выше, в режиме настройки осуществляется установка глубины, а также частоты дыхания. Затем уточненные параметры электрических колебаний в очередной раз в рабочем режиме через усилитель 11 подводятся к электрокатушке 3.
В качестве примера осуществления изобретения могут быть представлены результаты испытания макета, изготовленного на основе компрессионного динамика 25 ГД со следующими геометрическими параметрами: =6’’ (1,6 дм); ход=0,3 дм (30 мм).
При этом использовался конический диффузор с жестким центром и периферийным гофрированным податливым элементом (подвесом). Частота: mах – 40 циклов/мин (0,67 Гц), min – 10 циклов (0,17 Гц).
Другое используемое оборудование: в качестве компьютера был использован микроконтроллер типа 8051 (имеющий в своем составе ЦАП) или совместимый с Intel 8051 пульт управления кнопочного включения (3-4 кнопки), клавиатура, дисплей ЖК (16×2 строки), блок питания – сетевой адаптер (или встроенный блок питания), усилитель инфранизкой частоты с выходной мощноcтью 160-400 Вт, муляж головы с маской.
Испытания показали, что при подводимой электрической мощности Р=30 Вт – объем выталкиваемого воздуха (глубина дыхания) составил 0,6 л, а давление составило 500 Пa.
Учитывая что сабвуферы выпускаются от 80 до 2000 Вт, достижение требуемых параметров не вызовет затруднений у специалиста в данной области.
Сабвуферы имеют чаще всего корпус (диффузородержатель), изготовленный штамповкой из стали и гораздо реже – литьем из алюминиевого сплава. Диффузор является в большинстве случаев полипропиленовым, хотя литая целлюлоза также встречается, подвес (демпфер) – резиновый. Альтернатива резине в подвесах диффузоров – вспененные полимеры встречаются довольно редко. Звуковые катушки в большинстве своем двухдюймовые.
В результате макетирования и анализа возможных схем искусственных легких (поршневого и мембранного типа) был сделан вывод о том, что оптимальным вариантом для проведения испытаний является предлагаемое устройство, поскольку изобретение позволяет использовать в качестве механической части искусственных легких низкочастотную электродинамическую головку (сабвуфер) акустических систем практически без каких-либо изменений.
Формула изобретения
1. Электропневматический преобразователь, содержащий установленный в корпусе кольцевой постоянный магнит, внутри которого расположена подвижная электрокатушка, жестко связанная с диффузором, подвижно смонтированным в диффузородержателе корпуса, при этом диффузородержатель герметично соединен с неподвижной поверхностью основания так, что упомянутая поверхность образует совместно с диффузором герметичную рабочую камеру, имеющую соединенный с ней выходной канал.
2. Преобразователь по п.1, в котором упомянутые постоянный магнит, катушка, диффузор и диффузородержатель образуют низкочастотную динамическую звуковую головку (сабвуфер).
3. Стенд для испытания дыхательных аппаратов, содержащий исполнительное устройство, соединенное со средством передачи данных и имитирующее дыхание человека, выполненное в виде электропневматического преобразователя по п.1 или 2, соединенного с усилителем, при этом к выходному каналу рабочей камеры электропневматического преобразователя подсоединен дыхательный аппарат, а с диффузором электропневматического преобразователя связан датчик положения или перемещения, соединенный со средством передачи данных.
4. Стенд по п.3, отличающийся тем, что средство передачи данных выполнено в виде компьютера с интегрированным цифроаналоговым преобразователем, при этом усилитель представляет собой усилитель инфранизкой частоты.
РИСУНКИ
PC4A – Регистрация договора об уступке патента Российской Федерации на изобретение
(73) Патентообладатель(и):
Барбулев Сергей Яковлевич
(73) Патентообладатель:
Открытое акционерное общество “ПТС”
Дата и номер государственной регистрации перехода исключительного права: 29.09.2008 № РД0041451
Извещение опубликовано: 10.11.2008 БИ: 31/2008
|