|
|
(21), (22) Заявка: 2003134564/06, 27.11.2003
(24) Дата начала отсчета срока действия патента:
27.11.2003
(45) Опубликовано: 10.07.2005
(56) Список документов, цитированных в отчете о поиске:
SU 557208 A, 05.05.1977. SU 1539141 A1, 30.01.1988. RU 2005227 C1, 20.12.1993. DE 1506380 A, 01.02.1973. US 4164120 A, 14.08.1979.
Адрес для переписки:
196128, Санкт-Петербург, ул. Варшавская, 50, ФГУП ЦМКБ “Алмаз”
|
(72) Автор(ы):
Гончаров А.В. (RU), Иофа Е.С. (RU), Лысенко Э.Л. (RU), Новосельский Б.Н. (RU), Сиротин Б.Г. (RU), Талуц В.В. (RU), Фролков Ю.М. (RU)
(73) Патентообладатель(и):
Федеральное государственное унитарное предприятие “Центральное морское конструкторское бюро “Алмаз” (RU)
|
(54) ЭЛЕКТРОГИДРАВЛИЧЕСКИЙ ДИСТАНЦИОННЫЙ ПРИВОД С НЕСКОЛЬКИМИ ПОСТАМИ УПРАВЛЕНИЯ
(57) Реферат:
Изобретение относится к области машиностроения, преимущественно к электрогидравлическим приводам для управления газотурбинными двигателями с нескольких постов управления. Привод содержит основные каналы управления, выполненные в виде задатчиков режима двигателя и датчика обратной связи, подключенных к логическому блоку, соединенному с основным электрогидравлическим распределителем, параллельно которым подключены резервные каналы, по крайней мере, один из которых выполнен в виде кнопочных замыкателей, подключенных с одной стороны к резервному источнику электропитания, а с другой – к резервному электрогидравлическому распределителю, и соединенных при помощи логического элемента ИЛИ и запоминающего блока с блокировочными логическими элементами И, включенными между логическим блоком и основным электрогидравлическим распределителем, при этом привод дополнительно снабжен блокиратором постов управления, включенным в основные каналы управления между переключателем дистанционных постов управления, задатчиками режима двигателя на дистанционных постах и логическим блоком, и подключенным своими выходами к инверсным входам блокировочных логических элементов И основных каналов управления. Блокиратор содержит логические модули блокировки: первый логический модуль, содержащий входные логические элементы И по числу положений переключателя дистанционных постов, подключенный каждый прямым входом к своему положению переключателя, инверсными входами – к остальным положениям переключателя, а выходами – к выходному логическому элементу ИЛИ; второй логический модуль, содержащий входные логические элементы И по числу задатчиков режима, подключенные прямыми входами каждый к задатчику своего поста и к выходу логического элемента И своего поста в первом логическом модуле, а выходами – через выходной логический элемент ИЛИ к входам логического блока параллельно с выходом датчика обратной связи; третий логический модуль, содержащий последовательно подключенные запоминающий блок, логический элемент И и элемент задержки времени, причем запоминающий блок подключен инверсным входом записи к выходу элемента ИЛИ первого логического модуля, а выходом – к прямому входу логического элемента И, два других, инверсных входа которого подключены к основным каналам управления перед блокировочными элементами И, выход элемента задержки времени подключен к инверсным входам блокировочных элементов И основных каналов управления и к входу сброса запоминающего блока третьего модуля; четвертый логический модуль, в который входят две логические цепи: первая логическая цепь, состоящая из последовательно соединенных логического элемента ИЛИ, логического элемента И и запоминающего блока, причем к второму, инверсному входу элемента И подключен выход элемента ИЛИ первого логического модуля, вход сброса запоминающего блока подключен к выходу дополнительного элемента И, а прямые входы элемента ИЛИ и инверсные входы дополнительного элемента И подключены к основным каналам управления между логическим блоком и блокировочными элементами И; вторая логическая цепь, состоящая из последовательно соединенных первого запоминающего блока, логического элемента И и второго запоминающего блока, причем вход записи первого запоминающего блока подключен к выходу элемента И третьего логического модуля, к второму входу элемента И второй логической цепи подключен выход логического элемента ИЛИ первой логической цепи, входы сброса запоминающих блоков второй логической цепи подключены к выходу дополнительного элемента И второй логической цепи, прямой вход которого подключен к выходу дополнительного элемента И первой логической цепи, и второй, инверсный вход – к выходу элемента задержки времени третьего логического модуля, а выходы первой и второй логических цепей подключены к входам выходного элемента ИЛИ четвертого модуля, выход которого подключен к инверсным входам блокировочных элементов И основных каналов управления и к сигнализации. Технический результат – повышение надежности управления и исключение ошибок оператора при управлении газотурбинным двигателем с нескольких постов. 1 ил.

Изобретение относится к электрогидравлическим дистанционным приводам, предназначенным для управления газотурбинными двигателями с нескольких постов управления.
Известен электрогидравлический дистанционный привод, патент Японии №49-18678, н.кл. 54/8/D, опубл. 1974 г., содержащий основные каналы управления, выполненные в виде логического блока, соединенного с основным электрогидравлическим распределителем, параллельно которым подключены резервные каналы. Однако в известном устройстве не обеспечено резервирование источников питания и распределителей в основных и резервных каналах, что снижает надежность привода.
Известен также электрогидравлический дистанционный привод по а.с. 557208 (прототип), содержащий основные каналы управления, выполненный в виде задатчика режима двигателя и датчика обратной связи, подключенных к логическому блоку, соединенному с основным электрогидравлическим распределителем, параллельно которым подключены резервные каналы, по крайней мере, один из которых выполнен в виде кнопочных замыкателей, подключенных с одной стороны к резервному источнику электропитания, а с другой стороны к резервному электрогидравлическому распределителю, и соединенных при помощи логического элемента ИЛИ и запоминающего блока с блокировочными логическими элементами И, включенными между логическим блоком и основным электрогидравлическим распределителем.
Недостатком известного устройства по а.с. 557208 при управлении с нескольких постов является его недостаточная надежность и возможность ошибочных действий оператора при управлении.
При согласованных (в момент переключения постов) положениях задатчиков и датчика обратной связи переключение постов вызывает переходные процессы в логическом блоке, связанные с кратковременным прекращением сигнала от задатчика и инерционностью подключаемого поста. Эти переходные процессы могут вызвать ложные срабатывания привода, что недопустимо.
При несогласованных (в момент переключения) положениях задатчика и датчика обратной связи происходит ложная отработка привода (ошибка оператора).
Цель изобретения – повышение надежности электрогидравлического дистанционного привода газотурбинным двигателем при управлении с нескольких постов и исключение ошибок оператора при управлении.
Для этого привод дополнительно снабжен блокиратором постов управления, включенным в основные каналы управления между переключателем дистанционных постов управления, задатчиками режимов двигателя на дистанционных постах и логическим блоком, и подключенным своими выходами к инверсным входам блокировочных логических элементов И основных каналов управления, при этом блокиратор содержит логические модули блокировки: первый логический модуль, содержащий входные логические элементы И по числу положений переключателя дистанционных постов, подключенные каждый прямым входом к своему положению переключателя, инверсными входами – к остальным положениям переключателя, а выходами – к выходному логическому элементу ИЛИ; второй логический модуль, содержащий входные логические элементы И по числу задатчиков режима, подключенные прямыми входами каждый к задатчику своего поста и к выходу логического элемента И своего поста в первом логическом модуле, а выходами – через выходной логический элемент ИЛИ к входам логического блока параллельно с выходом датчика обратной связи; третий логический модуль, содержащий последовательно подключенные запоминающий блок, логический элемент И и элемент задержки времени, причем запоминающий блок подключен инверсным входом записи к выходу элемента ИЛИ первого логического модуля, а выходом – к прямому входу логического элемента И, два других, инверсных входа которого подключены к основным каналам управления перед блокировочными элементами И, выход элемента задержки времени подключен к инверсным входам блокировочных элементов И основных каналов управления и к входу сброса запоминающего блока третьего модуля; четвертый логический модуль, в который входят две логические цепи: первая логическая цепь, состоящая из последовательно соединенных логического элемента ИЛИ, логического элемента И и запоминающего блока, причем к второму, инверсному входу элемента И подключен выход элемента ИЛИ первого логического модуля, вход сброса запоминающего блока подключен к выходу дополнительного элемента И, а прямые входы элемента ИЛИ и инверсные входы дополнительного элемента И подключены к основным каналам управления между логическим блоком и блокировочными элементами И; вторая логическая цепь, состоящая из последовательно соединенных первого запоминающего блока, логического элемента И и второго запоминающего блока, причем вход записи первого запоминающего блока подключен к выходу элемента И третьего логического модуля, к второму входу логического элемента И второй логической цепи подключен выход логического элемента ИЛИ первой логической цепи, входы сброса запоминающих блоков второй логической цепи подключены к выходу дополнительного элемента И второй логической цепи, прямой вход которого подключен к выходу дополнительного элемента И первой логической цепи и второй, инверсный вход – к выходу элемента задержки времени третьего логического модуля, а выходы первой и второй логических цепей подключены к входам выходного логического элемента ИЛИ четвертого логического модуля, выход которого подключен к инверсным входам блокировочных элементов И основных каналов управления и к сигнализации.
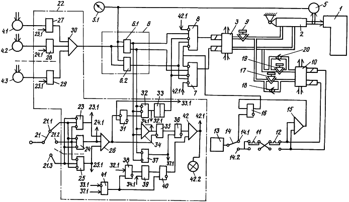
На чертеже показана функциональная схема устройства
Газотурбинный двигатель 1 кинематически связан с исполнительным механизмом 2, подключенным гидравлическими каналами к электрогидравлическому распределителю 3.
Задатчики 4.1, 4.2, 4.3 режимов работы двигателя 1 и датчик 5 обратной связи следящего канала управления подключены ко входам логического блока 6. Датчик 5 подключен к указателю 5.1 положения исполнительного механизма.
Задатчиков режимов может быть любое количество по числу постов управления, например, три.
Указатель 5.1 на схеме изображен один, но их также может быть любое количество, по числу постов управления. В этом случае они подключены к датчику 5 параллельно и не переключаются.
Датчик обратной связи 5 кинематически связан с выходом исполнительного механизма 2. Выходы логического блока 6 при помощи блокировочных логических элементов И 7 и 8 подключены к обмоткам электрогидравлического преобразователя 3.
Логический блок 6 содержит сумматор 6.1 сигналов от одного из задатчиков 4.1, 4.2 или 4.3, подключенных в данный момент на управление, и датчика 5 обратной связи. Выходы сумматора 6.1 подключены через прямые входы блокировочных элементов И 7 и 8 к обмоткам преобразователя 3 на управление режимами двигателя в направлении “больше” – увеличение подачи топлива в двигатель и “меньше” – уменьшение подачи топлива в двигатель.
Логический блок 6 содержит также логический элемент И 6.2 защиты системы от обрыва цепи датчика 5 обратной связи и подключенного к блоку 6 задатчика 4.1, 4.2 или 4.3. К входам И 6.2 подключены выходы датчика 5 и подключенного к блоку 6 задатчика 4.1, 4.2 или 4.3. Выход И 6.2 подключен к прямым входам блокировочных элементов И 7 и 8.
В гидравлическом канале между исполнительным механизмом 2 и электрогидравлическим распределителем 3 включен гидравлический дроссель 9, регулирующий скорость отработки механизма 2. Электрогидравлический распределитель 10 резервного канала подключен гидравлическими каналами к исполнительному механизму 2 параллельно распределителю 3 между дросселем 9 и механизмом 2. Кнопочные замыкатели 11 и 12 резервного канала управления режимами двигателя 1 подключены к резервному источнику 13 электропитания при помощи переключателя 14 в его положении 14.2 и к обмоткам распределителя 10. Параллельно замыкатели 11 и 12 подключены при помощи логического элемента ИЛИ 15 к входу записи запоминающего блока 16, выход которого подключен к инверсным входам логических элементов И 7 и 8. Вход сброса запоминающего блока 16 подключен к переключателю 14 в его положении 14.1.
В гидравлических каналах между электрогидравлическим распределителем 10 и механизмом 2 включены гидравлический дроссель 17 с включенным параллельно ему невозвратным клапаном 18 и гидравлический дроссель 19 с аналогично включенным клапаном 20, регулирующие скорость отработки механизма 2 при резервном управлении.
Для управления двигателем 1 с нескольких постов на основном посту управления расположен переключатель постов 21, имеющий положения по числу постов управления, в данном случае для трех постов 21.1, 21.2 и 21.3. Выходы переключателя подключены к блокиратору 22 постов управления, содержащему четыре логических модуля.
Первый логический модуль предназначен для блокировки возможности одновременного включения нескольких постов управления и содержит входные логические элементы И 23, И 24 и И 25, подключенные прямыми входами каждый к положению переключателя 21 на работу своего поста управления – к положениям 21.1, 21.2 и 21.3 соответственно. Инверсными входами элементы И 23, И 24 и И 25 подключены к другим положениям переключателя 21 (инверсными входами элемент 23 подключен к положениям 21.2 и 21.3 и так далее соответственно).
Выходные каналы И 23, И 24 и И 25 обозначены 23.1, 24.1 и 25.1 соответственно.
Выходы И 23, И 24 и И 25 подключены к входам выходного элемента ИЛИ 26 первого логического модуля.
Второй логический модуль предназначен для блокировки одновременного подключения в работу к блоку 6 нескольких задатчиков и содержит входные логические элементы И 27, И 28 и И 29, подключенные прямыми входами каждый к задатчику своего поста 4.1, 4.2 или 4.3 соответственно и к выходам логических элементов И первого логического модуля 23.1, 24.1 и 25.1 соответственно.
Выходы элементов И 27, 28 и 29 подключены через выходной логический элемент ИЛИ 30 к входам сумматора 6.1 защитного логического элемента И 6.2 в логическом блоке 6 параллельно с выходом датчика 5 обратной связи.
Третий логический модуль предназначен для блокировки от ложного срабатывания основных каналов управления при переключении переключателя 21 из одного положения в другое, когда задатчик подключаемого поста 4.1, 4.2 или 4.3 и датчик 5 обратной связи находятся при переключении постов в согласованном положении. Третий модуль содержит последовательно подключенные запоминающий блок 31, элемент И 32 и элемент задержки времени на отпускание 33, который выдает сигнал на своем выходе сразу после прихода сигнала на его вход, а снимает со своего выхода сигнал через заданное время.
Запоминающий блок 31 подключен входом записи к выходу элемента ИЛИ 26 первого логического модуля. К двум другим, инверсным входам логического элемента И 32 подключены основные каналы управления перед блокировочными логическими элементами И 7 и 8. Выход логического элемента И 32 обозначен 32.1.
Выход элемента 33 подключен к инверсным входам блокировочных элементов И 7 и 8 и к входу сброса запоминающего блока 31.
Четвертый логический модуль предназначен для блокировки несакционированной отработки основных следящих каналов управления, если из-за ошибки оператора при переключении постов положения задатчика и подключаемого поста окажется несогласованным с положением датчика 5 обратной связи.
В четвертый логический модуль входят две логические цепи: первая логическая цепь, состоящая из последовательно соединенных логического элемента ИЛИ 34 (выход обозначен 34.1) логического элемента И 35 и запоминающего блока 36, причем к второму, инверсному входу элемента И 35 подключен выход элемента ИЛИ 26 первого логического модуля, вход сброса запоминающего блока 36 подключен к выходу дополнительного логического элемента И 37 (обозначен 37.1), а прямые входы элемента ИЛИ 34 и инверсные входы дополнительного элемента И 37 подключены к основным каналам управления перед блокировочными элементами И 7 и 8; вторая логическая цепь, состоящая из последовательно соединенных запоминающего блока 38, логического элемента И 39 и запоминающего блока 40, причем вход записи первого запоминающего блока 38 подключен к выходу 32.1 элемента И 32 третьего логического модуля, к второму входу элемента И 39 подключен выход 34.1 элемента ИЛИ 34, входы сброса запоминающих блоков 38 и 40 подключены к выходу элемента И 41.
К прямому входу И 41 подключен выход 37.1 логического элемента И 37 первой логической цепи, а к другому, инверсному входу И 41 подключен выход 33.1 элемента 33 задержки времени третьего логического модуля. Выход запоминающего блока 36 первой логической цепи и запоминающего блока 40 второй логической цепи подключены через логический элемент ИЛИ 42 (обозначен 42.1) к инверсным входам блокировочных элементов И 7 и 8 основных каналов управления и к сигнализации 42.2 (например, световой сигнализации).
Устройство работает следующим образом.
При управлении двигателем 1 при помощи следящих каналов управления сигналы от одного из задатчиков 4.1, 4.2 или 4.3 и датчика 5 обратной связи поступают в логический блок 6, на входы сумматора 6.1 и логического элемента И 6.2 защиты.
При наличии рассогласования между сигналами задатчика и датчика обратной связи, превышающего зону нечувствительности сумматора 6.1, на выходе сумматора появляется сигнал, поступающий на вход логического элемента 7 или 8. При отсутствии на инверсных входах И 7 и 8 сигналов с выхода блокиратора 6 постов управления и с выхода запоминающего блока 16, а также при наличии на прямых входах И 7 и 8 сигнала с выхода элемента И 6.2 защиты от неисправности (обрыв схемы) датчика 5 обратной связи и задатчика на подключенном посту управления (4.1, 4.2 или 4.3), с выхода элемента И 7 или 8 поступает сигнал на соответствующую обмотку распределителя 3. Распределитель 3 подает рабочую жидкость через дроссель 9 в соответствующую полость механизма 2, воздействующего при этом на орган регулирования режима работы (подачи топлива) двигателя 1 и одновременно на датчик обратной связи 5, пока сигналы от задатчика 4.1, 4.2 или 4.3 и датчика 5 на входах сумматора 6.1 блока 6 не сравняются.
При выходе из строя (обрыве схемы) датчика 5 или подключенного задатчика 4.1, 4.2 или 4.3 снимается один из сигналов на входе элемента И 6,2 в блоке 6, соответственно сигнал с выхода И 6.2 перестает поступать на прямые входы блокировочных элементов 7 и 8, блокируя работу следящих каналов управления.
В этом случае оператор управляет двигателем 1 при помощи замыкателей 11 и 12, подключенных к резервному источнику 13 электропитания переводом переключателя 14 в положение 14.2.
При нажатии на замыкатель 11 или 12 сигнал с его выхода поступает на соответствующую обмотку распределителя 10 (при нажатии на оба замыкателя они обесточивают друг друга). Распределитель 10 подает рабочую жидкость через дроссель 17 или 19 на механизм 2, воздействующий на орган регулирования режима работы двигателя 1. Другой дроссель 19 или 17 шунтируется невозвратным клапаном 20 или 18 соответственно.
Одновременно при нажатии замыкателя 11 или 12 через элемент ИЛИ 15 подается сигнал на вход записи запоминающего блока 16, сигнал с выхода которого поступает на инверсные входы И 7 и 8, блокируя работу следящих каналов.
Перевод запоминающего блока 16 в исходное положение и разблокировка следящих каналов осуществляется подачей сигнала на вход сброса блока 16 от переключателя 14 переводом его в положение 14.1 на отключение питания резервного канала.
На схеме изображено управление двигателем 1 с первого поста управления, когда переключатель 21 постов находится в положении 21.1 и к блоку 6 подключен задатчик 4.1.
При необходимости передачи управления с одного поста на другой переключатель 21 переводится в положение, соответствующее выбранному посту управления, например в положение 21.2. Для сокращения времени принятия управления на другом посту положение задатчика 4.2 должно быть предварительно согласовано с положением датчика 5 обратной связи.
При переводе переключателя 21 из положения 21.1 в положение 21.2 сигнал с выхода И 23 снимается, отключая задатчик 4.1 при снятии сигнала 23.1 с входа И 27, и на выходе И 24 появляется сигнал 24.1, подключающий в работу задатчик 4.2 через И 28 и ИЛИ 30. Так как сигналы от задатчика 4.2 и датчика 5 по условию на входе сумматора 6.1 равны, отработка блока 6 происходить не должна, но при кратковременном снятии сигала задатчика 4.1 с входа сумматора 6 и появлении на его входе сигнала задатчика 4.2 в блоке 6 происходят переходные процессы, которые могут вызвать на его входе ложное срабатывание следящих каналов управления.
Для предотвращения этого явления в третьем логическом модуле блокиратора 6 выходной элемент ИЛИ 26 первого логического модуля блокиратора 6 подключен к инверсному входу записи запоминающего блока 31 третьего модуля. В момент переключения постов управления сигнал на выходе ИЛИ 26 снимается на входе записи блока 31 и на его выходе появляется сигнал, поступающий на прямой вход И 32, на двух других, инверсных входах которого отсутствуют (по условию) сигналы отработки основных каналов управления. На выходе И 32 появляется сигнал, который через элемент задержки времени 33 (элемент 33 работает с задержкой на отключение сигнала) сразу же поступает на инверсные входы блокировочных элементов И 7 и 8, блокируя прохождение сигналов от блока 6 к распределителю 3 на время отработки элемента 33, и на вход сброса запоминающего блока 31.
Через заданное время, когда переходный процесс в блоке 6 закончится, элемент 33 снимает сигнал с инверсных входов И 7 и 8, разблокируя работу основных каналов управления.
Если при переводе управления с одного поста на другой оператор не выполнил условия по предварительному согласованию задатчиков на работающем посту 4.1 и на подключаемом посту 4.2 с датчиком 5 обратной связи (ошибка оператора), для предотвращения несанкционированной отработки основных каналов управления четвертый логический модуль блокиратора 6 содержит две логические цепи и выходной логический элемент ИЛИ 42.
Первая логическая цепь работает в том случае, когда переключение постов было выполнено оператором в процессе отработки команды на подключенном посту, то есть положение задатчика 4.1 на работающем посту и датчика 5 обратной связи не было согласовано. В этом случае на выходе элемента ИЛИ 34 и на прямом входе И 35 присутствует сигнал отработки одного из основных каналов управления.
При переводе переключателя 21 из положения 21.1 в положение 21.2 на втором, инверсном входе И 35 снимается сигнал с выхода ИЛИ 26 и на выходе И 35 появляется сигнал, который поступает на вход записи запоминающего блока 36.
С выхода блока 36 сигнал через ИЛИ 42 поступает на инверсные входы блокировочных элементов И 7 и 8, блокируя работу основных каналов управления, и на сигнализацию.
Сигнал на вход сброса запоминающего блока 36 поступает с выхода И 37, когда положение задатчика 4.2 на подключенном посту будет согласовано с положением датчика 5 обратной связи и на инверсных входах И 37 снимутся сигналы с выхода сумматора 6.1
Вторая логическая цепь работает в том случае, если на работающем посту положение задатчика 4.1 было согласовано с положением датчика 5 обратной связи и на выходе сумматора 6.1 сигналов не было, а положение задатчика 4.2 на подключаемом посту не было согласовано с положением датчика 5 обратной связи.
В этом случае при переводе переключателя 21 из положения 21.1 в положение 21.2 с выхода элемента 32 третьего логического модуля сигнал 32.1 поступает на вход записи запоминающего блока 38 второй логической цепи.
С выхода блока 38 сигнал поступает на вход И 39. При подключении задатчика 4.2 через ИЛИ 30 к сумматору 6.1 на выходе сумматора появляется сигнал, т.к. положение задатчика 4.2 и датчика 5 (по условию) не согласовано. Дальнейшая отработка каналов управления при этом блокируется сигналом с выхода элемента 33 задержки времени.
Сигнал с выхода сумматора 6.1 через ИЛИ 34 (сигнал 34.1) поступает на вход И 39, а с его выхода – на вход записи запоминающего блока 40. С выхода блока 40 сигнал через ИЛИ 42 (сигнал 42.1) поступает на инверсные входы блокировочных элементов И 7 и 8 и на сигнализацию 42.2.
Сигналы на вход сброса запоминающих блоков 38 и 40 поступают с выхода И 41, когда на его прямой вход поступает сигнал 37.1 с выхода И 37 о согласовании задатчика 4.2 и датчика 5 обратной связи и с инверсного входа И 41 снимается сигнал от элемента задержки времени 33, что свидетельствует о завершении переходных процессов в блоке 6.
Применение предложенного электрогидравлического привода повышает надежность управления и исключает ошибки оператора при управлении газотурбинным двигателем с нескольких постов.
Формула изобретения
Электрогидравлический дистанционный привод с несколькими постами управления, преимущественно для газотурбинных двигателей, содержащий основные каналы управления, выполненные в виде задатчиков режима двигателя и датчика обратной связи, подключенных к логическому блоку, соединенному с основным электрогидравлическим распределителем, параллельно которым подключены резервные каналы, по крайней мере, один из которых выполнен в виде кнопочных замыкателей, подключенных с одной стороны к резервному источнику электропитания, а с другой – к резервному электрогидравлическому распределителю, и соединенных при помощи логического элемента ИЛИ и запоминающего блока с блокировочными логическими элементами И, включенными между логическим блоком и основным электрогидравлическим распределителем, отличающийся тем, что привод дополнительно снабжен блокиратором постов управления, включенным в основные каналы управления между переключателем дистанционных постов управления, задатчиками режима двигателя на дистанционных постах и логическим блоком, и подключенным своими выходами к инверсным входам блокировочных логических элементов И основных каналов управления, при этом блокиратор содержит логические модули блокировки: первый логический модуль, содержащий входные логические элементы И по числу положений переключателя дистанционных постов, подключенные каждый прямым входом к своему положению переключателя, инверсными входами – к остальным положениям переключателя, а выходами – к выходному логическому элементу ИЛИ; второй логический модуль, содержащий входные логические элементы И по числу задатчиков режима, подключенные прямыми входами каждый к задатчику своего поста и к выходу логического элемента И своего поста в первом логическом модуле, а выходами – через выходной логический элемент ИЛИ к входам логического блока параллельно с выходом датчика обратной связи; третий логический модуль, содержащий последовательно подключенные запоминающий блок, логический элемент И и элемент задержки времени, причем запоминающий блок подключен инверсным входом записи к выходу элемента ИЛИ первого логического модуля, а выходом – к прямому входу логического элемента И, два других инверсных входа которого подключены к основным каналам управления перед блокировочными элементами И, а выход элемента задержки времени подключен к инверсным входам блокировочных элементов И основных каналов управления и к входу сброса запоминающего блока третьего модуля; четвертый логический модуль, в который входят две логические цепи: первая логическая цепь, состоящая из последовательно соединенных логического элемента ИЛИ, логического элемента И и запоминающего блока, причем к второму инверсному входу элемента И подключен выход элемента ИЛИ первого логического модуля, вход сброса запоминающего блока подключен к выходу дополнительного элемента И, а прямые входы элемента ИЛИ и инверсные входы дополнительного элемента И подключены к основным каналам управления между логическим блоком и блокировочными элементами И; вторая логическая цепь, состоящая из последовательно соединенных первого запоминающего блока, логического элемента И и второго запоминающего блока, причем вход записи первого запоминающего блока подключен к выходу элемента И третьего логического модуля, к второму входу логического элемента И второй логической цепи подключен выход логического элемента ИЛИ первой логической цепи, входы сброса запоминающих блоков второй логической цепи подключены к выходу дополнительного элемента И второй логической цепи, прямой вход которого подключен к выходу дополнительного элемента И первой логической цепи, и второй инверсный вход к выходу элемента задержки времени третьего логического модуля, а выходы первой и второй логических цепей подключены к входам выходного логического элемента ИЛИ четвертого логического модуля, выход которого подключен к инверсным входам блокировочных элементов И основных каналов управления и к сигнализации.
РИСУНКИ
Изменения:
Зарегистрирован переход исключительного права без заключения договора Дата и номер государственной регистрации перехода исключительного права: 11.03.2010/РП0000599 Патентообладатель: Открытое акционерное общество “Центральное морское конструкторское бюро “Алмаз” Прежний патентообладатель: Федеральное государственное унитарное предприятие “Центральное морское конструкторское бюро “Алмаз”
Номер и год публикации бюллетеня: 19-2005
Извещение опубликовано: 27.04.2010 БИ: 12/2010
|
|