|
|
(21), (22) Заявка: 2004112071/06, 21.04.2004
(24) Дата начала отсчета срока действия патента:
21.04.2004
(45) Опубликовано: 10.07.2005
(56) Список документов, цитированных в отчете о поиске:
RU 2121610 С1, 10.11.1998. SU 1146416 A, 23.03.1985. RU 2059891 C1, 10.05.1996. US 4744730 A, 17.05.1988. US 4293283 A, 06.10.1981.
Адрес для переписки:
77400, Ивано-Франковская обл., г. Тисменица, ул. Вильшанецкая, 33, З.Д. Хоминцу
|
(72) Автор(ы):
Хоминец Зиновий Дмитриевич (UA)
(73) Патентообладатель(и):
Хоминец Зиновий Дмитриевич (UA)
|
(54) ЭЖЕКТОРНЫЙ МНОГОФУНКЦИОНАЛЬНЫЙ ПЛАСТОИСПЫТАТЕЛЬ ДЛЯ ГОРИЗОНТАЛЬНЫХ СКВАЖИН
(57) Реферат:
Изобретение относится к области насосной техники. Эжекторный многофункциональный пластоиспытатель содержит установленные на колонне труб механический или гидромеханический пакер для его неподвижного размещения в распакерованном виде в скважине на фиксированной глубине, струйный насос, в корпусе которого установлены сопло и камера смешения с диффузором, а также выполнен ступенчатый проходной канал, причем в последнем предусмотрена возможность установки функциональных вставок, например функциональной вставки для регистрации кривых восстановления пластового давления, струйный насос расположен в обсадной колонне над продуктивными пластами скважины, ниже пакера на колонне труб установлен автономный каротажный комплекс для измерения физических величин, например удельного электрического сопротивления горных пород или воздействия на пласт физическими полями, например акустическими, и второй дополнительный пакер, выполненный из эластичного материала в виде открытого сверху стакана с конусообразной боковой стенкой, причем дно стакана герметично закреплено на колонне труб, а ниже дополнительного пакера на колонне труб расположено центрующее пакер в обсадной колонне кольцо, при этом расстояние между пакерами составляет не менее наружного диаметра колонны труб в месте установки дополнительного пакера. В результате достигаются интенсификация работ по исследованию и испытанию скважин с открытым и обсаженным стволом, в первую очередь с криволинейным или горизонтальным стволом, оптимизация расположения пакеров при их работе совместно со струйным насосом и автономным каротажным комплексом и за счет этого повышение надежности работы скважинной струйной установки. 1 з.п. ф-лы, 1 ил.

Изобретение относится к области насосной техники, преимущественно к скважинным струйным установкам для добычи нефти из скважин.
Известна скважинная струйная установка, включающая установленный в скважине на колонне насосно-компрессорных труб струйный насос и размещенный ниже струйного насоса перфоратор (см. авторское свидетельство SU 1146416, Е 21 В 43/116, 23.03.1985).
Данная установка позволяет проводить перфорацию скважины и за счет этого интенсифицировать откачку из скважины различных добываемых сред, например нефти, однако данная установка не позволяет проводить исследование прискважинной зоны пластов, что в ряде случаев приводит к снижению эффективности работ по интенсификации эксплуатации скважины, это связано с отсутствием информации о том, где наиболее целесообразно проводить перфорацию пластов. Таким образом, эффективность проводимой работы по дренированию скважины не дает ожидаемых результатов.
Наиболее близкой к изобретению по технической сущности и достигаемому результату является скважинная струйная установка, содержащая установленные на колонне насосно-компрессорных труб пакер с центральным каналом и струйный насос с активным соплом, камерой смешения и проходным каналом с посадочным местом для установки герметизирующего узла с осевым каналом, при этом установка снабжена излучателем и приемником-преобразователем физических полей, размещенным в подпакерной зоне со стороны входа в струйный насос откачиваемой из скважины среды и установленным на каротажном кабеле, который пропущен через осевой канал герметизирующего узла, выход струйного насоса подключен к пространству, окружающему колонну труб, вход канала подвода откачиваемой среды струйного насоса подключен к внутренней полости колонны труб ниже герметизирующего узла, а вход канала подачи жидкой рабочей среды в активное сопло подключен к внутренней полости колонны труб выше герметизирующего узла (см. патент RU 2121610, F 04 F 5/02, 10.11.1998).
Данная скважинная струйная установка позволяет проводить различные технологические операции в скважине ниже уровня установки струйного насоса, в том числе путем снижения перепада давлений над и под герметизирующим узлом. Однако данная установка позволяет проводить исследование продуктивных пород только вертикальных стволов, что сужает область использования данной скважинной струйной установки.
Задачей, на решение которой направлено настоящее изобретение, является интенсификация работ по исследованию и испытанию скважин с открытым и обсаженным стволом, в первую очередь с криволинейным или горизонтальным стволом, оптимизация размещения пакера при работе совместно со струйным насосом и автономным каротажным комплексом и за счет этого повышение надежности работы скважинной струйной установки.
Указанная задача решается за счет того, что эжекторный многофункциональный пластоиспытатель содержит установленные на колонне труб механический или гидромеханический пакер для его неподвижного размещения в распакерованном виде в скважине на фиксированной глубине, струйный насос, в корпусе которого установлены сопло и камера смешения с диффузором, а также выполнен ступенчатый проходной канал, причем в последнем предусмотрена возможность установки функциональных вставок, например функциональной вставки для регистрации кривых восстановления пластового давления, струйный насос расположен в обсадной колонне над продуктивными пластами скважины, ниже пакера на колонне труб установлен автономный каротажный комплекс для измерения физических величин, например удельного электрического сопротивления горных пород или воздействия на пласт физическими полями, например акустическими, и второй дополнительный пакер, выполненный из эластичного материала в виде открытого сверху стакана с конусообразной боковой стенкой, причем дно стакана герметично закреплено на колонне труб, а ниже дополнительного пакера на колонне труб расположено центрующее пакер в обсадной колонне кольцо, при этом расстояние L между пакерами составляет не менее наружного диаметра D колонны труб в месте установки дополнительного пакера.
В центрующем кольце могут быть выполнены сквозные отверстия.
Анализ работы эжекторного многофункционального пластоиспытателя показал, что надежность работы установки можно повысить как путем оптимального расположения в скважине струйного насоса относительно других элементов конструкции установки, так и путем выполнения установки с двумя пакерами, один из которых механический или гидромеханический, а другой расположен ниже, выполнен из эластичного материала и снабжен расположенным ниже него на колонне труб, центрующим его в обсадной колонне, кольцом.
Было выявлено, что указанное выше расположение струйного насоса в скважине позволяет наиболее эффективно использовать оборудование, которое установлено на колонне труб, при проведении работ по исследованию и испытанию продуктивных пластов горных пород, при этом созданы условия для получения полной и достоверной информации о состоянии продуктивных пластов. Установка позволяет создавать ряд различных депрессий с помощью струйного насоса с заданной величиной перепада давления, а с помощью функциональной вставки, в частности функциональной вставки для регистрации кривых восстановления пластового давления и автономного каротажного комплекса, при этом проводятся исследование и испытание скважины. Одновременно предоставляется возможность контролировать величину депрессии путем управления скоростью прокачки жидкой рабочей среды. При проведении испытания пластов можно регулировать режим откачки посредством изменения давления жидкой рабочей среды, подаваемой в сопло струйного насоса. В ходе проведения испытаний использование двух пакеров позволяет повысить достоверность получаемой информации. Было установлено, что проведение регистрации кривых восстановления пластового давления и длительного дренирования пласта целесообразно проводить при распакерованном механическом или гидромеханическом пакере, а каротаж пласта в режиме депрессии – при нахождении механического или гидромеханического пакера в транспортном положении. В этом случае разобщение пространства скважины осуществляется посредством дополнительного пакера из эластичного материала. Это связано с тем, что фиксированное положение элементов конструкции установки позволяет снизить погрешность при снятии гидродинамических характеристик скважины, а разобщение пространства скважины с помощью пакера из эластичного материала позволяет проводить динамические испытания пласта, причем представляется возможность в ходе этих исследований перемещать относительно скважины струйный насос совместно с автономным каротажным комплексом. Проведение разнообразных комплексных исследований позволило расширить объем получаемой информации в ходе одного спуска установки в скважину. Однако было установлено, что более рационально размещение пакера из эластичного материала ниже механического или гидромеханического пакера. В этом случае снижается нагрузка на пакер из эластичного материала при создании максимальных перепадов давления на пакере. В то же время для исключения влияния на работу пакера из эластичного материала пакера механического или гидромеханического пакер из эластичного материала надо располагать ниже механического или гидромеханического пакера на расстоянии, которое составляет не менее величины наружного диаметра колонны труб, на которой установлены пакеры. Возможна установка в ступенчатом проходном канале струйного насоса и других функциональных вставок, в частности блокирующей вставки. Перекрытие блокирующей вставкой как канала подачи жидкой рабочей среды, так и канала подвода откачиваемой из скважины среды при проведении работ по разобщению затрубного и внутритрубного пространства скважины позволяет предотвратить попадание в струйный насос посторонних предметов, которые могут засорить струйный насос, что также позволяет повысить надежность работы установки. Возможно выполнение функциональной вставки для регистрации кривых восстановления пластового давления с обратным клапаном и перепускным клапаном, что позволяет дополнительно повысить точность получаемых данных при регистрации указанных выше кривых, что, в свою очередь, позволяет провести более качественную обработку скважины и подготовку ее к эксплуатации, а также позволяет ускорить и упростить процесс выравнивания давления между подпакерным и надпакерным пространством скважины. Таким образом, данная струйная скважинная установка имеет широкие функциональные возможности, что позволяет проводить качественное исследование и испытание скважин после бурения или при капитальном ремонте с проведением всестороннего исследования и испытания в различных режимах.
В ходе исследования было установлено, что для обеспечения надежной работы дополнительного пакера из эластичного материала и обеспечения возможности перемещения струйного насоса и автономного каротажного комплекса в скважине без депакеровки пакера из эластичного материала последний выполняют из эластичного материала в виде стакана с коническими стенками. Центрующее кольцо, расположенное ниже этого пакера, фиксирует колонну труб в обсадной колонне и при этом не создает значительного гидравлического сопротивления при спуске и подъеме колонны труб. В конечном итоге удалось добиться получения исчерпывающей объективной информации о состоянии продуктивных пород продуктивных пластов.
Таким образом, указанная выше совокупность взаимозависимых параметров обеспечивает достижение выполнения поставленной в изобретении задачи – интенсификации работ по исследованию и испытанию криволинейных и горизонтальных скважин с открытым и обсаженным стволом в зоне продуктивного пласта, а также оптимизации работы пакеров при их работе совместно со струйным насосом и автономным каротажным комплексом и, за счет этого, повышения надежности работы скважинной струйной установки.
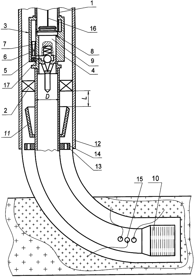
На чертеже представлен продольный разрез эжекторного многофункционального пластоиспытателя с установленной функциональной вставкой для регистрации кривых восстановления пластового давления.
Эжекторный многофункциональный пластоиспытатель содержит установленные на колонне труб 1 механический или гидромеханический пакер 2, струйный насос 3, в корпусе 4 которого установлены сопло 5 и камера смешения 6 с диффузором 7, а также выполнен ступенчатый проходной канал 8 и канал подвода откачиваемой среды 17. В ступенчатом проходном канале 8 могут быть установлены функциональные вставки, в частности функциональная вставка 9 для регистрации кривых восстановления пластового давления с подключенным к ней каротажным кабелем 16, а также депрессионная и блокирующая вставки. Ниже пакера 2 на колонне труб 1 установлены автономный каротажный комплекс 10 для измерения физических величин, например удельного электрического сопротивления горных пород или воздействия на пласт физическими полями, например акустическими, и дополнительный пакер 11 из эластичного материала.
Струйный насос 3 установлен в обсадной колонне 12 над продуктивным пластом скважины. Ниже дополнительного пакера 11 на колонне труб 1 расположено центрующее пакер 11 в обсадной колонне 12 кольцо 13. В центрующем кольце 13 выполнены сквозные отверстия 14, а в колонне труб 1 над автономным каротажным комплексом 10 выполнены отверстия 15.
Дополнительный пакер 11 выполнен из эластичного материала в виде открытого сверху стакана с конусообразной боковой стенкой. Дно стакана герметично закреплено на колонне труб 1. Расстояние L между пакерами 2 и 11 составляет не менее наружного диаметра D колонны труб 1 в месте установки дополнительного пакера 11.
Работа эжекторного многофункционального пластоиспытателя заключается в том, что спускают в скважину на насосно-компрессорных трубах 1 струйный насос 3 со ступенчатым проходным каналом 8 в его корпусе 4, расположенные ниже струйного насоса 3 механический или гидромеханический пакер 2, пакер 11 из эластичного материала и расположенный на нижнем конце колонны труб 1 автономный каротажный комплекс 10. В процессе спуска посредством автономного каротажного комплекса 10 проводят регистрацию фоновых значений физических параметров прискважинной зоны продуктивных пластов. При достижении заданной глубины производят распакеровку пакера 2. Затем на каротажном кабеле или проволоке опускают по колонне труб 1 и устанавливают в проходном канале 8 функциональную вставку 9 для регистрации кривых восстановления пластового давления в подпакерном пространстве. В последней может быть установлен перепускной клапан, а ниже функциональной вставки могут быть установлены обратный клапан и автономный манометр. Далее подают в сопло 5 струйного насоса 3 жидкую рабочую среду и создают в подпакерном пространстве скважины ряд различных по величине депрессий. При каждой величине депрессии измеряют дебит скважины, после этого резко прекращают подачу жидкой рабочей среды в сопло 5 струйного насоса 3 с отсечением за счет этого обратным клапаном функциональной вставки 9 надпакерного пространства скважины от подпакерного и производят автономным манометром регистрацию восстановления пластового давления в подпакерном пространстве скважины. Если функциональную вставку 9 устанавливать в проходном канале 8 с помощью каротажного кабеля, то имеется возможность передачи на поверхность по каротажному кабелю информации из подпакерного пространства скважины, что позволяет более оперативно принимать решения по ходу дальнейших работ в скважине. Затем извлекают вставку для регистрации кривых восстановления пластового давления 9 вместе с каторажным кабелем 16 и сбрасывают в скважину депрессионную вставку с автономным манометром (на чертеже не показано). Далее приводят пакер 2 в транспортное положение и подают в сопло 5 струйного насоса 3 рабочую среду, что приводит к повышению давления в затрубном пространстве колонны труб 1 над пакером 11 из эластичного материала и его автоматической распакеровке за счет давления столба жидкости на боковые стенки эластичного стакана пакера 11 и их прижатия к стенке обсадной колонны 12, при этом пакер 11 установлен выше исследуемых продуктивных пластов. В ходе исследования проводят перемещение автономного каротажного комплекса 10 относительно продуктивных пластов без депакеровки пакера 11. Потом прекращают подачу рабочей среды в сопло 5 струйного насоса 3, что приводит к выравниванию давлений над и под пакером 11 за счет перетока жидкости из затрубного пространства через сопло 5 и канал подвода откачиваемой среды 17 в подпакерное пространство. При этом счет выравнивания давления в колонне труб над и под пакером 11 происходит депакеровка пакера 11, что дает возможность произвести подъем колонны труб 1 со струйным насосом 3, пакерами 2, 11 и автономным каротажным комплексом 10. При этом во время подъема последним снова регистрируют физические параметры прискважинной зоны продуктивных пластов.
Если возникает необходимость, то проводят дополнительное исследование пластов, для чего закачивают в скважину жидкость с аномальными физическими свойствами, например с аномально высоким сечением захвата тепловых нейтронов, предварительно заменив депрессионную вставку на блокирующую вставку с проходным каналом. Для этого по колонне труб 1 через отверстия 15 задавливают эту жидкость в продуктивные пласты, при этом может быть распакерован пакер 2 от величины создаваемого на пакере 2 автономного перепада давления. Потом проводят депакеровку пакера 2 и подъем каротажного комплекса 10 с регистрацией измененных физических параметров прискважинной зоны пласта.
Настоящее изобретение может найти применение в нефтедобывающей промышленности при испытании и освоении скважин, а также в других отраслях промышленности, где производится добыча различных сред из скважин.
Формула изобретения
1. Эжекторный многофункциональный пластоиспытатель, содержащий установленные на колонне труб механический или гидромеханический пакер для его неподвижного размещения в распакерованном виде в скважине на фиксированной глубине, струйный насос, в корпусе которого установлены сопло и камера смешения с диффузором, а также выполнен ступенчатый проходной канал, причем в последнем предусмотрена возможность установки функциональных вставок, например функциональной вставки для регистрации кривых восстановления пластового давления, струйный насос расположен в обсадной колонне над продуктивными пластами скважины, ниже пакера на колонне труб установлен автономный каротажный комплекс для измерения физических величин, например удельного электрического сопротивления горных пород или воздействия на пласт физическими полями, например акустическими, и второй дополнительный пакер, выполненный из эластичного материала в виде открытого сверху стакана с конусообразной боковой стенкой, причем дно стакана герметично закреплено на колонне труб, а ниже дополнительного пакера на колонне труб расположено центрующее пакер в обсадной колонне кольцо, при этом расстояние L между пакерами составляет не менее наружного диаметра D колонны труб в месте установки дополнительного пакера.
2. Эжекторный многофункциональный пластоиспытатель по п.1, отличающийся тем, что в центрующем кольце выполнены сквозные отверстия.
РИСУНКИ
|
|