|
|
(21), (22) Заявка: 2004115857/06, 27.05.2004
(24) Дата начала отсчета срока действия патента:
27.05.2004
(45) Опубликовано: 10.07.2005
(56) Список документов, цитированных в отчете о поиске:
RU 2129672 C1, 27.04.1999. RU 2129671 C1, 27.04.1999. RU 2059891 C1, 10.05.1996. US 4744730 A, 17.05.1988. US 4293283 A, 06.10.1981.
Адрес для переписки:
77400, Ивано-Франковская наб., г. Тисменица, ул. Вильшанецкая, 33, З.Д. Хоминец
|
(72) Автор(ы):
Хоминец Зиновий Дмитриевич (UA)
(73) Патентообладатель(и):
Хоминец Зиновий Дмитриевич (UA)
|
(54) СПОСОБ РАБОТЫ ЭЖЕКТОРНОГО МНОГОФУНКЦИОНАЛЬНОГО ПЛАСТОИСПЫТАТЕЛЯ ДЛЯ ГОРИЗОНТАЛЬНЫХ СКВАЖИН
(57) Реферат:
Изобретение относится к области насосной техники. Способ заключается в том, что на колонне труб последовательно монтируют струйный насос, верхний механический пакер, нижний пакер из эластичного материала, центрующее кольцо, а на нижнем конце колонны труб с перфорированным участком устанавливают автономный каротажный комплекс, спускают эту сборку на колонне труб в скважину. В ходе спуска проводят регистрацию фоновых значений физических полей горных пород, после достижения автономным каротажным комплексом проектной глубины проводят распакеровку верхнего механического пакера и устанавливают в ступенчатом проходном канале струйного насоса функциональную вставку для регистрации кривых восстановления пластового давления, далее путем подачи жидкой рабочей среды в сопло струйного насоса создают в подпакерной зоне не менее трех ступенчато увеличивающихся значений депрессий на пласт и, замеряя на поверхности объемы жидкости, откачанной за время действия каждой депрессии, определяют дебиты откачиваемой из пласта жидкой среды, а потом дополнительно создают еще ряд депрессий и регистрируют при этом с помощью автономного каротажного комплекса физические поля горных пород. В результате достигается повышение надежности работы и производительности при проведении исследований и испытании пластов в скважинах с неукрепленными обсадной колонной стенками и повышение достоверности геолого-промысловой информации, получаемой на ранних этапах строительства скважин. 1 з.п.ф-лы, 3 ил.

Изобретение относится к области насосной техники, преимущественно к скважинным насосным установкам для добычи и интенсификации притока нефти из скважин.
Известен способ работы скважинной струйной установки, включающий спуск в скважину колонны труб со струйным насосом, пакером и излучателем с приемником-преобразователем физических полей с размещением последнего ниже струйного насоса (см. патент RU 2129671, МПК 7 F 04 F 5/02, 27.04.1999).
Данный способ работы позволяет проводить откачку из скважины различных добываемых сред, например нефти, с одновременным исследованием скважины, при этом излучатель и приемник-преобразователь физических полей размещен с возможностью возвратно-поступательного перемещения вдоль оси скважины относительно струйного насоса и пласта, однако в ряде случаев этого недостаточно, чтобы получить полную информацию о состоянии скважины, что снижает эффективность проводимой работы по интенсификации добычи нефти из скважины.
Наиболее близким к изобретению по технической сущности и достигаемому результату является способ работы скважинной струйной установки, включающий установку на колонне труб пакера и струйного насоса, в корпусе которого выполнен проходной канал с посадочным местом, спуск этой сборки в скважину, распакеровку пакера и размещение в скважине ниже струйного насоса глубинных приборов (см. патент RU 2129672 С1, МПК 7 F 04 F 5/02, 27.04.1999).
Данный способ работы скважинной струйной установки позволяет проводить различные технологические операции в скважине ниже уровня установки струйного насоса, в том числе путем создания перепада давлений над и под герметизирующим узлом. Однако данный способ работы установки не позволяет в полной мере использовать ее возможности, что связано с ограниченным набором операций по интенсификации притока из продуктивного пласта.
Задачей, на решение которой направлено настоящее изобретение, является повышение производительности и интенсификация работ по исследованию и испытанию скважин с открытым и обсаженным стволом, в первую очередь, с криволинейным или горизонтальным стволом, оптимизация совместной работы пакера, струйного насоса и автономного каротажного комплекса и за счет этого повышение надежности работы эжекторного многофункционального пластоиспытателя для горизонтальных скважин при повышении достоверности геолого-промысловой информации, получаемой в ходе проведения испытаний скважин.
Указанная задача решается за счет того, что способ работы эжекторного многофункционального пластоиспытателя для горизонтальных скважин заключается в том, что на колонне труб последовательно монтируют струйный насос, в корпусе которого выполнен ступенчатый проходной канал с посадочным местом между ступенями с возможностью установки на посадочное место сменных функциональных вставок, верхний механический пакер, нижний пакер из эластичного материала, выполненный в виде стакана с конуснообразной расширяющейся вверх боковой стенкой, центрующее кольцо, а на нижнем конце колонны труб с перфорированным участком устанавливают автономный каротажный комплекс, спускают эту сборку на колонне труб в скважину, причем в ходе спуска проводят регистрацию с помощью автономного каротажного комплекса фоновых значений физических полей горных пород, после достижения автономным каротажным комплексом проектной глубины проводят распакеровку верхнего механического пакера и устанавливают в ступенчатом проходном канале струйного насоса функциональную вставку для регистрации кривых восстановления пластового давления, далее путем подачи жидкой рабочей среды в сопло струйного насоса создают в подпакерной зоне не менее трех ступенчато увеличивающихся значений депрессий на пласт и, замеряя на поверхности объемы жидкости, откачанной за время действия каждой депрессии, определяют дебиты откачиваемой из пласта жидкой среды, потом дополнительно создают депрессию на пласт и поддерживают ее в течение времени, необходимого для создания воронки депрессии, а далее с помощью функциональной вставки для регистрации кривых восстановления пластового давления проводят регистрацию кривой восстановления пластового давления в подпакерном пространстве скважины, затем приводят верхний механический пакер в транспортное положение и подают в сопла струйного насоса жидкую рабочую среду, приводя таким образом нижний пакер в рабочее положение, далее дренирут пласт в течение 2-4 часов, а потом при работающем струйном насосе проводят подъем сборки колонны труб и регистрируют при этом с помощью автономного каротажного комплекса физические поля горных пород вдоль ствола скважины, после чего извлекают из струйного насоса функциональную вставку для регистрации кривых восстановления пластового давления и устанавливают в ступенчатом проходном канале блокирующую вставку со сквозным центральным каналом, опускают сборку на колонне труб до достижения автономным каротажным комплексом нижнего интервала перфорации пласта, закачивают в скважину через внутреннюю полость колонны труб кислотный раствор или жидкость гидроразрыва и при достижении закачанной жидкой средой верхнего интервала перфорации продуктивного пласта проводят распакеровку верхнего механического пакера и задавливают кислотный раствор в пласт или проводят гидроразрыв пласта, затем извлекают блокирующую вставку и устанавливают в ступенчатом проходном канале функциональную вставку для регистрации кривых восстановления пластового давления, дренируют скважину, в процессе чего откачивают из скважины продукты реакции или жидкость гидроразрыва, а затем проводят регистрацию кривой восстановления пластового давления в подпакерном пространстве скважины, после чего приводят верхний пакер в транспортное положение, подают в сопло струйного насоса жидкую рабочую среду, приводят таким образом нижний пакер в рабочее положение и создают депрессию на пласт в течение 2-4 часов, а потом при работающем струйном насосе проводят подъем сборки на колонне труб и регистрируют при этом с помощью автономного каротажного комплекса физические поля горных пород.
Кроме того, перед последним подъемом сборки колонны труб может быть проведено дополнительное исследование продуктивных пластов, для чего по колонне труб через ее перфорированный нижний участок закачивают в зону продуктивного пласта жидкость с аномальными физическими свойствами, например с высокой электропроводностью, а после этого в процессе подъема сборки на колонне труб проводят исследование продуктивных пластов вдоль ствола скважины с помощью автономного каротажного комплекса.
Анализ работы эжекторного многофункционального пластоиспытателя, посредством которого реализуется описываемый способ его работы, показал, что надежность работы установки можно повысить как путем оптимизации последовательности и набора операций по интенсификации притока путем организации работы установки с двумя пакерами, один из которых механический или гидромеханический, а другой расположен ниже, выполнен из эластичного материала и снабжен расположенным ниже него на колонне труб центрующим его в обсадной колонне кольцом.
Было выявлено, что указанное выше расположение струйного насоса в скважине позволяет наиболее эффективно использовать оборудование, которое установлено на колонне труб, при проведении работ по исследованию и испытанию продуктивных пластов горных пород, при этом созданы условия для получения полной и достоверной информации о состоянии продуктивных пластов. Создание ряда различных депрессий на продуктивный пласт с помощью струйного насоса и регистрация кривых восстановления пластового давления с помощью предназначенной для этого функциональной вставки и с помощью автономного каротажного комплекса позволяет повысить объем получаемой информации о состоянии продуктивного пласта. Контроль величины депрессии путем управления скоростью прокачки жидкой рабочей среды с созданием строго определенной, заранее рассчитанной депрессии позволяет повысить точность получаемой информации. Регулировку режима откачки при проведении испытания пластов осуществляют посредством изменения давления жидкой рабочей среды, подаваемой в сопло струйного насоса. В ходе проведения испытаний используют два конструктивно различающихся пакера, что позволило расширить методику проведения испытаний и повысить достоверность получаемой информации. Было установлено, что проведение регистрации кривых восстановления пластового давления и длительного дренирования пласта целесообразно проводить при распакерованном механическом или гидромеханическом пакере, а каротаж пласта в режиме депрессии – при нахождении механического или гидромеханического пакера в транспортном положении. В этом случае разобщение пространства скважины осуществляется посредством дополнительного пакера из эластичного материала. Это связано с тем, что фиксированное положение элементов конструкции установки позволяет снизить погрешность при снятии гидродинамических характеристик скважины, а разобщение пространства скважины с помощью пакера из эластичного материала позволяет проводить динамические испытания пласта, причем представляется возможность в ходе этих исследований перемещать относительно скважины струйный насос совместно с автономным каротажным комплексом и таким образом проводить каротаж при депрессии на пласт. В ходе исследования было установлено, что целесообразно проводить длительное дренирование в течение 2-4 часов. Более короткое время дренирования не позволяет оказать качественное воздействие на пласт, а более длительное воздействие не дает ощутимых результатов, но при этом ведет к увеличению времени проведения работ и увеличению эксплуатационных расходов. Проведение разнообразных комплексных исследований позволяет расширить объем получаемой информации в ходе одного спуска установки в скважину. Однако было установлено, что более рационально размещение пакера из эластичного материала ниже механического или гидромеханического пакера. В этом случае снижается нагрузка на пакер из эластичного материала при создании максимальных перепадов давления на пакере. Установка в ступенчатом проходном канале струйного насоса других функциональных вставок, в частности блокирующей вставки, дает возможность перекрывать блокирующей вставкой канал подачи жидкой рабочей среды и канал подвода откачиваемой из скважины среды при проведении работ по разобщению затрубного и внутритрубного пространства скважины, что позволяет предотвратить попадание в струйный насос посторонних предметов, которые могут засорить струйный насос, что также позволяет повысить надежность работы установки. Дополнительное повышение точности получаемых данных при регистрации указанных выше кривых достигается путем выполнения функциональной вставки для регистрации кривых восстановления пластового давления с обратным клапаном и перепускным клапаном, что, в свою очередь, позволяет провести более качественную обработку скважины и подготовку ее к эксплуатации, а также позволяет ускорить и упростить процесс выравнивания давления между подпакерным и надпакерным пространством скважины. Таким образом, данный способ работы эжекторного многофункционального пластоиспытателя имеет широкие функциональные возможности, что позволяет проводить качественное исследование и испытание скважин после бурения или при капитальном ремонте с проведением всестороннего исследования и испытания в различных режимах.
Таким образом, указанная выше совокупность взаимозависимых параметров со строго определенной последовательностью операций с продуктивным пластом обеспечивает достижение выполнения поставленной в изобретении задачи – интенсификации работ по исследованию и испытанию криволинейных и горизонтальных скважин с открытым и обсаженным стволом в зоне продуктивного пласта, а также оптимизации работы пакеров при их работе совместно со струйным насосом и автономным каротажным комплексом и за счет этого повышения надежности работы скважинной струйной установки.
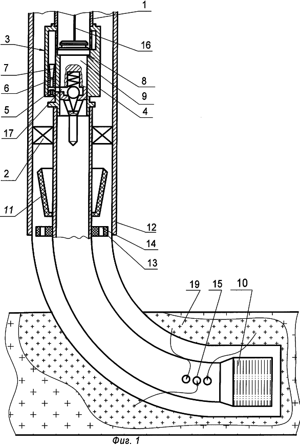
На фиг.1 представлен продольный разрез эжекторного многофункционального пластоиспытателя с установленной функциональной вставкой для регистрации кривых восстановления пластового давления. На фиг.2 представлен продольный разрез эжекторного многофункционального пластоиспытателя с установленной блокирующей вставкой. На фиг.3 представлен продольный разрез эжекторного многофункционального пластоиспытателя с распакерованным нижним пакером.
Эжекторный многофункциональный пластоиспытатель содержит установленные на колонне труб 1 механический или гидромеханический пакер 2, струйный насос 3, в корпусе 4 которого установлены сопло 5 и камера смешения 6 с диффузором 7, а также выполнен ступенчатый проходной канал 8 и канал подвода откачиваемой среды 17. В ступенчатом проходном канале 8 могут быть установлены функциональные вставки, в частности функциональная вставка 9 для регистрации кривых восстановления пластового давления с подключенным к ней каротажным кабелем 16, а также блокирующая вставка 18. Ниже пакера 2 на колонне труб 1 установлены автономный каротажный комплекс 10 для измерения физических величин, например удельного электрического сопротивления горных пород или воздействия на пласт физическими полями, например акустическими, и дополнительный пакер 11 из эластичного материала.
Струйный насос 3 установлен в обсадной колонне 12 над продуктивным пластом 19 скважины. Ниже дополнительного пакера 11 на колонне труб 1 расположено центрующее пакер 11 в обсадной колонне 12 кольцо 13. В центрующем кольце 13 выполнены сквозные отверстия 14, а в колонне труб 1 над автономным каротажным комплексом 10 выполнены отверстия 15.
Способ работы эжекторного многофункционального пластоиспытателя для горизонтальных скважин заключается в том, что на колонне труб 1 последовательно монтируют струйный насос 3, в корпусе 4 которого выполнен ступенчатый проходной канал 8 с посадочным местом между ступенями с возможностью установки на посадочное место сменных функциональных вставок, верхний механический или гидромеханический пакер 2, нижний пакер 11 из эластичного материала, выполненный в виде стакана с конуснообразной расширяющейся вверх боковой стенкой, центрующее кольцо 13, а на нижнем конце колонны труб 1 устанавливают автономный каротажный комплекс 10. Эту сборку спускают на колонне труб 1 в скважину, причем в ходе спуска проводят регистрацию фоновых значений физических полей горных пород автономным каротажным комплексом 10. После достижения автономным каротажным комплексом 10 проектной глубины проводят распакеровку верхнего пакера 2 и устанавливают в ступенчатом проходном канале 8 струйного насоса 3 функциональную вставку 9 для регистрации кривых восстановления пластового давления. Путем подачи жидкой рабочей среды в сопло 5 струйного насоса 3 создают в подпакерной зоне не менее трех ступенчато увеличивающихся значений депрессий на пласт и, замеряя на поверхности объемы жидкости, откаченной за время действия каждой депрессии, определяют дебиты откачиваемой из пласта жидкой среды. Потом дополнительно создают депрессию на пласт 19 и поддерживают ее в течение времени, необходимого для создания воронки депрессии, а далее с помощью функциональной вставки 9 для регистрации кривых восстановления пластового давления проводят регистрацию кривой восстановления пластового давления в подпакерном пространстве скважины. Затем приводят верхний пакер 2 в транспортное положение и подают в сопло 5 струйного насоса жидкую рабочую среду, приводя таким образом нижний пакер 11 в рабочее положение. Далее дренирут пласт 19 в течение 2-4 часов, а потом при работающем струйном насосе 3 проводят подъем сборки колонны труб 1 и регистрируют при этом с помощью автономного каротажного комплекса 10 физические поля горных пород, после чего извлекают из корпуса 4 струйного насоса 3 функциональную вставку 5 для регистрации кривых восстановления пластового давления и устанавливают в ступенчатом проходном канале 8 блокирующую вставку 18 со сквозным центральным каналом. Опускают сборку на колонне труб 1 до достижения автономным каротажным комплексом 10 нижнего интервала перфорации пласта. Закачивают в скважину через внутреннюю полость колонны труб 1 кислотный раствор или жидкость гидроразрыва и при достижении закачанной жидкой средой верхнего интервала перфорации продуктивного пласта 19 проводят распакеровку верхнего пакера 2 и задавливают кислотный раствор в пласт 19 или проводят гидроразрыв пласта 19. Затем извлекают блокирующую вставку 18 и устанавливают в ступенчатом проходном канале 8 депрессионную вставку или функциональную вставку 9 для регистрации кривых восстановления пластового давления. После этого проводят дренирование пласта скважины, в процессе которого откачивают из скважины продукты реакции или жидкость гидроразрыва. Затем проводят регистрацию кривой восстановления пластового давления в подпакерном пространстве скважины, после чего приводят верхний пакер 2 в транспортное положение, подают в сопло 5 струйного насоса 3 жидкую рабочую среду, приводят таким образом нижний пакер 11 в рабочее положение и создают депрессию на пласт в течение 2-4 часов. После этого проводят подъем сборки на колонне труб 1 при работающем струйном насосе 3 и регистрируют при этом физические поля горных пород с помощью автономного каротажного комплекса 10.
Настоящее изобретение может быть использовано в нефтедобывающей и горной промышленности при испытании нефтегазовых скважин на этапе их бурения и эксплуатации.
Формула изобретения
1. Способ работы эжекторного многофункционального пластоиспытателя для горизонтальных скважин, заключающийся в том, что на колонне труб последовательно монтируют струйный насос, в корпусе которого выполнен ступенчатый проходной канал с посадочным местом между ступенями с возможностью установки на посадочное место сменных функциональных вставок, верхний механический или гидромеханический пакер, нижний пакер из эластичного материала, выполненный в виде стакана с конуснообразной расширяющейся вверх боковой стенкой, центрующее кольцо, а на нижнем конце колонны труб с перфорированным участком устанавливают автономный каротажный комплекс, спускают эту сборку на колонне труб в скважину, причем в ходе спуска проводят регистрацию фоновых значений физических полей горных пород, после достижения автономным каротажным комплексом проектной глубины проводят распакеровку верхнего пакера и устанавливают в ступенчатом проходном канале струйного насоса функциональную вставку для регистрации кривых восстановления пластового давления, далее путем подачи жидкой рабочей среды в сопло струйного насоса создают в подпакерной зоне не менее трех ступенчато увеличивающихся значений депрессий на пласт и, замеряя на поверхности объемы жидкости, откачанной за время действия каждой депрессии, определяют дебиты откачиваемой из пласта жидкой среды, потом дополнительно создают депрессию на пласт и поддерживают ее в течение времени, необходимого для создания воронки депрессии, а далее с помощью функциональной вставки для регистрации кривых восстановления пластового давления проводят регистрацию кривой восстановления пластового давления в подпакерном пространстве скважины, затем приводят верхний пакер в транспортное положение и подают в сопла струйного насоса жидкую рабочую среду, приводя таким образом нижний пакер в рабочее положение, далее дренируют пласт в течение 2-4 ч, а потом при работающем струйном насосе проводят подъем сборки колонны труб и регистрируют при этом с помощью автономного каротажного комплекса физические поля горных пород вдоль ствола скважины, после чего извлекают из струйного насоса функциональную вставку для регистрации кривых восстановления пластового давления и устанавливают в ступенчатом проходном канале блокирующую вставку со сквозным центральным каналом, опускают сборку на колонне труб до достижения автономным каротажным комплексом нижнего интервала перфорации пласта, закачивают в скважину через внутреннюю полость колонны труб кислотный раствор или жидкость гидроразрыва и при достижении закаченной жидкой средой верхнего интервала перфорации продуктивного пласта проводят распакеровку верхнего пакера и задавливают кислотный раствор в пласт или проводят гидроразрыв пласта, затем извлекают блокирующую вставку и устанавливают в ступенчатом проходном канале функциональную вставку для регистрации кривых восстановления пластового давления, дренируют скважину, в процессе чего откачивают из скважины продукты реакции или жидкость гидроразрыва, а затем проводят регистрацию кривой восстановления пластового давления в подпакерном пространстве скважины, после чего приводят верхний пакер в транспортное положение, подают в сопло струйного насоса жидкую рабочую среду, приводят таким образом нижний пакер в рабочее положение и создают депрессию на пласт в течение 2-4 ч, а потом при работающем струйном насосе проводят подъем сборки колонны труб и регистрируют при этом с помощью автономного каротажного комплекса физические поля горных пород.
2. Способ работы эжекторного многофункционального пластоиспытателя для горизонтальных скважин по п.1, отличающийся тем, что перед последним подъемом сборки колонны труб проводят дополнительное исследование продуктивных пластов, для чего по колонне труб через ее перфорированный нижний участок закачивают в зону продуктивного пласта жидкость с аномальными физическими свойствами, например с высокой электропроводностью, а после этого проводят исследование продуктивных пластов вдоль ствола скважины с помощью автономного каротажного комплекса.
РИСУНКИ
QB4A Регистрация лицензионного договора на использование изобретения
Лицензиар(ы): Хоминец Зиновий Дмитриевич (UA)
НИЛ
Лицензиат(ы): ЗАО Совместное предприятие “ГЕОТЕСТ”
Договор № РД0004187 зарегистрирован 18.11.2005
Извещение опубликовано: 20.01.2006 БИ: 02/2006
* ИЛ – исключительная лицензия НИЛ – неисключительная лицензия
|
|