|
|
(21), (22) Заявка: 2004115856/06, 27.05.2004
(24) Дата начала отсчета срока действия патента:
27.05.2004
(45) Опубликовано: 10.07.2005
(56) Список документов, цитированных в отчете о поиске:
RU 2121610 С1, 10.11.1998. SU 1146416 A, 23.03.1985. RU 2059891 C1, 10.05.1996. US 4744730 A, 17.05.1988. US 4293283 A, 06.10.1981.
Адрес для переписки:
77400, Ивано-Франковская обл., г. Тисменица, ул. Вильшанецкая, 33, З.Д. Хоминцу
|
(72) Автор(ы):
Хоминец Зиновий Дмитриевич (UA)
(73) Патентообладатель(и):
Хоминец Зиновий Дмитриевич (UA)
|
(54) ЭЖЕКТОРНЫЙ МНОГОФУНКЦИОНАЛЬНЫЙ ПЛАСТОИСПЫТАТЕЛЬ ДЛЯ ИСПЫТАНИЯ И ОСВОЕНИЯ ГОРИЗОНТАЛЬНЫХ СКВАЖИН
(57) Реферат:
Изобретение относится к области насосной техники, преимущественно к скважинным струйным установкам для добычи нефти из скважин. Пластоиспытатель содержит смонтированные сверху вниз на колонне труб струйный насос, узел для разъединения и соединения колонны труб, клапанный узел с посадочным местом для установки клапанной вставки с обратным клапаном, пакер и хвостовик с входной воронкой, в корпусе струйного насоса соосно установлены активное сопло и камера смешения, а также выполнены канал подвода активной среды, канал подвода откачиваемой из скважины среды и ступенчатый проходной канал с посадочным местом между ступенями, при этом в ступенчатом проходном канале предусмотрена возможность поочередной установки герметизирующего узла и блокирующей вставки со сквозным каналом, которые размещены на гибкой гладкой трубе выше наконечника для подсоединения автономного каротажного комплекса, а также вставки для регистрации кривых восстановления пластового давления в подпакерном пространстве скважины, под которой установлены автономные приборы для регистрации давления, температуры и других физических параметров скважины и пластовых флюидов. В результате достигается интенсификация работ по исследованию, испытанию и подготовке скважин, в первую очередь скважин горизонтальных и большой кривизны, оптимизация работы струйного насоса при его использовании совместно с автономным каротажным комплексом и другими функциональными вставками для исследования продуктивного пласта и за счет этого повышение надежности и производительности работы эжекторного многофункционального пластоиспытателя. 2 з.п. ф-лы, 3 ил.

Изобретение относится к области насосной техники, преимущественно к скважинным струйным установкам для добычи нефти из скважин.
Известна скважинная струйная установка, содержащая колонну насосно-компрессорных труб со струйным насосом, пакером и перфоратором с возможностью прокачки жидкой рабочей среды через струйный насос (см. авторское свидетельство SU 1146416, Е 21 В 43/116, 23.03.1985).
Данная скважинная струйная установка позволяет проводить перфорацию скважины и за счет этого интенсифицировать откачку из скважины различных добываемых сред, например нефти, однако данная установка не позволяет проводить исследование прискважинной зоны пластов, что в ряде случаев приводит к снижению эффективности работ по интенсификации работы скважины из-за отсутствия информации о том, как работают продуктивные пласты. Таким образом, эффективность проводимой работы по дренированию скважины не дает ожидаемых результатов.
Наиболее близкой к изобретению по технической сущности и достигаемому результату является установка, содержащая установленные на колонне насосно-компрессорных труб пакер с центральным каналом и струйный насос с активным соплом, камерой смешения и проходным каналом с посадочным местом для установки герметизирующего узла с осевым каналом, при этом установка снабжена излучателем и приемником-преобразователем физических полей, размещенным в подпакерной зоне со стороны входа в струйный насос откачиваемой из скважины среды и установленным на каротажном кабеле, который пропущен через осевой канал герметизирующего узла, причем выход струйного насоса подключен к пространству, окружающему колонну труб, вход канала подвода откачиваемой среды струйного насоса подключен к внутренней полости колонны труб ниже герметизирующего узла, а вход канала подачи жидкой рабочей среды в активное сопло подключен к внутренней полости колонны труб выше герметизирующего узла, (см. патент RU 2121610, F 04 F 5/02, 10.11.1998).
Данная установка позволяет проводить различные технологические операции в скважине ниже уровня установки струйного насоса, в том числе путем снижения перепада давлений над и под герметизирующим узлом. Однако данная установка позволяет проводить исследование продуктивных пород только в стволах, близких к вертикальным, что сужает область использования этой установки. Кроме того, ограничен объем работ, который можно было бы провести в скважине без подъема установки на поверхность, что удлиняет сроки проведения работ по испытанию и освоению скважин.
Задачей, на решение которой направлено настоящее изобретение, является интенсификация работ по исследованию, испытанию и подготовке скважин, в первую очередь скважин горизонтальных и большой кривизны, оптимизация работы струйного насоса при его использовании совместно с автономным каротажным комплексом и другими функциональными вставками для исследования продуктивного пласта и за счет этого повышение надежности и производительности работы эжекторного многофункционального пластоиспытателя.
Указанная задача решается за счет того, что эжекторный многофункциональный пластоиспытатель для испытания и освоения горизонтальных скважин содержит смонтированные сверху вниз на колонне труб струйный насос, узел для разъединения и соединения колонны труб, клапанный узел с посадочным местом для установки клапанной вставки с обратным клапаном, пакер и хвостовик с входной воронкой, причем в корпусе струйного насоса соосно установлены активное сопло и камера смешения, а также выполнены канал подвода активной среды, канал подвода откачиваемой из скважины среды и ступенчатый проходной канал с посадочным местом между ступенями, при этом в ступенчатом проходном канале предусмотрена возможность поочередной установки герметизирующего узла и блокирующей вставки со сквозным каналом, которые размещены на гибкой гладкой трубе выше наконечника для подсоединения автономного каротажного комплекса, а также вставки для регистрации кривых восстановления пластового давления в подпакерном пространстве скважины, под которой установлены автономные приборы для регистрации давления, температуры и других физических параметров скважины и пластовых флюидов, во вставке выполнены перепускные каналы и установлен перепускной клапан для выравнивания давления под и над вставкой, выход струйного насоса подключен к внутренней полости колонны труб выше герметизирующего узла, активное сопло струйного насоса через канал подвода активной среды подключено к затрубному пространству колонны труб, канал для подвода откачиваемой из скважины среды подключен к внутренней полости колонны труб ниже герметизирующего узла, диаметр осевого канала герметизирующего узла больше внешнего диаметра гибкой трубы не менее чем на 0,2 мм, внешний диаметр гибкой трубы равен от 0,4 до 0,95 диаметра проходного канала блокирующей вставки, а гибкая гладкая труба выполнена из композитного материала, армированного токопроводящей проволокой с возможностью ее использования для электрической связи автономного каротажного комплекса с каротажной лабораторией на поверхности.
В транспортном положении гибкая гладкая труба может быть намотана на барабан лебедки, расположенной на шасси транспортного средства, например автомобиля, а гибкая гладкая труба со стороны ее нижнего конца может быть выполнена с отверстиями в ее стенке.
Анализ различных конструкций эжекторного пластоиспытателя показал, что надежность его работы можно повысить как путем увеличения функциональных возможностей установки, так и путем оптимизации элементов конструкции и последовательности действий при испытании и освоении скважин, в первую очередь с открытым и/или криволинейным стволом.
Было выявлено, что указанный выше набор элементов конструкции пластоиспытателя позволяет организовать такую последовательность действий, при которой наиболее эффективно используется оборудование, которое установлено на колонне труб при проведении работ по исследованию, испытанию и освоению продуктивных пластов горных пород. При этом созданы условия как для получения полной и достоверной информации о состоянии продуктивных пластов, так и для проведения обработки продуктивных пластов в ходе проведения исследования. Пластоиспытатель дает возможность создавать ряд различных депрессий с помощью струйного насоса в подпакерной зоне скважины с заданной величиной перепада давления, а с помощью автономного каротажного комплекса и вставки для регистрации кривых восстановления пластового давления с установленными под ней автономными приборами проводить исследование и испытание скважины. Одновременно представляется возможность контролировать величину депрессии путем управления скоростью прокачки жидкой рабочей среды. При проведении испытания пластов можно регулировать режим откачки посредством изменения давления жидкой рабочей среды, подаваемой в сопло струйного насоса. Установка каротажного комплекса на гибкой гладкой трубе, которая пропущена через герметизирующий узел с возможностью осевого перемещения, позволяет провести более качественную работу по исследованию скважины промыслово-геофизическими методами, а установка блокирующей вставки с пропуском через нее гибкой гладкой трубы позволяет без переустановки скважинной струйной установки произвести обработку скважины и в первую очередь продуктивных пластов скважины для увеличения их производительности, что в конечном итоге позволяет ускорить и упростить процесс испытания и подготовки скважины к работе.
Для повышения надежности работы установки и снижения влияния перетоков на результаты испытаний и ускорения проведения испытаний необходимо обеспечить строго определенные соотношения размеров. Наиболее критичны в этом плане соотношения размеров диаметра осевого канала герметизирующего узла и проходного канала блокирующей вставки по отношению к внешнему диаметру гибкой гладкой трубы. Было установлено, что наиболее целесообразно, чтобы диаметр осевого канала герметизирующего узла был больше внешнего диаметра гибкой трубы не менее чем на 0,2 мм, а внешний диаметр гибкой трубы равен от 0,4 до 0,95 от диаметра проходного канала блокирующей вставки. При этом целесообразно, чтобы гибкая гладкая труба была выполнена из композитного материала, армированного токопроводящей проволокой с возможностью ее использования для электрической связи автономного каротажного комплекса с каротажной лабораторией на поверхности.
В транспортном положении гибкая гладкая труба может быть намотана на барабан лебедки, расположенной на шасси транспортного средства, например автомобиля, что позволяет ускорить монтаж установки. А выполнение гибкой гладкой трубы со стороны ее нижнего конца с отверстиями в ее стенке позволяет проводить обработку прискважинной зоны продуктивного пласта жидкими агентами без демонтажа или переустановки оборудования. В результате достигается интенсификация работ по исследованию и освоению скважин.
Таким образом, данный эжекторный многофункциональный пластоиспытатель для испытания и освоения горизонтальных скважин позволяет проводить качественное исследование и испытание скважин после бурения и при капитальном ремонте, а также подготовку скважины к эксплуатации с проведением всестороннего исследования и испытания в различных режимах.
В результате достигнуто выполнение поставленной в изобретении задачи – интенсификация работ по исследованию и испытанию скважин с горизонтальным, в том числе открытым стволом, а также оптимизация работы струйного насоса при его работе совместно с каротажным комплексом и функциональными вставками и за счет этого повышение надежности работы эжекторного пластоиспытателя.
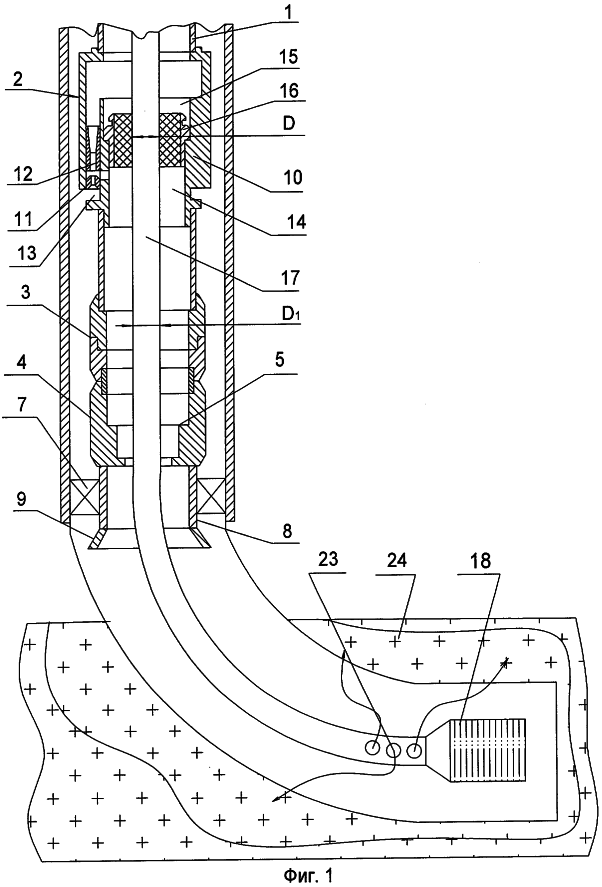
На фиг.1 представлен продольный разрез пластоиспытателя с герметизирующим узлом. На фиг.2 представлен продольный разрез пластоиспытателя с вставкой для регистрации кривой восстановления пластового давления. На фиг.3 представлен продольный разрез пластоиспытателя с блокирующей вставкой.
Эжекторный многофункциональный пластоиспытатель для испытания и освоения горизонтальных скважин содержит смонтированные сверху вниз на колонне труб 1 струйный насос 2, узел 3 для разъединения и соединения колонны труб 1, клапанный узел 4 с посадочным местом 5 для установки клапанной вставки с обратным клапаном 6, пакер 7 и хвостовик 8 с входной воронкой 9. В корпусе 10 струйного насоса 2 соосно установлены активное сопло 11 и камера смешения 12, а также выполнены канал подвода активной среды 13, канал 14 подвода откачиваемой из скважины среды и ступенчатый проходной канал 15 с посадочным местом между ступенями, при этом в ступенчатом проходном канале 15 предусмотрена возможность установки герметизирующего узла 16, который подвижно размещен на гибкой гладкой трубе 17 выше наконечника для подсоединения автономного каротажного комплекса 18, функциональных вставок: блокирующей 19 со сквозным проходным перепускным каналом 20, и вставки 21 для регистрации кривых восстановления пластового давления в подпакерном пространстве скважины вместе с автономными приборами (например, манометром, термометром и расходомером) 22 и перепускным клапаном 25. Выход струйного насоса 2 подключен к внутренней полости колонны труб 1 выше герметизирующего узла 16, активное сопло 11 струйного насоса 2 через канал 13 подвода активной среды подключено к затрубному пространству скважины (колонны труб 1) и канал 14 для подвода откачиваемой из скважины среды подключен к внутренней полости колонны труб 1 ниже герметизирующего узла 16.
Диаметр (D) осевого канала герметизирующего узла 16 больше внешнего диаметра (D1) гибкой гладкой трубы 17 не менее чем на 0,2 мм, внешний диаметр гибкой трубы 17 равен от 0,4 до 0,95 диаметра (D2) проходного канала 20 блокирующей вставки 19, а гибкая гладкая труба 17 выполнена из композитного материала, армированного токопроводящей проволокой, что позволяет использовать ее для электрической связи автономного каротажного комплекса 18 с каротажной лабораторией на поверхности.
Гибкая труба 17 со стороны ее нижнего конца может быть выполнена с отверстиями 23 в ее стенке. В транспортном положении гибкая гладкая труба может быть намотана на барабан лебедки, расположенной на шасси транспортного средства, например автомобиля (не показано на чертеже).
Работа эжекторного многофункционального пластоиспытателя для испытания и освоения горизонтальных скважин скважинной струйной установки заключается в том, что проводят сборку колонны труб 1 в следующей последовательности: устанавливают сверху вниз на колонне труб 1 струйный насос 2, узел 3 для разъединения и соединения колонны труб 1, клапанный узел 4 с посадочным местом 5 для установки клапанной вставки с обратным клапаном 6, пакер 7 и хвостовик 8 с входной воронкой 9. При спуске пакер 7 устанавливают выше кровли продуктивного пласта 24. После этого проводят распакеровку пакера 7 и производят спуск в скважину на гибкой трубе 17 автономного каротажного комплекса 18 с подвижно размещенным над ним на гибкой трубе 17 герметизирующим узлом 16, который устанавливают на посадочное место в проходном канале 15 струйного насоса 2, причем автономный каротажный комплекс 18 располагают в зоне продуктивного пласта 24. В ходе спуска регистрируют автономным каротажным комплексом 18 фоновые значения физических полей горных пород, например теплового поля, вдоль ствола скважины. Далее струйным насосом 2 путем подачи в активное сопло 5 жидкой рабочей среды создают депрессию на продуктивный пласт 18, дренируя его таким образом, и при работающем струйном насосе 2 проводят регистрацию текущих значений физических полей горных пород и поступающего в скважину пластового флюида, причем в ходе регистрации посредством гибкой трубы 17 проводят перемещение автономного каротажного комплекса 18 вдоль ствола скважины, включая и продуктивный пласт 24. Потом извлекают из скважины автономный каротажный комплекс 18 вместе с гибкой трубой 17 и герметизирующим узлом 16 и устанавливают в проходном канале 15 струйного насоса 2 вставку 21 для регистрации кривых восстановления пластового давления в подпакерном пространстве с автономным манометром 22 и путем подачи жидкой рабочей среды в активное сопло 11 струйного насоса 2 проводят дренирование пласта с поэтапным созданием не менее трех последовательно возрастающих по величине значений депрессии на продуктивный пласт 24, регистрируя при каждом из них забойное давление, дебит скважины, состав и физические параметры поступающего из пласта 24 флюида. Далее проводят гидродинамическое циклическое воздействие на пласт 24 для очистки его прискважинной зоны от кольматирующих частиц путем создания не менее пяти циклов депрессия + репрессия, причем депрессию создают путем подачи активной среды в сопло 11 струйного насоса 2, а репрессию при остановке струйного насоса 2 и путем открытия после этого в вставке 21 для регистрации кривых восстановления пластового давления перепускного клапана 25, а затем проводят повторно откачку добываемой из скважины среды с поэтапным созданием не менее трех, последовательно возрастающих по величине значений депрессии на пласт 24, регистрируя при каждом из них забойное давление, дебит скважины, состав и физические параметры поступающего из пласта флюида, а после достижения последнего наибольшего значения депрессии резко прекращают подачу жидкой среды в сопло 11 струйного насоса 2 и проводят регистрацию кривой восстановления пластового давления в подпакерном пространстве скважины, причем описанный выше цикл гидродинамического испытания повторяют до тех пор, пока производительность скважины после последнего цикла гидродинамического испытания не достигнет проектных значений. Далее извлекают вставку 21 для регистрации кривых восстановления пластового давления в подпакерном пространстве вместе с автономным манометром 22 и сбрасывают в скважину блокирующую вставку 19 с перепускным каналом 20, которую сажают на посадочное место в проходном канале 15 струйного насоса 2 и, таким образом, разобщают внутреннюю полость колонны труб 1 и пространство, окружающее колонну труб 1. Потом проводят закачку в продуктивный пласт 24 химических реагентов или жидкости гидроразрыва с пропантом, извлекают блокирующую вставку 19 и сбрасывают в колонну труб 1 клапанную вставку с обратным клапаном 6, которую сажают на посадочное место в клапанном узле 4, а потом сбрасывают в колонну труб 1 вставку 21 для регистрации кривых восстановления пластового давления в подпакерном пространстве скважины с автономным манометром 22 и путем подачи под напором жидкой среды в активное сопло 11 струйного насоса 2 проводят откачку из продуктивного пласта 24 продуктов реакции химреагентов или жидкости гидроразрыва с остатками пропанта, затем проводят путем подачи жидкой среды в активное сопло 11 струйного насоса 2 дренирование пласта 24 с поэтапным созданием не менее трех последовательно возрастающих по величине значений депрессии на пласт 24, регистрируя при каждом из них забойное давление, дебит скважины, состав и физические параметры поступающего из пласта флюида, а после достижения последнего наибольшего значения депрессии резко прекращают подачу жидкой среды в сопло 11 струйного насоса 2 и проводят регистрацию кривой восстановления пластового давления в подпакерном пространстве скважины, далее извлекают вставку 21 для регистрации кривых восстановления пластового давления в подпакерном пространстве скважины вместе с автономным манометром 22 и поднимают струйный насос 2 с частью колонны труб 1 выше узла 3 для разъединения и соединения колонны труб 1, оставляя в скважине хвостовик 9 с пакером 7 и клапанный узел с обратным клапаном 6, предотвращая таким образом попадание в пласт 24 рабочего агента. Затем спускают в скважину на колонне труб 1 насос для добычи из нее жидкой среды (не показано на чертеже) и соединяют колонну труб 1 в узле 3 для разъединения и соединения колонны труб, после чего запускают скважину в работу.
После посадки блокирующей вставки 19 через последнюю может быть проведен спуск в скважину в зону продуктивного пласта 24 гибкой трубы 17 и по последней проведена закачка в пласт 24 химических реагентов или жидкости гидроразрыва с пропантом, а также промывка забоя скважины от песчаных пробок.
Настоящее изобретение может найти применение в нефтедобывающей промышленности при испытании и освоении горизонтальных и криволинейных скважин, а также в других отраслях промышленности, где производится добыча различных сред из скважин.
Формула изобретения
1. Эжекторный многофункциональный пластоиспытатель для испытания и освоения горизонтальных скважин, содержащий смонтированные сверху вниз на колонне труб струйный насос, узел для разъединения и соединения колонны труб, клапанный узел с посадочным местом для установки клапанной вставки с обратным клапаном, пакер и хвостовик с входной воронкой, причем в корпусе струйного насоса соосно установлены активное сопло и камера смешения, а также выполнены канал подвода активной среды, канал подвода откачиваемой из скважины среды и ступенчатый проходной канал с посадочным местом между ступенями, при этом в ступенчатом проходном канале предусмотрена возможность поочередной установки герметизирующего узла и блокирующей вставки со сквозным каналом, которые размещены на гибкой гладкой трубе выше наконечника для подсоединения автономного каротажного комплекса, а также вставки для регистрации кривых восстановления пластового давления в подпакерном пространстве скважины, под которой установлены автономные приборы для регистрации давления, температуры и других физических параметров скважины и пластовых флюидов, во вставке выполнены перепускные каналы и установлен перепускной клапан для выравнивания давления под и над вставкой, выход струйного насоса подключен к внутренней полости колонны труб выше герметизирующего узла, активное сопло струйного насоса через канал подвода активной среды подключено к затрубному пространству колонны труб, канал для подвода откачиваемой из скважины среды подключен к внутренней полости колонны труб ниже герметизирующего узла, диаметр осевого канала герметизирующего узла больше внешнего диаметра гибкой трубы не менее чем на 0,2 мм, внешний диаметр гибкой трубы равен от 0,4 до 0,95 диаметра проходного канала блокирующей вставки, а гибкая гладкая труба выполнена из композитного материала, армированного токопроводящей проволокой с возможностью использования ее для электрической связи автономного каротажного комплекса с каротажной лабораторией на поверхности.
2. Пластоиспытатель по п.1, отличающийся тем, что в транспортном положении гибкая гладкая труба намотана на барабан лебедки, расположенной на шасси транспортного средства, например автомобиля.
3. Пластоиспытатель по п.1, отличающийся тем, что гибкая гладкая труба со стороны ее нижнего конца выполнена с отверстиями в ее стенке.
РИСУНКИ
|
|