|
|
(21), (22) Заявка: 2004112072/06, 21.04.2004
(24) Дата начала отсчета срока действия патента:
21.04.2004
(45) Опубликовано: 10.07.2005
(56) Список документов, цитированных в отчете о поиске:
RU 2121610 С1, 10.11.1998. SU 1146416 A, 23.03.1985. RU 2059891 C1, 10.05.1996. US 4744730 A, 17.05.1988. US 4293283 A, 06.10.1981.
Адрес для переписки:
77400, Ивано-Франковская обл., г. Тисменица, ул. Вильшанецкая, 33, З.Д. Хоминец
|
(72) Автор(ы):
Хоминец Зиновий Дмитриевич (UA)
(73) Патентообладатель(и):
Хоминец Зиновий Дмитриевич (UA)
|
(54) СПОСОБ РАБОТЫ ЭЖЕКТОРНОГО МНОГОФУНКЦИОНАЛЬНОГО ПЛАСТОИСПЫТАТЕЛЯ ПРИ ИСПЫТАНИИ И ОСВОЕНИИ ГОРИЗОНТАЛЬНЫХ СКВАЖИН
(57) Реферат:
Изобретение относится к области насосной техники. Способ включает установку на колонне труб струйного насоса с проходным каналом, пакера и хвостовика с входной воронкой, спуск этой сборки в скважину, распакеровку пакера и создание необходимой депрессии в подпакерной зоне путем откачки струйным насосом жидкой среды из подпакерной зоны. Дополнительно в сборку включают узел для разъединения и соединения колонны труб и клапанный узел с посадочным местом для установки обратного клапана и проводят сборку колонны труб в определенной последовательности. А далее осуществляют исследование, испытание и подготовку скважины к работе. После этого запускают скважину в работу. В результате достигается интенсификация работ по исследованию, испытанию и подготовке скважин, в первую очередь скважин горизонтальных и большой кривизны и повышение надежности работы пластоиспытателя. 1 з.п.ф-лы, 3 ил.

Изобретение относится к области насосной техники, преимущественно к скважинным струйным установкам для добычи нефти из скважин.
Известен способ работы скважинной струйной установки, включающий спуск в скважину колонны насосно-компрессорных труб со струйным насосом и пакером с последующей прокачкой жидкой рабочей среды через струйный насос (см. авторское свидетельство SU 1146416, Е 21 В 43/116, 23.03.1985).
Данный способ работы скважинной струйной установки позволяет проводить перфорацию скважины и за счет этого интенсифицировать откачку из скважины различных добываемых сред, например нефти, однако данный способ работы не позволяет проводить исследование прискважинной зоны пластов, что в ряде случаев приводит к снижению эффективности работ по интенсификации работы скважины из-за отсутствия информации о том, как работают продуктивные пласты. Таким образом, эффективность проводимой работы по дренированию скважины не дает ожидаемых результатов.
Наиболее близким к изобретению по технической сущности и достигаемому результату является способ работы скважинной струйной установки, включающий установку на колонне насосно-компрессорных труб струйного насоса с проходным каналом и пакера, спуск этой сборки в скважину, распакеровку пакера и создание необходимой депрессии в подпакерной зоне путем откачки струйным насосом жидкой среды из подпакерной зоны (см. патент RU, 2121610, F 04 F 5/02, 10.11.1998).
Данный способ работы позволяет проводить различные технологические операции в скважине ниже уровня установки струйного насоса, в том числе путем снижения перепада давлений над и под герметизирующим узлом. Однако данная установка не позволяет в полной мере использовать ее возможности, поскольку она позволяет проводить исследование продуктивных пород только в стволах, близких к вертикальным, что сужает область использования данных способа работы и скважинной струйной установки для его реализации. Кроме того, ограничен объем работ, который можно было бы провести в скважине без подъема установки на поверхность, что удлиняет сроки проведения работ по испытанию и освоению скважин.
Задачей, на решение которой направлено настоящее изобретение, является интенсификация работ по исследованию, испытанию и подготовке скважин, в первую очередь скважин горизонтальных и большой кривизны, оптимизация работы струйного насоса при его использовании совместно с автономным каротажным комплексом и другими функциональными вставками для исследования продуктивного пласта и за счет этого повышение надежности и производительности работы эжекторного многофункционального пластоиспытателя.
Указанная задача решается за счет того, что способ работы эжекторного многофункционального пластоиспытателя при испытании и освоении горизонтальных скважин включает установку на колонне труб струйного насоса с проходным каналом, пакера и хвостовика с входной воронкой, спуск этой сборки в скважину, распакеровку пакера и создание необходимой депрессии в подпакерной зоне путем откачки струйным насосом жидкой среды из подпакерной зоны, отличающийся тем, что дополнительно в сборку включают узел для разъединения и соединения колонны труб и клапанный узел с посадочным местом для установки обратного клапана и проводят сборку колонны труб в следующей последовательности, а именно: устанавливают сверху вниз на колонне труб струйный насос, узел для разъединения и соединения колонны труб, клапанный узел с посадочным местом для установки обратного клапана, пакер и хвостовик с входной воронкой, при спуске пакер устанавливают выше кровли продуктивного пласта, после этого проводят распакеровку пакера и производят спуск в скважину на гибкой трубе автономного каротажного комплекса с подвижно размещенным над ним на гибкой трубе герметизирующим узлом, который устанавливают на посадочное место в проходном канале струйного насоса, причем автономный каротажный комплекс располагают в зоне продуктивного пласта, в ходе спуска регистрируют автономным каротажным комплексом фоновые значения физических полей горных пород, например теплового поля, вдоль ствола скважины, далее струйным насосом, путем создания депрессии на пласт, его дренируют и при работающем струйном насосе проводят регистрацию текущих значений физических полей горных пород и поступающего в скважину пластового флюида или проводят воздействие на пласт физическими полями, например акустическими, причем в ходе регистрации посредством гибкой трубы проводят перемещение автономного каротажного комплекса вдоль ствола скважины, включая и продуктивный пласт, потом извлекают из скважины автономный каротажный комплекс вместе с гибкой трубой и герметизирующим узлом и устанавливают в проходном канале струйного насоса вставку для регистрации кривых восстановления пластового давления в подпакерном пространстве с автономным манометром и путем подачи жидкой рабочей среды в активное сопло струйного насоса проводят дренирование пласта с поэтапным созданием не менее трех последовательно возрастающих по величине значений депрессии на пласт, регистрируя при каждом из них забойное давление, дебит скважины, состав и физические параметры поступающего из пласта флюида, далее проводят гидродинамическое циклическое воздействие на пласт для очистки его прискважинной зоны от кольматирующих частиц путем создания не менее пяти циклов депрессия + репрессия, причем депрессию создают путем подачи активной среды в сопло струйного насоса, а репрессию при остановке струйного насоса и путем открытия после этого в вставке для регистрации кривых восстановления пластового давления перепускного клапана, а затем проводят повторно откачку добываемой из скважины среды с поэтапным созданием не менее трех последовательно возрастающих по величине значений депрессии на пласт, регистрируя при каждом из них забойное давление, дебит скважины, состав и физические параметры поступающего из пласта флюида, а после достижения последнего наибольшего значения депрессии резко прекращают подачу жидкой среды в сопло струйного насоса и проводят регистрацию кривой восстановления пластового давления в подпакерном пространстве скважины, причем описанный выше цикл гидродинамического испытания повторяют до тех пор, пока производительность скважины после последнего цикла гидродинамического испытания не достигнет проектных значений, далее извлекают вставку для регистрации кривых восстановления пластового давления в подпакерном пространстве вместе с автономным манометром и сбрасывают в скважину блокирующую вставку с перепускным каналом, которую сажают на посадочное место в проходном канале струйного насоса и, таким образом, разобщают внутреннюю полость колонны труб и пространство, окружающее колонну труб, потом проводят закачку в продуктивный пласт химических реагентов или жидкости гидроразрыва с пропантом, извлекают блокирующую вставку и сбрасывают в колонну труб клапанную вставку с обратным клапаном, которую сажают на посадочное место в клапанном узле, а потом сбрасывают в колонну труб вставку для регистрации кривых восстановления пластового давления в подпакерном пространстве скважины с автономным манометром и путем подачи под напором жидкой среды в активное сопло струйного насоса проводят откачку из продуктивного пласта продуктов реакции химреагентов или жидкости гидроразрыва с остатками пропанта, затем проводят, путем подачи жидкой среды в активное сопло струйного насоса, дренирование пласта с поэтапным созданием не менее трех последовательно возрастающих по величине значений депрессии на пласт, регистрируя при каждом их них забойное давление, дебит скважины, состав и физические параметры поступающего из пласта флюида, а после достижения последнего наибольшего значения депрессии резко прекращают подачу жидкой среды в сопло струйного насоса и проводят регистрацию кривой восстановления пластового давления в подпакерном пространстве скважины, далее извлекают вставку для регистрации кривых восстановления пластового давления в подпакерном пространстве скважины вместе с автономным манометром и поднимают струйный насос с частью колонны труб выше узла для разъединения и соединения колонны труб, оставляя в скважине хвостовик с пакером и клапанный узел с обратным клапаном, предотвращая таким образом попадание в пласт рабочего агента, а затем спускают в скважину на колонне труб насос для добычи из нее жидкой среды и соединяют колонну труб в узле для разъединения и соединения колонны труб, после чего запускают скважину в работу.
Кроме того, после посадки блокирующей вставки через последнюю может быть проведен спуск в скважину в зону продуктивного пласта гибкой трубы и по последней может быть проведена закачка в пласт химических реагентов или жидкости гидроразрыва с пропантом, а также промывка забоя скважины от песчаных пробок.
Анализ работы эжекторного пластоиспытателя показал, что надежность работы установки можно повысить, как путем оптимизации последовательности действий при испытании и освоении скважин, в первую очередь с открытым и/или криволинейным стволом, так и путем увеличения функциональных возможностей установки.
Было выявлено, что указанная выше последовательность действий позволяет наиболее эффективно использовать оборудование, которое установлено на колонне труб, при проведении работ по исследованию, испытанию и освоению продуктивных пластов горных пород, при этом созданы условия как для получения полной и достоверной информации о состоянии продуктивных пластов, так и для проведения обработки продуктивных пластов в ходе проведения исследования. Путем создания ряда различных депрессий струйный насос создает в подпакерной зоне скважины заданные величины перепада давления, а с помощью автономного каротажного комплекса и вставки для регистрации кривых восстановления пластового давления проводится исследование и испытание скважины. Одновременно предоставляется возможность контролировать величину депрессии путем управления скоростью прокачки жидкой рабочей среды. При проведении испытания пластов можно регулировать режим откачки посредством изменения давления жидкой рабочей среды, подаваемой в сопло струйного насоса.
Установка каротажного комплекса на гибкой трубе, которая пропущена через герметизирующий узел с возможностью осевого перемещения, позволяет провести более качественную работу по исследованию скважины промыслово-геофизическими методами, а также позволяет без переустановки скважинной струйной установки произвести обработку скважины для увеличения ее производительности, что также позволяет ускорить и упростить процесс испытания и подготовки скважины к работе. Таким образом, данный способ работы позволяет проводить качественное исследование и испытание скважин после бурения, а также подготовки скважины к эксплуатации с проведением всестороннего исследования и испытания в различных режимах.
Таким образом, указанная выше совокупность взаимозависимых параметров и последовательности действий обеспечивают достижение выполнения поставленной в изобретении задачи – интенсификации работ по исследованию и испытанию скважин с горизонтальным, в том числе открытым стволом, а также оптимизации работы струйного насоса при его работе совместно с каротажным комплексом и функциональными вставками и за счет этого повышения надежности работы эжекторного пластоиспытателя.
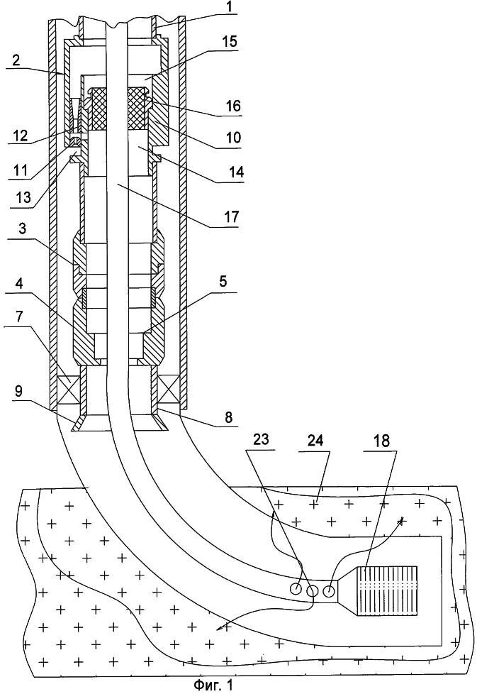
На фиг.1 представлен продольный разрез установки с герметизирующим узлом. На фиг.2 представлен продольный разрез установки с вставкой для регистрации кривой восстановления пластового давления. На фиг.3 представлен продольный разрез установки с блокирующей вставкой.
Скважинная струйная установка содержит смонтированные сверху вниз на колонне труб 1 струйный насос 2, узел 3 для разъединения и соединения колонны труб 1, клапанный узел 4 с посадочным местом 5 для установки клапанной вставки с обратным клапаном 6, пакер 7 и хвостовик 8 с входной воронкой 9. В корпусе 10 струйного насоса 2 соосно установлены активное сопло 11 и камера смешения 12, а также выполнены канал подвода активной среды 13, канал 14 подвода откачиваемой из скважины среды и ступенчатый проходной канал 15 с посадочным местом между ступенями, при этом в ступенчатом проходном канале 15 предусмотрена возможность установки герметизирующего узла 16, который подвижно размещен на гибкой трубе 17 выше наконечника для подсоединения автономного каротажного комплекса 18, функциональных вставок: блокирующей 19 со сквозным перепускным каналом 20 и вставки 21 для регистрации кривых восстановления пластового давления в подпакерном пространстве скважины вместе с автономным манометром 22 и перепускным клапаном 25, выход струйного насоса 2 подключен к внутренней полости колонны труб 1 выше герметизирующего узла 16, активное сопло 11 струйного насоса 2 через канал 13 подвода активной среды подключено к затрубному пространству скважины (колонны труб 1), и канал 14 для подвода откачиваемой из скважины среды подключен к внутренней полости колонны труб 1 ниже герметизирующего узла 16.
Гибкая труба 17 со стороны ее нижнего конца может быть выполнена с отверстиями 23 в ее стенке.
Работа скважинной струйной установки заключается в том, что проводят сборку колонны труб 1 в следующей последовательности: устанавливают сверху вниз на колонне труб 1 струйный насос 2, узел 3 для разъединения и соединения колонны труб 1, клапанный узел 4 с посадочным местом 5 для установки клапанной вставки с обратным клапаном 6, пакер 7 и хвостовик 8 с входной воронкой 9. При спуске пакер 7 устанавливают выше кровли продуктивного пласта 24. После этого проводят распакеровку пакера 7 и производят спуск в скважину на гибкой трубе 17 автономного каротажного комплекса 18 с подвижно размещенным над ним на гибкой трубе 17 герметизирующим узлом 16, который устанавливают на посадочное место в проходном канале 15 струйного насоса 2, причем автономный каротажный комплекс 18 располагают в зоне продуктивного пласта 24. В ходе спуска регистрируют автономным каротажным комплексом 18 фоновые значения физических полей горных пород, например теплового поля, вдоль ствола скважины. Далее струйным насосом 2, путем подачи в активное сопло 5 жидкой рабочей среды создают депрессию на продуктивный пласт 18, дренируя его таким образом, и при работающем струйном насосе 2 проводят регистрацию текущих значений физических полей горных пород и поступающего в скважину пластового флюида, причем в ходе регистрации посредством гибкой трубы 17 проводят перемещение автономного каротажного комплекса 18 вдоль ствола скважины, включая и продуктивный пласт 24. Потом извлекают из скважины автономный каротажный комплекс 18 вместе с гибкой трубой 17 и герметизирующим узлом 16 и устанавливают в проходном канале 15 струйного насоса 2 вставку 21 для регистрации кривых восстановления пластового давления в подпакерном пространстве с автономным манометром 22 и путем подачи жидкой рабочей среды в активное сопло 11 струйного насоса 2 проводят дренирование пласта с поэтапным созданием не менее трех последовательно возрастающих по величине значений депрессии на продуктивный пласт 24, регистрируя при каждом из них забойное давление, дебит скважины, состав и физические параметры поступающего из пласта 24 флюида. Далее проводят гидродинамическое циклическое воздействие на пласт 24 для очистки его прискважинной зоны от кольматирующих частиц путем создания не менее пяти циклов депрессия + репрессия, причем депрессию создают путем подачи активной среды в сопло 11 струйного насоса 2, а репрессию при остановке струйного насоса 2 и путем открытия после этого в вставке 21 для регистрации кривых восстановления пластового давления перепускного клапана 25, а затем проводят повторно откачку добываемой из скважины среды с поэтапным созданием не менее трех последовательно возрастающих по величине значений депрессии на пласт 24, регистрируя при каждом из них забойное давление, дебит скважины, состав и физические параметры поступающего из пласта флюида, а после достижения последнего наибольшего значения депрессии резко прекращают подачу жидкой среды в сопло 11 струйного насоса 2 и проводят регистрацию кривой восстановления пластового давления в подпакерном пространстве скважины, причем описанный выше цикл гидродинамического испытания повторяют до тех пор, пока производительность скважины после последнего цикла гидродинамического испытания не достигнет проектных значений. Далее извлекают вставку 21 для регистрации кривых восстановления пластового давления в подпакерном пространстве вместе с автономным манометром 22 и сбрасывают в скважину блокирующую вставку 19 с перепускным каналом 20, которую сажают на посадочное место в проходном канале 15 струйного насоса 2, и, таким образом, разобщают внутреннюю полость колонны труб 1 и пространство, окружающее колонну труб 1. Потом проводят закачку в продуктивный пласт 24 химических реагентов или жидкости гидроразрыва с пропантом, извлекают блокирующую вставку 19 и сбрасывают в колонну труб 1 клапанную вставку с обратным клапаном 6, которую сажают на посадочное место в клапанном узле 4, а потом сбрасывают в колонну труб 1 вставку 21 для регистрации кривых восстановления пластового давления в подпакерном пространстве скважины с автономным манометром 22 и путем подачи под напором жидкой среды в активное сопло 11 струйного насоса 2 проводят откачку из продуктивного пласта 24 продуктов реакции химреагентов или жидкости гидроразрыва с остатками пропанта, затем проводят, путем подачи жидкой среды в активное сопло 11 струйного насоса 2, дренирование пласта 24 с поэтапным созданием не менее трех последовательно возрастающих по величине значений депрессии на пласт 24, регистрируя при каждом их них забойное давление, дебит скважины, состав и физические параметры поступающего из пласта флюида, а после достижения последнего наибольшего значения депрессии резко прекращают подачу жидкой среды в сопло 11 струйного насоса 2 и проводят регистрацию кривой восстановления пластового давления в подпакерном пространстве скважины, далее извлекают вставку 21 для регистрации кривых восстановления пластового давления в подпакерном пространстве скважины вместе с автономным манометром 22 и поднимают струйный насос 2 с частью колонны труб 1 выше узла 3 для разъединения и соединения колонны труб 1, оставляя в скважине хвостовик 9 с пакером 7 и клапанный узел с обратным клапаном 6, предотвращая таким образом попадание в пласт 24 рабочего агента. Затем спускают в скважину на колонне труб 1 насос для добычи из нее жидкой среды (не показано на чертеже) и соединяют колонну труб 1 в узле 3 для разъединения и соединения колонны труб, после чего запускают скважину в работу.
После посадки блокирующей вставки 19 через последнюю может быть проведен спуск в скважину в зону продуктивного пласта 24 гибкой трубы 17 и по последней проводят закачку в пласт 24 химических реагентов или жидкости гидроразрыва с пропантом, а также промывку забоя скважины от песчаных пробок.
Настоящее изобретение может найти применение в нефтедобывающей промышленности при испытании и освоении горизонтальных и криволинейных скважин, а также в других отраслях промышленности, где производится добыча различных сред из скважин.
Формула изобретения
1. Способ работы эжекторного многофункционального пластоиспытателя при испытании и освоении горизонтальных скважин, включающий установку на колонне труб струйного насоса с проходным каналом, пакера и хвостовика с входной воронкой, спуск этой сборки в скважину, распакеровку пакера и создание необходимой депрессии в подпакерной зоне путем откачки струйным насосом жидкой среды из подпакерной зоны, отличающийся тем, что дополнительно в сборку включают узел для разъединения и соединения колонны труб и клапанный узел с посадочным местом для установки клапанной вставки с обратным клапаном и проводят сборку колонны труб в следующей последовательности, а именно: устанавливают сверху вниз на колонне труб струйный насос, узел для разъединения и соединения колонны труб, клапанный узел с посадочным местом для установки обратного клапана, пакер и хвостовик с входной воронкой, при спуске пакер устанавливают выше кровли продуктивного пласта, после этого проводят распакеровку пакера и производят спуск в скважину на гибкой трубе автономного каротажного комплекса с подвижно размещенным над ним на гибкой трубе герметизирующим узлом, который устанавливают на посадочное место в проходном канале струйного насоса, причем автономный каротажный комплекс располагают в зоне продуктивного пласта, в ходе спуска регистрируют автономным каротажным комплексом фоновые значения физических полей горных пород, например теплового поля, вдоль ствола скважины, далее струйным насосом путем создания депрессии на пласт его дренируют и при работающем струйном насосе проводят регистрацию текущих значений физических полей горных пород и поступающего в скважину пластового флюида или проводят воздействие на пласт физическими полями, например акустическими, причем в ходе регистрации посредством гибкой трубы проводят перемещение автономного каротажного комплекса вдоль ствола скважины, включая и продуктивный пласт, потом извлекают из скважины автономный каротажный комплекс вместе с гибкой трубой и герметизирующим узлом и устанавливают в проходном канале струйного насоса вставку для регистрации кривых восстановления пластового давления в подпакерном пространстве с автономным манометром и путем подачи жидкой рабочей среды в активное сопло струйного насоса проводят дренирование пласта с поэтапным созданием не менее трех последовательно возрастающих по величине значений депрессии на пласт, регистрируя при каждом из них забойное давление, дебит скважины, состав и физические параметры поступающего из пласта флюида, далее проводят гидродинамическое циклическое воздействие на пласт для очистки его прискважинной зоны от кольматирующих частиц путем создания не менее пяти циклов депрессия+репрессия, причем депрессию создают путем подачи активной среды в сопло струйного насоса, а репрессию – при остановке струйного насоса и путем открытия после этого в вставке для регистрации кривых восстановления пластового давления перепускного клапана, а затем проводят повторно откачку добываемой из скважины среды с поэтапным созданием не менее трех последовательно возрастающих по величине значений депрессии на пласт, регистрируя при каждом из них забойное давление, дебит скважины, состав и физические параметры поступающего из пласта флюида, а после достижения последним наибольшего значения депрессии резко прекращают подачу жидкой среды в сопло струйного насоса и проводят регистрацию кривой восстановления пластового давления в подпакерном пространстве скважины, причем описанный выше цикл гидродинамического испытания повторяют до тех пор, пока производительность скважины после последнего цикла гидродинамического испытания не достигнет проектных значений, далее извлекают вставку для регистрации кривых восстановления пластового давления в подпакерном пространстве вместе с автономным манометром и сбрасывают в скважину блокирующую вставку с перепускным каналом, которую сажают на посадочное место в проходном канале струйного насоса и, таким образом, разобщают внутреннюю полость колонны труб и пространство, окружающее колонну труб, потом проводят закачку в продуктивный пласт химических реагентов или жидкости гидроразрыва с пропантом, извлекают блокирующую вставку и сбрасывают в колонну труб клапанную вставку с обратным клапаном, которую сажают на посадочное место в клапанном узле, а потом сбрасывают в колонну труб вставку для регистрации кривых восстановления пластового давления в подпакерном пространстве скважины с автономным манометром и путем подачи под напором жидкой среды в активное сопло струйного насоса проводят откачку из продуктивного пласта продуктов реакции химреагентов или жидкости гидроразрыва с остатками пропанта, затем проводят путем подачи жидкой среды в активное сопло струйного насоса дренирование пласта с поэтапным созданием не менее трех последовательно возрастающих по величине значений депрессии на пласт, регистрируя при каждом их них забойное давление, дебит скважины, состав и физические параметры поступающего из пласта флюида, а после достижения последним наибольшего значения депрессии резко прекращают подачу жидкой среды в сопло струйного насоса и проводят регистрацию кривой восстановления пластового давления в подпакерном пространстве скважины, далее извлекают вставку для регистрации кривых восстановления пластового давления в подпакерном пространстве скважины вместе с автономным манометром и поднимают струйный насос с частью колонны труб выше узла для разъединения и соединения колонны труб, оставляя в скважине хвостовик с пакером и клапанный узел с обратным клапаном, предотвращая таким образом попадание в пласт рабочего агента, а затем спускают в скважину на колонне труб насос для добычи из нее жидкой среды и соединяют колонну труб в узле для разъединения и соединения колонны труб, после чего запускают скважину в работу.
2. Способ по п.1, отличающийся тем, что после посадки блокирующей вставки через последнюю проводят спуск в скважину в зону продуктивного пласта гибкой трубы и по последней проводят закачку в пласт химических реагентов или жидкости гидроразрыва с пропантом, а также промывку забоя скважины от песчаных пробок.
РИСУНКИ
|
|