|
|
(21), (22) Заявка: 2003127966/06, 16.09.2003
(24) Дата начала отсчета срока действия патента:
16.09.2003
(43) Дата публикации заявки: 20.03.2005
(45) Опубликовано: 10.07.2005
(56) Список документов, цитированных в отчете о поиске:
RU 2187691 C1, 20.08.2002. RU 2189492 С2, 20.09.2002. SU 1828941 A1, 23.07.1993. RU 2131994 C1, 20.06.1999. US 4151424 А, 24.04.1979. DE 4336894 A1, 04.05.1995. FR 2395406 A1, 19.01.1979. US 4849647 А, 18.07.1989.
Адрес для переписки:
423450, Республика Татарстан, г. Альметьевск, ул. Ленина, 28, ОАО “Иделойл”, Ш.К. Шаяхметову
|
(72) Автор(ы):
Хузин Р.Р. (RU), Закиев Г.З. (RU), Шаяхметов Ш.К. (RU), Шаяхметов А.Ш. (RU)
(73) Патентообладатель(и):
Открытое Акционерное общество “Иделойл” (RU)
|
(54) ГИДРОАГРЕГАТ ДЛЯ ПРЕОБРАЗОВАНИЯ КИНЕТИЧЕСКОЙ ЭНЕРГИИ ПОТОКА ВОДЫ В ЭЛЕКТРИЧЕСКУЮ
(57) Реферат:
Устройство предназначено для преобразования кинетической энергии воды малых и средних рек в электроэнергию. Гидроагрегат содержит установленную на раму гидротурбину (Г) с подшипниками на ее валу (В), кинематически связанный с Г генератор, формирователь потока и защитное устройство от плавучих предметов, выполненное в виде пластин. Гидроагрегат также снабжен соединенными между собой коническими шестернями, промежуточными вертикально и горизонтально установленными В с подшипниками, вертикальный из которых размещен в колодце, сооруженном вблизи берега и сообщающимся с рекой с помощью канала, выполненного под уровнем максимально возможной толщины покрова льда, причем в канале размещена часть горизонтального В, соединенного с Г. При этом верхний конец вертикального В связан с генератором через наземный горизонтальный В и повышающий редуктор. Формирователь потока выполнен в виде створок, установленных на В с возможностью поворота для направления потока реки в ее центральную часть, между которыми установлена поворотная заслонка с возможностью контактирования с одной из створок для направления потока воды в правую или левую сторону Г. Конструкция гидроагрегата позволяет обеспечить надежную работу при круглогодичной эксплуатации. 2 з.п. ф-лы, 2 ил.

Изобретение относится к гидроэнергетике и может быть использовано для преобразования кинетической энергии воды малых и средних рек в электроэнергию без строительства плотин.
Известен гидрогенератор Закиева (А.С. СССР №1828941, F 03 В 17/06 опубл. в Б.И. №27, 1993 г.), содержащий корпус с входными и выходными отверстиями, установленное в корпусе лопастное колесо и электрогенератор с имеющим обмотку статором и ротором, связанным с колесом. Ротор электрогенератора выполнен в виде кругового горизонтального мостика с жестко закрепленными под ним на стержнях электромагнитами для взаимодействия со статорами. При этом водяное колесо с лопастями гидрогенератора выполнено в виде конической консоли, вершина которой установлена на опорном подшипнике, а основание прикреплено к мостику.
Недостатком описанного гидрогенератора является то, что его сооружение требует больших капитальных вложений, кроме того, он сложный по конструкции, а эксплуатация его в основном рассчитана в незамерзающих реках.
Известно также устройство для использования энергии речного потока (Патент РФ №2189492, F 03 В 7/00, 13/00, 17/06, опубл. 20.09.2002 г.), содержащее корпус с гидроагрегатом, турбина которого выполнена с вертикальным валом и лопастями, сориентированными в вертикальной плоскости с возможностью выступания за тело корпуса, и электрогенератор. Корпус выполнен в виде протяженной вдоль реки плотины с поперечными проемами, в которых установлены гидроагрегаты. Вертикальные валы последних смещены относительно продольной оси плотины с возможностью контакта поверхности рабочих лопастей с потоком воды при их вращении в попутном направлении вращения, а вал соединен с электрогенератором посредством повышающего редуктора.
Не умаляя достоинства известного устройства отметим, что оно обладает малой эффективностью, поскольку оно использует только часть энергии потока воды. Объясняется это тем, что сооруженная плотина с устройством находится в середине реки, где поток воды раздваивается на две части и в результате только одна часть потока идет на вращение вала с лопатками и, следовательно, на выработку электроэнергии. Кроме того, сооружение самой плотины требует больших материальных затрат и в нем не предусмотрена защита лопастей от попадания случайных предметов идущих с потоком воды.
Известен также русловой гидроагрегат (Патент РФ №2187691, F 03 В 7/00, 13/00, 13/10, опубл. 20.08.2002 г.), содержащий поперечную или роторную гидротурбину с подшипниками на ее валах, установленную на закрепленную к береговым или донным опорам раму, опирающуюся на полозья, и генератор, кинематически связанный с гидротурбиной. Этот гидроагрегат снабжен системой запуска в поток воды и регулировкой положения гидротурбины относительно ядра потока воды, формирователем потока, содержащим донную пластину, установленную под острым углом к набегающему потоку.
Указанное устройство по технической сущности более близко к предлагаемому и может быть принято в качестве прототипа.
Недостатком описанного гидрогенератора является то, что он сложный по конструктивному исполнению и не технологичен в изготовлении. Требует больших материальных затрат, труда и времени на изготовление. Кроме того, он не надежен в работе, поскольку при круглогодичной эксплуатации, имеющиеся в конструкции гидрогенератора карданные передачи, а также герметизирующие узлы подвергаются сильному износу.
Задачей настоящего изобретения является устранение перечисленных недостатков прототипа.
Поставленная задача решается описываемым гидроагрегатом, включающим установленную на раму гидротурбину с подшипниками на ее валу, кинематически связанный с гидротурбиной генератор, формирователь потока и защитное устройство от плавучих предметов, выполненных в виде ребер-пластин.
Новым является то, что он снабжен соединенными между собой коническими шестернями промежуточными вертикально и горизонтально установленными валами с подшипниками, вертикальный из которых размещен в колодце, сооруженном вблизи берега и сообщенным с рекой с помощью канала, выполненного под уровнем максимально возможной толщины покрова льда, образуемого в зимнее время года, в котором размещена часть горизонтального вала, соединенного с валом гидротурбины, при этом верхний конец вертикального вала связан с генератором через наземный горизонтальный вал и повышающий редуктор, при этом формирователь потока выполнен в виде створок, установленных на валах с возможностью поворота для направления потока реки в ее центральную часть, между которыми установлена поворотная заслонка с возможностью контактирования с одной из створок для направления потока воды в правую или левую сторону гидротурбины.
Новым является также и то, что вал гидротурбины выполнен разъемным и установлен вертикально, а валы створок и заслонки установлены вертикально под уровнем возможной толщины покрова льда с возможностью поворота с помощью червячной передачи.
Предварительные патентные исследования, проведенные авторами, показали, что технические решения аналогичного назначения с получением такого положительного эффекта, как у предложенного, не обнаружены. Следовательно, по мнению авторов, заявляемый гидроагрегат удовлетворяет критерию “новизна” и “изобретательский уровень”, а его практическая применимость приведена в полном его описании.
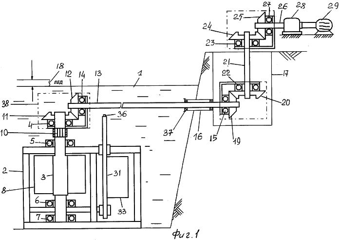
Прилагаемые к заявке чертежи поясняют суть изобретения, где на фиг.1 схематически изображен гидроагрегат в общем виде, в частичном разрезе.
На фиг.2 схематически изображена река с размещенной в ней основанием рамы с вмонтированной гидротурбиной, где видны ее вал с лопастями, видны также створки, заслонка и решетка, установленная поперек реки, для задержания случайно оказавшихся в реке крупных предметов, вид сверху, в частичном разрезе.
Гидроагрегат для преобразования кинетической энергии потока воды в электрическую содержит устанавливаемую в реке 1 сварную раму 2 (см. фиг.1) с гидротурбиной, представляющую собой вертикально установленный вал 3 с подшипниками 4, 5, 6 и 7, на котором с возможностью вращения установлены лопасти 8, сорентированные в вертикальной плоскости. Лопасти выполнены составными (см. фиг.2) и соединены они между собой шарнирно и снабжены ограничителями 9 поворота лопастей с возможностью перегиба при направлении их вращения навстречу потоку воды и выпрямления при попутном ему направлении вращения. Для удобства сборки вал 3 гидротурбины в верхней части выполнен разъемным, соединяемый своими частями шлицевым соединением 10. Верхний конец упомянутого вала оканчивается конической шестерней 11, для зацепления с конической шестерней 12 горизонтального вала 13, насаженного на подшипники 14 и 15 и пропущенного через канал 16 и соединяющий реку Г с колодцем 17, сооруженным вблизи берега. Канал 16 выполнен под нижний уровень максимально возможной толщины покрова льда 18, образуемого в зимнее время года.
Конец горизонтального вала 13, находящийся в колодце, снабжен также конической шестерней 19 для зацепления с конической шестерней 20 вертикального вала 21, размещенного в колодце 17 и насаженного на подшипники 22 и 23. Коническая шестерня 24 вала 21 в свою очередь соединена с конической шестерней 25 наземного горизонтального вала 26, насаженного на подшипник 27, который другим концом соединен с многоступенчатым повышающим редуктором 28, вал которого в свою очередь соединен с ротором генератора 29 трехфазного тока напряжением 400 вольт. Спереди от гидроагрегата, со стороны фронта течения реки 1, на раме 2 вмонтированы валы 30 и 31 створок 32 и 33 (см. фиг.2) соответственно, и вал 34 заслонки 35, установленные с возможностью поворота с помощью червячной передачи (червячная передача на фиг. не изображена) для направления течения реки к гидротурбине, а заслонка 36, путем поворота ее вала, имеет возможность направить поток воды в правую или левую сторону турбины. Лопасти, а также стойки рамы могут быть снабжены элементами жесткости. Нижние концы валов 30, 31 и 34 снабжены втулками, а верхние оканчиваются квадратом 36 для его поворота (см. фиг.1).
Гидроагрегат работает следующим образом.
Перед изготовлением гидроагрегата обследуют многоводные берега реки 1, выявляют наиболее узкие ее места, определяют ее глубину, напор воды, возможную толщину образуемого льда 18 в зимнее время года и т.д. и с учетом полученной информации производят проектные работы.
Далее, изготовленный гидроагрегат с учетом вышеприведенной информации в разобранном виде доставляют к месту его установки и его гидротурбину установленную на раму 2, погружают в реку автокраном и затем собирают остальные узлы, как это указано на фиг.1 и 2. Концевые участки канала 16 после размещения в нем горизонтального вала 13 герметизируют сальниковой набивкой 37, а наиболее ответственные узлы гидроагрегата закрывают кожухами 38 (на чертеже они обозначены штрихпунктирной линией). Далее створки 32 и 33 раздвигают до упора о берег реки поворотом валов 30 и 31 и при необходимости их фиксируют. Заслонку 35 поворачивают в правое или левое крайнее положение до упора к одной из створок. При этом поток воды направляется к лопастям 6 турбины и под действием напора воды последняя приводится во вращение и через связанную с ней трансмиссию вращает ротор генератора 29 трехфазного тока через редуктор 28, который обеспечивает ему высокие обороты, позволяя увеличить выработку электроэнергии. Поперек реки перед гидроагрегатом установлено защитное устройство, выполненное в виде решетки 39, для предотвращения попадания в гидротурбину случайно оказавшихся в реке крупных предметов.
Технико-экономическое преимущество предложения заключается в следующем.
Промышленное использование гидроагрегата на средних и малых реках, а на большой их протяженности – множество гидротурбин, соединяя их единой электрической системой, обеспечит получение большого количества дешевой электроэнергии и даст возможность отказаться от использования тепловых электростанций, сжигающих огромное количество топлива.
Гидроагрегат не требует использования сложного оборудования и больших материальных затрат, поскольку при этом отпадает необходимость строительства плотин. Он прост в обслуживании и его можно эксплуатировать круглый год.
Формула изобретения
1. Гидроагрегат для преобразования кинетической энергии потока воды в электрическую, включающий установленную на раму гидротурбину с подшипниками на ее валу, кинематически связанный с гидротурбиной генератор, формирователь потока и защитное устройство от плавучих предметов, выполненное в виде ребер-пластин, отличающийся тем, что он снабжен соединенными между собой коническими шестернями, промежуточными вертикально и горизонтально установленными валами с подшипниками, вертикальный из которых размещен в колодце, сооруженном вблизи берега и сообщенным с рекой с помощью канала, выполненного под уровнем максимально возможной толщины покрова льда, образуемого в зимнее время года, в котором размещена часть горизонтального вала, соединенного с валом гидротурбины, при этом верхний конец вертикального вала связан с генератором через наземный горизонтальный вал и повышающий редуктор, при этом формирователь потока выполнен в виде створок, установленных на валах с возможностью поворота для направления потока реки в ее центральную часть, между которыми установлена поворотная заслонка с возможностью контактирования с одной из створок для направления потока воды в правую или левую сторону гидротурбины.
2. Гидроагрегат по п.1, отличающийся тем, что вал гидротурбины выполнен разъемным и установлен вертикально.
3. Гидроагрегат по п.1, отличающийся тем, что валы створок и заслонки установлены вертикально под уровнем возможной толщины покрова льда с возможностью поворота с помощью червячной передачи.
РИСУНКИ
MM4A – Досрочное прекращение действия патента СССР или патента Российской Федерации на изобретение из-за неуплаты в установленный срок пошлины за поддержание патента в силе
Дата прекращения действия патента: 17.09.2006
Извещение опубликовано: 20.09.2007 БИ: 26/2007
|
|