|
|
(21), (22) Заявка: 2002109466/06, 30.08.2000
(24) Дата начала отсчета срока действия патента:
30.08.2000
(30) Конвенционный приоритет:
24.09.1999 DE 19945813.8
(43) Дата публикации заявки: 10.01.2004
(45) Опубликовано: 10.07.2005
(56) Список документов, цитированных в отчете о поиске:
DE 19828279 A1, 30.12.1999. SU 735814 А, 26.05.1980. SU 1423761 A1, 15.09.1988. SU 1163019 A, 23.06.1985. SU 1142528 A, 28.02.1985. RU 2049260 C1, 27.11.1995. RU 2053395 C1, 27.01.1996. US 5858942 А, 12.01.1999. JP 2000161192 А, 13.06.2000. US 5845225 A, 01.12.1998. ЕР 0761961 A1, 12.03.1997.
(85) Дата перевода заявки PCT на национальную фазу:
24.04.2004
(86) Заявка PCT:
DE 00/02950 (30.08.2000)
(87) Публикация PCT:
WO 01/23734 (05.04.2001)
Адрес для переписки:
101000, Москва, М.Златоустинский пер., 10, кв.15, “ЕВРОМАРКПАТ”, И.А.Веселицкой
|
(72) Автор(ы):
УЛЬ Штефан (DE), РОТ Андреас (DE)
(73) Патентообладатель(и):
РОБЕРТ БОШ ГМБХ (DE)
|
(54) СПОСОБ УПРАВЛЕНИЯ РАБОТОЙ ДВИГАТЕЛЯ ВНУТРЕННЕГО СГОРАНИЯ (ВАРИАНТЫ), БЛОК УПРАВЛЕНИЯ РАБОТОЙ ДВИГАТЕЛЯ ВНУТРЕННЕГО СГОРАНИЯ И ДВИГАТЕЛЬ ВНУТРЕННЕГО СГОРАНИЯ
(57) Реферат:
Изобретение относится к двигателестроению, в частности к способу и устройству для управления работой двигателя внутреннего сгорания, прежде всего транспортного средства. Изобретение позволяет простым путем выявлять наличие отложений в камерах сгорания ДВС и эффективно удалять их. В способе управления работой двигателя внутреннего сгорания (ДВС), прежде всего транспортного средства, топливо подают в камеру сгорания и подвергают в ней сгоранию. По меньшей мере по результатам контроля эффективности работы системы согласования крутящих моментов, развиваемых поршнями отдельных цилиндров, получают информацию о наличии в камере сгорания отложений и в последующем принимают целенаправленные меры по очистке этой камеры сгорания. Во втором варианте способа управления работой ДВС с непосредственным впрыскиванием топлива, прежде всего транспортного средства, топливо с помощью клапанных форсунок впрыскивают непосредственно в камеры сгорания ДВС на такте впуска в первом режиме работы или на такте сжатия во втором режиме работы и непрерывно осуществляют согласование крутящих моментов, развиваемых поршнями отдельных цилиндров, контролируя эффективность такого согласования, и/или осуществляют контроль на наличие пропусков воспламенения. При наличии сигнала ошибки, выдаваемого при контроле эффективности работы системы согласования крутящих моментов, делают вывод о наличии на клапанных форсунках нагара либо при выявлении пропусков воспламенения при работе ДВС в первом режиме его далее переводят на работу во втором режиме и при отсутствии пропусков воспламенения при работе ДВС во втором режиме делают вывод о наличии отложений, соответственно об образовании нагара на клапанных форсунках. Предложены ДВС и блок управления работой ДВС, прежде всего транспортного средства, в которых предусмотрены средства для осуществления способа. 4 н. и 14 з.п. ф-лы, 3 ил.

Настоящее изобретение относится к способам управления работой двигателя внутреннего сгорания (ДВС), прежде всего транспортного средства, при осуществлении которых топливо подают в камеру сгорания и подвергают в ней сгоранию. Изобретение относится далее к блоку управления работой ДВС, прежде всего транспортного средства, а также к двигателю внутреннего сгорания, прежде всего транспортного средства.
Эксплуатация ДВС в неблагоприятных условиях может приводить к образованию в камере сгорания отложений. Подобные отложения, которые отрицательно влияют на формообразование струи впрыскиваемого топлива, а тем самым и на процесс сгорания, могут образовываться прежде всего в ДВС с непосредственным впрыскиванием топлива и главным образом на клапанных форсунках – соответственно на конце или внутри их распылителей. В этом случае обычно говорят об образовании нагара на клапанных форсунках или об их закоксовывании.
Из заявки DE 19828279 А1 известно электронное устройство управления, которое позволяет взаимно согласовывать крутящие моменты, развиваемые поршнями отдельных цилиндров многоцилиндрового ДВС, и тем самым уравнивать вклад, вносимый поршнями отдельных цилиндров в суммарный развиваемый двигателем крутящий момент, и повышать плавность его работы. При этом для указанного взаимного согласования развиваемых поршнями отдельных цилиндров крутящих моментов изменяют, например, количество впрыскиваемого топлива, момент зажигания (у двигателей с искровым воспламенением рабочей смеси), количество возвращаемых в камеру сгорания отработавших газов (ОГ) в системе рециркуляции ОГ или порядок впрыскивания. Вклад, вносимый поршнями отдельных цилиндров в суммарный развиваемый двигателем крутящий момент, можно определять путем анализа временных характеристик вращения коленчатого или распределительного вала, регистрируя при этом время, затрачиваемое таким валом на поворот на каждый из отдельных угловых сегментов. В другом варианте можно использовать характеризующие отклонения в плавности работы двигателя величины, которые в любом случае формируются в блоке управления для выявления пропусков воспламенения. В задачу системы согласования крутящих моментов, развиваемых поршнями отдельных цилиндров ДВС, входит минимизация отклонений в плавности работы двигателя с использованием некоторой концепции регулирования. В зависимости от выявленных закономерностей, а также в зависимости от величин отдельных подвергнутых и не подвергнутых фильтрации параметров, характеризующих отклонения в плавности работы двигателя, можно соответствующим образом воздействовать на работу двигателя. Образование нагара на клапанных форсунках может приводить прежде всего у ДВС с непосредственным впрыскиванием топлива к снижению крутящего момента, развиваемого поршнем соответствующего цилиндра. В этом случае соответствующий цилиндр будет работать на слишком бедной смеси. Согласно заявке DE 19828279 А1 основными элементами описанной в ней системы регулирования являются предусмотренные для каждого цилиндра пропорционально-интегральные (ПИ-) регуляторы.
В заявке DE 10009065.6 описаны способ и устройство контроля эффективности работы системы согласования крутящих моментов, развиваемых поршнями отдельных цилиндров ДВС. В соответствии с вводной частью описания этой заявки особая потребность в подобном регулировании существует прежде всего у ДВС с искровым воспламенением рабочей смеси и непосредственным впрыскиванием. Такие двигатели наиболее подвержены значительным отклонениям в плавности их работы, обусловленным высокой чувствительностью процессов сгорания, происходящих в ДВС при его работе в режиме с послойным смесеобразованием, к связанному с технологическими допусками разбросу размеров его деталей и/или обусловленным разбросом размеров применяемых для впрыскивания топлива под высоким давлением клапанных форсунок, соответственно особенностями распределения впрыскиваемого топлива по отдельным цилиндрам. Кроме того, определенную роль в нарушении плавности работы двигателя может играть и обусловленное старением или износом изменение расхода топлива через клапанные форсунки. Согласно заявке DE 10009065.6 развиваемый поршнем отдельного цилиндра крутящий момент (фактический момент) предпочтительно определять относительно величины крутящего момента, развиваемого поршнем предыдущего по порядку их работы цилиндра, т.е. не определять абсолютную величину крутящего момента путем анализа временных характеристик вращения коленчатого или кулачкового вала. Повысить эффективность согласования крутящих моментов, развиваемых поршнями отдельных цилиндров ДВС, удается за счет контроля эффективности работы системы регулирования, обеспечивающей согласование крутящих моментов, и формирования соответствующего сигнала ошибки при возникновении сбоев в работе указанной системы. При этом такой контроль эффективности работы системы согласования крутящих моментов заключается в том, что после регулирующего воздействия, выданного этой системой, контролируют развиваемые поршнями отдельных цилиндров крутящие моменты с целью установить, проявляется ли при регулировании положительное действие или нет. Если подобное действие не достигает необходимой степени, то коэффициент усиления в цепи относящихся к отдельным цилиндрам ПИ-регуляторов последовательно снижается до некоторого заданного конечного значения. Несмотря на то, что такой подход позволяет повысить надежность работы системы регулирования, одновременно с этим несколько ухудшается динамичность (быстродействие) этой системы, что также следует учитывать. Если же необходимое действие не достигается и после настройки ПИ-регулятора на заданное конечное значение, то выдается сигнал ошибки. Указанная выше заявка DE 10009065.6 в полном объеме включена в настоящее описание в качестве ссылки.
В основу настоящего изобретения была положена задача разработать способ указанного в начале описания типа, который позволял бы простым путем выявлять наличие отложений в камерах сгорания ДВС и эффективно удалять их.
Эта задача решается в предложенном способе указанного в начале описания типа благодаря тому, что по меньшей мере по результатам контроля эффективности работы системы согласования крутящих моментов, развиваемых поршнями отдельных цилиндров, получают информацию о наличии в камере сгорания отложений и в последующем принимают целенаправленные меры по очистке этой камеры сгорания.
Предложенный способ в его первом варианте осуществим на различных видах ДВС, в том числе применительно к дизельному двигателю. В случае осуществления способа применительно к ДВС с непосредственным впрыскиванием топлива топливо с помощью клапанных форсунок впрыскивают непосредственно в камеры сгорания ДВС на такте впуска в первом режиме работы или на такте сжатия во втором режиме работы и осуществляют непрерывный контроль на наличие пропусков воспламенения, причем при выявлении пропусков воспламенения при работе ДВС в первом режиме его далее переводят на работу во втором режиме, а при выявлении пропусков воспламенения и во втором режиме работы делают вывод о наличии общего сбоя, инициируя при этом выполнение дополнительных методов диагностирования для более точной идентификации причин неисправности.
Во втором варианте предложенный способ реализуют при управлении работой ДВС с непосредственным впрыскиванием топлива, прежде всего транспортного средства. При осуществлении способа в этом варианте топливо с помощью клапанных форсунок впрыскивают непосредственно в камеры сгорания ДВС на такте впуска в первом режиме работы или на такте сжатия во втором режиме работы и непрерывно осуществляют согласование крутящих моментов, развиваемых поршнями отдельных цилиндров, контролируя эффективность такого согласования, и/или осуществляют контроль на наличие пропусков воспламенения. В этом варианте предложенного способа поставленная перед изобретением задача решена благодаря тому, что при наличии сигнала ошибки, выдаваемого при контроле эффективности работы системы согласования крутящих моментов, делают вывод о наличии на клапанных форсунках нагара либо при выявлении пропусков воспламенения при работе ДВС в первом режиме его далее переводят на работу во втором режиме и при отсутствии пропусков воспламенения при работе ДВС во втором режиме делают вывод о наличии отложений, соответственно, об образовании нагара на клапанных форсунках.
Наиболее существенное преимущество предлагаемого в изобретении решения состоит в возможности с использованием простых средств препятствовать образованию в камере сгорания отложений до недопустимо высокого уровня в течение всего срока службы ДВС, благодаря чему постоянно обеспечиваются оптимальные условия для эффективного сгорания рабочей смеси.
Еще одно преимущество изобретения заключается в возможности понизить температуру сгорания за счет впрыскивания воды и тем самым уменьшить выбросы NOx. Кроме того, давление пара, в который под воздействием высокой температуры, преобладающей в камере сгорания, превращается вода, улучшает термодинамический к.п.д. двигателя,
В частных случаях осуществления предложенного способа в обоих его вариантах для очистки камеры сгорания ДВС может переводиться на работу с детонационным сгоранием и/или к необходимому для сгорания воздуху, впускаемому в камеру сгорания, может добавляться жидкий детергент. При этом в качестве жидкого детергента может использоваться вода.
Меры, принимаемые по очистке камеры сгорания, можно ограничить временным интервалом некоторой заданной длительности либо оставить активными до тех пор, пока не перестанет выявляться наличие в камере сгорания отложений. В обоих случаях предпочтительно, чтобы меры, принимаемые по очистке камеры сгорания, прежде всего детонационное сгорание, были ограничены временным интервалом лишь такой длительности, при которой исключается возможное повреждение ДВС.
В профилактических целях меры, принимаемые по очистке камеры сгорания, можно активизировать превентивно с некоторой заданной периодичностью, ограничивая при этом каждый цикл активизации этих мер временным интервалом некоторой заданной длительности.
В изобретении предлагается также блок управления работой ДВС, прежде всего транспортного средства. Согласно изобретению в таком блоке управления предусмотрены средства для осуществления предложенного способа.
Объектом изобретения является также собственно ДВС, прежде всего транспортного средства. В таком ДВС согласно изобретению предусмотрены средства для осуществления предложенного способа.
Ниже изобретение более подробно рассмотрено со ссылкой на прилагаемые чертежи, на которых показано:
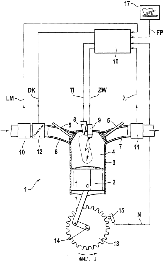
на фиг.1 – схематичное изображение ДВС с блоком управления,
на фиг.2 – блок-схема, иллюстрирующая предлагаемый в изобретении способ, и
на фиг.3 – схематичное изображение ДВС с блоком управления и устройством для добавления воды или любого другого жидкого детергента к необходимому для сгорания воздуху, впускаемому в камеру сгорания.
На фиг.1 схематично показан двигатель 1 внутреннего сгорания (ДВС), в цилиндре 3 которого с возможностью возвратно-поступательного движения установлен поршень 2. В цилиндре 3 имеется камера 4 сгорания, соединением которой с впускным трубопроводом 6 и выпускным трубопроводом 7 управляют клапаны 5. Кроме того, в камеру 4 сгорания выступают клапанная форсунка 8, управляемая сигналом TI, и свеча 9 зажигания, управляемая сигналом ZW. Указанные сигналы TI и ZW выдаются в данном случае на клапанную форсунку 8, соответственно, свечу 9 зажигания блоком 16 управления.
Во впускном трубопроводе 6 установлен массовый расходомер 10 воздуха, а в выпускном трубопроводе 7 установлен кислородный датчик 11. Массовый расходомер 10 воздуха измеряет количество свежего воздуха, впускаемого через впускной трубопровод 6, и в зависимости от этого количества формирует сигнал LM. Кислородный датчик 11 измеряет содержание кислорода в отводимых по выпускному трубопроводу 7 отработавших газах (ОГ) и в зависимости от этого содержания формирует сигнал . Выдаваемые массовым расходомером 10 воздуха и кислородным датчиком 11 сигналы поступают в блок 16 управления.
Во впускном трубопроводе 6 расположена поворотная дроссельная заслонка 12, угловое положение которой регулируется сигналом DK.
В первом режиме работы ДВС 1, так называемом режиме с послойным смесеобразованием, дроссельная заслонка 12 открыта на достаточно большую величину. При этом топливо впрыскивается клапанной форсункой 8 в камеру 4 сгорания при совершении поршнем 2 хода сжатия. Затем топливо воспламеняется свечой 9 зажигания с образованием газов, которые, расширяясь, на следующем такте приводят поршень 2 в движение, который в результате совершает рабочий ход.
Во втором режиме работы ДВС 1, так называемом режиме с гомогенным смесеобразованием, дроссельная заслонка 12 в зависимости от требуемого количества впускаемого в двигатель воздуха открыта, соответственно прикрыта частично. Топливо впрыскивается клапанной форсункой 8 в камеру 4 сгорания при совершении поршнем 2 хода впуска. Одновременно впускаемый в цилиндр воздух завихряет впрыскиваемое топливо, которое в результате практически равномерно распределяется по камере 4 сгорания. После этого на такте сжатия происходит сжатие топливовоздушной смеси, которая в последующем воспламеняется свечой 9 зажигания. Расширяющиеся газы, которые образуются в результате воспламенения топлива, создают давление, под действием которого поршень 2 приводится в движение.
В обоих указанных выше режимах работы ДВС, т.е. в режиме с послойным и гомогенным смесеобразованием, поступательное движение поршня преобразуется во вращательное движение коленчатого вала 14, через который в конечном итоге приводятся во вращение ведущие колеса транспортного средства. На коленчатом валу 14 установлен зубчатый диск 16, зубья которого при его вращении проходят мимо расположенного непосредственно напротив него датчика 15 частоты вращения. Формируемый этим датчиком 15 частоты вращения сигнал, на основании которого определяется частота вращения N коленчатого вала 14, передается в блок 16 управления.
При работе ДВС в каждом из вышеописанных режимов, а именно в режиме с послойным и в режиме с гомогенным смесеобразованием, блок 16 управления управляет количеством впрыскиваемого в камеру сгорания клапанной форсункой 8 топлива и/или регулирует это количество прежде всего с учетом снижения расхода топлива и/или снижения количества образующихся при сгорании топлива вредных веществ. Для этой цели в блоке 16 управления предусмотрен микропроцессор, в памяти которого, выполненной, в частности, в виде постоянного запоминающего устройства (ПЗУ), хранится программа, на основании которой осуществляются указанные процессы управления работой и/или регулирования работы ДВС 1.
На вход блока 16 управления поступают сигналы, характеризующие измеренные различными датчиками рабочие параметры ДВС. Так, например, с блоком 16 управления соединены массовый расходомер 10 воздуха, кислородный датчик 11 и датчик 15 частоты вращения. Помимо этого, с блоком 16 управления соединен датчик 17 положения педали акселератора, формируемый которым (датчиком) сигнал FP пропорционален положению нажимаемой водителем педали акселератора, а тем самым и задаваемому водителем крутящему моменту. Блок 16 управления формирует выходные сигналы, которые в виде управляющих воздействий, подаваемых на приводные и/или исполнительные механизмы, позволяют в соответствии с требуемым процессом управления и/или регулирования влиять на режим работы ДВС 1. При этом блок 16 управления соединен, например, с клапанной форсункой 8, свечой 9 зажигания и приводом дроссельной заслонки 12 и формирует необходимые для управления ими сигналы TI, ZW и DK.
На фиг.2 показана блок-схема, на которой представлены выполняемые при осуществлении предлагаемого в изобретении способа операции, прежде всего при управлении ДВС с непосредственным впрыскиванием бензина.
Операция, выполняемая на шаге 215 показанной на фиг.2 блок-схемы, на котором определяется эффективность работы системы согласования крутящих моментов, развиваемых поршнями цилиндров ДВС, основана, например, на описанном в заявке DE 10009065.6 способе контроля эффективности работы системы регулирования, согласующей крутящие моменты. Необходимые для такого контроля исходные данные поступают от датчика 15 частоты вращения в блок 16 управления, который на основании этих данных управляет крутящими моментами, развиваемыми поршнями отдельных цилиндров, соответственно взаимно согласует эти крутящие моменты. С этой целью блок 16 управления, например, изменяет количество впрыскиваемого топлива (TI), момент зажигания (ZW), количество возвращаемых в камеру сгорания ОГ в системе рециркуляции ОГ (на фиг.2 не показана) или порядок впрыскивания (TI).
После запуска программы, в соответствии с которой осуществляется предлагаемый в изобретении способ, на шаге 210 проверяется, работает ли двигатель в режиме с послойным смесеобразованием. Подобная проверка осуществляется непрерывно в циклическом режиме все то время, пока двигатель работает в режиме, отличном от режима с послойным смесеобразованием. Если же на шаге 210 будет установлено, что двигатель работает в режиме с послойным смесеобразованием, то осуществляется переход к следующему шагу 215, на котором проверяется наличие сигнала ошибки от системы контроля эффективности работы системы согласования крутящих моментов. При наличии такого сигнала, указывающего на невозможность эффективного согласования развиваемых поршнями отдельных цилиндров крутящих моментов, происходит переход непосредственно к шагу 250, который более подробно рассмотрен ниже. Таким образом, в данном случае однозначно предполагается образование нагара. Если же на шаге 215 не будет выявлен сигнал ошибки, который может выдавать система контроля эффективности работы системы согласования крутящих моментов, то осуществляется переход к шагу 220, на котором проверяется наличие пропусков воспламенения при работе двигателя в режиме с послойным смесеобразованием. При отсутствии подобных пропусков воспламенения осуществляется возврат к шагу 210. Если же на шаге 220 будут выявлены пропуски воспламенения, то осуществляется переход к шагу 230, на котором блок 16 управления переводит двигатель с работы в режиме с послойным смесеобразованием на работу в режиме с гомогенным смесеобразованием.
На шаге 240 аналогично рассмотренному выше шагу 220 проверяется наличие пропусков воспламенения при работе ДВС в режиме с гомогенным смесеобразованием. При отсутствии подобных пропусков воспламенения осуществляется переход к шагу 250, на котором на этом основании делается вывод об образовании нагара, соответственно отложений на клапанных форсунках.
Образование отложений на клапанных форсунках может привести к сбоям в формообразовании струи, которое является важным параметром при непосредственном впрыскивании бензина. Хотя при подобных сбоях количество впрыскиваемого в камеру 4 сгорания топлива практически и не изменяется, тем не менее наличие на клапанной форсунке отложений может приводить к изменению формы, соответственно направления струи впрыскиваемого топлива. Подобное изменение негативно сказывается прежде всего при работе ДВС в режиме с послойным смесеобразованием, поскольку в момент зажигания непосредственно вблизи от свечи 9 зажигания отсутствуют способные к воспламенению пары топливовоздушной смеси, что и приводит к пропускам воспламенения или даже к полному отсутствию сгорания смеси. При работе в режиме с гомогенным смесеобразованием наличие незначительного нагара на клапанных форсунках 8 не оказывает существенного отрицательного влияния на процесс сгорания, которое при работе двигателя в этом режиме по существу не зависит от направления струи впрыскиваемого топлива. Связано это с тем, что в режиме с гомогенным смесеобразованием топливо впрыскивается в камеру сгорания заблаговременно еще на такте впуска, благодаря чему для равномерного распределения топлива по объему камеры сгорания остается достаточно времени.
На шаге 260 принимаются меры по удалению образовавшихся на клапанных форсунках 8 отложений. Альтернативно показанному на фиг.2 завершению процесса после шага 260 может быть предусмотрен возврат к шагу 210 с целью проконтролировать эффективность принятых мер по очистке камеры сгорания. Этот альтернативный вариант обозначен прерывистой линией.
В качестве примера меры по удалению отложений можно назвать принудительно вызванное детонационное сгорание. Исследования, проводившиеся на ДВС, при работе которых имело место детонационное сгорание, показали, что такие ДВС имели исключительно чистые камеры сгорания. Этот эффект и предлагается использовать в настоящем изобретении.
Подобный эффект обусловлен тем, что при детонационном сгорании возникают колебания давления, которые накладываются на нормальный характер изменения давления. В результате подобных дополнительных колебаний давления возникают интенсивные высокочастотные вибрации, которые и позволяют удалить образовавшиеся в камере 4 сгорания и прежде всего на распылителях клапанных форсунок 8 отложения. Однако во избежание повреждения ДВС 1 его работу с детонационным сгоранием необходимо ограничивать по времени.
В сочетании с детонационным сгоранием или же в качестве индивидуальной меры по очистке от отложений к необходимому для сгорания воздуху, впускаемому в камеру сгорания, можно также добавлять воду или любой иной жидкий детергент (моющую присадку), что позволяет достичь аналогичного эффекта очистки, что и при детонационном сгорании.
Исследования, проводившиеся на ДВС, в камеру 4 сгорания которых вода проникала, например, через неплотную прокладку головки блока цилиндров или же эту воду целенаправленно впрыскивали дополнительно, показали, что такие ДВС всегда имели исключительно чистые камеры сгорания. Этот эффект также предлагается использовать в настоящем изобретении.
По завершении очистки камер сгорания ДВС 1 вновь переводится на работу в режиме с послойным смесеобразованием с целью проконтролировать отсутствие пропусков воспламенения при его работе. В случае повторного выявления подобных пропусков воспламенения весь процесс можно, например, повторить еще раз сначала.
В качестве превентивной меры, соответственно с целью предотвратить образование в камере сгорания отложений, можно также с заданной периодичностью переводить двигатель на работу с детонационным сгоранием и/или добавлять во впускаемый воздух воду.
Если на шаге 240 наличие пропусков воспламенения будет выявлено и при работе ДВС в режиме с гомогенным смесеобразованием, то осуществляется переход к шагу 270, на котором проводится дополнительное диагностирование. В данном случае возникновение пропусков воспламенения уже не может быть обусловлено только отложениями, образовавшимися на распылителях форсунок. Так, например, пропуски воспламенения могут быть обусловлены также бесконтрольным открытием по каким-либо причинам клапанной форсунки 8 или дефектом свечи 9 зажигания. Однако и в этом случае нельзя полностью исключить возможность образования нагара на клапанных форсунках 9. В любом случае для более точной идентификации возможных причин подобных пропусков воспламенения следует задействовать дополнительные методы диагностирования. Для более точного диагностирования при последующем проведении ремонтных работ может оказаться целесообразным сохранять информацию о возникших сбоях в соответствующей памяти.
На фиг.3 схематично показан изображенный на фиг.1 ДВС 1 с блоком 16 управления, оснащенный устройством для добавления к воздуху воды или любого иного жидкого детергента. Для упрощения на фиг.3 совпадающие с показанными на фиг.1 элементы обозначены теми же позициями.
ДВС 1 дополнительно оснащен емкостью 18 с водой. Эта емкость 18 снабжена клапаном 19, управляемым блоком 16 управления. Клапан 19 в свою очередь соединен с форсункой 20. При срабатывании клапана 19 вода впрыскивается этой форсункой 20 непосредственно во впускной трубопровод 6.
При выявлении блоком 16 управления, например, наличия отложений на клапанных форсунках 8 формируется сигнал WA, по которому срабатывает, соответственно открывается, клапан 19. В этом случае благодаря разрежению, которое, как правило, преобладает во впускном трубопроводе 6, при открытом клапане 19 вода из емкости 18 начинает поступать через клапан 19 и форсунку 20 во впускной трубопровод 6. На следующем такте впуска рабочего цикла ДВС 1 эта вода из впускного трубопровода 6 поступает в камеру сгорания 4. В этом месте вода смешивается с поступившими в камеру 4 сгорания в процессе впрыскивания воздухом и топливом. При этом вода из-за высокой температуры, преобладающей в камере 4 сгорания, немедленно испаряется, способствуя очистке камеры сгорания.
Несмотря на то, что вышепредлагаемый в изобретении способ в качестве примера описан применительно к ДВС с непосредственным впрыскиванием бензина, аналогичный подход с незначительными модификациями может использоваться и применительно к ДВС иных типов, например дизельных двигателей или двигателей с впрыскиванием топлива во впускной коллектор.
Особое значение имеет реализация предлагаемого в изобретении способа в виде компьютерной программы с представленными в программном коде средствами. Такая компьютерная программа, которую можно сохранять на носителе данных, например на компакт-диске или в стираемом программируемом постоянном запоминающем устройстве (СППЗУ), при ее выполнении в блоке управления (или в более общем случае на любом компьютере) обеспечивает выполнение соответствующих стадий предлагаемого в изобретении способа по очистке камеры сгорания. Тем самым разработчику такого программного продукта предоставляется простая возможность поставки этого программного продукта заказчику.
Формула изобретения
1. Способ управления работой двигателя (1) внутреннего сгорания (ДВС), прежде всего транспортного средства, при этом топливо подают в камеру (4) сгорания и подвергают в ней сгоранию, отличающийся тем, что по меньшей мере по результатам контроля эффективности работы системы согласования крутящих моментов, развиваемых поршнями отдельных цилиндров, получают информацию о наличии в камере (4) сгорания отложений и в последующем принимают целенаправленные меры по очистке этой камеры (4) сгорания.
2. Способ по п.1, отличающийся тем, что для очистки камеры (4) сгорания ДВС переводят на работу с детонационным сгоранием и/или к необходимому для сгорания воздуху, впускаемому в камеру сгорания, добавляют жидкий детергент.
3. Способ по п.2, отличающийся тем, что в качестве жидкого детергента используют воду.
4. Способ по п.1 или 2, отличающийся тем, что меры, принимаемые по очистке камеры (4) сгорания, ограничивают временным интервалом некоторой заданной длительности.
5. Способ по п.1 или 2, отличающийся тем, что меры, принимаемые по очистке камеры (4) сгорания, оставляют активными до тех пор, пока не перестанет выявляться наличие в камере (4) сгорания отложений.
6. Способ по п.4 или 5, отличающийся тем, что меры, принимаемые по очистке камеры (4) сгорания, прежде всего детонационное сгорание, ограничивают временным интервалом лишь такой длительности, при которой исключается возможное повреждение ДВС (1).
7. Способ по п.1 или 2, отличающийся тем, что меры, принимаемые по очистке камеры (4) сгорания, активизируют превентивно с некоторой заданной периодичностью, ограничивая при этом каждый цикл активизации этих мер временным интервалом некоторой заданной длительности.
8. Способ по п.1, отличающийся тем, что его осуществляют применительно к дизельному двигателю.
9. Способ по п.1, отличающийся тем, что его осуществляют применительно к ДВС (1) с непосредственным впрыскиванием топлива, при этом топливо с помощью клапанных форсунок (8) впрыскивают непосредственно в камеры (4) сгорания ДВС (1) на такте впуска в первом режиме работы или на такте сжатия во втором режиме работы и осуществляют непрерывный контроль на наличие пропусков воспламенения, причем при выявлении пропусков воспламенения при работе ДВС (1) в первом режиме его далее переводят на работу во втором режиме, а при выявлении пропусков воспламенения и во втором режиме работы делают вывод о наличии общего сбоя, инициируя при этом выполнение дополнительных методов диагностирования для более точной идентификации причин неисправности.
10. Способ управления работой ДВС (1) с непосредственным впрыскиванием топлива, прежде всего транспортного средства, при этом топливо с помощью клапанных форсунок (8) впрыскивают непосредственно в камеры (4) сгорания ДВС (1) на такте впуска в первом режиме работы или на такте сжатия во втором режиме работы и непрерывно осуществляют согласование крутящих моментов, развиваемых поршнями отдельных цилиндров, контролируя эффективность такого согласования, и/или осуществляют контроль на наличие пропусков воспламенения, отличающийся тем, что при наличии сигнала ошибки, выдаваемого при контроле эффективности работы системы согласования крутящих моментов, делают вывод о наличии на клапанных форсунках нагара либо при выявлении пропусков воспламенения при работе ДВС (1) в первом режиме его далее переводят на работу во втором режиме и при отсутствии пропусков воспламенения при работе ДВС во втором режиме делают вывод о наличии отложений, соответственно об образовании нагара на клапанных форсунках (8).
11. Способ по п.10, отличающийся тем, что для очистки камеры (4) сгорания ДВС переводят на работу с детонационным сгоранием и/или к необходимому для сгорания воздуху, впускаемому в камеру сгорания, добавляют жидкий детергент.
12. Способ по п.11, отличающийся тем, что в качестве жидкого детергента используют воду.
13. Способ по п.11, отличающийся тем, что меры, принимаемые по очистке камеры (4) сгорания, ограничивают временным интервалом некоторой заданной длительности.
14. Способ по п.11, отличающийся тем, что меры, принимаемые по очистке камеры (4) сгорания, оставляют активными до тех пор, пока не перестанет выявляться наличие в камере (4) сгорания отложений.
15. Способ по п.13 или 14, отличающийся тем, что меры, принимаемые по очистке камеры (4) сгорания, прежде всего детонационное сгорание, ограничивают временным интервалом лишь такой длительности, при которой исключается возможное повреждение ДВС (1).
16. Способ по п.11, отличающийся тем, что меры, принимаемые по очистке камеры (4) сгорания, активизируют превентивно с некоторой заданной периодичностью, ограничивая при этом каждый цикл активизации этих мер временным интервалом некоторой заданной длительности.
17. Блок управления работой ДВС (1), прежде всего транспортного средства, отличающийся тем, что в нем предусмотрены средства для осуществления способа по любому из пп.1-16.
18. ДВС (1), прежде всего транспортного средства, отличающийся тем, что предусмотрены средства для осуществления способа по любому из пп.1-16.
РИСУНКИ
|
|