|
(21), (22) Заявка: 2002120474/06, 01.12.2000
(24) Дата начала отсчета срока действия патента:
01.12.2000
(30) Конвенционный приоритет:
31.12.1999 DE 19963931.0
(43) Дата публикации заявки: 20.01.2004
(45) Опубликовано: 10.07.2005
(56) Список документов, цитированных в отчете о поиске:
US 4711217 А, 08.12.1987. RU 2138665 C1, 27.09.1999. RU 2130557 C1, 20.05.1999. US 4440136 A, 03.04.1984. US 4543937 A, 01.10.1985. US 5564406 А, 15.10.1996. ЕР 0919711 A3, 02.06.1999. WO 9801659 А1, 15.01.1998.
(85) Дата перевода заявки PCT на национальную фазу:
31.07.2002
(86) Заявка PCT:
DE 00/04276 (01.12.2000)
(87) Публикация PCT:
WO 01/50001 (12.07.2001)
Адрес для переписки:
101000, Москва, М.Златоустинский пер., 10, кв.15, “ЕВРОМАРКПАТ”, И.А.Веселицкой
|
(72) Автор(ы):
ГРАСС Герд (DE), ВАЙСС Рюдигер (DE)
(73) Патентообладатель(и):
РОБЕРТ БОШ ГМБХ (DE)
|
(54) СПОСОБ ПРОГРЕВА ДВИГАТЕЛЯ ВНУТРЕННЕГО СГОРАНИЯ
(57) Реферат:
Изобретение относится к двигателестроению, в частности к способу прогрева двигателя внутреннего сгорания, прежде всего транспортного средства. Изобретение позволяет создать способ прогрева ДВС, который обеспечивает повышение гибкости и упрощение применения при одновременном улучшении параметров работы ДВС при прогреве. Способ прогрева двигателя внутреннего сгорания (ДВС), прежде всего ДВС транспортного средства, при осуществлении которого топливо впрыскивают в камеру сгорания, и для увеличения количества впрыскиваемого топлива при температуре, которая ниже рабочей температуры ДВС, определяют показатель (fWL) степени прогрева. Показатель (fWL) степени прогрева определяют на основании базового или основного показателя (fG) и зависящего от нагрузки показателя (fLA). Зависящий от нагрузки показатель (fLA) определяют для различных режимов работы независимо от базового или основного показателя (fG). В способе использован элемент управления, прежде всего постоянное запоминающее устройство или флэш-память, для блока управления ДВС, прежде всего ДВС транспортного средства, в котором хранится программа, ориентированная на выполнение в вычислительном устройстве, прежде всего в микропроцессоре, и пригодная для осуществления способа. Двигатель внутреннего сгорания, прежде всего транспортного средства предназначен для осуществления способа и оснащен также блоком управления, позволяющим определять показатель (fWL) степени прогрева ДВС для увеличения количества впрыскиваемого топлива при температуре, которая ниже рабочей температуры ДВС. 4 н. и 7 з.п. ф-лы. 2 ил.

Уровень техники
Настоящее изобретение относится к способу прогрева двигателя внутреннего сгорания (ДВС), прежде всего ДВС транспортного средства, при осуществлении которого топливо впрыскивают во впускной коллектор или в камеру сгорания и для увеличения количества впрыскиваемого топлива при температуре, которая ниже рабочей температуры ДВС, определяют показатель степени прогрева. Изобретение относится далее к соответствующему ДВС, а также к блоку управления для подобного ДВС.
Подобные способ, ДВС и блок управления известны по применению, например, так называемых систем с впрыскиванием топлива во впускной коллектор. В таких системах топливо при работе ДВС в режиме с гомогенным смесеобразованием впрыскивается во впускной коллектор на такте впуска с последующим впуском этого топлива в камеру сгорания ДВС. Соответственно в ДВС с так называемым непосредственным впрыскиванием топливо впрыскивается непосредственно в камеру сгорания на такте впуска или на такте сжатия и сгорает в ней.
При прогреве еще не достигшего рабочей температуры ДВС необходимо увеличивать количество впрыскиваемого в его впускной коллектор, соответственно в его камеру сгорания топлива. Для этого, как известно, используется показатель степени прогрева, который при температуре ниже рабочей температуры ДВС влияет на количество впрыскиваемого топлива.
Известный способ определения такого показателя степени прогрева используется применительно к системам впрыскивания во впускной коллектор и поэтому не обладает гибкостью, которая допускала бы его использование применительно к системам впрыскивания других типов. Так, в частности, известный способ определения показателя степени прогрева может лишь в ограниченной степени использоваться применительно к ДВС с непосредственным впрыскиванием топлива.
Задача и преимущества изобретения
В основу настоящего изобретения была положена задача разработать такой способ прогрева ДВС, который обладал бы более высокой гибкостью и прежде всего был бы более простым в осуществлении и одновременно с этим обеспечивал бы более эффективный прогрев ДВС.
Эта задача в отношении способа указанного в начале описания типа решается согласно изобретению благодаря тому, что показатель степени прогрева определяют на основании базового или основного показателя и зависящего от нагрузки показателя. В отношении ДВС и блока управления указанных в начале описания типов эта задача решается аналогичным образом.
За счет предусмотренного изобретением разделения на базовый или основный показатель и зависящий от нагрузки показатель последний из них можно определять для различных режимов работы ДВС независимо от базового или основного показателя. Благодаря этому удается существенно упростить использование предлагаемого в изобретении подхода по определению показателя степени прогрева применительно к ДВС с непосредственным впрыскиванием топлива.
Равным образом благодаря предусмотренному изобретению разделению на базовый или основной показатель и зависящий от нагрузки показатель их можно использовать независимо друг от друга. То же самое справедливо и в отношении определения зависящего от нагрузки показателя при работе ДВС с непосредственным впрыскиванием топлива в различных режимах.
При осуществлении предлагаемого в изобретении решения прежде всего не требуется в последующем изменять методику определения базового или основного показателя в зависимости от приложенной к ДВС нагрузки.
Помимо этого предлагаемый в изобретении подход благодаря его высокой гибкости может без каких-либо проблем использоваться и применительно к системам впрыскивания топлива во впускной коллектор. В этом случае наиболее ярко проявляются преимущества, связанные с использованием базового или основного показателя и зависящего от нагрузки показателя независимо друг от друга.
В предпочтительных вариантах осуществления изобретения предлагается определять зависящий от нагрузки показатель в зависимости от интегрированного массового расхода воздуха и/или от интегрированного массового расхода топлива и/или от температуры ДВС и/или определять зависящий от нагрузки показатель в зависимости от относительного наполнения цилиндров ДВС воздухом и/или от относительного количества топлива и/или от фактического или заданного значения коэффициента избытка воздуха (коэффициента лямбда) и/или от фактического или заданного крутящего момента, развиваемого ДВС.
При этом важное значение имеет тот факт, что зависящий от нагрузки показатель максимально быстро и гибко реагирует на изменения нагрузки ДВС и/или на иные изменения рабочих параметров ДВС. Связанное с этим преимущество состоит в субъективно воспринимаемой хорошей “приемистости” ДВС даже при его температуре ниже рабочей температуры.
В другом предпочтительном варианте осуществления изобретения базовый или основной показатель предлагается определять в зависимости от текущей температуры ДВС. Подобный подход обеспечивает наиболее простую, но вместе с тем и вполне достаточную возможность определения базового или основного показателя.
Согласно еще одному предпочтительному варианту осуществления изобретения зависящий от нагрузки показатель и базовый или основной показатель предлагается аддитивно объединять друг с другом. В этом случае показатели, определяемые согласно изобретению независимо друг от друга, вновь объединяются в единый показатель степени прогрева двигателя.
В соответствии еще с одним предпочтительным вариантом осуществления изобретения зависящему от нагрузки показателю или сумме зависящего от нагрузки показателя и базового или основного показателя предлагается присваивать весовые коэффициенты в зависимости от частоты вращения вала ДВС. Тем самым на весовой коэффициент умножается либо только зависящий от нагрузки показатель, либо сумма зависящего от нагрузки показателя и базового или основного показателя. Подобный подход позволяет в зависимости от типа ДВС осуществлять необходимые согласования с учетом зависящего от частоты вращения вала ДВС весового коэффициента.
Особое значение имеет реализация предлагаемого в изобретении способа на базе элемента управления, предназначенного для блока управления ДВС, прежде всего ДВС транспортного средства. При этом в памяти такого элемента управления хранится программа, ориентированная на выполнение в вычислительном устройстве, прежде всего в микропроцессоре, и пригодная для осуществления предлагаемого в изобретении способа. Таким образом, в этом случае предлагаемое в изобретении решение реализуется с помощью хранящейся в памяти элемента управления программы, и поэтому подобный элемент управления с заложенной в него программой также является одним из объектов изобретения аналогично описанному выше способу, для осуществления которого предназначена эта программа. В качестве элемента управления можно использовать прежде всего электрический носитель данных, например постоянное запоминающее устройство (ПЗУ) или флэш-память.
Другие отличительные особенности, возможности применения и преимущества изобретения рассмотрены ниже на примере некоторых вариантов его осуществления со ссылкой на прилагаемые чертежи. При этом все рассмотренные в описании или представленные на чертежах отличительные признаки индивидуально и в любых сочетаниях характеризуют объект изобретения независимо от их компоновки в пунктах формулы изобретения или ссылки на них, а также независимо от их формулировки, соответственно представления в описании и на чертежах.
Описание вариантов осуществления изобретения
На прилагаемых к описанию чертежах, в частности, показано:
на фиг.1 – схематичное изображение одного из вариантов выполнения предлагаемого в изобретении двигателя внутреннего сгорания;
на фиг.2 – схема, иллюстрирующая последовательность выполнения операций при осуществлении предлагаемого в изобретении способа прогрева ДВС, показанного на фиг.1.
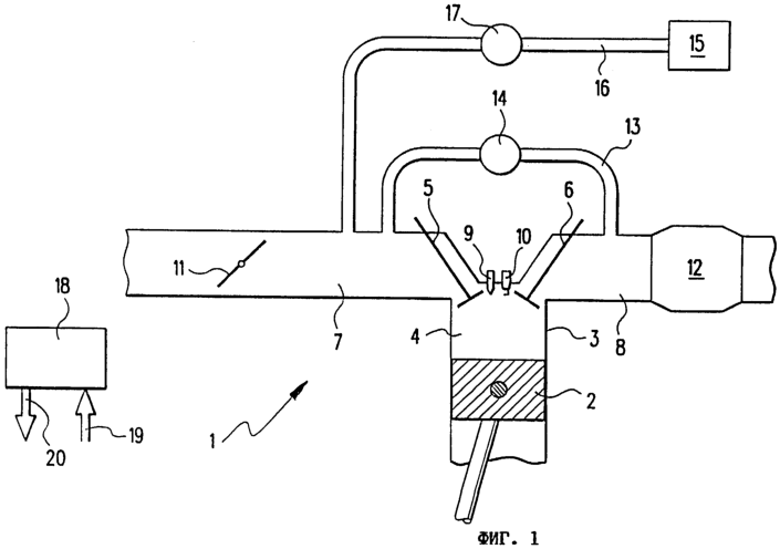
На фиг.1 схематично показан устанавливаемый на транспортном средстве двигатель 1 внутреннего сгорания (ДВС), в цилиндре 3 которого с возможностью возвратно-поступательного движения установлен поршень 2. В цилиндре 3 имеется камера 4 сгорания, которая ограничена, в частности, поршнем 2, впускным клапаном 5 и выпускным клапаном 6. Впускной клапан 5 управляет соединением цилиндра с впускным трубопроводом 7, а выпускной клапан 6 управляет его соединением с выпускным трубопроводом 8.
В зоне впускного клапана 5 и выпускного клапана 6 в камеру 4 сгорания выступают клапанная форсунка 9 и свеча 10 зажигания. Клапанная форсунка 9 служит для впрыскивания топлива в камеру 4 сгорания. Свеча 10 зажигания предназначена для воспламенения топлива в камере 4 сгорания.
Во впускном трубопроводе 7 расположена поворотная дроссельная заслонка 11, регулирующая поступление воздуха в этот впускной трубопровод 7. Количество поступающего воздуха зависит от углового положения дроссельной заслонки 11. В выпускном трубопроводе 8 расположен каталитический нейтрализатор 12, служащий для нейтрализации отработавших газов (ОГ), образующихся при сгорании топлива.
От выпускного трубопровода 8 отходит обратный трубопровод 13, ведущий обратно во впускной трубопровод 7. В этом обратном трубопроводе 13 установлен обратный клапан 14, позволяющий регулировать количество возвращаемых назад во впускной трубопровод 7 ОГ. Указанные обратный трубопровод 13 и обратный клапан 14 образуют так называемую систему рециркуляции ОГ.
От топливного бака 15 отходит проходящий к впускному трубопроводу 7 вентиляционный трубопровод 16. В этом вентиляционном трубопроводе 16 установлен вентиляционный клапан 17, позволяющий регулировать количество паров топлива, подводимое во впускной трубопровод 7 из топливного бака 15. Указанные вентиляционный трубопровод 16 и вентиляционный клапан 17 образуют так называемую систему улавливания испарений бензина или систему вентиляции топливного бака.
При сгорании топлива в камере 4 сгорания поршень 2 приводится в возвратно-поступательное движение, которое передается на не показанный на чертеже коленчатый вал и создает на нем крутящий момент.
На вход блока 18 управления поступают сигналы 19, характеризующие измеряемые различными датчиками рабочие параметры ДВС 1. Так, например, с блоком 18 управления соединены расходомер воздуха, кислородный датчик, датчик частоты вращения и т.п. Помимо этого с блоком 18 управления соединен датчик положения педали акселератора, формируемый которым (датчиком) сигнал пропорционален положению нажимаемой водителем педали акселератора, а тем самым и требуемому крутящему моменту. Блок 18 управления формирует выходные сигналы 20, которые в виде управляющих воздействий, подаваемых на приводные и/или исполнительные механизмы, позволяют влиять на режим работы ДВС 1. При этом блок 18 управления соединен, например, с клапанной форсункой 9, свечой 10 зажигания, приводом дроссельной заслонки 11 и т.п. и формирует необходимые для управления ими сигналы.
Блок 18 управления предназначен, в частности, для управления рабочими параметрами ДВС 1 и/или для их регулирования. Так, например, блок 18 управления с учетом уменьшения расхода топлива и/или снижения выброса вредных веществ управляет количеством и/или регулирует количество впрыскиваемого клапанной форсункой 9 в камеру 4 сгорания топлива. Для этой цели в блоке 18 управления предусмотрен микропроцессор, в памяти которого, выполненной, в частности, в виде флэш-памяти, хранится программа, на основании которой осуществляются указанные процессы управления и/или регулирования.
Показанный на фиг.1 ДВС 1 может работать в различных режимах. Так, например, ДВС может работать в режиме с гомогенным смесеобразованием, в режиме с послойным смесеобразованием, в режиме с гомогенным смесеобразованием на обедненной горючей смеси, в режиме с двойным впрыскиванием и т.п.
В режиме с гомогенным смесеобразованием топливо впрыскивается клапанной форсункой 9 непосредственно в камеру 4 сгорания ДВС 1 на такте впуска. В результате топливо до момента воспламенения дополнительно существенно завихряется, благодаря чему в камере 4 сгорания образуется практически однородная топливовоздушная смесь или однородный заряд. Создаваемый при этом крутящий момент в существенной мере зависит от положения дроссельной заслонки 11, регулируемого блоком 18 управления. В режиме с гомогенным смесеобразованием управление рабочими параметрами ДВС 1 и/или их регулирование осуществляется таким образом, чтобы коэффициент избытка воздуха (лямбда) горючей смеси равнялся единице. Режим с гомогенным смесеобразованием предназначен главным образом для работы ДВС при полной нагрузке.
Режим с гомогенным смесеобразованием на обедненной горючей смеси в основном соответствует режиму с гомогенным смесеобразованием, однако коэффициент избытка воздуха (лямбда) устанавливается при этом на значение больше единицы.
В режиме с послойным смесеобразованием топливо впрыскивается клапанной форсункой 9 непосредственно в камеру 4 сгорания на такте сжатия. В результате при воспламенении горючей смеси свечой 10 зажигания топливо распределяется в присутствующем в камере 4 сгорания заряде не однородно, а послойно. Вне зависимости от конкретных требований, предъявляемых, например, к рециркуляции ОГ или улавливанию паров топлива, дроссельная заслонка 11 в этом режиме может быть полностью открыта, а ДВС 1 тем самым работает в незадросселированном режиме. В режиме с послойным смесеобразованием создаваемый крутящий момент в основном регулируется изменением количества впрыскиваемого топлива. Режим с послойным смесеобразованием предназначен главным образом для работы ДВС 1 на холостом ходу и в диапазоне частичных нагрузок.
ДВС 1 можно переводить, соответственно переключать с одного из указанных режимов работы на другой. Подобное переключение осуществляется блоком 18 управления.
При пуске ДВС 1 при температуре, которая ниже его рабочей температуры, например при пуске ДВС 1 при низкой наружной температуре после его длительной остановки, количество впрыскиваемого в камеру 4 сгорания топлива увеличивают. Таким путем удается не только получить в камере 4 сгорания способную к воспламенению топливовоздушную смесь, но и компенсировать те потери топлива, которые обусловлены его попаданием в моторное масло и/или образованием его пленки на стенке камеры 4 сгорания.
По мере прогрева ДВС 1 теплом, выделяющимся при каждом сгорании топлива в его камерах сгорания, повышенное количество впрыскиваемого в камеры сгорания топлива можно постепенно сокращать. По достижении рабочей температуры ДВС 1 количество впрыскиваемого в камеры сгорания топлива, дополнительно расходуемого по меньшей мере на прогрев ДВС, более не увеличивают.
Величина, на которую необходимо увеличить количество топлива, впрыскиваемого в камеры сгорания при пуске холодного ДВС 1, и скорость постепенного уменьшения этой величины определяется блоком 18 управления на основании показателя fWL степени прогрева двигателя. Дополнительно такой показатель fWL степени прогрева можно мультипликативно объединять с так называемым послепусковым показателем для последующего влияния на количество впрыскиваемого в камеру 4 сгорания топлива.
На фиг.2 показана схема, поясняющая процесс определения показателя fWL степени прогрева. Этот показатель fWL степени прогрева определяют на основании базового или основного показателя fG и зависящего от нагрузки показателя fLA. В соответствии с этим проводятся различия между относящимся преимущественно только к работе двигателя на холостом ходу показателем, т.е. базовым или основным показателем fG, и возникающим только при работе двигателя под нагрузкой показателем, т.е. зависящим от нагрузки показателем fLA. Тем самым базовый или основной показатель fG и зависящий от нагрузки показатель fLA не зависят друг от друга и могут использоваться раздельно.
Базовый или основной показатель fG определяется по многопараметровой характеристике 10 холостого хода, устанавливающей зависимость этого показателя от температуры TMS двигателя при пуске, и текущей температуры двигателя ТМ. С помощью этой многопараметровой характеристики 10 холостого хода базовый или основной показатель fG устанавливают на такую величину, чтобы обеспечить требуемый характер изменения коэффициента избытка воздуха (лямбда) при холостом ходе, соответственно при малой нагрузке двигателя.
Под температурой TMS двигателя при пуске подразумевается та температура ДВС 1, которую он имеет при пуске. Тем самым проводятся различия между различными подходами по управлению работой двигателя при его пуске, а именно между подходом, используемым при пуске холодного ДВС при низких наружных температурах, и подходом, используемым при повторном пуске теплого, но не прогретого до рабочей температуры ДВС. Под текущей температурой двигателя ТМ подразумевается фактическая температура ДВС 1, постепенно повышающаяся по мере его прогрева теплом, выделяющимся при каждом сгорании топлива. При пуске ДВС 1 температура TMS двигателя при пуске и текущая температура двигателя ТМ по меньшей мере кратковременно имеют одинаковые значения.
Для определения зависящего от нагрузки показателя fLA температуру TMS двигателя при пуске объединяют с величиной относительного наполнения г1 цилиндров ДВС воздухом с использованием для этой цели многопараметровой характеристики 11. Благодаря этой величине r1, характеризующей относительное наполнение камеры 4 сгорания воздухом, обеспечивается зависимость показателя fLA от нагрузки. Очевидно, что вместо значения относительного наполнения r1 цилиндров ДВС, соответственно камеры сгорания воздухом можно также использовать и иные величины, такие как значение относительного количества топлива и/или фактическое или заданное значение коэффициента избытка воздуха (коэффициента лямбда) и/или фактический или заданный крутящий момент, развиваемый ДВС, или иные величины.
Аналогичным образом температуру TMS двигателя при пуске объединяют с величиной интегрированного расхода воздуха mli с использованием для этой цели многопараметровой характеристики 12. Благодаря этому значение, полученное по многопараметровой характеристике 11, снижается по мере прогрева ДВС 1. Интегрированный массовый расход воздуха mli служит мерой преобразуемой в камере 4 сгорания энергии, которая выделяется при каждом сгорании топлива и в свою очередь обеспечивает постепенное повышение температуры ДВС 1. Очевидно, что вместо интегрированного массового расхода воздуха mli можно также использовать и иные величины, такие как интегрированный массовый расход топлива и/или в простейшем случае текущая температура двигателя ТМ.
Выходные значения, определенные по обеим многопараметровым характеристикам 11, 12, мультипликативно объединяют друг с другом с получением в результате зависящего от нагрузки показателя fLA. Этот зависящий от нагрузки показатель fLA аддитивно объединяют затем с базовым или основным показателем fG с получением в результате показателя fWL степени прогрева.
После этого по однопараметровой характеристике 13 определяют весовой коэффициент fn, отражающий степень обогащения горючей смеси в период прогрева ДВС 1 в зависимости от частоты вращения его вала. Вместо однопараметровой характеристики 13 для этой же цели можно использовать многопараметровую характеристику, которая дополнительно к зависимости от частоты вращения вала учитывает также зависимость от температуры или от относительного количества воздуха или от относительного количества топлива.
Этот зависящий от частоты вращения весовой коэффициент fn может, с одной стороны, непосредственно воздействовать на зависящий от нагрузки показатель fLA за счет мультипликативного объединения с ним, как это показано на фиг.2 сплошной линией. В другом же варианте зависящий от частоты вращения весовой коэффициент fn можно мультипликативно объединять уже с суммой зависящего от нагрузки показателя fLA и базового или основного показателя fG, как это показано на фиг.2 прерывистой линией.
В показанной на фиг.2 схеме дополнительно можно предусмотреть еще одну ветвь с одно- или многопараметровой характеристикой, устанавливающей зависимость от коэффициента избытка воздуха (лямбда), и мультипликативно или аддитивно объединять определяемое по ней значение со значением, определяемым в одной из других вышеописанных ветвей.
Показатель fWL степени прогрева ДВС 1 с непосредственным впрыскиванием топлива определяют описанным выше путем в зависимости от режима работы ДВС 1. Сказанное означает: для каждого из возможных режимов работы ДВС 1, т.е. прежде всего для режима с послойным смесеобразованием и для режима с гомогенным смесеобразованием предусмотрены показанные на фиг.2 многопараметровые характеристики 10, 11, 12, соответственно однопараметровая характеристика 13.
При переводе ДВС 1 в процессе его прогрева с работы в одном из различных режимов на работу в другом режиме одновременно изменяется и методика определения показателя fWL степени прогрева. По мере приближения текущей температуры ТМ ДВС 1 к его рабочей температуре показатель fWL степени прогрева стремится к единице, а его влияние на количество впрыскиваемого топлива стремится к нулю.
При использовании рассмотренного выше со ссылкой на фиг.2 показателя fWL степени прогрева применительно к ДВС, в которых в отличие от схематично показанного на фиг.1 двигателя топливо впрыскивается не в камеру сгорания, а во впускной коллектор, необходимо иметь лишь по одной показанной на фиг.2 многопараметровой характеристике 10, 11, 12, соответственно однопараметровой характеристике 13, а именно для режима с гомогенным смесеобразованием. В этом случае ДВС не переводится с работы в одном из режимов на работу в другом режиме.
Формула изобретения
1. Способ прогрева двигателя внутреннего сгорания (ДВС) (1), прежде всего ДВС транспортного средства, при осуществлении которого топливо впрыскивают в камеру (4) сгорания, и для увеличения количества впрыскиваемого топлива при температуре, которая ниже рабочей температуры ДВС (1), определяют показатель (fWL) степени прогрева, отличающийся тем, что показатель (fWL) степени прогрева определяют на основании базового или основного показателя (fG) и зависящего от нагрузки показателя (fLA), при этом зависящий от нагрузки показатель (fLA) определяют для различных режимов работы независимо от базового или основного показателя (fG).
2. Способ по п.1, отличающийся тем, что зависящий от нагрузки показатель (fLA) определяют в зависимости от интегрированного массового расхода (mli) воздуха и/или от интегрированного массового расхода топлива, и/или от температуры (ТМ) ДВС (1).
3. Способ по п.1 или 2, отличающийся тем, что зависящий от нагрузки показатель (fLA) определяют в зависимости от относительного наполнения (r1) цилиндров ДВС воздухом и/или от относительного количества топлива, и/или от фактического или заданного значения коэффициента избытка воздуха (коэффициента лямбда), и/или от фактического или заданного крутящего момента, развиваемого ДВС (1).
4. Способ по п.2 или 3, отличающийся тем, что зависящий от нагрузки показатель (fLA) определяют путем мультипликативного логического комбинирования.
5. Способ по любому из пп.1-4, отличающийся тем, что базовый, или основной, показатель (fG) определяют в зависимости от температуры (ТМ) ДВС (1).
6. Способ по любому из пп.1-5, отличающийся тем, что зависящий от нагрузки показатель (fLA) и базовый, или основной показатель, (fG) аддитивно логически комбинируют между собой.
7. Способ по любому из пп.1-6, отличающийся тем, что зависящему от нагрузки показателю (fLA) или сумме зависящего от нагрузки показателя (fLA) и базового, или основного, показателя (fG) присваивают весовые коэффициенты в зависимости от частоты вращения (n) вала ДВС (1).
8. Способ по любому из пп.1-7, отличающийся тем, что зависящий от нагрузки показатель (fLA) и/или базовый, или основной показатель, (fG) и/или показатель (fWL) степени прогрева определяют в зависимости от температуры (TMS) ДВС (1) при его пуске.
9. Элемент управления, прежде всего постоянное запоминающее устройство или флэш-память, для блока (18) управления ДВС (1), прежде всего ДВС транспортного средства, в котором хранится программа, ориентированная на выполнение в вычислительном устройстве, прежде всего в микропроцессоре, и пригодная для осуществления способа по любому из пп.1-8.
10. Двигатель (1) внутреннего сгорания, прежде всего транспортного средства, при этом предусмотрена возможность впрыскивания топлива в камеру (4) сгорания при прогреве такого ДВС, который оснащен также блоком (18) управления, позволяющим определять показатель (fWL) степени прогрева ДВС для увеличения количества впрыскиваемого топлива при температуре, которая ниже рабочей температуры ДВС (1), отличающийся тем, что блок (18) управления выполнен с возможностью определять показатель (fWL) степени прогрева ДВС на основании базового, или основного, показателя (fG) и зависящего от нагрузки показателя (fLA), при этом предусмотрена возможность определения зависящего от нагрузки показателя (fLA) для различных режимов работы независимо от базового, или основного, показателя (fG).
11. Блок (18) управления для ДВС (1), прежде всего ДВС транспортного средства, при этом предусмотрена возможность впрыскивания топлива в камеру (4) сгорания при прогреве такого ДВС (1), а сам этот блок (18) управления позволяет определять показатель (fWL) степени прогрева для увеличения количества впрыскиваемого топлива при температуре, которая ниже рабочей температуры ДВС (1), отличающийся тем, что он выполнен с возможностью определять показатель (fWL) степени прогрева ДВС на основании базового, или основного, показателя (fG) и зависящего от нагрузки показателя (fLA), при этом предусмотрена возможность определения зависящего от нагрузки показателя (fLA) для различных режимов работы независимо от базового, или основного, показателя (fG).
РИСУНКИ
MM4A – Досрочное прекращение действия патента СССР или патента Российской Федерации на изобретение из-за неуплаты в установленный срок пошлины за поддержание патента в силе
Дата прекращения действия патента: 02.12.2005
Извещение опубликовано: 10.01.2008 БИ: 01/2008
|