|
(21), (22) Заявка: 2002120473/06, 17.11.2000
(24) Дата начала отсчета срока действия патента:
17.11.2000
(30) Конвенционный приоритет:
31.12.1999 DE 19963932.9
(43) Дата публикации заявки: 20.01.2004
(45) Опубликовано: 10.07.2005
(56) Список документов, цитированных в отчете о поиске:
US 5967113 А, 19.10.1999. DE 4330997 A1, 16.03.1995. RU 2113603 С1, 20.06.1998. RU 2094624 С1, 27.10.1997.
(85) Дата перевода заявки PCT на национальную фазу:
31.07.2002
(86) Заявка PCT:
DE 00/04042 (17.11.2000)
(87) Публикация PCT:
WO 01/49987 (12.07.2001)
Адрес для переписки:
101000, Москва, М.Златоустинский пер., 10, кв.15, “ЕВРОМАРКПАТ”, М.Б. Веселицкому
|
(72) Автор(ы):
Эберхард ШНАЙБЕЛЬ (DE), Андреас КОРИНГ (DE), Хольгер БЕЛЛЬМАНН (DE)
(73) Патентообладатель(и):
РОБЕРТ БОШ ГМБХ (DE)
|
(54) СПОСОБ ДИАГНОСТИКИ КАТАЛИТИЧЕСКОГО НЕЙТРАЛИЗАТОРА ДВИГАТЕЛЯ ВНУТРЕННЕГО СГОРАНИЯ, ПРЕЖДЕ ВСЕГО ТРАНСПОРТНОГО СРЕДСТВА, БЛОК УПРАВЛЕНИЯ И ДВИГАТЕЛЬ ВНУТРЕННЕГО СГОРАНИЯ
(57) Реферат:
При осуществлении способа диагностики каталитического нейтрализатора ДВС, предназначенного для установки на транспортном средстве, топливо впрыскивают непосредственно в камеру сгорания в первом режиме работы на такте впуска и во втором режиме работы на такте сжатия и воспламеняют, а образующиеся при сгорании топлива отработавшие газы (ОГ) подают в каталитический нейтрализатор, во втором режиме работы непосредственно после сгорания дополнительно впрыскивают топливо, измеряют температуру ОГ в каталитическом нейтрализаторе или за ним и измеренную температуру сравнивают с пороговым значением. Представлена конструкция ДВС, в котором реализуется указанный способ диагностики, и блок управления для диагностики каталитического нейтрализатора. Такое выполнение позволяет определить степень старения катализатора. 3 н. и 4 з.п. ф-лы, 2 ил.

Настоящее изобретение относится к способу управления работой двигателя внутреннего сгорания (ДВС), прежде всего ДВС транспортного средства, при осуществлении которого топливо непосредственно впрыскивают в камеру сгорания в первом режиме работы на такте впуска и во втором режиме работы на такте сжатия и воспламеняют, а образующиеся при таком сгорании отработавшие газы (ОГ) подают в каталитический нейтрализатор. Изобретение относится далее к блоку управления для ДВС, прежде всего ДВС транспортного средства, а также к двигателю внутреннего сгорания, прежде всего транспортного средства.
Подобные способ, блок управления и ДВС известны по применению, например, так называемых систем с непосредственным впрыскиванием бензина и описаны, в частности, в US 5967113. В таких системах топливо впрыскивается в камеру сгорания ДВС на такте впуска в режиме с гомогенным смесеобразованием или такте сжатия в режиме с послойным смесеобразованием. Режим с гомогенным смесеобразованием предусмотрен преимущественно для работы ДВС при полной нагрузке, тогда как режим с послойным смесеобразованием используется при работе ДВС на холостом ходу и в диапазоне частичных нагрузок. Переключение с одного из указанных режимов на другой происходит в подобном ДВС с непосредственным впрыскиванием топлива, например, в зависимости от требуемого крутящего момента.
Для работы прежде всего в режиме с послойным смесеобразованием необходимо наличие каталитического нейтрализатора, способного промежуточно накапливать в катализаторе-накопителе образующиеся оксиды азота с целью их восстановления при последующей работе ДВС в режиме с гомогенным смесеобразованием. Подобный катализатор-накопитель аккумулирует оксиды азота при работе ДВС в режиме с послойным смесеобразованием и снова высвобождает их при работе ДВС в режиме с гомогенным смесеобразованием. Такой процесс накопления и высвобождения оксидов азота, а также связанное с таким процессом превращение этих оксидов азота в азот и кислород приводит к старению каталитического нейтрализатора.
В основу настоящего изобретения была положена задача разработать такой способ управления работой катализатора-накопителя для ДВС, который позволял бы определять степень старения такого катализатора-накопителя, а также создать пригодные для этой цели блок управления для диагностики каталитического нейтрализатора ДВС и собственно ДВС.
Эта задача в отношении указанного в начале описания типа способа решается согласно изобретению благодаря тому, что во втором режиме работы ДВС непосредственно после сгорания дополнительно впрыскивают топливо, измеряют температуру ОГ в каталитическом нейтрализаторе или за ним и измеренную температуру сравнивают с пороговым значением.
Образующиеся при работе ДВС отработавшие газы содержат токсичные компоненты, которые подвергаются каталитическому превращению в каталитическом нейтрализаторе в безвредные вещества. При этом речь идет прежде всего о таких токсичных компонентах, как несгоревшие углеводороды и моноксид углерода. При таком каталитическом превращении этих токсичных компонентов происходит повышение температуры образующихся ОГ. Однако по мере старения каталитического нейтрализатора и, как следствие, снижения его каталитической активности уровень, до которого повышается температура, постепенно снижается. Поэтому существует принципиальная возможность использовать подобное повышение температуры в качестве критерия оценки степени старения каталитического нейтрализатора.
Указанное повышение температуры в принципе происходит и без дополнительного впрыскивания топлива. Однако в этом случае и прежде всего при значительной степени старения каталитического нейтрализатора подобное повышение температуры столь незначительно, что на его основании уже становится невозможным определять с высокой достоверностью степень старения каталитического нейтрализатора.
Впрыскивание же дополнительного количества топлива приводит к дополнительному каталитическому превращению ОГ и тем самым к дополнительному повышению их температуры. В результате появляется возможность с более высокой достоверностью и надежностью определять степень старения каталитического нейтрализатора.
Согласно одному из предпочтительных вариантов осуществления изобретения предлагается измерять повышение температуры и сравнивать его с повышением температуры, измеренным на новом или неисправном каталитическом нейтрализаторе, и затем сравнивать полученную при таком сравнении разность с верхним, соответственно нижним пороговым значением. Подобный подход позволяет простым путем определять тот момент, в который старение каталитического нейтрализатора достигло предельно допустимой степени.
Согласно еще одному предпочтительному варианту предлагается аналогичным образом измерять повышение температуры и сравнивать его со смоделированным повышением температуры, а затем сравнивать полученную при таком сравнении разность с верхним пороговым значением.
В другом предпочтительном варианте осуществления изобретения предлагается измерять максимальную температуру и сравнивать ее с нижним пороговым значением. При подобном подходе обеспечивается наиболее простое и быстрое осуществление предлагаемого в изобретении способа.
Дополнительно впрыскиваемое топливо наиболее предпочтительно не подвергать воспламенению. В результате несгоревшее топливо попадает в виде несгоревших углеводородов, соответственно моноксида углерода непосредственно в выпускной трубопровод и в каталитический нейтрализатор, что приводит к повышению в нем температуры.
Особое значение имеет реализация предлагаемого в изобретении способа на базе элемента управления, предназначенного для блока управления ДВС, прежде всего ДВС транспортного средства. При этом в памяти такого элемента управления хранится программа, ориентированная на выполнение в вычислительном устройстве, прежде всего в микропроцессоре, и пригодная для осуществления предлагаемого в изобретении способа.
Задача изобретения решается также с помощью предлагаемого в изобретении блока управления для диагностики каталитического нейтрализатора двигателя внутреннего сгорания (ДВС), прежде всего ДВС транспортного средства, при этом в указанном ДВС предусмотрена возможность впрыскивания топлива непосредственно в его камеру сгорания в первом режиме работы на такте впуска и во втором режиме работы на такте сжатия и воспламенения этого топлива, а также предусмотрена возможность подачи образующихся при сгорании отработавших газов (ОГ) в каталитический нейтрализатор. Согласно изобретению он выполнен с возможностью обеспечивать во втором режиме работы дополнительное впрыскивание топлива непосредственно после сгорания, измерять температуру ОГ в каталитическом нейтрализаторе или за ним и сравнивать эту температуру с пороговым значением.
Поставленная в изобретении задача решается также с помощью предлагаемого двигателя внутреннего сгорания, прежде всего транспортного средства, в котором предусмотрена возможность впрыскивания топлива непосредственно в камеру сгорания в первом режиме работы на такте впуска и во втором режиме работы на такте сжатия и воспламенения этого топлива, а также предусмотрена возможность подачи образующихся при сгорании отработавших газов (ОГ) в каталитический нейтрализатор и который оснащен блоком управления для диагностики каталитического нейтрализатора. Согласно изобретению указанный блок управления выполнен с возможностью обеспечивать во втором режиме работы дополнительное впрыскивание топлива непосредственно после сгорания, измерять температуру ОГ в каталитическом нейтрализаторе или за ним и сравнивать эту температуру с пороговым значением.
Другие отличительные особенности, возможности применения и преимущества изобретения рассмотрены ниже на примере некоторых вариантов его осуществления со ссылкой на прилагаемые чертежи. При этом все рассмотренные в описании или представленные на чертежах отличительные признаки индивидуально и в любых сочетаниях характеризуют объект изобретения независимо от их компоновки в пунктах формулы изобретения или ссылки на них, а также независимо от их формулировки, соответственно представления в описании и на чертежах.
На прилагаемых к описанию чертежах, в частности, показано:
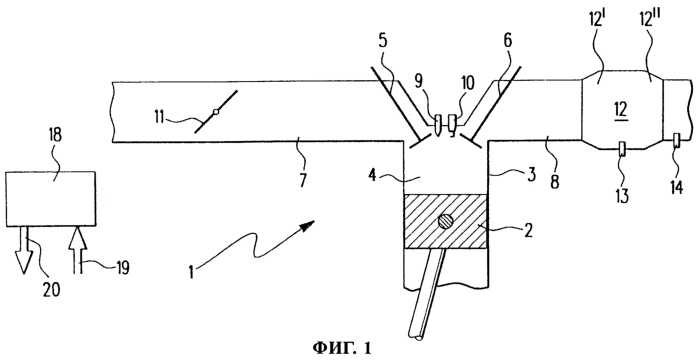
на фиг.1 – схематичное изображение одного из вариантов выполнения предлагаемого в изобретении двигателя внутреннего сгорания и
на фиг.2 – график, отражающий повышение температуры при работе ДВС, показанного на фиг.1.
На фиг.1 схематично показан устанавливаемый на транспортном средстве двигатель 1 внутреннего сгорания (ДВС), в цилиндре 3 которого с возможностью возвратно-поступательного движения установлен поршень 2. В цилиндре 3 имеется камера 4 сгорания, которая ограничена, в частности, поршнем 2, впускным клапаном 5 и выпускным клапаном 6. Впускной клапан 5 управляет соединением цилиндра с впускным трубопроводом 7, а выпускной клапан 6 управляет его соединением с выпускным трубопроводом 8.
В зоне впускного клапана 5 и выпускного клапана 6 в камеру 4 сгорания выступают клапанная форсунка 9 и свеча 10 зажигания. Клапанная форсунка 9 служит для впрыскивания топлива в камеру 4 сгорания. Свеча 10 зажигания предназначена для воспламенения топлива в камере 4 сгорания.
Во впускном трубопроводе 7 расположена поворотная дроссельная заслонка 11, регулирующая поступление воздуха в этот впускной трубопровод 7. Количество поступающего воздуха зависит от углового положения дроссельной заслонки 11. В выпускном трубопроводе 8 расположен каталитический нейтрализатор 12, служащий для нейтрализации отработавших газов (ОГ), образующихся при сгорании топлива.
В рассматриваемом варианте каталитический нейтрализатор 12 представляет собой трехкомпонентный каталитический нейтрализатор 12’, объединенный с катализатором-накопителем 12’’. Очевидно, однако, что возможно также применение каталитических нейтрализаторов иных типов и/или различных их сочетаний. Так, например, в системе выпуска ОГ могут быть предусмотрены дополнительный каталитический нейтрализатор, используемый в режиме пуска и прогрева двигателя, и основной каталитический нейтрализатор и иные их комбинации. Существенное значение при этом имеет лишь тот факт, что каталитический нейтрализатор 12 должен обеспечивать обработку и прежде всего каталитическое превращение токсичных компонентов ОГ, образующихся при работе ДВС 1, в безвредные вещества.
В каталитическом нейтрализаторе 12 предусмотрен датчик 13 температуры. Альтернативно или дополнительно к этому может быть предусмотрен датчик 14 температуры, располагаемый в выпускном трубопроводе непосредственно за каталитическим нейтрализатором 12.
На вход блока 18 управления поступают сигналы 19, характеризующие измеренные различными датчиками рабочие параметры ДВС 1. Блок 18 управления формирует выходные сигналы 20, которые в виде управляющих воздействий, подаваемых на приводные и/или исполнительные механизмы, позволяют влиять на режим работы ДВС 1. Блок 18 управления предназначен, в частности, для управления рабочими параметрами ДВС 1 и/или для их регулирования. Для этой цели в блоке 18 управления предусмотрен микропроцессор, в памяти которого, выполненной, в частности, в виде флэш-памяти, хранится программа, на основании которой осуществляются указанные процессы управления и/или регулирования.
В первом режиме работы ДВС 1, так называемом режиме с гомогенным смесеобразованием, происходит частичное открытие, соответственно закрытие дроссельной заслонки 11 в зависимости от требуемой величины крутящего момента. Топливо впрыскивается клапанной форсункой 9 в камеру 4 сгорания при совершении поршнем 2 хода впуска. Воздух, одновременно впускаемый дроссельной заслонкой 11, завихряет впрыскиваемое топливо, которое в результате практически равномерно распределяется по камере 4 сгорания. После этого на такте сжатия происходит сжатие топливовоздушной смеси, которая в последующем воспламеняется свечой 10 зажигания. Расширяющиеся газы, которые образуются в результате воспламенения топлива, создают давление, под действием которого поршень 2 приводится в движение. Создаваемый при этом крутящий момент зависит в режиме с гомогенным смесеобразованием, в частности, от углового положения дроссельной заслонки 11. С целью снижения количества образующихся при сгорании топлива вредных веществ коэффициент избытка воздуха ( ) горючей смеси по возможности устанавливают равным единице.
Во втором режиме работы ДВС 1, так называемом режиме работы с послойным смесеобразованием, дроссельная заслонка 11 открыта на достаточно большую величину. При этом топливо впрыскивается клапанной форсункой 9 в камеру 4 сгорания при совершении поршнем 2 хода сжатия в определенное место непосредственно вблизи от свечи 10 зажигания, а также в некоторый заданный момент времени, предшествующий моменту зажигания. Затем топливо воспламеняется свечой 10 зажигания с образованием газов, которые, расширяясь, на следующем такте приводят поршень 2 в движение. В режиме с послойным смесеобразованием создаваемый крутящий момент в значительной степени зависит от количества впрыснутого топлива. Режим с послойным смесеобразованием предназначен в основном для работы ДВС 1 на холостом ходу и в диапазоне частичных нагрузок.
При работе двигателя в режиме с послойным смесеобразованием катализатор-накопитель 12’’ каталитического нейтрализатора 12 накапливает оксиды азота. В последующем режиме с гомогенным смесеобразованием оксиды азота вновь высвобождаются из катализатора-накопителя 12’’ и восстанавливаются в трехкомпонентном каталитическом нейтрализаторе 12’.
В процессе подобного непрерывного накопления и высвобождения оксидов азота в катализаторе-накопителе 12’’ с течением времени накапливается и поглощаемая им сера. В результате способность катализатора-накопителя 12’’ аккумулировать оксиды азота снижается, что в последующем называется “старением” этого катализатора-накопителя. Продолжительное превращение определенных компонентов ОГ в трехкомпонентном каталитическом нейтрализаторе 12’, в частности, в азот и кислород приводит к снижению его каталитической активности, т.е. способности катализировать указанное превращение, и тем самым к его старению.
Реакция каталитического превращения ОГ в трехкомпонентном каталитическом нейтрализаторе 12’ носит экзотермический характер, и поэтому при ее протекании выделяется тепло. В результате повышается и температура ОГ, протекающих через каталитический нейтрализатор 12. Подобное повышение температуры регистрируется датчиком 13 температуры и/или датчиком 14 температуры. Одновременно из-за экзотермического характера указанной реакции повышается и температура самого каталитического нейтрализатора 12, что альтернативно или дополнительно регистрируется датчиком 13 температуры, а также – при его наличии – датчиком 14 температуры.
Однако обусловленное экзотермической реакцией повышение температуры не настолько велико, чтобы его можно было обнаружить с достаточно высокой степенью достоверности.
По этой причине при работе ДВС 1 в режиме с послойным смесеобразованием блок 18 управления непосредственно после сгорания горючей смеси инициирует дополнительное впрыскивание топлива в камеру 4 сгорания. Однако это топливо не воспламеняется. В результате это топливо поступает несгоревшим в выпускной трубопровод 8 и в каталитический нейтрализатор 12. Такое топливо из-за наличия в системе выпуска ОГ определенного количества кислорода и из-за преобладания в ней повышенной температуры реагирует в выпускном трубопроводе 8 и каталитическом нейтрализаторе 12 с этим кислородом. В результате температура ОГ в выпускном трубопроводе и в каталитическом нейтрализаторе 12 повышается.
Находящиеся в выпускном трубопроводе 8 ОГ, имеющие повышенную температуру, поступают также в каталитический нейтрализатор 12. В этом нейтрализаторе происходит дальнейшее повышение температуры, обусловленное каталитическим превращением ОГ, образовавшихся в результате дополнительного впрыскивания топлива. Тем самым при каталитическом превращении ОГ в каталитическом нейтрализаторе 12 его температура, а также температура ОГ повышаются до более высокого уровня.
Помимо этого более высокая температура поступающих в каталитический нейтрализатор 12 ОГ приводит также к происходящему в результате каталитического превращения повышению температуры ОГ в этом каталитическом нейтрализаторе 12 до более высокого уровня.
Тем самым дополнительное впрыскивание топлива непосредственно после сгорания горючей смеси при работе ДВС в режиме с послойным смесеобразованием в целом позволяет повышать до более высокого уровня температуру ОГ, которая возрастает в результате их превращения в каталитическом нейтрализаторе 12.
По мере старения каталитического нейтрализатора 12’ его способность катализировать превращение проходящих через него ОГ снижается. В результате снижается и интенсивность взаимодействия топлива с кислородом в каталитическом нейтрализаторе 12, и, как следствие, снижается уровень, до которого при таком взаимодействии повышается температура. Подобное снижение способности каталитического нейтрализатора катализировать превращение ОГ приводит также к снижению интенсивности обусловленной таким превращением экзотермической реакции, а тем самым и к снижению уровня, до которого в результате этой реакции повышается температура.
Блок 18 управления непрерывно контролирует фактически регистрируемое в процессе работы ДВС 1 повышение температуры. Подобный контроль может состоять в сравнении фактического повышения температуры с повышением температуры, зарегистрированным для нового трехкомпонентного каталитического нейтрализатора 12’, соответственно для нового каталитического нейтрализатора 12. Альтернативно или дополнительно к этому можно сравнивать фактическое повышение температуры с повышением температуры, зарегистрированным для неисправного трехкомпонентного каталитического нейтрализатора 12’, соответственно каталитического нейтрализатора 12. Аналогичным образом альтернативно или дополнительно можно сравнивать фактическое повышение температуры со смоделированным повышением температуры.
При контроле, основанном на сравнении с новым каталитическим нейтрализатором 12, разность между фактически зарегистрированным повышением температуры и повышением температуры, зарегистрированным для нового каталитического нейтрализатора 12, постоянно увеличивается. Когда эта разность между фактическим повышением температуры и повышением температуры, зарегистрированным для нового каталитического нейтрализатора 12, превысит верхнее пороговое значение, блок 18 управления делает вывод о том, что старение каталитического нейтрализатора 12 достигло степени, при которой он уже не в состоянии обеспечить достаточную нейтрализацию ОГ. На основании этого блок 18 управления выдает, например, сигнал, указывающий водителю или мастеру по техническому обслуживанию автомобиля на необходимость замены каталитического нейтрализатора 12 на новый.
При контроле, основанном на сравнении с неисправным каталитическим нейтрализатором 12, разность между фактически зарегистрированным повышением температуры и повышением температуры, зарегистрированным для неисправного каталитического нейтрализатора 12, постоянно уменьшается, и поэтому такая разность сравнивается с нижним пороговым значением, по достижении которого каталитический нейтрализатор 12 необходимо заменить на новый.
При контроле, основанном на моделировании повышения температуры, разность между этим смоделированным повышением температуры и фактически зарегистрированным повышением температуры также постоянно увеличивается, и поэтому такая разность сравнивается с верхним пороговым значением, по достижении которого каталитический нейтрализатор 12 необходимо заменить на новый.
Альтернативно или дополнительно к этому контроль можно осуществлять сравнением абсолютных температур. Подобный подход проиллюстрирован на фиг.2.
На фиг.2 представлена зависимость температуры ОГ на выходе каталитического нейтрализатора 12 от времени. До момента t1 ДВС 1 работает в режиме с послойным смесеобразованием. Примерно в момент t1 в камеру сгорания непосредственно по завершении процесса сгорания в ней горючей смеси дополнительно впрыскивается топливо. Такое дополнительное впрыскивание топлива и происходящее в результате него дополнительное превращение каталитическим нейтрализатором 12 образующихся ОГ приводят к дополнительному повышению температуры ОГ.
Указанное дополнительное повышение температуры, обусловленное дополнительным впрыскиванием топлива, равнозначно повышению температуры до максимального значения, регистрируемого датчиком 13 температуры и/или датчиком 14 температуры. С течением времени эта максимальная температура из-за старения каталитического нейтрализатора 12 непрерывно снижается.
До тех пор пока каталитический нейтрализатор 12 еще не достиг предельно допустимой степени старения и поэтому еще обладает достаточной каталитической активностью, максимальная температура всегда превышает нижнее пороговое значение 15. Этому состоянию соответствует кривая, обозначенная на фиг.2 позицией 16.
Когда же каталитическая активность каталитического нейтрализатора 12 снижается до уровня, при котором он уже не в состоянии обеспечить необходимое превращение ОГ, т.е. когда каталитический нейтрализатор 12 достигает предельно допустимой степени старения и тем самым не пригоден для дальнейшего использования, максимальная температура уже не превышает вышеуказанного порогового значения 15. Этому состоянию соответствует кривая, обозначенная на фиг.2 позицией 17.
Начиная с момента t2, ДВС 1 вновь переводится блоком 18 управления на работу в режиме с послойным смесеобразованием.
Рассмотренный выше способ можно использовать для непрерывного контроля ДВС 1 в процессе его работы. Альтернативно или дополнительно к этому такой способ можно использовать в диагностических целях для определения степени старения каталитического нейтрализатора 12.
Формула изобретения
1. Способ диагностики каталитического нейтрализатора (12) двигателя (1) внутреннего сгорания (ДВС), прежде всего ДВС транспортного средства, при осуществлении которого топливо впрыскивают непосредственно в камеру (4) сгорания в первом режиме работы на такте впуска и во втором режиме работы на такте сжатия и воспламеняют, а образующиеся при сгорании топлива отработавшие газы (ОГ) подают в каталитический нейтрализатор (12), отличающийся тем, что во втором режиме работы непосредственно после сгорания дополнительно впрыскивают топливо, измеряют температуру ОГ в каталитическом нейтрализаторе (12) или за ним и измеренную температуру сравнивают с пороговым значением.
2. Способ по п.1, отличающийся тем, что измеряют повышение температуры, которое сравнивают с повышением температуры, измеренным на новом или неисправном каталитическом нейтрализаторе, (12), и полученную при таком сравнении разность сравнивают с верхним, соответственно нижним пороговым значением.
3. Способ по п.1 или 2, отличающийся тем, что измеряют повышение температуры, которое сравнивают со смоделированным повышением температуры, и полученную при таком сравнении разность сравнивают с верхним пороговым значением.
4. Способ по любому из пп.1-3, отличающийся тем, что измеряют максимальную температуру, которую сравнивают с нижним пороговым значением (15).
5. Способ по любому из пп.1-4, отличающийся тем, что дополнительно впрыскиваемое топливо не воспламеняют.
6. Блок (18) управления для диагностики каталитического нейтрализатора (12) двигателя (1) внутреннего сгорания (ДВС), прежде всего ДВС транспортного средства, при этом в указанном ДВС (1) предусмотрена возможность впрыскивания топлива непосредственно в его камеру (4) сгорания в первом режиме работы на такте впуска и во втором режиме работы на такте сжатия и воспламенения этого топлива, а также предусмотрена возможность подачи образующихся при сгорании отработавших газов (ОГ) в каталитический нейтрализатор (12), отличающийся тем, что он выполнен с возможностью обеспечивать во втором режиме работы дополнительное впрыскивание топлива непосредственно после сгорания, измерять температуру ОГ в каталитическом нейтрализаторе (12) или за ним и сравнивать эту температуру с пороговым значением.
7. Двигатель (1) внутреннего сгорания, прежде всего транспортного средства, в котором предусмотрена возможность впрыскивания топлива непосредственно в камеру (4) сгорания в первом режиме работы на такте впуска и во втором режиме работы на такте сжатия и воспламенения этого топлива, а также предусмотрена возможность подачи образующихся при сгорании отработавших газов (ОГ) в каталитический нейтрализатор (12), и который оснащен блоком (18) управления для диагностики каталитического нейтрализатора (12), отличающийся тем, что указанный блок (18) управления выполнен с возможностью обеспечивать во втором режиме работы дополнительное впрыскивание топлива непосредственно после сгорания, измерять температуру ОГ в каталитическом нейтрализаторе (12) или за ним и сравнивать эту температуру с пороговым значением.
РИСУНКИ
MM4A – Досрочное прекращение действия патента СССР или патента Российской Федерации на изобретение из-за неуплаты в установленный срок пошлины за поддержание патента в силе
Дата прекращения действия патента: 18.11.2006
Извещение опубликовано: 20.07.2010 БИ: 20/2010
|