|
(21), (22) Заявка: 2003117552/06, 11.06.2003
(24) Дата начала отсчета срока действия патента:
11.06.2003
(43) Дата публикации заявки: 20.01.2005
(45) Опубликовано: 10.07.2005
(56) Список документов, цитированных в отчете о поиске:
RU 2119070 C1, 20.09.1998. RU 2029114 C1, 20.02.1995. RU 24705 U1, 20.08.2002. DE 2624640 A1, 08.12.1977. RU 2037631 C1, 19.06.1995. FR 2539814 A, 27.07.1984.
Адрес для переписки:
241037, г.Брянск, пр. Ст. Димитрова, 3, БГИТА
|
(72) Автор(ы):
Тайц О.Г. (RU)
(73) Патентообладатель(и):
Тайц Олег Григорьевич (RU)
|
(54) ДВИГАТЕЛЬ ВНУТРЕННЕГО СГОРАНИЯ
(57) Реферат:
Изобретение относится к области машиностроения, а именно к двигателям с качающимися поршнями. Техническим результатом является упрощение конструкции двигателя и повышение его надежности. Сущность изобретения заключается в том, что соосные рабочие камеры, полученные вращением некоторой фигуры вокруг внешней оси, имеют прямоугольную в сечении форму. Одной из стенок рабочего объема является возвратно-поворотный полый вал, жестко связанный с поршнями и коромыслом, передающим через шатун движение на выходной вал. Распределительный механизм выполнен в виде трубы, вращающейся внутри полого вала. Причем в стенках трубы и полого вала имеются отверстия, которые периодически совмещаются за счет возвратно-поворотного движения полого вала и вращательного движения трубы, обеспечивая перетекание свежего и сгоревшего заряда через выполненные в нем отверстия для выполнения четырех тактов двигателя. 1 з.п. ф-лы, 8 ил.

Изобретение относится к области двигателестроения, а именно к устройствам, преобразующим энергию сгорания топлива в механическую энергию вращения.
Известен двигатель внутреннего сгорания с двумя качающимися поршнями в каждом сечении, полым валом и четырьмя тороидальными рабочими камерами переменного объема, в котором каждая камера имеет щель, в которой перемещается кольцо, жестко связанное с поршнями и полым валом и обеспечивающее герметичность рабочих камер, а кинематическая связь поршней и выходного вала выполнена в виде сдвоенного кривошипно-шатунного механизма с общим ползуном, при этом кривошип одного механизма жестко соединен с полым внутренним валом, а кривошип другого – с выходным валом. Двигатель имеет два распределительных вала, управляющих клапанами впуска и выпуска заряда [1].
Недостатком этого двигателя является сложность конструкции кинематического механизма для преобразования возвратно-поворотного движения полого вала во вращательное движение выходного вала.
Известен двигатель внутреннего сгорания с тороидальными камерами сгорания и качающимися поршнями, которые кинематически соединяются с выходным валом с помощью кривошипно-коромыслового механизма, а сам вал выполнен коленчатым. В торцах тороидальных камер размещаются клапаны впуска и выпуска заряда, управляемые кулачковым распределительным механизмом [2].
Недостатком этого двигателя является сложность связи через кольца качающихся поршней с полым валом и сложность конструкции распределительного механизма.
Задача изобретения – упрощение связи качающихся поршней с полым валом и обеспечение бесконтактного управления движением заряда.
Технический результат – упрощение конструкции и технологии изготовления двигателя с качающимися поршнями и повышение его надежности.
Для достижения этого в двигателе внутреннего сгорания, содержащем
рабочие камеры, форма которых образована поворотом некоторой фигуры вокруг продольной оси симметрии, размещенные в них поршни, связанные жестко с полым валом и кинематически с валом кривошипно-коромыслового механизма, и распределительный механизм,
рабочие камеры выполнены прямоугольной формы в поперечном сечении, расположены соосно, попарно и с угловым смещением относительно друг друга,
полый вал снабжен отверстиями для прохода заряда, распределительный механизм выполнен в виде трубы с отверстиями впуска и выпуска заряда и полостями и каналами для заряда, при этом полый вал и труба установлены коаксиально с возможностью периодического совмещения в них отверстий для прохода заряда, а вал кривошипно-коромыслового механизма кинематически связан с трубой с передаточным отношением 4:1,
выходной вал двигателя жестко связан с трубой, уплотнения для соприкасающихся стенок у поршней снабжены канавками для П-образных в сечении уплотнительных элементов с упругой прижимной пластиной внутри.
Кроме того, в теле полого вала и поршней выполнены каналы для подачи охлаждения и смазки.
Существенность отличий обосновывается следующим образом:
прямоугольная форма камеры упрощает конструкцию и процесс ее изготовления,
выполнение распределительного механизма в виде соприкасающихся трубы и полого вала с отверстиями в их стенках упрощает конструкцию, позволяя избавиться от конструктивной сложности обычного распределительного механизма (кулачков, распределительного вала, стержней и клапанов),
медленность вращения трубы по сравнению с качанием полого вала позволяет за счет соответствующего расположения отверстий на стенке внутренней трубы обеспечить чередование открывания и закрывания отверстий при нахождении поршней вблизи мертвых точек, т.е. выполняет роль распределительного механизма,
уплотнения в канавках с П-образными уплотнительными элементами и с упругой прижимной лентой внутри них связаны с необходимостью обеспечивать герметичность рабочих камер, имеющих три неподвижные стенки.
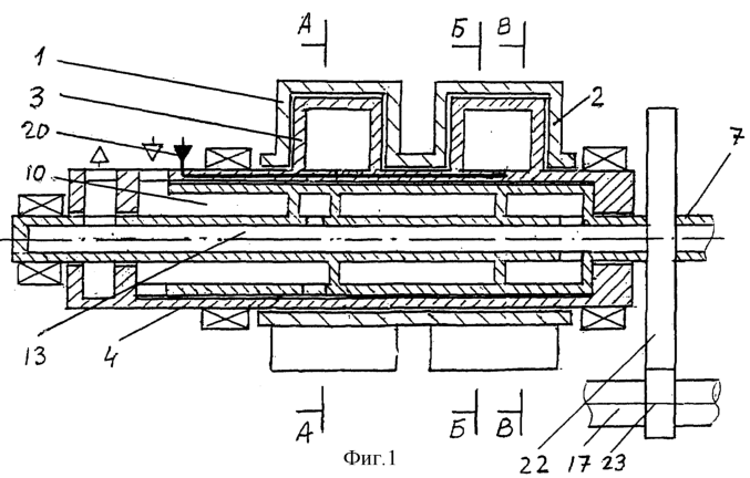
На фиг.1 представлен продольный разрез двигателя (без распределительного механизма) в момент равноудаления поршней от торцов, сечения А-А, Б-Б и В-В проведены через отверстия впуска и выпуска заряда в рабочих камерах,
на фиг.2 – поперечное сечение по А-А в момент равноудаления поршня от торцов,
на фиг.3 – поперечное сечение двигателя по Б-Б через отверстия впуска в момент удаления поршня от правого торца (впуск свежего заряда в правый объем),
на фиг.4 – поперечный разрез двигателя по Б-Б через отверстия впуска в момент удаления поршня от левого торца (впуск свежего заряда в левый рабочий объем),
на фиг.5 – поперечное сечение двигателя по В-В через отверстия выпуска в момент приближения поршня к правому торцу (выпуск сгоревшего заряда из правого рабочего объема),
на фиг.6 – внешний пространственный вид возвратно-поворотной части двигателя без коромысла (поршни и полый вал),
на фиг.7 – пространственная кинематическая схема двигателя,
на фиг.8-а – сечение П-образного уплотнения на поршне,
на фиг.8-б – сечение стенки поршня по Г-Г.
На фиг.2-6 звенья кривошипно-коромыслового механизма не указаны. Для наглядности зазоры между соприкасающимися поверхностями резко увеличены. Подача охлаждения на фиг.1 указана схематически одной утолщенной линией.
Двигатель содержит две рабочие камеры 1 и 2 прямоугольного поперечного сечения с двумя переменными объемами каждая, качающиеся поршни 3, жестко закрепленные на полом валу 4 с отверстиями для впуска 5 и выпуска 6 заряда, труба 7 с отверстиями впуска 8 и выпуска 9 заряда. Внутри трубы 7 имеются полости для свежего 10 и сгоревшего 11 зарядов, каналы для этих зарядов 12 и 13, коромысло 14 на полом валу 4, шатун 15, вращающийся кривошип 16, вал 17 кривошипно-коромыслового механизма, П-образное уплотнение 18 с упругой прижимной пластиной 19 для соприкасающихся стенок, каналы подачи охлаждения 20 и смазки 21. Передача вращения с передаточным отношением 4:1 от вала 17 кривошипно-коромыслового механизма к трубе 7 осуществляется с помощью шестерен 22 и 23. Выходной вал 24 жестко связан с трубой 7 и передает замедленное в четыре раза вращение на выход.
Двигатель работает следующим образом. Каждый переменный объем рабочих камер 1 и 2 двигателя работает по четырехтактной схеме – впуск заряда, сжатие его, поджигание с рабочим ходом и выпуск отработавшего заряда. Впуск и выпуск осуществляются за счет периодического совмещения отверстий 8 и 9 в трубе 7 и отверстий 5 и 6 в полом валу 4, а сжатие и рабочий ход создаются в замкнутых объемах между поршнями 3 и торцами рабочих камер 1 и 2. Каждый переменный объем по одну сторону качающегося поршня 3 работает как переменный объем в обычном, прямолинейном двигателе внутреннего сгорания, так что в двух рабочих камерах 1 и 2 теперь можно осуществлять рабочий ход и сжатие заряда по разные стороны от оси качания, т.е. несколько разгрузить подшипники и тем самым увеличить срок службы двигателя. Качательное движение полого вала 4 с помощью кривошипа 14, шатуна 15 и кривошипа 16 преобразуется во вращательное движение вала 17 кривошипно-коромыслового механизма. Вращение вала 17 с помощью шестеренной передачи 22-23 передается на трубу 7 и создает вращение этой трубы, замедленное в четыре раза. Такое замедление позволяет нужным образом управлять перетеканием заряда. Одновременно вращение трубы 7 обеспечивает замедленное вращение выходного вала 24.
Рабочий ход поршня 3 (через жесткую связь поршней в одном из четырех объемов) создает в других трех объемах пары камер 1 и 2 оставшиеся такты – сжатие одного заряда, впуск другого и выпуск третьего. Перемещение поршней 3, т.е. полого вала 4 относительно трубы 7, создает нужное совмещение отверстий в них и тем самым обеспечивает нужное управление впуском и выпуском зарядов.
После достижения поршнями 3 торцов камер процесс повторяется в обратном направлении. Таким образом, поршни 3 возвратно-поворотно движутся между торцами, обеспечивая через полый вал 4 качательное движение коромысла 14, далее через шатун 15 вращение кривошипа 16, через шестеренчатую передачу 22-23 замедленное вращение трубы 7 и жестко связанного с ней выходного вала 24.
Одному полному обороту трубы 7 соответствуют два полных качания полого вала 4, так что при соответствующем расположении отверстий 8 и 9 на трубе 7 и отверстий 5 и 6 на полом валу 4 можно обеспечить чередование совпадения-несовпадения соответствующих отверстий и значит обеспечить определенный режим перетекания заряда для выполнения четырехтактного рабочего цикла двигателя. Существенно, что совпадение отверстий вблизи мертвой точки хода поршня 3 (предельном положении коромысла 14) за счет замедленного в четыре раза вращения полого вала 4 будет осуществляться через раз, обеспечивая перекрытие отверстий при переходе от сжатия к рабочему ходу.
Термодинамика такого двигателя с качательным движением поршня не отличается от термодинамики обычного двигателя с возвратно-поступательным движением поршня, а динамика нагрузок легко подсчитывается по формулам теоретической механики.
Таким образом, двигатель содержит четыре кинематических звена, обеспечивающих осуществление сразу трех необходимых процессов – термодинамического, кинематического и распределительного:
– одно возвратно-поворотное звено (жестко связанные между собой полый вал 4, коромысло 14, поршни 3). Это звено кинематически обеспечивает преобразование химической энергии заряда в качательное движение поршня 3 за счет создания переменных объемов в камерах 1 и 2;
– два вращающихся звена (труба 7 с жестко связанным выходным валом 24 и кривошип 16 с валом 17). Эти два звена связаны между собой шестеренчатой передачей для управления распределительным механизмом. Эта передача обеспечивает замедленное движение трубы 7 по сравнению с полым валом 4. Труба 7 обеспечивает совмещение своих отверстий 8 и 9 с отверстиями 5 и 6 в полом валу 4 для управления движением зарядов и одновременно передает движение на выходной вал 24;
– шатун 15, передающий движение от качающегося коромысла 14 (возвратно-поворотного звена) вращающемуся кривошипу 16. При качательном движении тела его инерционность определяется уже не массой, а моментом инерции (связанным с массой и радиусом ротора в четвертой степени), т.е. при небольшом диаметре двигателя становится сравнительно малой. Это обстоятельство позволяет иметь достаточно большое число оборотов в минуту.
Малое количество кинематических звеньев, т.е. малое количество кинематических соединений между ними, заметно уменьшает суммарный износ в шарнирах и облегчает подачу охлаждения и смазки к поршням.
Конструкция двигателя обеспечивает и возможность “нанизывания” на полый вал 4 нескольких секций из таких пар рабочих камер 1 и 2 без создания новых кинематических звеньев и шарнирных соединений, что уменьшает механический износ и массу двигателя, повышает его КПД и срок службы.
Источники информации.
1. Патент РФ N 2119070, F 02 В 53/00, 1996.
2. Патент РФ N 2191275, F 02 В 53/00, F 01 С 9/00, 1999.
Формула изобретения
1. Двигатель внутреннего сгорания, содержащий рабочие камеры, форма которых образована поворотом некоторой фигуры вокруг продольной оси симметрии, размещенные в них поршни, связанные жестко с полым валом и кинематически с валом кривошипно-коромыслового механизма, и распределительный механизм, отличающийся тем, что рабочие камеры выполнены прямоугольной формы в поперечном сечении, расположены соосно, попарно и с угловым смещением относительно друг друга, полый вал снабжен отверстиями для прохода заряда, распределительный механизм выполнен в виде трубы с отверстиями впуска и выпуска заряда и полостями и каналами для заряда, при этом полый вал и труба установлены коаксиально с возможностью периодического совмещения в них отверстий для прохода заряда, а вал кривошипно-коромыслового механизма кинематически связан с трубой с передаточным отношением 4:1, выходной вал двигателя жестко связан с трубой, уплотнения для соприкасающихся стенок у поршней снабжены канавками для П-образных в сечении уплотнительных элементов с упругой прижимной пластиной внутри.
2. Двигатель по п.1, отличающийся тем, что в теле полого вала и поршней выполнены каналы для подачи охлаждения и смазки.
РИСУНКИ
MM4A Досрочное прекращение действия патента Российской Федерации на изобретение из-за неуплаты в установленный срок пошлины за поддержание патента в силе
Дата прекращения действия патента: 12.06.2005
Извещение опубликовано: 27.01.2007 БИ: 03/2007
|