|
|
(21), (22) Заявка: 2002126212/03, 02.03.2001
(24) Дата начала отсчета срока действия патента:
02.03.2001
(30) Конвенционный приоритет:
02.03.2000 US 60/186,378
(43) Дата публикации заявки: 27.02.2004
(45) Опубликовано: 10.07.2005
(56) Список документов, цитированных в отчете о поиске:
US 4839644 A, 13.06.1989. RU 2130112 C1, 10.05.1999. SU 1247521 А1, 30.07.1986. SU 941552 А, 17.07.1982. US 5130706 A1, 14.07.1992. US 5745047 A, 28.04.1998. US 5995020 A, 30.11.1999. US 5531270 A, 02.07.1996. EP 0964134 A, 15.12.1999.
(85) Дата перевода заявки PCT на национальную фазу:
02.10.2002
(86) Заявка PCT:
US 01/06747 (02.03.2001)
(87) Публикация PCT:
WO 01/65718 (07.09.2001)
Адрес для переписки:
129010, Москва, ул. Б. Спасская, 25, стр.3, ООО “Юридическая фирма Городисский и Партнеры”, пат.пов. Ю.Д.Кузнецову, рег.№ 595
|
(72) Автор(ы):
ВАЙНГАР Харолд Дж. (US), ХААС Марк Кристофер (US)
(73) Патентообладатель(и):
ШЕЛЛ ИНТЕРНЭШНЛ РИСЕРЧ МААТСХАППИЙ Б.В. (NL)
|
(54) СИСТЕМА УПРАВЛЕНИЯ СВЯЗЯМИ И ПОДАЧЕЙ ЭЛЕКТРИЧЕСКОГО ТОКА, НЕФТЯНАЯ СКВАЖИНА ДЛЯ ДОБЫЧИ НЕФТЕПРОДУКТОВ (ВАРИАНТЫ) И СПОСОБ ДОБЫЧИ НЕФТЕПРОДУКТОВ ИЗ НЕФТЯНОЙ СКВАЖИНЫ
(57) Реферат:
Изобретения относятся к области бурения и эксплуатации скважин и может быть использовано для передачи информации и электроэнергии через трубопровод. Имеется система для управления связями и подачей электрического питания, ток которого изменяется во времени, через трубопроводную структуру. Система содержит первый индукционный дроссель, второй индукционный дроссель и управляемый переключатель. Первый индукционный дроссель расположен около первого ответвления трубопроводной структуры. Второй индукционный дроссель расположен около второго ответвления трубопроводной структуры. Управляемый переключатель содержит два вывода. Первый из выводов переключателя электрически соединен с трубопроводной структурой на стороне соединения индукционных дросселей, где пересекаются первое и второе ответвления трубопроводной структуры. Второй из выводов переключателя электрически соединен с трубопроводной структурой на другой стороне, по меньшей мере, одного из индукционных дросселей. Трубопроводная структура может быть размещена внутри нефтяной скважины и может содержать обсадную колонну и эксплуатационную насосно-компрессорную колонну. Описан способ добычи нефтепродуктов из нефтяной скважины посредством такой системы. Изобретения позволяют обеспечить выборочную беспроводную передачу питания и сигналов связи с минимизацией потерь. 4 н. и 34 з.п. ф-лы, 10 ил.

Настоящее изобретение относится к системе для управляемой подачи питания и/или связи через сеть взаимосвязанных элементов трубопроводной структуры или металлической структуры при использовании отдельных управляемых переключателей и индукционных дросселей, а более точно – к нефтяной эксплуатационной скважине и способу управления работой буровой скважины, обеспечивающей управляемую скважинную переключающую схему для подачи напряжения питания и/или связи в скважинные устройства.
Предшествующий уровень техники
Известно несколько способов размещения управляемых клапанов, датчиков и других устройств в скважине на колонне насосно-компрессорных труб в буровой скважине, но во всех известных устройствах обычно используется электрический кабель, проходящий вдоль колонны насосно-компрессорных труб для подачи питания и поддержания связи с устройствами и датчиками. На практике нежелательно и трудно использовать кабель вдоль колонны насосно-компрессорных труб, совмещенный с колонной насосно-компрессорных труб или расположенный в кольце между насосно-компрессорной колонной и обсадной колонной, так как в такой системе присутствует ряд механизмов разрушения. Другие способы связи внутри ствола буровой скважины описаны в патентах США №№5493288, 5576703, 5574374, 5467083 и 5130706.
В патенте США №6070608 описан газлифтный клапан, управляемый с поверхности и используемый в нефтяных скважинах. Указанный клапан возбуждается электрогидравлическим, гидравлическим и пневмогидравлическим способом. Датчики передают данные о состоянии диафрагмового расходомера и критическом давлении флюида на панель управления, расположенную на поверхности. Электроэнергия подводится к скважинным датчикам и клапанам при помощи средства подачи электрической энергии/сигнала к клапанам/датчикам, представленного в виде электрокабеля между клапаном/датчиком, расположенным в скважине, и пультом управления на поверхности. В патенте США №6070608 конкретно не описан или не показан путь тока от устройства, расположенного в скважине, к поверхности. Электрокабель изображен в виде стандартного кабеля, т.е. удлиненной защитной трубы с расположенными в ней отдельными проводами. Но такие стандартные электрические кабели могут вызвать затруднения при разводке на больших глубинах, вокруг поворотов при изгибах скважин, вдоль многочисленных отводов скважины, имеющей многочисленные боковые ответвления и/или при параллельном расположении со спиральной эксплуатационной насосно-компрессорной колонной. Следовательно, существует потребность в системе и способе подачи питания и сигналов связи в скважинные устройства без использования отдельного электрического кабеля в виде трубы, заполненной проводами и прикрепленной к стенке продуктивной колонны.
В патенте США №4839644 описаны способ и система для беспроводной двухсторонней связи в обсадном стволе скважины. Эта система представляет собой скважинную тороидальную антенну для подачи электромагнитной энергии к волноводу с ТЕМ-модой с использованием кольца между обсадной колонной и трубопроводом. Тороидальная антенна использует электромагнитную связь, для чего требуется непроводящий флюид, например очищенная сырая нефть, в кольце между обсадной колонной и трубопроводом в качестве среды передачи, а также тороидальным резонатором и изоляторами в устье скважины. Поэтому способ и система, описанная в патенте США №4839644, являются дорогостоящими, существует проблема утечки солевого раствора в обсадную колонну и проблема скважинной двухсторонней связи. Таким образом, имеется потребность в усовершенствованной системе и способе подачи питания и сигналов связи в скважинные устройства без необходимости присутствия непроводящего флюида в кольце между обсадной колонной и насосно-компрессорной колонной.
Другие концепции скважинной связи, такие как импульсная телеметрия (патенты США №№4648471 и 5887657), показали успешную связь при низких скоростях передачи данных, но при этом имеют ограниченное применение в качестве схемы связи, где требуются высокие скорости передачи данных или нежелательно иметь сложное скважинное оборудование для импульсной телеметрии в буровой скважине. Тем не менее были предприняты попытки использовать другие способы скважинной связи, например, патенты США №№5467083, 4739325, 4578675, 5883516 и 4468665. Следовательно, имеется потребность в системе и способе подачи напряжения питания и сигналов связи в скважинные устройства с более высокими скоростями передачи данных и с доступным питанием для обеспечения работы скважинного устройства.
Поэтому существенное улучшение в работе нефтяных скважин произойдет в случае, если насосно-компрессорная колонна, обсадная колонна, нижняя труба обсадной колонны и/или другие проводники, установленные в буровой скважине, можно будет использовать в качестве проводников, обеспечивающих связь и питание, для управления и функционирования скважинных устройств и датчиков в нефтяной скважине.
Индукционные дроссели использовались совместно с чувствительными приборами для защиты от скачков тока и напряжения. Например, в большинстве персональных компьютеров для такой защиты применяется дроссель определенного типа, установленный в сетевом проводе. Такие защитные дроссели хорошо работают по своему назначению, но не пригодны для схемы питания или связи.
Краткое изложение существа изобретения
Задачей настоящего изобретения является устранение указанных недостатков.
В соответствии с одним аспектом настоящего изобретения, предложена система для управляемой связи подачи электрического питания, имеющего ток, изменяющийся во времени и протекающий через трубопроводную структуру. Система содержит первый индукционный дроссель, второй индукционный дроссель и управляемый переключатель. Первый индукционный дроссель расположен вокруг части первого ответвления трубопроводной структуры. Второй индукционный дроссель расположен вокруг части второго ответвления трубопроводной структуры. Управляемый переключатель содержит два вывода. Первый из выводов переключателя электрически связан с трубопроводной структурой на стороне соединения индукционных дросселей. Первое и второе ответвления трубопроводной структуры пересекаются на стороне соединения индукционных дросселей. Второй из выводов переключателя электрически связан с трубопроводной структурой на другой стороне по меньшей мере одного из индукционных дросселей.
В соответствии с другим аспектом настоящего изобретения, нефтяная скважина для добычи нефтепродуктов содержит трубопроводную структуру и систему управления маршрутизации связи и/или электрического питания, имеющего ток, изменяющийся во времени и протекающий через трубопроводную структуру. Трубопроводная структура размещена внутри буровой скважины. Система содержит первый индукционный дроссель, второй индукционный дроссель и управляемый переключатель. Первый индукционный дроссель расположен около первого ответвления трубопроводной структуры. Второй индукционный дроссель расположен около второго ответвления трубопроводной структуры. Управляемый переключатель содержит два вывода. Первый из выводов переключателя электрически связан с трубопроводной структурой на стороне соединения индукционных дросселей, где первое и второе ответвления трубопроводной структуры пересекаются на стороне соединения индукционных дросселей. Второй из выводов переключателя электрически связан с трубопроводной структурой на другой стороне по меньшей мере одного из индукционных дросселей.
В соответствии с еще одним аспектом настоящего изобретения, нефтяная скважина для добычи нефтепродуктов содержит обсадную колонну буровой скважины, эксплуатационную насосно-компрессорную колонну, источник питания, первый индукционный дроссель, второй индукционный дроссель, управляемый переключатель и два скважинных устройства. Обсадная колонна буровой скважины размещена в геологической формации, а эксплуатационная насосно-компрессорная колонна размещена внутри обсадной колонны. Источник питания расположен на поверхности. Источник питания электрически связан с выходом и адаптирован к цепи для подачи тока, изменяющегося во времени, в насосно-компрессорную колонну и/или обсадную колонну. Первый индукционный дроссель расположен в скважине около первого ответвления насосно-компрессорной колонны и/или обсадной колонны. Второй индукционный дроссель расположен в скважине около второго ответвления насосно-компрессорной колонны и/или обсадной колонны. Управляемый переключатель расположен в скважине и содержит два вывода. Первый из выводов переключателя электрически связан с насосно-компрессорной колонной и/или обсадной колонной на стороне соединения индукционных дросселей. Первое и второе ответвления пересекаются на стороне соединения индукционных дросселей. Второй из выводов переключателя электрически связан с насосно-компрессорной колонной и/или обсадной колонной на другой стороне первого индукционного дросселя и/или второго индукционного дросселя. Первое скважинное устройство электрически связано с первым ответвлением. Второе скважинное устройство электрически связано со вторым ответвлением.
В соответствии с еще одним аспектом настоящего изобретения, предложен способ добычи нефтепродуктов из нефтяной скважины. Способ содержит следующие этапы, порядок которых может изменяться: используют трубопроводную структуру, которая размещена внутри буровой скважины, используют источник электрического питания, расположенный на поверхности, электрически связанный с трубопроводной структурой и адаптированный для вывода тока, изменяющегося во времени, используют первый индукционный дроссель, расположенный около первого ответвления трубопроводной структуры, используют второй индукционный дроссель, расположенный около второго ответвления трубопроводной структуры, используют управляемый переключатель, содержащий два вывода переключателя, причем первый из выводов переключателя электрически связан с трубопроводной структурой на стороне соединения индукционных дросселей, первое и второе ответвления трубопроводной структуры пересекаются на стороне соединения индукционных дросселей, и второй из выводов переключателя электрически связан с трубопроводной структурой на другой стороне по меньшей мере одного из индукционных дросселей, используют скважинное устройство, которое электрически связано с трубопроводной структурой, подают ток, изменяющийся во времени, в трубопроводную структуру от источника питания, управляют положением управляемого электрического переключателя, направляют ток, изменяющийся во времени, вокруг по меньшей мере одного из индукционных дросселей в по меньшей мере одно из первого и второго ответвлений трубопроводной структуры с помощью управляемого электрического переключателя, направляют ток, изменяющийся во времени, через скважинное устройство, подают электрическое питание в скважинное устройство при добыче нефти от источника питания через трубопроводную структуру и добывают нефтепродукты из нефтяной скважины. Если второй вывод переключателя электрически подсоединен к первому ответвлению трубопроводной структуры на другой стороне первого индукционного дросселя и управляемый переключатель дополнительно содержит третий вывод переключателя, то третий вывод переключателя электрически соединяют со вторым ответвлением трубопроводной структуры на другой стороне второго индукционного дросселя. Если второй вывод переключателя электрически соединен с первым ответвлением трубопроводной структуры на другой стороне первого индукционного дросселя, то дополнительно используют второй управляемый переключатель, который размещен между трубопроводной структурой на стороне соединения второго индукционного дросселя и вторым ответвлением трубопроводной структуры на другой стороне второго индукционного дросселя так, чтобы каждый из электрически управляемых переключателей был электрически соединен параллельно и соответственно каждому из индукционных дросселей, управляют положением переключателя второго управляемого электрического переключателя.
Таким образом, настоящее изобретение предусматривает систему и способ для переключения и направления подачи питания и/или связи по сети трубопроводной структуры (например, по насосно-эксплутационной колонне и/или обсадной колонне буровой скважины). Настоящее изобретение предусматривает систему подачи питания и связи, которая позволяет обеспечить взаимные соединения каждой из N входных линий с любой одной или более М выходными линиями, где “линии” – это взаимно пересекающиеся части сети трубопроводной структуры. Съемные и переконфигурируемые индукционные дроссели обеспечивают такую подачу. Управляемые и независимо адресуемые переключатели обеспечивают переменные соединения трубопроводных структур в сети.
Одним общим признаком настоящего изобретения является возможность соединения питания и/или связи от точки к точке, где число входных линий (N) равно числу выходных линий (М), то есть M=N. Дроссели устанавливают около каждой “линии”, через которые не подают питание и/или сигналы связи. При установке дросселей общим количеством N2-N(=N(N-1)) между выбранными входными-выходными соединениями, все питание и связь эффективно блокируется. Оставшиеся N входных-выходных соединений, параллельно которым не установлены индукционные дроссели, не препятствуют передаче питания или информации. Соединение можно инициировать путем шунтирования или “замыкания накоротко” дросселя с использованием адресуемого переключателя (например, цифрового адресуемого переключателя). В случае, когда желательно иметь частичную передачу питания и связи поперек сетки размером N×N, можно установить дроссели с меньшей массой или другими магнитными свойствами, которые не полностью препятствуют передаче питания и сигналов связи.
Другим общим признаком настоящего изобретения является не блокирующая переключающая сеть, в которой любая входная линия (N) может быть подсоединена к множеству выходных линий (М), где число входных линий (N) не превышает числа выходных линий (М). Предельный случай возникает тогда, когда N=1 и М являются произвольными числами, таким образом определяя звездообразную, или ступица и спицы, топологию питания и связи. Многочисленные дроссели можно использовать для выборочного распределения и направления питания и информации в любом необходимом поднаборе из М выходных линий. Если требуется частичная подача питания и связи, можно использовать дроссели с меньшими размерами и индуктивностью. Независимо от применения, установка индукционных дросселей в выбранных положениях предусматривает гибкий, переконфигурируемый механизм подачи питания и передачи связи внутри трубопроводной структуры.
Краткое описание чертежей
Другие задачи и преимущества изобретения приведены в следующем подробном описании со ссылками на сопровождающие чертежи, на которых:
фиг.1 изображает схему нефтяной эксплуатационной скважины согласно предпочтительному варианту осуществления настоящего изобретения;
фиг.2 изображает упрощенную электрическую схему электрической цепи, образованной с помощью буровой скважины согласно изобретению;
фиг.3А изображает схему верхней части нефтяной эксплуатационной скважины согласно другому предпочтительному варианту осуществления настоящего изобретения;
фиг.3В изображает схему верхней части нефтяной эксплуатационной скважины согласно еще одному предпочтительному варианту осуществления настоящего изобретения;
фиг.4 изображает схему еще одного предпочтительного варианта осуществления настоящего изобретения;
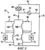
фиг.5 изображает упрощенную электрическую схему электрической цепи, образованной с помощью буровой скважины, показанной на фиг.4, согласно изобретению;
фиг.6 изображает схему другого предпочтительного варианта осуществления настоящего изобретения;
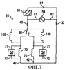
фиг.7 изображает упрощенную электрическую схему электрической цепи, образованной с помощью буровой скважины, показанной на фиг.6, согласно изобретению;
фиг.8 изображает обобщенную схему, имеющую главный вход, который можно разделить на любое число выходов, согласно изобретению;
фиг.9 изображает переконфигурируемую систему маршрутизации передачи питания и связи согласно изобретению.
Подробное описание предпочтительных вариантов воплощения изобретения
“Трубопроводная структура”, которая используется в настоящей заявке, может представлять собой одну единственную трубу, насосно-компрессорную колонну, обсадную колонну буровой скважины, насосную штангу, ряд взаимосвязанных труб, буровые штанги, направляющие, фермы, решетки сквозной фермы, опоры, отводные или боковые удлинители буровой скважины, сеть взаимосвязанных труб или других подобных структур, известных специалистам. В предпочтительном варианте осуществления изобретения трубопроводная структура содержит трубчатую, металлическую, электропроводную трубу или насосно-компрессорную колонну, но изобретение не ограничено этим. Согласно настоящему изобретению по меньшей мере часть трубопроводной структуры должна быть электропроводной. Такая электропроводная часть может представлять собой трубопроводную структуру (например, стальные трубы, медные трубы) или размещенную в продольном направлении электропроводную часть, объединенную с неэлектропроводной частью. Другими словами, электропроводная трубопроводная структура представляет собой структуру, которая обеспечивает путь тока от первой части, где источник питания электрически связан со второй частью, где устройство и/или цепь обратного тока электрически связаны. Трубопроводная структура представляет собой известную круглую металлическую насосно-компрессорную колонну, но геометрия поперечного сечения трубопроводной структуры или любой ее части может меняться по форме (например, круглая, прямоугольная, квадратная, овальная) и размеру (например, длина, диаметр, толщина стенки) вдоль любой части трубопроводной структуры. Следовательно, трубопроводная структура должна иметь электропроводную часть от первой части трубопроводной структуры до второй части трубопроводной структуры, в которой первая часть расположена отдельно от второй части вдоль трубопроводной структуры.
Термины “первая часть” и “вторая часть” обозначают в общем часть, секцию или область трубопроводной структуры, которая может быть расположена в любом выбранном месте вдоль трубопроводной структуры и которая может или не может охватывать наиболее близкие концы трубопроводной структуры.
Термин “модем” используется в описании для любого устройства связи для передачи и/или приема электрических сигналов связи через электрический проводник (например, металл). Следовательно, термин “модем” не ограничен акронимом для модулятора (устройства, которое преобразует голос или сигнал данных к виду, пригодному для передачи)/демодулятора (устройства, которое восстанавливает первоначальный сигнал, которым была промодулирована высокочастотная несущая). Кроме того, термин “модем” не ограничен известными компьютерными модемами, которые преобразовывают цифровые сигналы в аналоговые сигналы и наоборот (например, для передачи цифровых информационных сигналов по аналоговой коммутируемой телефонной сети общего пользования). Если датчик выдает данные измерений в аналоговом формате, то их можно только модулировать (например, с использованием модуляции с расширением спектра) и передавать, и, следовательно, не нужно выполнять аналого-цифрового преобразования. Другим примером является релейный/подчиненный модем или устройство связи, которые должны только идентифицировать, фильтровать, усиливать и/или ретранслировать принимаемый сигнал.
Термин “клапан” относится к любому устройству, которое выполняет функции регулировки потока флюида. Примеры клапанов включают, но не ограничиваются, сильфонные газлифтные клапаны и управляемые газлифтные клапаны, каждый из которых можно использовать для регулировки потока транспортирующего газа в колонну насосно-компрессорных труб буровой скважины. Внутренняя работа клапанов может в значительной степени отличаться, и в настоящей заявке не ограничиваются клапанами любой конкретной конфигурации, клапан выполняет функции регулировки потока. Некоторые из различных типов механизмов регулировки потока включают шаровой клапан, игольчатый клапан, запорный клапан и клетевой клапан. Способы установки клапанов, обсужденных в настоящей заявке, могут изменяться в широких пределах.
Термин “клапан с электрическим управлением”, обычно относится к “клапану” (как описано выше), который можно открывать, закрывать, регулировать, изменять или дросселировать непрерывно в ответ на электрический сигнал управления (например, сигнал из компьютера на поверхности или из скважинного модуля электронного контроллера). Механизм, который фактически изменяет состояние клапана, может содержать электродвигатель, электрический серводвигатель, электрический соленоид, электрический переключатель, гидравлический привод, управляемый по меньшей мере одним электрическим серводвигателем, электродвигателем, электрическим переключателем, электрическим соленоидом или их комбинациями, пневматический привод, управляемый по меньшей мере одним электрическим серводвигателем, электродвигателем, электрическим переключателем, электрическим соленоидом или их комбинациями, или устройство с отклоняемой пружиной в комбинации с по меньшей мере одним электрическим серводвигателем, электродвигателем, электрическим переключателем, электрическим соленоидом или их комбинациями. “Клапан с электрическим управлением” может включать датчик положения с обратной связью для подачи сигнала обратной связи, соответствующего фактическому положению клапана.
Термин “датчик” относится к любому устройству, которое обнаруживает, определяет, контролирует, записывает или регистрирует абсолютное значение или изменение значения физической величины. Датчик можно использовать для измерения значений таких физических величин как температура, давление (абсолютное и дифференциальное), скорость потока, сейсмические данные, акустические данные, уровень рН, уровни солености, положения клапана или практически любые другие физические данные.
Фраза “на поверхности” относится к местоположению от поверхности Земли на глубину приблизительно пятидесяти и более футов. Другими словами, фраза “на поверхности” не обязательно означает расположение на уровне поверхности земли, а используется в более широком смысле для обозначения местоположения, которое является обычно легкодоступным или удобным в устье скважины, где могут работать люди. Например, “на поверхности” может означать на столе в рабочей мастерской, которая расположена на поверхности земли на платформе буровой скважины, на дне океана или озера, на глубоководной платформе нефтяной вышки или на 100-м этаже здания. Кроме того, термин “поверхность” может использоваться как прилагательное для определения местоположения элемента или области, которая расположена “на поверхности”. Например, фраза “поверхностный компьютер” означает компьютер, расположенный “на поверхности”.
Термин “скважинный” относится к местоположению на глубине около пятидесяти футов или ниже. Другими словами, термин “скважинный” относится к местоположению, которое обычно трудно или неудобно достигнуть из устья скважины, где могут работать люди. Например, в нефтяной скважине имеется ввиду участок в или рядом с подземной нефтяной эксплуатационной зоной, независимо от того, является ли эксплуатационная зона доступной вертикально, горизонтально, сбоку или под любым другим углом между ними. Кроме того, термин “скважинный” используется как прилагательное, описывающее местоположение элемента или области. Например, “скважинное” устройство в буровой скважине означает, что устройство расположено “в скважине”, а не “на поверхности”.
Термин “беспроводной” означает отсутствие электрического провода с поверхности к скважинному устройству. Использование трубопроводной структуры буровой скважины (например, насосно-компрессорной колонны и/или обсадной колонны) в качестве проводника рассматривается “беспроводным”.
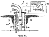
На фиг.1 изображена схема газлифтной буровой нефтяной эксплуатационной скважины 20, согласно предпочтительному варианту осуществления настоящего изобретения. Буровая скважина 20 имеет главную буровую скважину с боковым ответвлением 26. Буровая скважина 20 может содержать четыре секции – секция 26 бокового ответвления, секция 27 соединения, верхняя секция 28 и нижняя главная секция 29 ствола скважины. Боковое ответвление 26 соединяется с главным стволом скважины в секции 27 соединения. Верхняя секция 28 проходит выше секции 27 на поверхность. Буровая скважина 20 имеет обсадную колонну 30, размещенную внутри ствола скважины и проходящую через геологическую формацию 32 в эксплуатационные зоны (не показаны) дальше в местоположение. Эксплуатационная насосно-компрессорная колонна 40 проходит внутри обсадной колонны буровой скважины и служит для перенаправления флюидов (например, нефти, газа) из скважинного местоположения на поверхность при добыче. Пакеры 42 расположены у обсадной колонны 30 и насосно-компрессорной колонны 40. Пакеры 42 известны и гидравлически изолируют секции 26-29 буровой скважины над эксплуатационными зонами, позволяя вводить газ под давлением в кольцо 44 между обсадной колонной 30 и насосно-компрессорной колонной 40. Во время операции газлифта газ под давлением вводят на поверхности земли в кольцо 44 для дальнейшего ввода в насосно-компрессорную колонну 40, чтобы выполнить газлифт для флюидов, находящихся в ней. Нефтяная эксплуатационная скважина 20 подобна по конструкции известной буровой скважине.
Электрическая цепь образована элементами буровой скважины 20 и используется для подачи питания и/или сигналов связи в скважинные устройства 50. Компьютерная система 52 обеспечивает подачу питания и/или сигналов связи на поверхность. Компьютерная система 52 содержит источник 54 питания и главный модем 56, но элементы поверхностного оборудования и конфигурация могут изменяться. Источник 54 питания предназначен для подачи тока, изменяющегося во времени, который является предпочтительно переменным током, но он может быть также изменяющимся во времени постоянным током. Сигнал связи, подаваемый с помощью компьютерной системы 52, является сигналом с расширенным спектром, но в альтернативном варианте можно использовать и другие виды модуляции или предыскажения. Первый вывод 61 компьютера компьютерной системы 52 электрически связан с насосно-компрессорной колонной 40 на поверхности. Первый вывод 61 компьютера проходит через подвеску 64 в изолированном уплотнении 65 и электрически изолирован от подвески 64 при прохождении через уплотнитель 65. Второй вывод 62 компьютера компьютерной системы 52 электрически связан с обсадной колонной 30 буровой скважины на поверхности.
Насосно-компрессорная колонна 40 и обсадная колонна 30 в схеме буровой скважины выполняют роль электрических проводников. В предпочтительном варианте осуществления (фиг.1) насосно-компрессорная колонна 40 действует как структура для передачи электрической энергии и/или сигналов связи между компьютерной системой 52 на поверхности и скважинным устройством 50. Пакеры 42 и обсадная колонна 30 используются в качестве цепи обратного тока. Изолированная соединительная муфта 68 для насосно-компрессорных труб размещена в устье скважины ниже подвески 64, чтобы обеспечить электрическую изоляцию насосно-компрессорной трубы 40 от подвески 64 и обсадной колонны 30 на поверхности. Первый вывод 61 компьютера электрически связан с насосно-компрессорной колонной 40 ниже изолированной соединительной муфты 68 для насосно-компрессорных труб.
Индукционные дроссели 70 расположены в скважине около насосно-компрессорной колонны 40. Индукционный дроссель 70 выполнен в форме кольца и расположен концентрически вокруг насосно-компрессорной колонны 40. Каждый индукционный дроссель 70 содержит ферромагнитный материал и не запитан. Каждый индукционный дроссель 70 выполняет функции с учетом своего размера (массы), геометрии и магнитных свойств, а также пространственного расположения относительно насосно-компрессорной трубы 40. В некоторых вариантах осуществления (не показаны) каждый или оба из индукционных дросселей 70 расположены вокруг обсадной колонны 30.
Каждое скважинное устройство 50 имеет два электрических вывода 71, 72. Первый из выводов 71 электрически связан с насосно-компрессорной колонной 40 на стороне 81 источника соответствующего индукционного дросселя 70. Второй из выводов 72 устройства электрически связан с насосно-компрессорной колонной 40 на стороне 82 цепи обратного тока соответствующего индукционного дросселя 70. Каждый пакер 42 обеспечивает электрическое соединение между насосно-компрессорной трубой 40 и обсадной колонной 30 в скважине. Однако насосно-компрессорная труба 40 и обсадная колонна 30 могут быть также электрически связаны в скважине с помощью проводящего флюида (не показан) в кольце 44 выше пакера 42 или другим образом. Флюид в кольце 44 выше каждого пакера 42 предпочтительно иметь малую или нулевую проводимость, но на практике это нельзя предотвратить.
Другие альтернативные способы образования электрической цепи с использованием трубопроводной структуры буровой скважины и по меньшей мере одного индукционного дросселя описаны в родственных заявках. Родственные заявки описывают способы, основанные на использовании обсадной колонны, а не насосно-компрессорной колонны, для передачи питания с поверхности в скважинные устройства.
Предпочтительно, чтобы все элементы скважинного устройства 50 находились в одном герметичном коллекторе насосно-компрессорной колонны в виде одного модуля для облегчения работы и установки, а также защиты элементов от воздействия окружающей среды. Однако в других вариантах осуществления изобретения элементы скважинного устройства 50 могут размещаться отдельно (то есть не в коллекторе насосно-компрессорной колонны) или объединены.
Элементы скважинных устройств 50 могут варьироваться для получения других вариантов осуществления изобретения. Например, скважинное устройство 50 может содержать электрический сервопривод, другой электродвигатель, датчик или преобразователь, преобразователи, электрически управляемое устройство нагнетания индикатора, электрически управляемое устройство нагнетания химических реагентов, резервуар для хранения химических реагентов или индикатора, клапан с электрическим управлением, релейный модем, модуль связи и управления, логическую схему, компьютерную систему, память, микропроцессор, силовой трансформатор, модуль или устройство для хранения энергии, электрически управляемый гидравлический насос и/или привод, электрически управляемый пневматический насос и/или привод или любую их комбинацию. Каждое скважинное устройство 50 содержит электрически управляемый газлифтный клапан (не показан) и модуль для хранения энергии (не показан).
Управляемый индивидуально адресуемый электрический шунтирующий переключатель 90 последовательно электрически связан с цепью первого вывода 71 каждого из устройств 50. Каждым переключателем 90 можно управлять с помощью компьютерной системы 52 с поверхности, скважинного модуля управления переключателем (не показано), другого скважинного устройства 50, соответствующего скважинного устройства 50, схемы управления, расположенной внутри переключателя, или любой их комбинации. Например, каждый алгоритм управления переключением может быть основан на временной последовательности, измеренной с помощью схемы синхронизации и синхронизованной или согласованной с другими переключателями. Переключатели 90 могут быть аналоговыми или цифровыми. Перемещение рабочего органа каждого из переключателей 90 можно осуществлять различными способами, известными специалистам, электрическим, механическим, гидравлическим или пневматическим. Энергия для управления и переключения каждого переключателя 90 может поступать только из накопленной энергии, из аккумуляторного устройства, с поверхности (например, от источника 54 питания) через насосно-компрессорную колонну 40 и/или обсадную колонну 30, из другого скважинного устройства 50 через отдельный провод (не показан), насосно-компрессорную колонну 40 и/или обсадную колонну 30 или любой их комбинации. Каждый переключатель 90 можно независимо размыкать или замыкать желательно с помощью компьютерной системы 52, и каждый переключатель 90 питается от аккумулятора, который периодически подзаряжается с помощью поверхностного источника 54 питания через насосно-компрессорную колонну 40 и/или обсадную колонну 30.
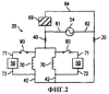
На фиг.2 изображена упрощенная электрическая схема, иллюстрирующая электрическую цепь в буровой скважине 20. В процессе работы питание и/или сигналы связи подают с помощью компьютерной системы 52 в насосно-компрессорную колонну 40, расположенную у поверхности ниже изоляционной соединительной муфты 68 для насосно-компрессорных труб, через первый вывод 61 компьютера. Протеканию тока, изменяющегося во времени, из насосно-компрессорной колонны 40 в обсадную колонну 30 (и на второй вывод 62 компьютера) через подвеску 64 препятствуют изоляторы 69 в изоляционной соединительной муфте 68 для насосно-компрессорных труб. Однако ток, изменяющийся во времени, протекает свободно в скважине вдоль насосно-компрессорной колонны 40 до встречи с индукционным дросселем 70. Каждый индукционный дроссель 70 имеет большую индуктивность, которая препятствует протеканию большей части тока через насосно-компрессорную колонну 40 в каждом индукционном дросселе 70. Следовательно, между насосно-компрессорной колонной 40 и обсадной колонной 30 возникает разность потенциалов благодаря индукционным дросселям 70. Так как скважинные устройства 50 электрически связаны перпендикулярно потенциалам напряжения, которые возникают благодаря дросселям 70, большая часть тока, подаваемого в насосно-компрессорную колонну 40 и не потерявшаяся по пути, направляется через скважинные устройства 50 и таким образом обеспечивает подачу питания и/или связь со скважинными устройствами 50. Шунтирующие переключатели 90 определяют, на какое из скважинных устройств 50 поступает питание и/или сигналы связи, поданные с поверхности. Если переключатель 90 нижней главной секции 29 буровой скважины замкнут и переключатель 90 боковой секции 26 разомкнут, то устройство 50 боковой секции 26 не включено в электрический контур, и большая часть тока будет направляться через устройство 50 нижней главной секции 29 буровой скважины. Если переключатель 90 нижней главной секции 29 буровой скважины разомкнут, а переключатель 90 боковой секции 26 замкнут, то устройство 50 нижней главной секции 29 буровой скважины не включено в электрический контур, и большая часть тока будет направляться через устройство 50 боковой секции 26. И если оба переключателя 90 замкнуты, то скважинные устройства 50 будут расположены параллельно, и ток будет проходить через них. После прохождения тока через один или оба скважинных устройства 50 ток возвращается обратно в компьютерную систему 52 через пакер(ы) 42, обсадную колонну 30 и второй вывод 62 компьютера. Когда ток является переменным током, направление протекания этого тока через буровую скважину 20 будет меняться на противоположное и проходить по тому же пути.
Если другие пакеры или центраторы (не показаны) введены между изоляционной соединительной муфтой 68 для насосно-компрессорных труб и пакером 42, то их можно ввести в состав электрического изолятора, чтобы предотвратить короткое замыкание между насосно-компрессорной колонной 40 и обсадной колонной 30. Подходящие центраторы могут состоять из цельно формованной или механически обработанной пластмассы или представлять собой тип рессоры, снабженной, при необходимости, соответствующими изолирующими элементами. Электрическую изоляцию дополнительных пакеров или центраторов можно осуществить другими способами, очевидными для специалистов.
Альтернативой (или дополнением) для изоляционной соединительной муфты 68 для насосно-компрессорных труб может служить другой индукционный дроссель 168 (фиг.3А), который можно разместить около насосно-компрессорной колонны 40 выше электрического соединения для первого вывода 61 компьютера в насосно-компрессорной трубе 40, и/или подвеска 64, в качестве которой может быть использована изолированная подвеска 268 (фиг.3В), имеющая изоляторы 269 для электрической изоляции насосно-компрессорной трубы 40 от обсадной колонны 30. Таким образом, верхнюю часть буровой скважины можно изменять для формирования других возможных вариантов воплощения.
Конфигурации переключателей и их расположение можно изменять. Например, в буровую скважину 20 (фиг.1) можно добавить секцию 27 соединения, нижнюю главную секцию 29 ствола буровой скважины и боковую секцию 26 ответвления (фиг.4). На фиг.4 переключатели 90 с соответствующими индукционными дросселями 100 расположены в секции 27 соединения, и скважинные устройства 50 с соответствующими индукционными дросселями 70 расположены дальше в скважине внутри нижней главной секции 29 ствола буровой скважины и боковой секции 26. На фиг.5 изображена упрощенная электрическая схема, иллюстрирующая электрическую цепь, образованную в случае, когда в буровую скважину 20 (фиг.1) добавлены секции 26, 27 и 29 (фиг.4).
В другом примере в буровую скважину 20 (фиг.1 и/или 4) добавляют секцию 27 соединения (фиг.6). На фиг.6 показан один переключатель 90 для направления питания и/или связи в нижнюю главную секцию 29 буровой скважины или в боковую секцию 26, но не в обе. В альтернативном варианте секция 27 соединения (фиг.6) может содержать два переключателя в одном корпусе (не показано) или переключатель на три направления (не показано), причем любой вариант адаптирован для подачи питания и/или осуществления связи в нижнюю главную секцию 29 буровой скважины и/или в боковую секцию 26. На фиг.7 изображена упрощенная электрическая схема электрической цепи для случая, когда секция 27 соединения (фиг.6) введена в буровую скважину 20 (фиг.1) с нижней главной секцией 29 буровой скважины и боковой секцией 26 (фиг.4).
На фиг.8 изображена схема, иллюстрирующая обобщенную конфигурацию, где имеется главный входной сигнал 110 (например, из компьютерной системы 52), который можно разделить на любое число (Y) выходов 112. Конфигурация переключателя может учитывать только один выход в данный момент времени (фиг.6) или любую комбинацию выходов в данный момент времени (фиг.4). Таким образом, один главный вход 110 можно разделить на Y выходов 112. Но с другой стороны, можно также использовать любое число Х главных входов 110.
На фиг.9 изображена другая схема, показывающая как можно выполнить переконфигурируемую систему 120 маршрутизации передачи питания и связи для электрической цепи буровой скважины, образованной трубопроводной структурой буровой скважины. Система 120 содержит индивидуально управляемые переключатели 90 и позволяет обеспечить соединение каждой из N входных “линий” 122 с любой одной или более М выходными “линиями” 124, где “линии” – это части трубопроводной структуры буровой скважины (например, эксплуатационной насосно-компрессорной колонны 40 и/или обсадной колонны 30).
В области телекоммуникации аналогичная система для телефонных линий часто называется “координатным коммутатором”. Типичный электрический коммутатор представляет собой матрицу из пересекающихся проводников входных “строк” и выходных “столбцов” с механическими или транзисторными переключателями, размещенными в каждом узле ортогональных строк и столбцов. Переключатель в любом конкретном узле можно уникальным способом адресовать и возбудить для того, чтобы завершить соединение между пересекающимися входными линиями и выходными линиями. При возбуждении одного и только одного переключателя вдоль одной входной линии “строка” достигают уникального соединения с выходной “колонкой”. Замкнутую цепь можно использовать для передачи электрической энергии или электрических сигналов из источника, подсоединенного к “входной” линии, в место назначения, подсоединенное к “выходной” линии. В телефонии матричные переключатели используются для маршрутизации вызовов между заданным местоположением источника и конкретным местоположением приемника.
Электрическая схема (фиг.9) изображает сеть пересекающихся колонн насосно-компрессорных труб и/или секций обсадной колонны буровой скважины (сеть, образованную трубопроводами буровой скважины), имеющая N входных линий 122 и М выходных линий 124. Предполагается, что каждая из N входных линий 122 подсоединена к каждой из М выходных линий 124 с помощью индукционного дросселя 100 и одного или более шунтирующих переключателей 90, размещенных в каждом узле 127. Например, в каждом узле 127 можно использовать независимо адресуемый электронный или механический коммутационный мост (не показан). Схема контроллера (не показана) может обеспечить полное соединение для подачи питания и/или осуществления связи путем активизации электронных или механических переключателей 90 и “замыкания накоротко” или шунтирования соответствующих индукционных дросселей 100. Переключатели 90 можно настроить таким образом, чтобы они были нормально разомкнуты или нормально замкнутыми в “неактивном” состоянии. То есть нормальным невозбужденным состоянием каждого переключателя 90 может быть состояние “выключено” (разомкнуто) или состояние “включено” (замкнуто). В предпочтительном варианте осуществления изобретения предполагается, что все переключатели разомкнуты. Со всеми узловыми переключателями 90 в естественном открытом положении дроссели 100, установленные около линий узлов 127, блокируют некоторую часть, большую часть или всю передачу питания и/или связи в выходные линии 124 до тех пор, пока переключатель 90 не будет активизирован для конкретного узла 127.
Например, если переменный ток подается во входную линию А1 на фиг.9, то индукционный дроссель 100 препятствует прохождению электрического тока в выходные линии В1-ВМ. Однако, если электрический сигнал проходит в схему управления шунтированием, расположенную параллельно узлу “А1 в В2” дросселя, то соответствующий электронный переключатель 90 замыкается, и соответствующий дроссель 100 шунтируется. Следовательно, переменный ток и незапрещенные сигналы связи могут проходить из входной линии А1 в выходную линию В2. Дополнительный электрический сигнал управления может проходить в схему управления шунтированием, расположенную параллельно узлу “А2 в В7” дросселя (не показана), управляя соответствующим переключателем 90 для размыкания и завершения дополнительного электрического соединения между входной линией А2 и выходной линией В7. Таким образом, одним из возможных приложений настоящего изобретения является формирование связи от точки к точке и/или связи между рядом входных линий 122 и рядом выходных линий 124 в сети, образованной трубопроводами буровой скважины.
В другом примере, если питание по переменному току подается на входные линии A1-AN (фиг.9), то на начальном этапе индукционные дроссели 100 препятствуют прохождению электрического тока в выходные линии В1-ВМ. Но если электрические сигналы управления поступают в схему управления шунтированием, расположенную в каждом узле дросселя для В1 (то есть А1 в B1, A2 в В1,…AN в В1), то соответствующие переключатели 90 будут замыкаться, и соответствующие дроссели 100 будут шунтироваться. Следовательно, все входы A1-AN будут объединяться в выход B1. Поэтому с помощью настоящего изобретения можно выполнить полностью переконфигурируемую систему 120 сети матричных переключателей путем установки дросселей 100 общим количеством M*N и переключателей 90 в узлах 127 между N входных линий 122 и М выходных линий 124.
В случае, когда желательно иметь частичную передачу питания и/или связи в сетке 120 “М на N” (фиг.9) для одного или более узлов 127 или для всех узлов 127, можно установить меньшие дроссели там, где желательно, чтобы питание и/или связь полностью не терялись в узлах 127, имеющих меньшие дроссели. Меньший дроссель может быть физически меньше (то есть иметь меньшую массу относительно других дросселей 100) и/или может иметь различные магнитные свойства (то есть содержать меньше ферромагнитного материала). Другими словами, меньший дроссель – это дроссель, который обеспечивает меньшее эффективное полное сопротивление для переменного тока, протекающего через трубопроводы буровой скважины. Следовательно, ограниченное (то есть, уменьшенное) количество энергии можно подать в оборудование, подсоединенное к конкретной выходной линии 124, для контроля, например, в случае регулирующего клапана интервала, когда соответствующий шунтирующий переключатель 90 дросселя находится в разомкнутом или “выключенном” положении. Если полное питание необходимо направить в оборудование, подсоединенное к данной выходной линии 124 для других целей, например, чтобы открыть регулирующий клапан интервала, то соответствующий шунтирующий переключатель 90 дросселя можно замкнуть или “включить”. Поэтому в настоящем изобретении выполнен способ и устройство для переключения и направления напряжения питания и/или связи по сети колонн 40 насосно-компрессорных труб и/или секций обсадной колонны 30, т.е. трубопроводных структур буровой скважины.
Настоящее изобретение можно применять к любому типу скважин, например скважин для разведочных работ, нагнетательных скважин, эксплуатационных скважин, где питание в скважине необходимо для электронного или электрического оборудования. Настоящее изобретение можно также применять к другим типам скважин, например, водозаборным скважинам.
Систему можно использовать много раз в одной нефтяной скважине, имеющей одну или более продуктивных зон или в нефтяной скважине, имеющей многочисленные боковые или горизонтальные ответвления. Так как конфигурация буровой скважины зависит от расположения природной геологической формации и местоположения продуктивных зон, система согласно изобретению может изменяться в зависимости от геологической формации или требований, предъявляемых к подаче напряжения и/или установке связи в буровой скважине.
Настоящее изобретение можно также применять и в других областях, где трубопроводная структура используется для образования электрической цепи в качестве электрических проводников и индукционного дросселя. Кроме того, настоящее изобретение можно использовать там, где структурные элементы системы или элементы передачи флюида используются для образования электрической цепи внутри системы с помощью индукционных дросселей. Например, настоящее изобретение можно использовать для управляемой подачи питания и/или связи через существующую сеть труб спринклерной системы в здании, существующую сеть металлических структурных элементов в здании, существующую сеть металлических структурных элементов для нефтяной платформы, существующую трубопроводную сеть, например водопроводную сеть, существующую сеть структурных элементов фермы моста и существующую сеть металлических арматурных стержней железобетона, например в дороге или дамбе.
Формула изобретения
1. Система управления связями и подачей электрического напряжения, имеющего ток, через трубопроводную структуру, изменяющийся во времени, содержащая первый индукционный дроссель, расположенный около первого ответвления трубопроводной структуры, второй индукционный дроссель, расположенный около второго ответвления трубопроводной структуры, управляемый переключатель, содержащий два вывода, причем первый из выводов переключателя электрически связан с трубопроводной структурой на стороне соединения индукционных дросселей, где пересекаются первое и второе ответвления трубопроводной структуры, а второй из выводов переключателя электрически связан с трубопроводной структурой на другой стороне по меньшей мере одного из индукционных дросселей.
2. Система по п.1, отличающаяся тем, что второй вывод переключателя электрически связан с первым ответвлением трубопроводной структуры на другой стороне первого индукционного дросселя, а управляемый переключатель дополнительно содержит третий вывод, который электрически связан с вторым ответвлением трубопроводной структуры на другой стороне второго индукционного дросселя.
3. Система по п.1, отличающаяся тем, что второй вывод переключателя электрически связан с первым ответвлением трубопроводной структуры на другой стороне первого индукционного дросселя, а система дополнительно содержит второй управляемый переключатель, который подключен между трубопроводной структурой на стороне соединения индукционных дросселей и вторым ответвлением трубопроводной структуры на другой стороне второго индукционного дросселя так, что каждый из управляемых переключателей подключен параллельно каждому из индукционных дросселей.
4. Система по п.1, отличающаяся тем, что второй вывод переключателя электрически связан с трубопроводной структурой через скважинное устройство.
5. Система по п.4, отличающаяся тем, что скважинное устройство содержит электронное устройство.
6. Система по п.4, отличающаяся тем, что скважинное устройство содержит устройство, подключенное к источнику питания.
7. Система по п.4, отличающаяся тем, что скважинное устройство содержит модем.
8. Система по п.1, отличающаяся тем, что первый вывод переключателя электрически связан с трубопроводной структурой через скважинное устройство.
9. Система по п.8, отличающаяся тем, что скважинное устройство содержит электронное устройство.
10. Система по п.8, отличающаяся тем, что скважинное устройство содержит устройство, подключенное к источнику питания.
11. Система по п.8, отличающаяся тем, что скважинное устройство содержит модем.
12. Система по п.1, отличающаяся тем, что трубопроводная структура является частью буровой скважины.
13. Система по п.12, отличающаяся тем, что буровая скважина является нефтяной эксплуатационной скважиной.
14. Нефтяная скважина для добычи нефтепродуктов, содержащая трубопроводную структуру, размещенную внутри скважины, систему для управления связями и подачей электрического напряжения, имеющего ток, изменяющийся во времени, через трубопроводную структуру, при этом система содержит первый индукционный дроссель, расположенный около первого ответвления трубопроводной структуры, второй индукционный дроссель, расположенный около второго ответвления трубопроводной структуры, управляемый переключатель, содержащий два вывода, причем первый из выводов переключателя электрически связан с трубопроводной структурой на стороне соединения индукционных дросселей, где пересекаются первое и второе ответвления трубопроводной структуры, а второй из выводов переключателя электрически связан с трубопроводной структурой на другой стороне по меньшей мере одного из индукционных дросселей.
15. Нефтяная скважина по п.14, отличающаяся тем, что второй вывод переключателя электрически связан с первым ответвлением трубопроводной структуры на другой стороне первого индукционного дросселя, а управляемый переключатель дополнительно содержит третий вывод, который электрически связан со вторым ответвлением трубопроводной структуры на другой стороне второго индукционного дросселя.
16. Нефтяная скважина по п.15, отличающаяся тем, что дополнительно содержит третий индукционный дроссель, расположенный около части первого ответвления трубопроводной структуры и дальше в скважине относительно первого индукционного дросселя, четвертый индукционный дроссель, расположенный около второго ответвления трубопроводной структуры и дальше в скважине относительно второго индукционного дросселя, первое скважинное устройство, электрически связанное с первым ответвлением трубопроводной структуры от одной стороны третьего индукционного дросселя до другой стороны третьего индукционного дросселя так, что первое скважинное устройство соединено параллельно третьему индукционному дросселю, второе скважинное устройство, электрически связанное со вторым ответвлением трубопроводной структуры от одной стороны четвертого индукционного дросселя до другой стороны четвертого индукционного дросселя так, что второе скважинное устройство соединено параллельно четвертому индукционному дросселю.
17. Нефтяная скважина по п.16, отличающаяся тем, что по меньшей мере одно из скважинных устройств содержит электронное устройство.
18. Нефтяная скважина по п.16, отличающаяся тем, что по меньшей мере одно из скважинных устройств содержит устройство, подключенное к источнику питания.
19. Нефтяная скважина по п.16, отличающаяся тем, что по меньшей мере одно из скважинных устройств содержит модем.
20. Нефтяная скважина по п.14, отличающаяся тем, что второй вывод переключателя электрически связан с первым ответвлением трубопроводной структуры на другой стороне первого индукционного дросселя, а скважина дополнительно содержит второй управляемый переключатель, который подключен между трубопроводной структурой на стороне соединения второго индукционного дросселя и вторым ответвлением трубопроводной структуры на другой стороне второго индукционного дросселя так, что каждый из электрически управляемых переключателей соединен параллельно каждому из индукционных дросселей.
21. Нефтяная скважина по п.20, отличающаяся тем, что дополнительно содержит третий индукционный дроссель, расположенный около первого ответвления трубопроводной структуры на расстоянии относительно первого индукционного дросселя, четвертый индукционный дроссель, расположенный около второго ответвления трубопроводной структуры на расстоянии относительно второго индукционного дросселя, первое скважинное устройство, электрически связанное с первым ответвлением трубопроводной структуры от одной стороны третьего индукционного дросселя до другой стороны третьего индукционного дросселя так, что первое скважинное устройство соединено параллельно третьему индукционному дросселю, и второе скважинное устройство, электрически связанное со вторым ответвлением трубопроводной структуры от одной стороны четвертого индукционного дросселя до другой стороны четвертого индукционного дросселя так, что второе скважинное устройство соединено параллельно четвертому индукционному дросселю.
22. Нефтяная скважина по п.21, отличающаяся тем, что по меньшей мере одно из скважинных устройств содержит электронное устройство.
23. Нефтяная скважина по п.21, отличающаяся тем, что по меньшей мере одно из скважинных устройств содержит устройство, подключенное к источнику питания.
24. Нефтяная скважина по п.21, отличающаяся тем, что по меньшей мере одно из скважинных устройств содержит модем.
25. Нефтяная скважина по п.14, отличающаяся тем, что второй вывод терминала электрически связан с трубопроводной структурой через скважинное устройство.
26. Нефтяная скважина по п.25, отличающаяся тем, что скважинное устройство содержит электронное устройство.
27. Нефтяная скважина по п.25, отличающаяся тем, что скважинное устройство содержит устройство, подключенное к источнику питания.
28. Нефтяная скважина по п.25, отличающаяся тем, что скважинное устройство содержит модем.
29. Нефтяная скважина по п.14, отличающаяся тем, что первый вывод переключателя электрически связан с трубопроводной структурой через скважинное устройство.
30. Нефтяная скважина по п.29, отличающаяся тем, что скважинное устройство содержит электронное устройство.
31. Нефтяная скважина по п.29, отличающаяся тем, что скважинное устройство содержит устройство, подключенное к источнику питания.
32. Нефтяная скважина по п.29, отличающаяся тем, что скважинное устройство содержит модем.
33. Нефтяная скважина по п.14, отличающаяся тем, что трубопроводная структура содержит по меньшей мере часть эксплуатационной насосно-компрессорной колонны.
34. Нефтяная скважина по п.14, отличающаяся тем, что трубопроводная структура содержит по меньшей мере часть обсадной колонны буровой скважины.
35. Нефтяная скважина для добычи нефтепродуктов, содержащая обсадную колонну буровой скважины, размещенную в геологической формации, эксплуатационную насосно-компрессорную колонну, размещенную внутри обсадной колонны, источник питания, расположенный на поверхности, электрически связанный с источником и адаптированный для подачи тока, изменяющегося во времени, по меньшей мере в одну из насосно-компрессорной колонны и обсадной колонны, первый индукционный дроссель, расположенный в скважине около первого ответвления по меньшей мере одной из насосно-компрессорной колонны и обсадной колонны, второй индукционный дроссель, расположенный в скважине около второго ответвления по меньшей мере одной из насосно-компрессорной колонны и обсадной колонны, управляемый переключатель, содержащий два вывода переключателя, при этом первый из выводов переключателя электрически связан с по меньшей мере одной из насосно-компрессорной колонны и обсадной колонны на стороне соединения индукционных дросселей, причем первое и второе ответвления пересекаются на стороне соединения индукционных дросселей, второй из выводов переключателя электрически связан с по меньшей мере одной из насосно-компрессорной колонны и обсадной колонны на другой стороне по меньшей мере одного из индукционных дросселей, первое скважинное устройство, подсоединенное к первому ответвлению, второе скважинное устройство, подсоединенное ко второму ответвлению.
36. Способ добычи нефтепродуктов из нефтяной скважины, заключающийся в том, что используют трубопроводную структуру, которая размещена внутри буровой скважины, используют электрический источник питания, который расположен на поверхности, подсоединен к трубопроводной структуре и адаптирован для подачи тока, изменяющегося во времени, используют первый индукционный дроссель, который расположен около первого ответвления трубопроводной структуры, используют второй индукционный дроссель, который расположен около второго ответвления трубопроводной структуры, используют управляемый переключатель, который содержит два вывода, причем первый из выводов переключателя электрически связан с трубопроводной структурой на стороне соединения индукционных дросселей, где первое и второе ответвления трубопроводной структуры пересекаются на стороне соединения индукционных дросселей, а второй из выводов переключателя электрически связан с трубопроводной структурой на другой стороне по меньшей мере одного из индукционных дросселей, используют скважинное устройство, соединенное с трубопроводной структурой, подают ток, изменяющийся во времени, в трубопроводную структуру от источника питания, управляют положением управляемого электрического переключателя, направляют ток, изменяющийся во времени, в по меньшей мере один из индукционных дросселей в по меньшей мере одно из первого и второго ответвлений трубопроводной структуры с помощью управляемого электрического переключателя, направляют ток, изменяющийся во времени, через скважинное устройство, подают электрическое питание в скважинное устройство во время операций нефтедобычи через трубопроводную структуру от источника питания и осуществляют добычу нефтепродуктов из буровой скважины.
37. Способ по п.36, отличающийся тем, что второй вывод переключателя электрически связан с первым ответвлением трубопроводной структуры на другой стороне первого индукционного дросселя, при этом управляемый переключатель дополнительно содержит третий вывод, который соединен со вторым ответвлением трубопроводной структуры на другой стороне второго индукционного дросселя.
38. Способ по п.36, отличающийся тем, что второй вывод переключателя электрически связан с первым ответвлением трубопроводной структуры на другой стороне первого индукционного дросселя, при этом в способе дополнительно используют второй управляемый переключатель, который подключен между трубопроводной структурой на стороне соединения второго индукционного дросселя и вторым ответвлением трубопроводной структуры на другой стороне второго индукционного дросселя так, что каждый из электрически управляемых переключателей соединен через трубопроводную структуру параллельно каждому из индукционных дросселей, управляют положением переключателя второго управляемого электрического переключателя.
РИСУНКИ
|
|