|
|
(21), (22) Заявка: 2004108809/03, 24.03.2004
(24) Дата начала отсчета срока действия патента:
24.03.2004
(45) Опубликовано: 10.07.2005
(56) Список документов, цитированных в отчете о поиске:
SU 1663180 A, 15.07.1991. SU 1219781 A, 23.03.1986. SU 467994 A, 25.04.1975. SU 1745874 A, 07.07.1992. SU 905425 A, 15.02.1982. US 3818734 A, 25.06.1974
Адрес для переписки:
423236, Республика Татарстан, г. Бугульма, ул. М. Джалиля, 32, “ТатНИПИнефть”, Сектор создания и развития промышленной собственности
|
(72) Автор(ы):
Махмутов И.Х. (RU), Страхов Д.В. (RU), Оснос В.Б. (RU), Зиятдинов Р.З. (RU), Багнюк С.Л. (RU)
(73) Патентообладатель(и):
Открытое акционерное общество “Татнефть” им. В.Д. Шашина (RU)
|
(54) УСТРОЙСТВО ДЛЯ ВЫПРАВЛЕНИЯ ОБСАДНОЙ КОЛОННЫ
(57) Реферат:
Изобретение относится к нефтегазодобывающей промышленности, а именно к выправлению смятых обсадных колонн нефтяных и газовых скважин. Устройство включает корпус с коническими прямой и обратной направляющими и кольцевым пазом на наружной поверхности, последовательно установленные в кольцевом пазу кольца с пазами на взаимно обращенных поверхностях, установленные на корпусе между кольцами ролики с выступами в верхней и нижней частях, расположенными в пазах колец с возможностью вращения и радиального перемещения. На наружной поверхности корпуса выполнены радиальные пазы, имеющие в поперечном сечении корпуса равномерно изменяющуюся глубину для радиального перемещения роликов. Кольца установлены с возможностью вращения относительно корпуса. Кольца дополнительно жестко соединены между собой пластинами, образуя окна для роликов и объединяя ролики в ряды. Радиальные пазы для каждого из верхних рядов роликов выполнены с возможностью радиального перемещения большего, чем для нижних рядов роликов. Каждый из рядов роликов выполнен с возможностью независимого вращения относительно корпуса. Повышается надежность и эффективность работы. 1 з.п. ф-лы, 4 ил.

Изобретение относится к нефтегазодобывающей промышленности, а именно к выправлению смятых обсадных колонн нефтяных и газовых скважин.
Известна оправка для обсадных труб (а.с. №467994, МКИ Е 21 В 29/10, 1975 г.), включающая прямую и обратную конусные направляющие и конические ролики, установленные в пазах прямой и обратной направляющей, причем конические ролики обращены большими основаниями в сторону центра оправки.
Недостатком этой оправки является сложность конструкции, наличие больших осевых нагрузок на оправку и, как следствие, преждевременный износ и выход ее из строя, а создание значительных осевых нагрузок в ряде случаев связано с определенными трудностями. На малой глубине это связано с невозможностью создания необходимых осевых усилий, а на больших глубинах может привести к слому труб.
Известно устройство для выправления обсадной колонны (а.с. №1663180, МКИ Е 21 В 29/10, 1991 г.), включающее корпус с коническими прямой и обратной направляющими и кольцевым пазом на наружной поверхности, последовательно установленные в кольцевом пазу корпуса кольца с пазами на взаимно обращенных поверхностях, установленные на корпусе между кольцами с возможностью вращения ролики с выступами в верхней и нижней частях, расположенными в пазах колец, а на наружной поверхности корпуса выполнены радиальные пазы, имеющие в поперечном сечении корпуса равномерно изменяющуюся глубину для радиального перемещения роликов, причем ролики размещены в радиальных пазах корпуса с возможностью радиального перемещения, кольца установлены с возможностью вращения относительно продольной оси корпуса, а длина пазов колец в поперечной плоскости корпуса равна величине радиального перемещения роликов.
Недостатком данного устройства являются большие моменты вращения бурильной колонны, а также не исключена возможность его заклинивания в скважине в процессе правки глубоких участков смятия обсадных колонн, что приводит к аварийным ситуациям.
Технической задачей изобретения является исключение аварийных ситуаций при правке глубоких участков смятия обсадных колонн и уменьшении крутящего момента на бурильную колонну за счет ступенчатой (порядной) правки.
Техническая задача решается предлагаемым устройством для выправления обсадной колонны, включающим корпус с коническими прямой и обратной направляющими и кольцевым пазом на наружной поверхности, последовательно установленные в кольцевом пазу корпуса кольца с пазами на взаимно обращенных поверхностях, установленные на корпусе между кольцами ролики с выступами в верхней и нижней частях, расположенными в пазах колец с возможностью вращения и радиального перемещения, а на наружной поверхности корпуса выполнены радиальные пазы, имеющие в поперечном сечении корпуса равномерно изменяющуюся глубину для радиального перемещения роликов, размещенных в радиальных пазах корпуса, кольца установлены с возможностью вращения относительно корпуса.
Новым является то, что кольца, между которыми размещены ролики, дополнительно жестко соединены между собой пластинами, образуя окна для роликов и объединяя ролики в ряды, при этом радиальные пазы корпуса для каждого из верхних рядов роликов выполнены с возможностью радиального перемещения большего, чем для нижних рядов роликов, причем каждый из рядов роликов выполнен с возможностью независимого вращения относительно корпуса.
Новым является также то, что количество рядов роликов более одного.
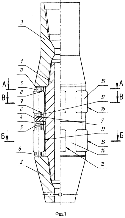
На фиг.1 изображено устройство с частичным осевым разрезом.
На фиг.2 – разрез А-А.
На фиг.3 – разрез Б-Б.
На фиг.4 – разрез В-В с условным изображением Г корпуса из разреза Б-Б.
Устройство для выправления обсадной колонны состоит из корпуса 1 с коническими прямой 2 и обратной 3 направляющими и кольцевого паза 4 на наружной поверхности корпуса 1. В кольцевом пазу 4 корпуса 1 последовательно установлены кольца 5 и 6 с пазами 7 (см. фиг.2) на взаимно обращенных поверхностях 8 и 9 (см. фиг.1). Между кольцами 5 и 6 установлены на корпусе 1 ролики 10 с выступами 11 и 12 соответственно в верхней и нижней частях, расположенными в пазах 7 (см. фиг.2) колец 5 и 6 (см. фиг.1) с возможностью вращения и радиального перемещения. На наружной поверхности корпуса 1 (см. фиг.3, 4) выполнены радиальные пазы 13, имеющие в поперечном сечении корпуса 1 равномерно изменяющуюся глубину для радиального перемещения роликов 10, размещенных в радиальных пазах 13 корпуса 1. Кольца 5 и 6 (см. фиг.1) установлены с возможностью вращения относительно корпуса 1. Кольца 5 и 6, между которыми размещены ролики 10, дополнительно жестко соединены между собой пластинами 14, образуя окна 15 для роликов 10 и объединяя ролики в ряды 16. Радиальные пазы 13 (см. фиг.4) корпуса 1 для каждого из верхних рядов 16 роликов 10 выполнены с возможностью радиального перемещения большего (см. Г фиг.4), чем для нижних рядов 16 роликов 10 (см. фиг.3). Каждый из рядов 16 (см. фиг.1) роликов 10 выполнен с возможностью независимого вращения относительно корпуса 1. Количество рядов 16 роликов 10 должно быть более одного.
Устройство работает следующим образом.
Устройство (см. фиг.1) на колонне труб (не показана) спускают в скважину (не показана), оборудованную обсадной колонной (не показана). При спуске прямая коническая направляющая 2 предохраняет от упоров в стыки или неровности. При достижении им верхней границы смятого участка (не показан) обсадной колонны, который определяют по геофизическим исследованиям либо по снижению веса колонны труб. После чего спуск прекращают. Затем устройство приводят во вращение, ролики 10 нижнего ряда 16 входят в контакт со смятым участком обсадной колонны. При этом ролики 10 притормаживаются, корпус 1 (см. фиг.3) продолжает вращаться, выталкивая ролики 10 из окон 15 наружу благодаря радиальным пазам 13, выправляя обсадную колонну. В случае, когда ролики доходят до вершины 17 радиального паза 13, а процесс выправления не завершен, ролики 10 перескакивают во впадину 18 следующего радиального паза 13, исключая заклинивание. Процесс выправления смятого участка продолжается до уменьшения усилия вращения. После чего устройству, кроме вращательного, придают еще и поступательное вниз движение, которое выбирается таким образом, чтобы не превысить допустимое усилие вращения колонны труб. В результате входит во взаимодействие с предварительно обработанным смятым участком следующий ряд 16 роликов 10 (см. фиг.4). Процесс выправления повторяется благодаря тому, что радиальное перемещение следующего верхнего ряда 16 (см. фиг.1) роликов 10 больше нижнего, который при этом подготавливает нижележащий смятый участок для верхнего ряда 16 роликов 10. Причем смятый участок обсадной колонны с каждым разом после последовательного прохождения всех верхних рядов 16 роликов 10 все больше выправляется до полного исчезновения так, как подобная конструкция устройства позволяет это сделать. Количество рядов 16 роликов 10 в кольцевом пазе 4 корпуса 1 выбирается от глубины и длины смятого участка обсадной колонны (чем длина и глубина больше, тем больше количество рядов 16 роликов 10) так, чтобы при допустимых техническими требованиями усилиях вращения и поступательного перемещения за один проход полностью выправить смятый участок обсадной колонны. Наличие пластин 14, жестко соединяющих кольца 5 и 6, исключает перекос роликов 10 и снижает нагрузку, исключая аварийные ситуации, на выступы 11, 12 и пазы 7, расположенные на взаимно обращенных поверхностях 8 и 9 колец 5 и 6 соответственно. При необходимости в зону выправления смятого участка роликами 10 доставляются технологические жидкости (например, смазывающе-охлаждающая жидкость) любым известным способом (например, созданием циркуляции). При подъеме обратная коническая направляющая 3 предохраняет от упоров в стыки или неровности.
Применение предлагаемой конструкции устройства позволяет произвести порядную правку глубоко смятых участков обсадных колонн с допустимыми техническими требованиями усилий вращения и поступательного перемещения. Этим исключаются аварийные ситуации и повышается эффективность работы устройства.
Формула изобретения
1. Устройство для выправления обсадной колонны, включающее корпус с коническими прямой и обратной направляющими и кольцевым пазом на наружной поверхности, последовательно установленные в кольцевом пазу корпуса кольца с пазами на взаимно обращенных поверхностях, установленные на корпусе между кольцами ролики с выступами в верхней и нижней частях, расположенными в пазах колец с возможностью вращения и радиального перемещения, а на наружной поверхности корпуса выполнены радиальные пазы, имеющие в поперечном сечении корпуса равномерно изменяющуюся глубину для радиального перемещения роликов, размещенных в радиальных пазах корпуса, кольца установлены с возможностью вращения относительно корпуса, отличающееся тем, что кольца, между которыми размещены ролики, дополнительно жестко соединены между собой пластинами, образуя окна для роликов и объединяя ролики в ряды, при этом радиальные пазы корпуса для каждого из верхних рядов роликов выполнены с возможностью радиального перемещения большего, чем для нижних рядов роликов, причем каждый из рядов роликов выполнен с возможностью независимого вращения относительно корпуса.
2. Устройство для выправления обсадной колонны по п.1, отличающееся тем, что количество рядов роликов более одного.
РИСУНКИ
|
|