|
|
(21), (22) Заявка: 2004124500/03, 12.08.2004
(24) Дата начала отсчета срока действия патента:
12.08.2004
(45) Опубликовано: 10.07.2005
(56) Список документов, цитированных в отчете о поиске:
RU 2110685 C1, 10.05.1998. SU 279524 A, 18.01.1971. SU 471438 A, 29.08.1975. SU 889839 A, 25.12.1981. SU 1555479 A1, 15.09.1984. RU 2018656 C1, 30.08.1994. GB 2172528 A, 24.09.1986. US 5107933 A, 28.04.1992. DE 3329313 A, 16.02.1984.
Адрес для переписки:
300002, г.Тула, ул. Мосина, 2, ОАО “АК “Туламашзавод”, Зам. нач. УПРиНТИ М.Н. Соколовой
|
(72) Автор(ы):
Дронов Е.А. (RU), Бессонов А.Н. (RU), Арефьев В.И. (RU), Макарьев Е.Е. (RU), Черкасов А.Н. (RU), Волков А.Н. (RU), Зинин Г.Н. (RU)
(73) Патентообладатель(и):
Открытое акционерное общество “Акционерная Компания “Туламашзавод” (ОАО “АК “Туламашзавод”) (RU)
|
(54) ПНЕВМОПОДАТЧИК (ВАРИАНТЫ)
(57) Реферат:
Изобретение относится к области горного дела, в частности к пневмоподатчикам для перфораторов. Изобретение направлено на улучшение и расширение эксплуатационных возможностей пневмоподатчиков, а также повышение надежности и удобства в работе. Указанный технический результат достигается тем, что пневмоподатчик по первому варианту содержит закрепленный на основании корпус с трубчатым штоком, на одном конце которого закреплен поршень, а на другом выступающем из корпуса конце установлена головка с приспособлением для крепления перфоратора, распределитель сжатого воздуха с каналами, связанными с напорной магистралью, выпускной магистралью, полостью штока и полостью трубки, один конец которой жестко закреплен в головке, а второй расположен в осевом канале поршня, при этом полость штока связана с полостью корпуса посредством отверстий. Пневмоподатчик снабжен защитным кожухом для выдвижной части штока, кинематически связанным с корпусом, и, как минимум, одним узлом фиксации штока от проворота, при этом защитный кожух своим верхним торцом жестко закреплен на выступающем конце штока под распределителем и охватывает наружную поверхность корпуса пневмоподатчика на всем диапазоне выдвижения штока. В пневмоподатчике по второму варианту корпус и защитный кожух предусмотрены телескопическими. Телескопический защитный кожух выполнен в виде наружного кожуха, верхняя часть которого закреплена на штоке под распределителем, и, как минимум, одного внутреннего выдвижного кожуха, верхняя часть которого закреплена на сопрягаемом с ним выдвижном корпусе или на штоке над местом крепления выдвижного корпуса, и, как минимум, одним узлом фиксации штока от проворота для каждой пары сопрягаемых кожухов и внутреннего кожуха с неподвижным корпусом. Узел фиксации штока от проворота выполнен в виде направляющей на внешней поверхности корпуса вдоль его оси или внутренней поверхности кожуха и ответной проточки на внутренней поверхности кожуха или внешней поверхности корпуса соответственно. Для уменьшения уровня запыленности при стравливании отработанного сжатого воздуха в атмосферу и уменьшения уровня шума пневмоподатчик дополнительно снабжен, как минимум, одним каналом, связанным с выпускной магистралью и выполненным в верхнем торце защитного кожуха для подачи в его полость отработанного пневмоподатчиком сжатого воздуха при выдвинутом штоке, и, как минимум, одним открытым каналом, выполненным на наружной поверхности корпуса и/или внутренней поверхности кожуха, и/или зазором, образованным корпусами кожуха и корпуса, для стравливания отработанного сжатого воздуха в атмосферу. Верхний торец защитного кожуха выполнен в виде втулки с внутренним кольцевым каналом для сбора отработанного сжатого воздуха, поступающего в выпускную магистраль из полостей рабочего и/или холостого хода штока, при этом внутренняя поверхность втулки и шток со стороны корпуса образуют сообщающуюся с кольцевым каналом кольцевую щель, обеспечивающую направление движения отработанного сжатого воздуха из кольцевого канала вдоль выдвижной части штока в направлении к корпусу, а кольцевой канал связан с выпускной магистралью дополнительным каналом или дополнительными каналами. 2 н. и 6 з.п. ф-лы, 8 ил.

Изобретение, предназначенное преимущественно для пневматических перфораторов, относится к конструктивным элементам бурильных установок, в частности к устройствам для подачи инструментов (например, перфораторов) к рабочему забою.
Известны телескопические пневматические податчики бурильных установок, состоящие из двух коаксиальных цилиндров и трубчатого выдвижного штока.
Наиболее близким к решаемой технической задаче по первому варианту пневмоподатчика является пневмоподатчик, содержащий закрепленный на основании корпус с трубчатым штоком, на одном конце которого закреплен поршень, а на другом выступающем из корпуса конце установлена головка с приспособлением для крепления перфоратора, распределитель сжатого воздуха с каналами, связанными с напорной магистралью, выпускной магистралью, полостью штока и полостью трубки, один конец которой жестко закреплен в головке, а второй расположен в осевом канале поршня, при этом полость штока связана с полостью корпуса посредством отверстий (RU 2110685, Е 21 с 5/11, 10.05.98).
Наиболее близким к решаемой технической задаче по второму варианту пневмоподатчика является пневмоподатчик, содержащий закрепленный на основании телескопический корпус, выполненный в виде неподвижного и, как минимум, одного выдвижного внутреннего корпуса, в полости которого размещен трубчатый шток, на одном конце которого закреплен поршень, а на другом выступающем из корпуса конце установлена головка с приспособлением для крепления перфоратора, распределитель сжатого воздуха с каналами, связанными с напорной магистралью, выпускной магистралью, полостью штока и полостью трубки, один конец которой жестко закреплен в головке, а второй расположен в осевом канале поршня, при этом полость штока связана с полостью выдвижной части корпуса посредством отверстий (RU 2110685, Е21 с 5/11, 10.05.98).
К недостатками известных конструкций пневмоподатчиков относятся, во-первых, ограниченность их применения из-за возможности взаимного поворота штока относительно корпуса при соосном взаимном расположении пневмоподатчика и штанги перфоратора, во-вторых, повышенный износ поверхности выдвижного штока и уплотнений из-за попадания на их поверхности образующегося при бурении породы абразива, и, в-третьих, повышенный травматизм из-за возможного защемления рук и одежды бурильщика между выдвижным штоком и неподвижными частями пневмоподатчика, кроме того, при стравливании отработанного сжатого воздуха в атмосферу увеличивается уровень запыленности в зоне органов дыхания бурильщика и увеличивается уровень шума из-за резкого расширения отработанного сжатого воздуха.
Изобретение направлено на расширение и улучшение эксплуатационных возможностей пневмоподатчика, а также повышение надежности и удобства в работе.
Для достижения указанного технического результата предлагаются два варианта пневмоподатчиков преимущественно для пневматических перфораторов.
Пневмоподатчик по первому варианту, содержащий закрепленный на основании корпус с трубчатым штоком, на одном конце которого закреплен поршень, а на другом выступающем из корпуса конце установлена головка с приспособлением для крепления перфоратора, распределитель сжатого воздуха с каналами, связанными с напорной магистралью, выпускной магистралью, полостью штока и полостью трубки, один конец которой жестко закреплен в головке, а второй расположен в осевом канале поршня, при этом полость штока связана с полостью корпуса посредством отверстий, снабжен защитным кожухом для выдвижной части штока, кинематически связанный с корпусом, и, как минимум, одним узлом фиксации штока от проворота, при этом защитный кожух своим верхним торцом жестко закреплен на выступающем конце штока под распределителем и охватывает наружную поверхность корпуса пневмоподатчика на всем диапазоне выдвижения штока.
Узел фиксации штока от проворота может быть выполнен в виде направляющей на внешней поверхности корпуса вдоль его оси или внутренней поверхности кожуха и ответной проточки на внутренней поверхности кожуха или внешней поверхности корпуса соответственно.
Для уменьшения уровня запыленности в зоне органов дыхания бурильщика при стравливании отработанного сжатого воздуха в атмосферу и уменьшения уровня шума из-за резкого расширения отработанного сжатого воздуха пневмоподатчик по первому варианту дополнительно снабжен, как минимум, одним каналом, связанным с выпускной магистралью и выполненным в верхнем торце защитного кожуха для подачи в его полость отработанного пневмоподатчиком сжатого воздуха при выдвинутом штоке, и, как минимум, одним открытым каналом, выполненным на наружной поверхности корпуса и/или внутренней поверхности кожуха, и/или зазором, образованным корпусами кожуха и корпуса, для стравливания отработанного сжатого воздуха в атмосферу.
Для достижения указанной цели верхний торец защитного кожуха выполнен в виде втулки с внутренним кольцевым каналом для сбора отработанного сжатого воздуха, поступающего в выпускную магистраль из полостей рабочего и/или холостого хода штока, при этом внутренняя поверхность втулки и шток со стороны корпуса образуют сообщающуюся с кольцевым каналом кольцевую щель, обеспечивающую направление движения отработанного сжатого воздуха из кольцевого канала вдоль выдвижной части штока в направлении к корпусу, а кольцевой канал связан с выпускной магистралью дополнительным каналом или дополнительными каналами.
Пневмоподатчик по второму варианту, содержащий закрепленный на основании телескопический корпус, выполненный в виде неподвижного и, как минимум, одного выдвижного внутреннего корпуса, в полости которого размещен трубчатый шток, на одном конце которого закреплен поршень, а на другом выступающем из корпуса конце установлена головка с приспособлением для крепления перфоратора, распределитель сжатого воздуха с каналами, связанными с напорной магистралью, выпускной магистралью, полостью штока и полостью трубки, один конец которой жестко закреплен в головке, а второй расположен в осевом канале поршня, при этом полость штока связана с полостью выдвижной части корпуса посредством отверстий, снабжен телескопическим защитным кожухом для выдвижной части штока, выполненным в виде наружного кожуха, верхняя часть которого закреплена на штоке под распределителем, и, как минимум, одного внутреннего выдвижного кожуха, верхняя часть которого закреплена на сопрягаемом с ним выдвижном корпусе или на штоке над местом крепления выдвижного корпуса, и, как минимум, одним узлом фиксации штока от проворота для каждой пары сопрягаемых кожухов и внутреннего кожуха с неподвижным корпусом.
Узел фиксации штока от проворота может быть выполнен в виде продольной направляющей и ответной ей проточки.
Для уменьшения уровня запыленности в зоне органов дыхания бурильщика при стравливании отработанного сжатого воздуха в атмосферу и уменьшения уровня шума из-за резкого расширения отработанного сжатого воздуха пневмоподатчик по второму варианту дополнительно снабжен, как минимум, одним каналом, выполненным в верхнем торце каждого кожуха, связывающим выпускную магистраль с полостью кожуха при выдвинутом штоке, и, как минимум, одним открытым каналом, выполненным на наружной поверхности неподвижного корпуса и/или внутренней поверхности кожухов, и/или зазорами, образованными сопрягаемыми кожухами и внутренним кожухом с неподвижным корпусом, связывающими указанные полости с атмосферой.
Для достижения указанной цели верхний торец, по крайней мере, наружного кожуха выполнен в виде втулки с внутренним кольцевым каналом для сбора отработанного сжатого воздуха, поступающего в выпускную магистраль из полостей рабочего и/или холостого хода штока, при этом внутренняя поверхность втулки и шток со стороны корпуса образуют сообщающуюся с кольцевым каналом кольцевую щель, обеспечивающую направление движения отработанного сжатого воздуха из кольцевого канала вдоль выдвижной части штока в направлении к корпусу, а кольцевой канал связан с выпускной магистралью дополнительным каналом или дополнительными каналами.
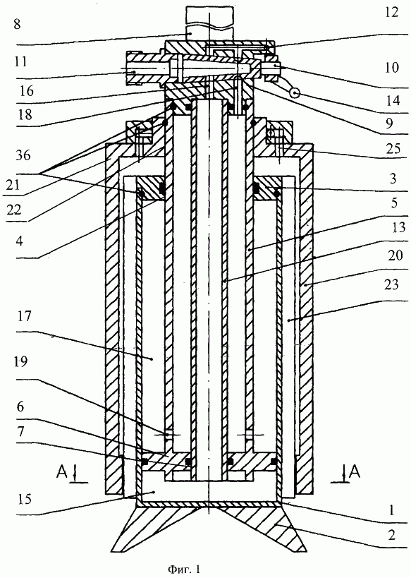
Изобретение поясняется чертежами, где на фиг.1 изображена схема общего вида пневмоподатчика в разрезе с одноступенчатым защитным кожухом (первый вариант); на фиг.2 – разрез А-А на фиг.1; на фиг.3 – схема общего вида пневмоподатчика в разрезе с телескопическими защитным кожухом и корпусом (второй вариант); на фиг.4 – разрез А-А на фиг.3; на фиг.5 – пневмоподатчик по первому варианту с верхним торцом защитного кожуха в виде втулки с кольцевым внутренним каналом; на фиг.6 – разрез А-А на фиг.5; на фиг.7 – пневмоподатчик по второму варианту с верхним торцом наружного и внутреннего защитного кожуха в виде втулки с кольцевым внутренним каналом; на фиг.8 – разрез А-А на фиг.7.
Пневматический податчик с одноступенчатым защитным кожухом по первому варианту исполнения содержит неподвижно установленный на основании 2 корпус 1 с дном и верхним торцом в виде крышки 3 с осевым каналом 4 и уплотнениями. В корпусе расположен выдвижной трубчатый шток 5, на одном конце которого закреплен поршень 6 с осевым каналом 7 и уплотнениями, а на другом выступающем из корпуса конце (части) штока закрепляется головка 8 с приспособлением для крепления перфоратора и распределитель 9 с краном 10 и каналами, которые связывают напорную магистраль 11 и выпускную магистраль 12 с полостью штока 5 и полостью трубки 13. Трубка 13 установлена внутри штока 5, при этом один конец трубки неподвижно закреплен в головке 8 (или в выступающем из корпуса конце штока), а второй неподвижно закреплен в осевом канале 7 поршня 6. Для управления работой крана 10 в распределителе предусмотрена ручка 14.
Полость рабочего хода 15 (подпоршневое пространство) штока 5 связана с напорной магистралью 11 посредством канала 16 распределителя 9 и полости трубки 13.
Полость холостого хода 17 штока 5 связана с напорной магистралью 11 посредством канала 18 распределителя 9, полости штока и отверстий 19, выполненных в штоке перед поршнем (в месте расположения поршня).
Для защиты выдвижной части штока, в том числе и выступающей, от угольной пыли и абразива пневмоподатчик дополнительно снабжен защитным кожухом 20 с верхним торцом 21, выполненным в виде крышки, и осевым каналом 22, обеспечивающим монтаж кожуха и крепление его верхнего торца на штоке.
Защитный кожух своим верхним торцом неподвижно установлен на выступающей части штока коаксиально (соосно) корпусу пневмоподатчика, максимально защищая его выступающую и выдвижную части от угольной пыли, например, под распределителем.
Для фиксации штока и защитного кожуха от проворота на корпусе пневмоподатчик снабжен не менее чем одним узлом фиксации штока от проворота, выполненным в виде продольной направляющей 23 и ответной ей проточки (паза) 24 на внутренней поверхности защитного кожуха. Направляющие могут быть выполнены на внутренней поверхности защитного кожуха, а ответные им проточки (пазы) – на корпусе.
Выпускная магистраль 12 соединена с каналом 25, выполненным в верхней части защитного кожуха, например в его верхнем торце, для подачи при выдвинутом положении штока отработанного пневмоподатчиком сжатого воздуха из выпускной магистрали 12 в полость, образованную защитным кожухом 21 и корпусом 1 пневмоподатчика. Воздух затем удаляется через продольный открытый канал (проточку) 26 или продольные открытые каналы (проточки), выполненные на внутренней поверхности защитного кожуха или наружной поверхности корпуса, и/или зазор 27 в месте сочленения защитного кожуха с корпусом, например, со стороны нижнего торца защитного кожуха.
В пневматическом податчике по второму варианту исполнения корпус пневмоподатчика и защитный кожух выполнены телескопическими (многоступенчатыми).
Корпус пневмоподатчика состоит из неподвижного корпуса 1 и установленного внутри него выдвижного корпуса 28, при этом верхний торец выступает из неподвижного корпуса.
Корпус может быть выполнен многоступенчатым, состоящим из неподвижного корпуса 1 и раздвижной системы выдвижных корпусов. Верхний торец каждого внутрилежащего выдвижного корпуса выступает над верхним торцом наружного по отношению к нему выдвижного корпуса. На верхних торцах выдвижных корпусов закреплены верхние торцы соответствующих внутренних защитных кожухов.
Неподвижный корпус и выдвижной корпус пневмоподатчика выполнены, например, в виде пустотелых стаканов.
Верхний торец неподвижного и выдвижного (или выдвижных) корпуса выполнен в виде крышки с осевым каналом и уплотнениями. Осевой канал в верхнем торце неподвижного корпуса обеспечивает монтаж и установку выдвижного корпуса, а осевой канал в верхнем торце выдвижного корпуса обеспечивает его установку на штоке либо установку следующих внутрилежащих выдвижных корпусов в случае выполнения корпуса многоступенчатым, при этом последний выдвижной корпус по отношению к неподвижному корпусу закреплен на выступающей части штока.
Внутри выдвижного корпуса (или внутри последнего выдвижного корпуса по отношению к неподвижному корпусу) расположен выдвижной трубчатый шток 5, на одном конце которого закреплен поршень 6 с осевым каналом 7 и уплотнениями, а на другом выступающем из корпуса конце (части) штока закреплена головка 8 с приспособлением для крепления перфоратора и распределитель 9 с краном 10 и каналами, которые связывают напорную магистраль 11, выпускную магистраль 12 с полостью штока 5 и полостью трубки 13. Трубка 13 смонтирована внутри штока, при этом один конец трубки неподвижно закреплен в головке 8 (или в выступающем из корпуса конце штока), а второй неподвижно закреплен в осевом канале поршня. Для управления работой крана в распределителе предусмотрена ручка 14.
Полость рабочего хода 15 (подпоршневое пространство) штока 5 связана с напорной магистралью 11 посредством канала 16 и трубки 13.
Полость холостого хода 17 штока 5 связана с напорной магистралью посредством канала 18, полости штока и отверстий 19, выполненных в штоке и выдвижном корпусе перед поршнем (в месте расположения поршня).
Нижний торец выдвижного корпуса связан в поперечном сечении с неподвижным корпусом или соответствующим выдвижным корпусом (в случае выполнения корпуса многоступенчатым) с обеспечением возвратно-поступательного движения выдвижного корпуса (или выдвижных корпусов) вдоль оси пневмоподатчика до упора в верхний торец неподвижного корпуса (или до упора в верхний торец соответствующего нижерасположенного и примыкающего к нему выдвижного корпуса). Такая связь может быть обеспечена, например, с помощью выступа (упора) 29, выполненного на внутренней поверхности выдвижного корпуса (или выдвижных корпусов) со стороны нижнего торца.
Защитный кожух выполнен в виде раздвижной системы пустотелых кожухов, например, как минимум, одного выдвижного внутреннего 30 и наружного 31 кожуха. Кожухи могут быть выполнены, например, в виде пустотелых стаканов, установленных коаксиально неподвижному корпусу податчика.
Количество внутренних выдвижных кожухов соответствует количеству выдвижных корпусов.
Верхние торцы наружного 31 и внутреннего 30 кожухов выполнены в виде крышек с осевыми каналами и уплотнениями для их монтажа и установки на штоке и/или верхних торцах выдвижных корпусов соответственно. Наружный кожух своим верхним торцом неподвижно закреплен на штоке, максимально защищая его выступающую и выдвижные части от угольной пыли, например, под распределителем, а внутренний кожух своим верхним торцом закреплен на верхнем торце сопряженного с ним выдвижного корпуса.
Пневмоподатчик снабжен не менее чем одним узлом фиксации штока от проворота для каждой пары сопрягаемых кожухов (неподвижного и выдвижного внутреннего кожуха или выдвижных внутренних кожухов) и внутреннего кожуха с неподвижным корпусом. Узел фиксации штока от проворота выполнен в виде продольной направляющей и ответной ей проточки. Совместно с жестким креплением верхнего торца наружного корпуса 31 кожуха на выступающей части штока 5 узлы фиксации штока от проворота предотвращают возможность разворота штока относительно неподвижной части корпуса.
Защитный кожух охватывает неподвижный корпус пневмоподатчика на всем диапазоне выдвижения штока.
В неподвижном и выдвижных кожухах защитного кожуха (преимущественно в их крышках) выполнены каналы 32 и 33 для подачи отработанного пневмоподатчиком сжатого воздуха в полости, образованные корпусами защитного кожуха и неподвижной частью корпуса податчика при выдвинутом штоке. Для стравливания отработанного пневмоподатчиком сжатого воздуха из указанных полостей в атмосферу места сочленения кожухов между собой и с неподвижным корпусом со стороны их нижних торцов имеют зазоры 34 и/или на внутренней поверхности корпусов защитного кожуха выполнены открытые продольные каналы (проточки) 35.
Неподвижные соединения деталей и узлов пневмоподатчика на фиг.1 и фиг.2 условно показаны штифтами 36.
Для уменьшения уровня шума из-за резкого расширения отработанного сжатого воздуха верхний торец 21 в первом варианте исполнения пневмоподатчика (фиг.3) защитного кожуха верхний торец 37 наружного 31 и/или верхний торец 38 внутреннего 30 или внутренних защитных кожухов во втором варианте исполнения пневмоподатчика (фиг.4) выполнены в виде втулки, на внутренней поверхности которой предусмотрен замкнутый кольцевой канал (проточка) 39 по всей длине втулки.
В дне кольцевого канала втулки наружного кожуха 31 выполнено отверстие 40 (или отверстия), через которое отработанный сжатый воздух из выпускной магистрали 12 по дополнительному каналу или каналам (на фиг. не показано) подается в кольцевой канал.
Внутренняя поверхность втулки (от нижнего торца кольцевого канала до нижнего торца втулки) защитного кожуха 21 или наружного кожуха 31 и поверхность штока 5 со стороны верхнего торца корпуса 1 или внутреннего кожуха 30, соответственно, образуют кольцевую щель 41 для обеспечения направления движения отработанного сжатого воздуха из кольцевого канала 39 вдоль выдвижной части штока 5 по направлению к верхнему торцу корпуса 1 или верхнему торцу 38 внутреннего кожуха 30 соответственно, при этом внутренняя поверхность втулки (от верхнего торца кольцевого канала до верхнего торца втулки) со стороны распределителя жестко сопряжена со штоком 5.
Для сбора сжатого воздуха в каждом следующем по ходу его движения кольцевом канале 39 в верхних торцах внутренних кожухов выполнены канал или каналы 42 (фиг.4), связанные с кольцевым каналом 39, а для обеспечения направления движения сжатого воздуха вдоль наружной поверхности сопряженного с внутренним кожухом 30 внутреннего корпуса 28 выполнена кольцевая щель 43, образованная внутренней поверхностью втулки (от нижнего торца кольцевого канала до нижнего торца втулки) и наружной поверхностью внутреннего выдвижного корпуса 28, при этом внутренняя поверхность втулки от верхнего торца кольцевого канала до верхнего торца втулки жестко связана с наружной поверхностью внутреннего выдвижного корпуса.
Кольцевая щель может иметь сужение в сторону выхода сжатого воздуха.
Работа пневмоподатчика по первому варианту осуществляется следующим образом.
На головке штока устанавливают перфоратор. Распределитель соединяют с напорной магистралью.
Для приведения пневмоподатчика в рабочее положение (подача перфоратора к месту бурения) ручку 14 распределителя 9 переводят в положение “подача”. В полость рабочего хода 15 под поршень 6 из напорной магистрали 11 через канал 16 и трубку 13 поступает сжатый воздух. Поршень под давлением сжатого воздуха совершает поступательное движение. По мере выдвижения штока воздух из полости холостого хода 17 штока 5 через отверстия 19, канал 18 и выпускную магистраль 12 стравливается в атмосферу.
Вместе со штоком 5 по направляющим 23 и пазам (проточкам) 24 перемещается защитный кожух 20, предохраняя выдвижную часть штока, в т.ч. и выступающую, от попадания на нее абразива, образующегося при бурении, при этом обеспечивается возможность бурения при соосном расположении пневмоподатчика и штанги (например, при вертикальном бурении).
После завершения бурения ручку 14 распределителя 9 переводят в положение “обратный ход”, при этом в полость холостого хода 17 штока 5 через канал 18 и отверстия 19 из напорной магистрали 11 подается сжатый воздух. Поршень под давлением сжатого воздуха совершает возвратное движение. По мере опускания штока 5 воздух из полости рабочего хода 15 штока 5 через трубку 13, канал 16 и выпускную магистраль 12 стравливается в атмосферу. Вместе со штоком 5 перемещается защитный кожух 20.
В случае соединения выпускной магистрали с каналом 25 (канал или каналы, соединяющий(щие) их, на фиг. не показаны), отработанный пневмоподатчиком сжатый воздух при рабочем и/или холостом ходе штока поступает во внутреннюю полость корпусов защитного кожуха, далее через каналы 26 и/или зазор 27 – в атмосферу, что позволяет уменьшить шумность работы пневмоподатчика за счет постепенного расширения сжатого воздуха и увеличить ресурс и надежность подвижных частей за счет уменьшения их запыленности в результате регулярной и принудительной продувки внутренней полости защитного кожуха и, следовательно, выдвижных частей.
Работа телескопического защитного кожуха аналогична работе одноступенчатого пневмоподатчика по первому варианту.
Формула изобретения
1. Пневмоподатчик, содержащий закрепленный на основании корпус с трубчатым штоком, на одном конце которого закреплен поршень, а на другом выступающем из корпуса конце установлена головка с приспособлением для крепления перфоратора, распределитель сжатого воздуха с каналами, связанными с напорной магистралью, выпускной магистралью, полостью штока и полостью трубки, один конец которой жестко закреплен в головке, а второй расположен в осевом канале поршня, при этом полость штока связана с полостью корпуса посредством отверстий, отличающийся тем, что пневмоподатчик снабжен защитным кожухом для выдвижной части штока, кинематически связанным с корпусом, и, по крайней мере, одним узлом фиксации штока от проворота, при этом защитный кожух своим верхним торцом жестко закреплен на выступающем конце штока под распределителем и охватывает наружную поверхность корпуса пневмоподатчика на всем диапазоне выдвижения штока.
2. Пневмоподатчик по п.1, отличающийся тем, что узел фиксации штока от проворота выполнен в виде направляющей на внешней поверхности корпуса вдоль его оси или внутренней поверхности кожуха и ответной проточки на внутренней поверхности кожуха или внешней поверхности корпуса, соответственно.
3. Пневмоподатчик по п.1, отличающийся тем, что дополнительно снабжен, как минимум, одним каналом, связанным с выпускной магистралью и выполненным в верхнем торце защитного кожуха для подачи в его полость отработанного пневмоподатчиком сжатого воздуха при выдвинутом штоке, и, по крайней мере, одним открытым каналом, выполненным на наружной поверхности корпуса и/или внутренней поверхности кожуха, и/или зазором, образованным корпусами кожуха и корпуса, для стравливания отработанного сжатого воздуха в атмосферу.
4. Пневмоподатчик по п.1, отличающийся тем, что верхний торец защитного кожуха выполнен в виде втулки с внутренним кольцевым каналом для сбора отработанного сжатого воздуха, поступающего в выпускную магистраль из полостей рабочего и/или холостого хода штока, при этом внутренняя поверхность втулки и шток со стороны корпуса образуют сообщающуюся с кольцевым каналом кольцевую щель, обеспечивающую направление движения отработанного сжатого воздуха из кольцевого канала вдоль выдвижной части штока в направлении к корпусу, а кольцевой канал связан с выпускной магистралью дополнительным каналом или дополнительными каналами.
5. Пневмоподатчик, содержащий закрепленный на основании телескопический корпус, выполненный в виде неподвижного и, по крайней мере, одного выдвижного внутреннего корпуса, в полости которого размещен трубчатый шток, на одном конце которого закреплен поршень, а на другом выступающем из корпуса конце установлена головка с приспособлением для крепления перфоратора, распределитель сжатого воздуха с каналами, связанными с напорной магистралью, выпускной магистралью, полостью штока и полостью трубки, один конец которой жестко закреплен в головке, а второй расположен в осевом канале поршня, при этом полость штока связана с полостью выдвижной части корпуса посредством отверстий, отличающийся тем, что пневмоподатчик снабжен телескопическим защитным кожухом для выдвижной части штока, выполненным в виде наружного кожуха, верхняя часть которого закреплена на штоке под распределителем, и, по крайней мере, одного внутреннего выдвижного кожуха, верхняя часть которого закреплена на сопрягаемом с ним выдвижном корпусе или на штоке над местом крепления выдвижного корпуса, и, по крайней мере, одним узлом фиксации штока от проворота для каждой пары сопрягаемых кожухов и внутреннего кожуха с неподвижным корпусом.
6. Пневмоподатчик по п.5, отличающийся тем, что узел фиксации штока от проворота выполнен в виде продольной направляющей и ответной ей проточки.
7. Пневмоподатчик по п.5, отличающийся тем, что дополнительно снабжен, по крайней мере, одним каналом, выполненным в верхнем торце каждого кожуха, связывающим выпускную магистраль с полостью кожуха при выдвинутом штоке, и, по крайней мере, одним открытым каналом, выполненным на наружной поверхности неподвижного корпуса и/или внутренней поверхности кожухов, и/или зазорами, образованными сопрягаемыми кожухами и внутренним кожухом с неподвижным корпусом, связывающими указанные полости с атмосферой.
8. Пневмоподатчик по п.5, отличающийся тем, что верхний торец, по крайней мере, наружного кожуха выполнен в виде втулки с внутренним кольцевым каналом для сбора отработанного сжатого воздуха, поступающего в выпускную магистраль из полостей рабочего и/или холостого хода штока, при этом внутренняя поверхность втулки и шток со стороны корпуса образуют сообщающуюся с кольцевым каналом кольцевую щель, обеспечивающую направление движения отработанного сжатого воздуха из кольцевого канала вдоль выдвижной части штока в направлении к корпусу, а кольцевой канал связан с выпускной магистралью дополнительным каналом или дополнительными каналами.
РИСУНКИ
|
|