|
|
(21), (22) Заявка: 2004108148/12, 19.03.2004
(24) Дата начала отсчета срока действия патента:
19.03.2004
(30) Конвенционный приоритет:
20.03.2003 DE 20304483.5
(45) Опубликовано: 10.07.2005
(56) Список документов, цитированных в отчете о поиске:
FR 2752010 A1, 06.02.1998. ЕР 0967353 А1, 29.12.1999. DE 19739930 A1, 26.03.1998. RU 2183717 С2, 20.06.2002.
Адрес для переписки:
129010, Москва, ул. Б.Спасская, 25, стр.3, ООО “Юридическая фирма Городисский и Партнеры”, пат.пов. С.А.Дорофееву
|
(72) Автор(ы):
ХЕРГЛОТЦ Тибор (DE)
(73) Патентообладатель(и):
ДР.ХАН ГМБХ УНД КО.КГ (DE)
|
(54) ПЕТЛЯ ДЛЯ ДВЕРЕЙ, ОКОН И ПОДОБНЫХ УСТРОЙСТВ
(57) Реферат:
Петля содержит первую часть (10) петли с первой шарнирной частью (11), по меньшей мере, одну вторую часть (20) петли с шарнирной частью (21) и входящий в шарнирные части (11, 21) палец (30) петли, посредством которого они связаны друг с другом с возможностью поворота. Предусмотрено, по меньшей мере, в одной части (10) петли эксцентриковое устройство (50), за счет срабатывания которого шарнирная часть (11) может сдвигаться относительно шарнирной части (21) в направлении сдвига. Эксцентриковое устройство (50) имеет два удлиненных в поперечном сечении отверстия (52, 53), продольные направления которых проходят перпендикулярно друг другу, и две части (51, 30) пальца петли, которые соответственно входят в одно из отверстий (52, 53) и центральные продольные оси которых размещены эксцентрично друг к другу. 17 з.п. ф-лы, 13 ил.

Изобретение относится к петле для дверей, окон и подобных устройств, которая охарактеризована в ограничительной части пункта 1 формулы изобретения.
При монтаже дверей или окон часто требуется для перекрытия допусков изготовления и монтажа и для чистовой юстировки створки в стационарной раме, чтобы, например, подогнать давление прижима манжетного уплотнения, створку в раме незначительно сдвинуть, что может быть осуществлено путем сдвига шарнирной части петли параллельно самой себе относительно крепежной части петли.
Из WO 00/66863 известна регулировка по горизонтали, при которой в одной из обеих частей петли находится регулировочный элемент, причем палец петли установлен в окружающей его радиально подшипниковой втулке, которая на своей внешней боковой поверхности имеет продольную зубчатую нарезку, которая входит в зацепление с ответной зубчатой нарезкой на шарнирной части. Для регулировки пальца петли относительно створочной части петли предусмотрен установочный ходовой винт, который входит в проходящее в направлении регулирования, выполненное в пальце петли резьбовое отверстие, и установлен фиксированным образом с возможностью поворота с помощью подшипника в створочной части петли. При регулировании пальца петли подшипниковая втулка поворачивается вокруг пальца петли и “катится” по зубчатой нарезке.
Соответствующие выполненные сходным образом петли известны из ЕР 0992647 А2 и ЕР 0467075 В1. И в этих петлях подшипниковая втулка, окружающая палец петли, катится по зубчатой нарезке в шарнирной части.
В DE 20014727 описана сходная регулировка по горизонтали, в случае которой палец петли с целью согласования по положению может устанавливаться в подшипнике перпендикулярно своей оси в самой шарнирной части внутри втулкообразной направляющей, причем регулировка осуществляется посредством нарезных элементов, которые соответственно входят в резьбовые отверстия в расположенных отдельно в направляющей резьбовых сухарях.
Из ЕР 1209310 и DE 19739930 А1 известны устройства петель, в которых горизонтальная регулировка осуществляется в области фальца двери, окна или подобного устройства.
Известные из ЕР 1209310 А2 регулировочные устройства включают в себя форму выполнения, при которой на профильной стенке створки или рамы двери расположен ходовой винт, и другую форму выполнения, при которой два клина, смещаемые противоположно друг другу посредством эксцентрикового регулировочного элемента, прилегают к профильной стенке, чтобы осуществить желательную регулировку.
Однако соответственно выполненные петли дороги в изготовлении и сложны в монтаже. К тому же прилегание ходового винта или регулировочного элемента к профильной стенке может обусловить ее повреждение.
В регулировочном устройстве согласно DE 19739930 А1 возможна регулировка по горизонтали в плоскости рамы или створки, однако регулировка посредством эксцентрика вследствие формы выполнения, при которой нижняя часть на своей обращенной к верхней части кромке снабжена рельефными полосами, которые имеют ступенчато увеличивающуюся толщину, и ответного выполнения верхней части может осуществляться только ступенчато. Кроме того, изготовление петли является дорогостоящим, так как ступенчатое выполнение предусматривается непосредственно на самой петле.
В DE 101121187 А1 раскрыто регулировочное устройство, сходное с описанным в DE 19739930 А1, причем регулировочная часть жестко связана с регулировочной пластиной и допускает лишь ограниченное регулирование по повороту регулировочной пластины. Однако и в этом случае ввиду ступенчатого выполнения петли изготовление сопряжено с затратами и не обеспечивается плавная регулировка.
В описанных выше конструкциях петли крепежные винты частей петли должны быть, по меньшей мере, ослаблены, чтобы иметь возможность привести в действие соответствующие регулировочные элементы. При этом невозможно избежать оседания, например, створки двери с достаточной надежностью, особенно в случае тяжелых створок. К тому же существует опасность того, что параллельный сдвиг невозможен, то есть возникает перекос, что препятствует правильному положению створки в раме и может привести к повреждениям.
Кроме того, в вышеописанных конструкциях петель монтаж регулировочных устройств отличается сложностью, и части петель, в частности их шарнирные части, требуют при изготовлении дорогостоящей обработки.
Задачей настоящего изобретения является обеспечить возможность регулировки, особенно горизонтальной регулировки, подобных петель с более простой конструкцией и более экономичным изготовлением.
Указанная задача согласно изобретению решается признаками пункта 1 формулы изобретения.
За счет того, что эксцентриковое устройство имеет два отверстия, удлиненные в поперечном сечении, причем продольные направления поперечных сечений проходят перпендикулярно друг другу, и две части пальца петли, каждая из которых, по меньшей мере, выступает в одно из отверстий и центральные продольные оси которых размещены эксцентрично друг к другу, можно обеспечить простоту монтажа петли и, несмотря на это, надежную регулировку.
Под эксцентричностью здесь понимается, что средние продольные оси имеют сдвиг по отношению друг к другу.
В случае первого отверстия с удлиненным поперечным сечением речь идет о (центральном) отверстии в шарнирной части, и оно далее будет называться отверстием.
Второе отверстие с удлиненным поперечным сечением предпочтительно образовано в отдельном конструктивном элементе, который может изготавливаться отдельно и тем самым допускает модульное согласование с различными петлями и сдвигами. Это отверстие для простоты различения далее называется удлиненным отверстием.
Данный конструктивный элемент тем самым предпочтительным образом согласуется с внутренним диаметром отверстия с удлиненным поперечным сечением, так что он может помещаться в (центральное) отверстие шарнирной части.
Если удлиненное отверстие в поперечном сечении проходит перпендикулярно к плоскости, проходящей через дверь, окно или подобное устройство, то сдвиг производится параллельно плоскости, проходящей через дверь, окно или подобное устройство.
Если удлиненное отверстие в поперечном сечении проходит параллельно плоскости, проходящей через дверь, окно или подобное устройство, то сдвиг производится перпендикулярно этой плоскости.
В зависимости от размещения или ориентации отверстия и удлиненного отверстия можно, таким образом, ориентировать направление сдвига по горизонтали.
Соответствующая, принимающая эксцентриковое устройство шарнирная часть имеет отверстие с удлиненным поперечным сечением (см. выше) для приема пальца петли, удлиненная сторона поперечного сечения которого проходит в направлении сдвига, так что палец петли устанавливается внутри самой шарнирной части и одновременно направляется. Продольно проходящее (центральное) отверстие имеет в направлении, поперечном к направлению сдвига, ширину, примерно соответствующую диаметру пальца петли. Тем самым палец петли может перемещаться только в направлении сдвига.
Часть пальца петли или выступ может представлять собой винт, который в этом случае ввинчивается в торцевую сторону пальца петли. Предпочтительным образом речь идет о винте с головкой, так что, если окружность головки винта с головкой больше, чем внутренний диаметр удлиненного отверстия, палец петли с винтом не может быть отделен от упомянутого конструктивного элемента.
Этот элемент на своей внешней поверхности имеет выемку, в которую вставляется стопорный винт, так что узел, состоящий из пальца петли, выступа и упомянутого элемента, не сможет выпасть из шарнирной части, например, при монтаже.
Кроме того, в шарнирной части, в месте, соответствующем выемке, для приема стопорного винта может быть предусмотрено резьбовое отверстие.
Палец петли предпочтительно имеет, по меньшей мере, одну отбортовку. Отбортовка служит, с одной стороны, для опирания одной части петли на расположенную под ней вторую часть петли и, с другой стороны, для ограничения пути ввода пальца петли в (центральное) отверстие шарнирной части.
В описанных случаях одна часть пальца петли или выступ размещены эксцентрично к оси поворота пальца петли. Палец петли сам или его часть образуют в данном случае другую часть пальца петли.
Альтернативно одна часть пальца петли или выступ могут представлять собой часть самого пальца петли или, соответственно, выполняться с ним за одно целое. Тогда выступ размещен эксцентрично к оси поворота эксцентриковой втулки. Другая часть пальца петли образуется тогда эксцентриковой втулкой.
Если в случае петли речь идет о петле более чем из двух частей, например о петле, состоящей из трех частей, то палец петли должен пройти сквозь среднюю шарнирную часть, которая благоприятным образом принимает эксцентриковое устройство, чтобы захватывать шарнирную часть третьей части петли, для чего палец петли также проходит через удлиненное отверстие, что обеспечивает ему направляющее действие при сдвиге.
В этом варианте уже невозможно предусмотреть в качестве части пальца петли винт, напротив, упомянутая часть пальца петли выполнена именно в виде части пальца петли. Эксцентричное по отношению к оси вращения расположение части пальца петли, следовательно, пальца петли само обеспечивается за счет эксцентричной опоры в подшипнике пальца петли.
Для этого служит вышеупомянутая эксцентриковая втулка. Круговая в поперечном сечении эксцентриковая втулка образует в своей средней точке собственно ось вращения, и палец петли расположен по отношению к ней эксцентрично в эксцентриковой втулке. Эксцентриковая втулка входит одной своей стороной в центральное отверстие шарнирной части, которое в поперечном сечении ориентировано вдоль направления сдвига, а в поперечном направлении имеет ширину, приблизительно равную внешнему размеру выступающей эксцентриковой втулки, так что при ее повороте также происходит сдвиг пальца петли или, соответственно, шарнирной части поперек удлиненного отверстия.
Эксцентриковая втулка может быть выполнена за одно целое с пальцем петли или, альтернативно, может быть выполнена путем напрессовывания на палец петли.
Для фиксации от проворачивания пальца петли относительно эксцентриковой втулки или отбортовки палец втулки может иметь на своей внешней поверхности паз, проходящий в его продольном направлении. Однако также может применяться иное обладающее прочностью на скручивание соединение, например склеивание, сварка, прессование и т.д.
Ввиду формы выполнения сдвиг в петле согласно изобретению может осуществляться плавно (бесступенчато).
На чертежах представлены примеры выполнения петли согласно изобретению, где показано:
фиг.1 – петля согласно изобретению, состоящая из двух частей, вид сверху в направлении оси шарнира, которая может смещаться перпендикулярно плоскости, проходящей через дверь, окно или подобное устройство;
фиг.2 – петля согласно изобретению, состоящая из двух частей, вид сверху в направлении оси шарнира, которая может смещаться параллельно плоскости, проходящей через дверь, окно или подобное устройство;
фиг.3 и 5 – петля по фиг.2, вид снизу в направлении оси шарнира;
фиг.4 – петля по фиг.3 в разрезе вдоль линии А-А;
фиг.6 – петля по фиг.5, вид в разрезе вдоль линии В-В;
фиг.7 – конструктивный элемент с удлиненным отверстием по фиг.1 и фиг.2, вид сверху и в поперечном сечении;
фиг.8 – палец петли по фиг.1 и 2 с частичным разрезом, вид сбоку и сверху;
фиг.9 – другая форма выполнения петли согласно изобретению в пространственном представлении;
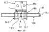
фиг.10 – петля по фиг.9 на виде сверху поперек оси шарнира; при этом невидимые линии изображены частично пунктиром;
фиг.11 – петля по фиг.9 на виде сверху в направлении оси шарнира; при этом невидимые линии изображены частично пунктиром;
фиг.12 – эксцентриковая втулка, вид снизу в направлении оси вращения;
фиг.13 – эксцентриковая втулка по фиг.12, вид сбоку.
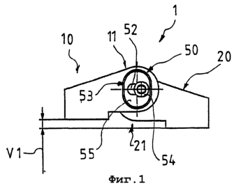
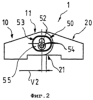
На фиг.1 и 2 показана обозначенная в целом ссылочной позицией 1 петля, состоящая из двух частей, на виде сверху в направлении оси шарнира, которая содержит первую часть 10 петли, захватывающую вторую часть 20 петли, причем каждая часть петли имеет шарнирную часть 11, соответственно 21 для приема не видимого на чертеже пальца петли, соединяющего с возможностью поворота соответствующие шарнирные части.
Каждая петля включает в себя по одному эксцентриковому устройству 50, которое размещено в имеющем овальную форму в сечении центральном отверстии 53 шарнирной части 11 первой части 10 петли. Оно имеет выступ 51, который проходит через удлиненное отверстие 52, которое предусмотрено в конструктивном элементе 55.
В случае выступа 51 речь идет о винте с головкой с шестигранной выемкой 54. Он проходит через удлиненное отверстие 52 в конструктивном элементе 55 и ввинчивается в торцевую сторону не видимого на чертеже пальца петли.
Элемент 55 имеет внешний размер, согласованный с внутренним размером центрального отверстия 53 шарнирной части 11, выполнен овальной формы и заполняет центральное отверстие 53 в сечении практически полностью. В продольном направлении, то есть в направлении оси шарнира, элемент 55 заполняет центральное отверстие 53 почти наполовину и располагается в нем примерно в центре (см. фиг.4).
Удлиненное отверстие 52 в элементе 55 проходит в поперечном сечении поперек направления сдвига.
В показанной на фиг.1 петле направление сдвига V1 находится в горизонтальной плоскости, проходящей перпендикулярно к двери, окну или подобному устройству. Поэтому удлиненное отверстие 52 в поперечном сечении проходит параллельно двери, окну или подобному устройству.
В противоположность этому, в случае петли, показанной на фиг.2, направление сдвига лежит в горизонтальной плоскости, проходящей параллельно к двери, окну и подобному устройству. Тем самым удлиненное отверстие 52 в поперечном сечении проходит перпендикулярно к этой плоскости.
На фиг.3 показан вид снизу петли по фиг.2 в направлении оси S1 шарнира. Можно видеть, что палец 30 петли имеет центральную шестигранную выемку для захвата соответствующим шестигранным ключом, чтобы осуществить сдвиг петли.
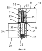
На фиг.4 и 6 показаны разрезы петли согласно изобретению вдоль линий А-А на фиг.3 и соответственно В-В на фиг.5, соответственно в направлении наблюдения по стрелке.
Видно, что винт 51 с головкой, служащий в качестве части пальца петли или выступа, как уже описано, проходит через удлиненное отверстие 52 элемента 55 и ввинчен в резьбовое отверстие 35 в торцевой стороне пальца 30 петли. Резьбовое отверстие для приема винта 51 с головкой размещено, как, в частности, следует из фиг.8, эксцентрично относительно оси S1 вращения пальца 30 петли, так что винт 51 размещен эксцентрично к оси вращения пальца петли.
Палец 30 петли (см. также фиг.8) образует две области различного диаметра. Первая область 33 несколько большего диаметра расположена в центральном, овальном в поперечном сечении отверстии 53 в шарнирной части 11 части 10 петли и заполняет ее в поперечном сечении в направлении, поперечном направлению сдвига. Эта область 33 пальца 30 петли может, таким образом, перемещаться в отверстии 53 только в направлении сдвига.
Вторая область 34 меньшего диаметра расположена в подшипниковой втулке 15 в шарнирной части 21 нижней, второй, части 20 петли. Обе области разделены окружной отбортовкой 59, которая в поперечном сечении выполнена примерно круговой и имеет больший диаметр, чем диаметр первой области 33. Отбортовка 59 в смонтированном состоянии прилегает к подшипниковой втулке 15.
Показанная на фиг.4 или 8 нижняя область 34 меньшего диаметра заполняет подшипниковую втулку 15 в шарнирной части 21 практически полностью. Подшипниковая втулка выполнена из материала, допускающего легкое перемещение. В нижней торцевой стороне подшипниковой втулки и шарнирной части 21 предусмотрено отверстие 22, так что шестигранная выемка 32 в торцевой части пальца 30 петли является доступной. Шестигранная выемка служит в смонтированном состоянии петли для осуществления сдвига.
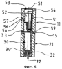
Элемент 55 имеет на своей внешней периферии выемку 56, в которую введен стопорный винт 58, так что узел, состоящий из пальца 30 петли, выступа 31 и элемента 55, например, при монтаже не может выпасть из шарнирной части 11.
Для этого в шарнирной части 11 в месте, соответствующем выемке 56, для приема стопорного винта 58 предусмотрено резьбовое отверстие 57.
Как видно из фиг.7, элемент 55 имеет простую форму (см. сверху), так что он может быть изготовлен простым способом, например экструзией и последующей резкой. Это справедливо и для части 10 петли, так как она в области шарнирной части 11 не требует дополнительной обработки.
Для регулировки петли в направлении сдвига палец 30 петли поворачивается с использованием соответствующего инструмента путем захвата в шестигранной выемке 32. Так как первая часть 34 пальца петли заполняет овальное в поперечном сечении отверстие в шарнирной части 11 поперек направления сдвига V2, а служащий выступом винт 51, за счет его эксцентричного расположения при повороте пальца петли, стремился бы выполнить круговое движение, но может поворачиваться только поперек к направлению сдвига в удлиненном отверстии 52, в результате возникает квазилинейное перемещение пальца 30 петли внутри отверстия 53 или, соответственно, шарнирной части 1 в направлении сдвига V2.
На фиг.9 и 10 другая форма выполнения петли согласно изобретению обозначена в целом ссылочной позицией 101. В данном случае речь идет о петле, состоящей из трех частей, из которых показана только средняя, первая, часть 110 петли. Другие части петли при монтаже будут вдвигаться на палец 130 петли, выступающий в обе стороны из части 110 петли. Части петли, которые соответствуют аналогичным частям, описанным для первого варианта осуществления, обозначены ссылочными позициями, увеличенными на 100.
Часть 110 петли включает в себя шарнирную часть 111, которая с ней выполнена за одно целое и имеет, по существу, цилиндрическую внешнюю форму. Часть 110 петли имеет плоскую крепежную область 112, которая служит для крепления на двери, окне или подобном устройстве, для чего предусмотрены соответствующие отверстия 113 для введения крепежных средств, например винтов.
В шарнирной части 111 части 110 петли, как в первом примере выполнения, также предусмотрено резьбовое отверстие 157 для введения стопорного винта, чтобы соответствующую часть 155 с удлиненным отверстием 152 зафиксировать в центральном отверстии 153 шарнирной части 111 (см. также фиг.11).
Так как в случае петли 101 речь идет о петле из трех частей, палец 130 петли должен проходить через среднюю шарнирную часть 111, которая благоприятным образом принимает эксцентриковое устройство 150, чтобы входить в шарнирную часть второй и третьей части петли, для чего палец 130 петли проходит через удлиненное отверстие 152 элемента 155.
В этом варианте уже невозможно предусмотреть в качестве части пальца петли или соответственно выступа винт, напротив, выступ выполняется как часть пальца петли или соответственно образован им. Эксцентричное относительно оси S2 вращения размещение пальца петли обусловлено эксцентричной опорой в двух эксцентриковых втулках 160.
Эксцентриковые втулки 160 размещены на обеих сторонах шарнирной части 111, имеют в поперечном сечении круговую форму и образуют в своей центральной точке собственно ось S2 вращения. Соответствующая эксцентриковая втулка 160 выступает своей одной стороной в центральное отверстие 153 шарнирной части 111, которое в поперечном сечении ориентировано вдоль направления сдвига V, а в поперечном к нему направлении имеет примерно такую же ширину, как и внешняя окружность выступающей эксцентриковой втулки, так что при ее повороте также происходит сдвиг пальца 130 петли или соответственно шарнирной части 111 поперек удлиненного отверстия 152.
Эксцентриковая втулка 160 выполнена таким образом, что она может быть напрессована на палец 130 петли. Для этого она имеет выемку 162, которая соответствует объему пальца 130 петли и в которую запрессован палец петли.
Для защиты от проворачивания пальца 130 петли относительно эксцентриковой втулки 160 или отбортовки 159 палец петли на своей внешней боковой поверхности имеет паз 131, проходящий в его продольном направлении, в который входит соответствующий шип 161.
Между обеими эксцентриковыми втулками внутри центрального отверстия 153 расположен элемент 155, не видимый на представленном виде и поэтому показанный на чертеже пунктиром; в этом элементе выполнено удлиненное отверстие 152 (см. также фиг.11). Эксцентриковая втулка 160 образует на одной своей торцевой стороне окружную отбортовку 159, которая соответствует описанной выше. Эксцентриковая втулка 163 также имеет в своей цилиндрической области, которая выступает в центральное отверстие 153, окружной паз 163, который служит для установки эксцентриковой втулки. Для этого снаружи через отверстия 114, предусмотренные в шарнирной части 111, вводятся соответствующие винты.
Палец 130 петли имеет в своем продольном направлении примерно посередине расположенный окружной паз 136, который служит для установки пальца петли, для чего вкручиваемый снаружи в резьбовое отверстие 157 стопорный винт может проходить через элемент 155 и входить в паз.
Для регулировки петли 101 в направлении сдвига V палец 130 петли поворачивается с помощью соответствующего инструмента посредством захвата в шестигранной выемке 132. Так как эксцентриковая втулка 160 заполняет овальное в поперечном сечении отверстие 153 в шарнирной части 11 поперек направлению сдвига V, а палец 130 петли за счет своего эксцентричного расположения при повороте эксцентриковой втулки стремился бы выполнить круговое перемещение, но может перемещаться только поперек направления сдвига в продольном пазу 52, то возникает квазилинейное перемещение пальца 130 петли или соответственно шарнирной части 111 в направлении сдвига V.
ПЕРЕЧЕНЬ ССЫЛОЧНЫХ ПОЗИЦИЙ
Петля Первая часть петли Подшипниковая втулка Первая шарнирная часть Крепежная область Отверстия Вторая часть петли Вторая шарнирная часть Отверстие Палец петли Паз Шестигранная выемка Первая область Вторая область Резьбовое отверстие Эксцентриковое устройство Выступ Удлиненное отверстие Отверстие Шестигранная выемка Элемент Выемка Резьбовое отверстие Стопорный винт Отбортовка |
1, 101 10, 110 15 11, 111 112 113 20 21 22 30, 130 131 32, 132 33 34 35 50, 150 51 52, 152 53, 153 54 55, 155 56, 156 57, 157 58 59, 159 |
Эксцентриковая втулка Шип Выемка Паз Ось вращения Направления сдвига |
160 161 162 163 S1, S2 V, V1, V2 |
Формула изобретения
1. Петля для дверей, окон или подобных устройств, содержащая первую часть (10) петли с первой шарнирной частью (11), по меньшей мере, одну вторую часть (20) петли с шарнирной частью (21), входящий в шарнирные части (11, 21) палец (30) петли, посредством которого они связаны друг с другом с возможностью поворота, и предусмотренное, по меньшей мере, в одной части (10) петли эксцентриковое устройство (50), за счет срабатывания которого шарнирная часть (11) может сдвигаться относительно шарнирной части (21) в направлении сдвига (V), при этом эксцентриковое устройство (50) имеет два удлиненных в поперечном сечении отверстия (52, 53), причем продольные направления поперечных сечений проходят перпендикулярно друг другу, и две части (51, 30, 130) пальца петли, которые соответственно, по меньшей мере, входят в одно из отверстий (52, 53) и центральные продольные оси которых размещены эксцентрично друг к другу.
2. Петля по п.1, отличающаяся тем, что одно удлиненное отверстие (52) проходит в поперечном сечении перпендикулярно плоскости, проходящей через дверь, окно или подобное устройство.
3. Петля по п.1, отличающаяся тем, что удлиненное отверстие (52) проходит в поперечном сечении параллельно плоскости, проходящей через дверь, окно или подобное устройство.
4. Петля по п.1, отличающаяся тем, что другое удлиненное отверстие в шарнирной части (11) выполнено как проходящее в поперечном сечении вдоль направления сдвига (V, VI, V2) отверстие (53) для приема пальца (30) петли.
5. Петля по п.1, отличающаяся тем, что удлиненное отверстие (52) выполнено в элементе (55).
6. Петля по п.5, отличающаяся тем, что элемент (55) согласован с внутренним диаметром проходящего вдоль отверстия (53).
7. Петля по п.1, отличающаяся тем, что часть пальца петли представляет собой винт (51).
8. Петля по п.1, отличающаяся тем, что часть пальца петли размещена эксцентрично относительно оси (81) вращения пальца (30) петли.
9. Петля по п.8, отличающаяся тем, что винт представляет собой винт (51) с головкой.
10. Петля по п.9, отличающаяся тем, что внешний объем головки винта (51) с головкой больше, чем внутренний диаметр удлиненного отверстия (52).
11. Петля по п.1, отличающаяся тем, что часть (130) пальца петли размещена эксцентрично относительно оси (S2) вращения эксцентриковой втулки (160).
12. Петля по п.11, отличающаяся тем, что одна часть пальца петли является частью пальца (130) петли.
13. Петля по п.1, отличающаяся тем, что палец (130) петли имеет, по меньшей мере, одну отбортовку.
14. Петля по п.11, отличающаяся тем, что отбортовка или отбортовки (159) является /являются частью эксцентриковой втулки (160).
15. Петля по п.14, отличающаяся тем, что эксцентриковая втулка (160) выполнена таким образом, что она напрессована на палец (130) петли.
16. Петля по п.15, отличающаяся тем, что палец (130) петли на своей боковой поверхности имеет паз (131), проходящий в его продольном направлении.
17. Петля по п.5, отличающаяся тем, что элемент (55) на своей боковой поверхности имеет выемку (56).
18. Петля по п.17, отличающаяся тем, что в шарнирной части (11), в месте, соответствующем выемке (56), предусмотрено резьбовое отверстие (57) для приема стопорного винта (58).
РИСУНКИ
|
|