|
|
(21), (22) Заявка: 2004102356/15, 27.01.2004
(24) Дата начала отсчета срока действия патента:
27.01.2004
(30) Конвенционный приоритет:
27.01.2003 UA 2003010670
(45) Опубликовано: 10.07.2005
(56) Список документов, цитированных в отчете о поиске:
SU 1724675 A1, 07.04.1990. SU 952944 A1, 23.08.1992. DE 2755108 B2, 19.06.1980. DT 2329900 B2, 09.10.1975.
Адрес для переписки:
84122, Украина, Донецкая обл., г. Славянск, б-р Пушкина, 10, ОАО “КБ КОКСОХИММАШ”
|
(72) Автор(ы):
Калиберда Николай Стефанович (UA), Кузнецов Сергей Михайлович (UA)
(73) Патентообладатель(и):
Открытое акционерное общество “КОНСТРУКТОРСКОЕ БЮРО КОКСОХИМИЧЕСКОГО МАШИНОСТРОЕНИЯ” (UA)
|
(54) МЕХАНИЗМ ПЕРЕДВИЖЕНИЯ УСТРОЙСТВА ДЛЯ ОБСЛУЖИВАНИЯ ДВЕРЕЙ ИЛИ РАМ КОКСОВЫХ ПЕЧЕЙ
(57) Реферат:
Изобретение относится к оборудованию коксовых батарей с горизонтальными камерами коксования и может быть использовано на машинах, обслуживающих коксовые печи при их разгрузке (коксовыталкиватель, двересъемная машина). Механизм содержит смонтированную на вертикальной стойке рычажную систему, соединенную с рамой устройства для обслуживания дверей или рам коксовых печей и приводом возвратно-поступательного движения, шарнирно установленным на вертикальной стойке, при этом рычажная система выполнена в виде спаренных двуплечих рычагов, шарнирно закрепленных посредством подвесок на верху вертикальной стойки, причем одни плечи их шарнирно соединены с рамой устройства для обслуживания дверей или рам коксовых печей, а другие соединены между собой осью, которая по центру соединена с приводом возвратно-поступательного движения, а по краям имеет ролики, подвижно установленные в вертикальных направляющих, закрепленных на вертикальной стойке, двух пар подвесок, которые попарно шарнирно соединены в нижней части с рамой устройства для обслуживания дверей или рам коксовых печей и вертикальной стойкой, а также между собой, и тяг, соединяющих оси шарнирных соединений двуплечих рычагов с подвесками и нижних подвесок между собой. Изобретение позволяет усовершенствовать механизм передвижения устройства для обслуживания дверей или рам коксовых печей, в котором путем создания новой конструкции рычажной системы обеспечивается регулировка положения основных механизмов устройства для обслуживания по отношению к обслуживаемым элементам дверей коксовых печей или основных механизмов устройства для чистки рам коксовых печей по отношению к очищаемым поверхностям этих рам 1 з.п. ф-лы, 3 ил.

Изобретение относится к оборудованию батареи коксовых печей, а более конкретно к механизму передвижения устройства для обслуживания дверей или рам коксовых печей, и может быть использовано на машинах для разгрузки кокса из горизонтальных коксовых печей (коксовыталкиватель, двересъемная машина).
Современные машины для разгрузки кокса из горизонтальных коксовых печей имеют ряд устройств для обслуживания дверей и рам коксовых печей. Это устройство для съема и установки дверей коксовых печей (двересъемное устройство), устройство для чистки дверей коксовых печей и устройство для чистки рам коксовых печей. Для перемещения этих устройств из исходного положения в рабочее и наоборот используют механизмы передвижения, которые по своему конструктивному исполнению имеют несколько разновидностей.
Из патентной и научно-технической информации известны, например, механизмы передвижения, которые представляют собой штангу, подвижно установленную посредством роликов в горизонтальных направляющих металлоконструкции машины. На одном конце штанги установлено устройство для обслуживания дверей коксовых печей, а другой конец штанги кинематически соединен с приводом, сообщающим штанге возвратно-поступательное перемещение (см., например, Л.И.Непомнящий “Коксовые машины, их конструкции и расчеты”, “Металлургиздат”, М., 1963 г., с.176-185, рис.126 а).
Известны также механизмы передвижения, которые выполнены в виде тележек, подвижно установленных в горизонтальных направляющих машин и несущих поворотную стойку с устройством для обслуживания дверей или рам коксовых печей. Для перемещения тележек из исходного в рабочее положение и наоборот используют гидропривод возвратно-поступательного движения (см. описание изобретения к патенту США №5034104, кл. НКИ – 202/241 от 23.07.91 г.).
Механизмы такой конструкции имеют большие габариты по длине, металлоемкие и недостаточно надежны в эксплуатации, так как по мере износа направляющих и роликов наблюдаются случая заклинивания штанги или тележки при их перемещении.
Известен механизм передвижения рычажного типа, содержащий поворотную вертикальную стойку, на которой в верхней и нижней частях шарнирно закреплены угловые рычаги, одни плечи которых шарнирно соединены с рамой устройства для обслуживания дверей коксовых печей (съем и установка), а другие шарнирно соединены между собой тягой, причем нижние угловые рычаги кинематически соединены со штоком гидроцилиндра, корпус которого шарнирно закреплен на поворотной вертикальной стойке (см. описание к авторскому свидетельству СССР №952944, кл. С 10 В 25/12, 1979).
Механизм такого типа лишен недостатков вышеописанных механизмов, однако его конструкция также малонадежна при эксплуатации, так как при подводе или отводе устройства для обслуживания дверей угловые рычаги сообщают ему криволинейное движение по радиусу и при падении давления в гидросистеме привода или при поломке последнего происходит самопроизвольное опускание устройства со снятой дверью на коксовую печь, что обычно приводит к аварийной ситуации.
Известно также устройство для съема и установки двери коксовой печи (см. описание изобретения к патенту России №1724675, кл. С 10 В 25/12, от 03.05.1990 г.), в котором механизм передвижения (отвода или подвода) лишен недостатков вышеописанных механизмов. Конструкция этого механизма наиболее близка к заявляемому изобретению как по технической сущности, так и по достигаемому результату.
Механизм этот представляет собой две пары рычагов – верхних и нижних, одни плечи которых шарнирно соединены с рамой, несущей механизм обслуживания ригельных затворов и срыва двери устройства для обслуживания дверей коксовых печей, а другие шарнирно соединены между собой тягами и со штоком гидроцилиндра, корпус которого шарнирно закреплен на вертикальной стойке. Каждый рычаг (как верхней, так и нижней пары) шарнирно закреплен на вертикальной стойке посредством двух серег, одна из которых имеет длину примерно в 2,5 раза больше длины другой.
Однако, как показал опыт эксплуатации, механизм такой конструкции не обеспечивает регулировку по вертикали рамы, несущей механизмы обслуживания ригельных затворов и срыва двери устройства для обслуживания дверей коксовых печей, по отношению к ригельным затворам и карманам дверей, установленных в камерах коксовых печей, что крайне необходимо, так как в процессе эксплуатации коксовых печей происходит их рост, и, как следствие, изменяются проектные положения вышеуказанных элементов дверей. Все это снижает эффективность и эксплуатационную надежность устройства для обслуживания дверей или рам коксовых печей.
В основу данного изобретения поставлена задача усовершенствовать механизм передвижения устройства для обслуживания дверей или рам коксовых печей, в котором путем создания новой конструкции рычажной системы обеспечивается регулировка положения основных механизмов устройства для обслуживания по отношению к обслуживаемым элементам дверей коксовых печей или основных механизмов устройства для чистки рам коксовых печей по отношению к очищаемым поверхностям этих рам.
Поставленная задача решается тем, что в механизме передвижения устройства для обслуживания дверей или рам коксовых печей, содержащем смонтированную на вертикальной стойке рычажную систему, кинематически соединенную с рамой устройства для обслуживания дверей или рам коксовых печей и приводом возвратно-поступательного движения, шарнирно установленным на вертикальной стойке, согласно изобретению рычажная система выполнена в виде спаренных двуплечих рычагов, шарнирно закрепленных посредством подвесок на верху вертикальной стойки, при этом одни плечи их шарнирно соединены с рамой устройства для обслуживания дверей или рам коксовых печей, а другие соединены между собой осью, которая по центру шарнирно соединена с приводом возвратно-поступательного движения, а по краям имеет ролики, подвижно установленные в вертикальных направляющих, закрепленных на вертикальной стойке, двух пар подвесок, которые попарно шарнирно соединены в нижней части с рамой устройства для обслуживания дверей или рам коксовых печей и вертикальной стойкой, а также между собой, и тяг, соединяющих оси шарнирных соединений двуплечих рычагов с подвесками и нижних подвесок между собой.
В соответствии с изобретением тяги, соединяющие оси шарнирных соединений двуплечих рычагов с подвесками и нижних подвесок между собой, выполнены регулируемыми по длине.
Предлагаемое техническое решение рычажной системы механизма позволяет, изменяя длину тяг, соединяющих оси шарнирных соединений двуплечих рычагов с подвесками и нижних подвесок между собой, регулировать положение механизмов устройства для обслуживания дверей относительно положения обслуживаемых элементов двери (ригельные затворы, карманы) или механизмов устройства для чистки рам коксовых печей относительно очищаемых поверхностей этих рам, что обеспечивает эффективную и надежную работу устройства для обслуживания дверей или рам коксовых печей при длительном периоде эксплуатации коксовых печей.
Кроме того, предлагаемое техническое решение механизма по сравнению с известными имеет малые габариты по длине и простое в обслуживании при эксплуатации, что позволяет успешно использовать его на машинах, обслуживающих коксовые печи с одной установки.
Сущность изобретения полностью раскрывается на конкретном примере его выполнения со ссылками на прилагаемые чертежи, где:
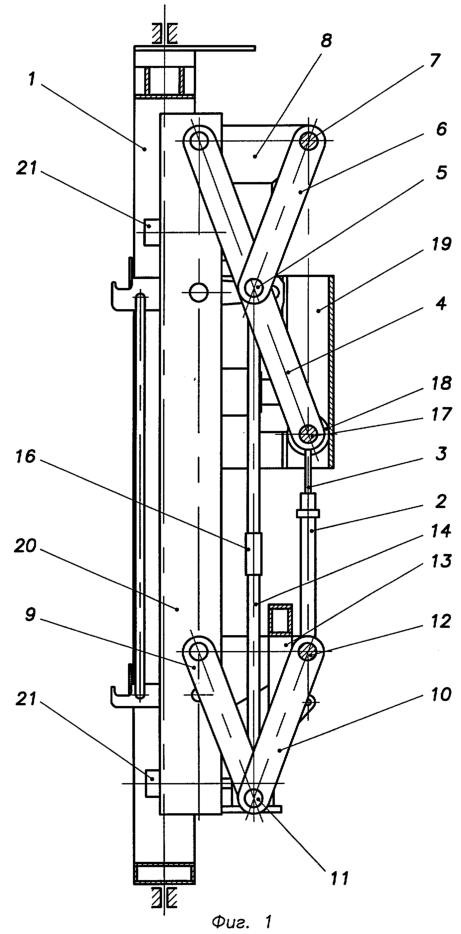
на фиг.1 изображен общий вид механизма передвижения с устройством для обслуживания дверей коксовых печей в транспортном положении, вид сбоку;
на фиг.2 – то же, в момент обслуживания двери коксовой печи при ее съеме;
на фиг.3 – сечение А-А на фиг.2.
Механизм передвижения устройства для обслуживания дверей или рам коксовых печей (см. фиг.1) содержит вертикальную стойку 1, на которой смонтирована рычажная система, и привод возвратно-поступательного движения, выполненный в виде гидроцилиндра 2, корпус которого шарнирно закреплен на вертикальной стойке 1, а шток 3 кинематически соединен с рычажной системой.
Рычажная система механизма включает (см. фиг.2 и 3) спаренные двуплечие рычаги 4, которые посредством осей 5 шарнирно закреплены на подвесках 6, последние в свою очередь посредством осей 7 шарнирно закреплены на кронштейнах 8 вертикальной стойки 1, две пары подвесок 9 и 10, которые посредством осей 11 шарнирно соединены между собой, а пара подвесок 10 посредством осей 12 шарнирно закреплена на кронштейне 13 вертикальной стойки 1, и две тяги 14 и 15, соединяющие между собой оси 5 и 11, причем тяги 14 и 15 имеют стяжные гайки 16 для регулирования их длины.
Одни плечи двуплечих рычагов 4 (см. фиг.1 и 3) соединены между собой осью 17, которая по центру шарнирно соединена со штоком 3, а по краям имеет ролики 18, подвижно установленные в вертикальных направляющих 19, которые закреплены на вертикальной стойке 1. Другие плечи двуплечих рычагов 4 и подвески 9 шарнирно соединены с рамой 20, на которой (как показано на чертежах) могут быть смонтированы механизмы 21 и 22 устройства для обслуживания дверей коксовых печей, а в других случаях – механизмы устройства для чистки рам коксовых печей (на чертеже не показаны).
Для описания работы механизма на фиг.2 показана установленная в камере коксования 23 дверь 24 с ригельными затворами 25 и карманами 26, а также поворотные захваты 27 механизма 22.
Механизм передвижения устройства для обслуживания дверей или рам коксовых печей работает следующим образом.
В транспортном положении (см. фиг.1) рама 20 с механизмами 21 и 22 устройства для обслуживания дверей 24 посредством воздействия гидроцилиндра 2 на рычажную систему отведена в правое крайнее положение.
Для обслуживания двери 24 при ее съеме с камеры коксования 23 (см. фиг.2) включают гидроцилиндр 2, шток 3 которого, воздействуя на ось 17, перемещает ролики 18 в вертикальных направляющих 19 вверх. При этом происходит поворот спаренных двуплечих рычагов 4 вокруг осей 5, которые перемещаются вверх и посредством тяг 14 и 15 перемещают оси 11. Последние, перемещаясь вверх, разворачивают подвески 9 и 10. В процессе поворота спаренных рычагов 4 и разворота подвесок 9 и 10 происходит перемещение рамы 20 с механизмами 21 и 22 устройства для обслуживания дверей по горизонтальной траектории в сторону двери 24. После установки рамы 20 напротив двери 24 и ввода головок механизмов 21 в зацепление с ригельными затворами 25 двери 24 отключают цилиндр 2. Затем включают механизм 22, который, поворачивая захваты 27, вводит их в зацепление с карманами 26 двери 24. После этого отключают механизм 22 и включают механизмы 21 для открывания ригельных затворов 25. Затем повторно включают механизм 22 для срыва и съема двери 24. В дальнейшем включают гидроцилиндр 2 на обратный ход и отводят раму 20 со снятой дверью 24 в крайнее правое положение.
Аналогичным образом предлагаемый механизм работает и при обслуживании рам коксовых печей, например, при их чистке (не показано).
В процессе эксплуатации коксовых печей основные их элементы – ригельные затворы 25 и карманы 26 изменяют свое пространственное положение.
Поэтому для обеспечения точности установки механизмов 21 и 22 устройства для обслуживания дверей по отношению к указанным элементам 25 и 26 двери 24 необходимо осуществлять регулировку оптимального положения рамы 20, несущей механизмы 21 и 22. Для этого, вращая стяжные гайки 16, изменяют длину тяг 14 и 15, которые при этом изменяют положение осей 11. Последние, перемещаясь вверх или вниз, изменяют положение подвесок 9 и 10 и соответственно положение рамы 20 с механизмами 21 и 22 по отношению к элементам 25 и 26 двери 24.
Формула изобретения
1. Механизм передвижения устройства для обслуживания дверей или рам коксовых печей, содержащий смонтированную на вертикальной стойке рычажную систему, кинематически соединенную с рамой устройства для обслуживания дверей или рам коксовых печей и приводом возвратно-поступательного движения, шарнирно установленным на вертикальной стойке, отличающийся тем, что рычажная система выполнена в виде спаренных двуплечих рычагов, шарнирно закрепленных посредством подвесок на верху вертикальной стойки, при этом одни плечи их шарнирно соединены с рамой устройства для обслуживания дверей или рам коксовых печей, а другие соединены между собой осью, которая по центру соединена с приводом возвратно-поступательного движения, а по краям имеет ролики, подвижно установленные в вертикальных направляющих, закрепленных на вертикальной стойке, двух пар подвесок, которые попарно шарнирно соединены в нижней части с рамой устройства для обслуживания дверей или рам коксовых печей и вертикальной стойкой, а также между собой, и тяг, соединяющих оси шарнирных соединений двуплечих рычагов с подвесками и нижних подвесок между собой.
2. Механизм по п.1, отличающийся тем, что тяги, соединяющие оси шарнирных соединений двуплечих рычагов с подвесками и нижние подвески между собой, выполнены регулируемыми по длине.
РИСУНКИ
|
|