|
|
(21), (22) Заявка: 2004104068/12, 11.02.2004
(24) Дата начала отсчета срока действия патента:
11.02.2004
(45) Опубликовано: 10.07.2005
(56) Список документов, цитированных в отчете о поиске:
SU 1168122 А, 23.07.1985. SU 1457834 A1, 15.02.1989. SU 686657, 25.09.1979.
Адрес для переписки:
347740, Ростовская обл., г. Зерноград, ул. Ленина, 21, ФГОУ ВПО АЧГАА
|
(72) Автор(ы):
Лобачевский П.Я. (RU), Несмиян А.Ю. (RU), Хижняк В.И. (RU), Лобачевская Н.П. (RU)
(73) Патентообладатель(и):
Федеральное государственное образовательное учреждение высшего профессионального образования “Азово-Черноморская государственная агроинженерная академия” (ФГОУ ВПО АЧГАА) (RU)
|
(54) ВЫСЕВАЮЩИЙ АППАРАТ
(57) Реферат:
Изобретение относится к сельскохозяйственному машиностроению, в частности к машинам для посева семян сельскохозяйственных культур. Устройство имеет бункер с затвором. Бункер выполнен в виде гиперболоида вращения. Затвор – в виде плоской поверхности и подвешен на параллелограммной подвеске под бункером. Между бункером и затвором установлена гибкая проставка в форме кольца, жестко соединенная с бункером и с затвором. Она содержит выпускное окно, регулируемое заслонкой. Верхние шарниры подвесок затвора, расположенные со стороны выпускного окна, размещены с возможностью перемещения и фиксации в пазах, изготовленных по дугам постоянного радиуса. Последний равен расстоянию между нижними шарнирами подвесок затвора, лежащими в одной продольно-вертикальной плоскости, с центрами в верхних шарнирах подвесок, удаленных от выпускного окна. Центральный угол пазов равен углу трения семян о поверхность затвора и направлен вниз от горизонтальной плоскости, проходящей через верхние шарниры подвесок затвора, удаленных от выпускного окна. Ось нижних шарниров затвора, удаленных от выпускного окна, опирается на подпружиненную вилку. Конец стойки вилки посредством ролика контактирует с роторным многокулачковым толкателем, связанным с колесом сеялки. Изобретение позволит повысить равномерность подачи семян, при увеличении возможности варьирования нормы высева, с сохранением эксплуатационной надежности высевающего аппарата. 2 ил.

Изобретение относится к сельскохозяйственному машиностроению, в частности к машинам для посева семян сельскохозяйственных культур.
Известен высевающий аппарат, включающий корпус, валик из упругого материала, пружинящую заслонку с регулировочным механизмом, воронку, чистик и направляющую пластину /1/.
Недостатком данного высевающего аппарата является низкая равномерность распределения потока семян.
Наиболее близким техническим решением из известных является высевающий аппарат, включающий бункер для семян с щелью, боковые стенки подпорного устройства и подвижный затвор из магнитомягкого материала с толкателем и механизмом привода затвора, в виде электромагнита, который посредством блока управления, одновибратора и формирователя импульсов связан с датчиком скорости /2/.
Недостатком данного высевающего аппарата является ненадежность использования электронных приборов в полевых условиях.
Задачей настоящего изобретения является повышение равномерности подачи семян при увеличении возможности варьирования нормы высева, с сохранением эксплуатационной надежности высевающего аппарата.
Поставленная задача достигается тем, что бункер выполнен в виде гиперболоида вращения, а затвор в виде плоской поверхности подвешен на параллелограммной подвеске под бункером, причем между бункером и затвором установлена гибкая проставка в форме кольца, жестко соединенная с бункером и с затвором и содержащая выпускное окно, регулируемое заслонкой, при этом верхние шарниры подвесок затвора, расположенные со стороны выпускного окна, размещены с возможностью перемещения и фиксации в пазах, изготовленных по дугам постоянного радиуса, который равен расстоянию между нижними шарнирами подвесок затвора, лежащими в одной продольно-вертикальной плоскости, с центрами в верхних шарнирах подвесок, удаленных от выпускного окна, центральный угол пазов равен углу трения семян о поверхность затвора и направлен вниз от горизонтальной плоскости, проходящей через верхние шарниры подвесок затвора, удаленных от выпускного окна, а ось нижних шарниров затвора, удаленных от выпускного окна, опирается на подпружиненную вилку, конец стойки которой посредством ролика контактирует с роторным многокулачковым толкателем, связанным с колесом сеялки.
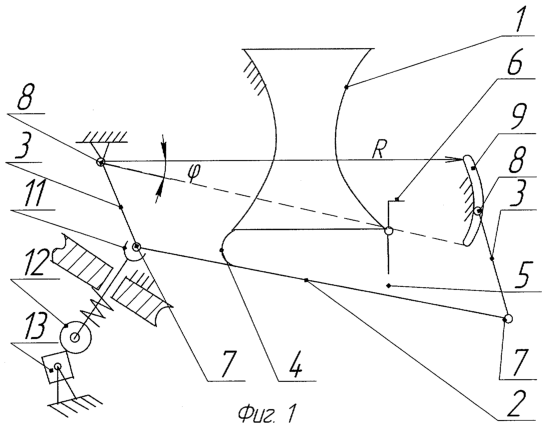
На фиг.1 изображена схема высевающего аппарата, вид сбоку, на фиг.2 – схема высевающего аппарата, вид сверху.
Высевающий аппарат содержит бункер 1, выполненный в виде гиперболоида вращения, под ним расположен затвор 2, имеющий форму плоскости, закрепленной на четырех подвесках 3 параллелограммного механизма. Между бункером 1 и затвором 2 установлена гибкая проставка 4, выполненная в виде кольца и жестко соединенная как с бункером 1, так и с затвором 2. В гибкой проставке 4 изготовлено выпускное окно 5 с регулируемой заслонкой 6. Затвор 2 крепится к подвескам 3 при помощи нижних шарниров 7. Верхние шарниры 8 подвесок 3 затвора 2 установлены с возможностью перемещения и фиксации по пазам 9. Пазы 9 выполнены по дугам окружностей одинакового радиуса, который равен расстоянию между нижними шарнирами 7 затвора 2, лежащими в одной продольно-вертикальной плоскости. Центральные углы дуг окружностей, по которым выполнены пазы 9, равны углу трения высеваемого материала о поверхность затвора 2 и направлены вниз от горизонтальной плоскости, проходящей через верхние шарниры 8 подвесок 3 затвора 2, удаленных от выпускного окна 5. Ось 10 нижних шарниров 7 затвора 2, удаленных от выпускного окна 5, лежит на подпружиненной вилке 11, стойка которой посредством ролика 12 контактирует с многокулачковым толкателем 13.
Аппарат работает следующим образом.
Форма бункера 1 позволяет создать в нижней его части разгрузочную камеру, которая предотвращает сгруживание высеваемого материала. Высеваемый материал самотеком через выпускное окно 5, размер которого задается перемещением регулируемой заслонки 6, поступает из бункера 1 на затвор 2. В это время кулачки многокулачкового толкателя 13 через ролик 12 воздействуют на подпружиненную вилку 11, которая в свою очередь воздействует на ось 10 нижних шарниров 7 затвора 2 и придает колебательное движение всему затвору 2. Перемещая верхние шарниры 8 подвесок 3 затвора 2, приближенных к выпускному окну 5, можно изменять угол наклона затвора 2 от 0° до угла трения семян о его поверхность. Невозможность установки большего угла наклона затвора 2 предотвращает самопроизвольное истечение высеваемого материала. По номограмме типичных режимов движения высеваемого материала по затвору 2 выбирают необходимую частоту вращения роторного толкателя 13 и угол наклона затвора 2 к горизонту. Выбор различного сочетания данных параметров позволяет получать широкий спектр режимов движения высеваемого материала по затвору 2, что в свою очередь обеспечивает возможность создания потока высеваемого материала необходимой равномерности и интенсивности (нормы высева).
Источники информации
1. А.С. СССР №1457834, кл А 01 С 7/00, 1989.
2. А.С. СССР №1584146, кл А 01 С 6/00, 1989.
Формула изобретения
Высевающий аппарат, включающий бункер для семян, затвор и механизм привода затвора, отличающийся тем, что бункер выполнен в виде гиперболоида вращения, а затвор – в виде плоской поверхности, подвешен на параллелограммной подвеске под бункером, причем между бункером и затвором установлена гибкая проставка в форме кольца, жестко соединенная с бункером и с затвором и содержащая выпускное окно, регулируемое заслонкой, при этом верхние шарниры подвесок затвора, расположенные со стороны выпускного окна, размещены с возможностью перемещения и фиксации в пазах, изготовленных по дугам постоянного радиуса, который равен расстоянию между нижними шарнирами подвесок затвора, лежащими в одной продольно-вертикальной плоскости, с центрами в верхних шарнирах подвесок, удаленных от выпускного окна, центральный угол пазов равен углу трения семян о поверхность затвора и направлен вниз от горизонтальной плоскости, проходящей через верхние шарниры подвесок затвора, удаленных от выпускного окна, а ось нижних шарниров затвора, удаленных от выпускного окна, опирается на подпружиненную вилку, конец стойки которой посредством ролика контактирует с роторным многокулачковым толкателем, связанным с колесом сеялки.
РИСУНКИ
MM4A – Досрочное прекращение действия патента СССР или патента Российской Федерации на изобретение из-за неуплаты в установленный срок пошлины за поддержание патента в силе
Дата прекращения действия патента: 12.02.2006
Извещение опубликовано: 20.11.2007 БИ: 32/2007
|
|