|
|
(21), (22) Заявка: 2003132579/09, 06.11.2003
(24) Дата начала отсчета срока действия патента:
06.11.2003
(45) Опубликовано: 27.06.2005
(56) Список документов, цитированных в отчете о поиске:
SU 1617671 А1, 30.12.1990. RU 2150182 С2, 27.05.2000. ВОРОБЬЕВ Е.А. Экранирование СВЧ конструкций. – М.: Сов. радио, 1979, с.73. RU 2171552 C2, 27.07.2001. WO 8910678 А, 02.11.1989. US 4215258 А, 29.07.1980.
Адрес для переписки:
394000, г.Воронеж, пр-кт Революции, 19, ВГТА, патентный отдел
|
(72) Автор(ы):
Антипов С.Т. (RU), Казарцев Д.А. (RU), Павловский М.Ю. (RU)
(73) Патентообладатель(и):
Государственное образовательное учреждение Воронежская государственная технологическая академия (RU)
|
(54) СВЧ-УСТАНОВКА ДЛЯ СУШКИ СЫПУЧИХ МАТЕРИАЛОВ
(57) Реферат:
Изобретение относится к оборудованию для СВЧ-сушки сыпучих материалов и может быть использовано в пищевой, химической и других отраслях промышленности. СВЧ-установка для сушки сыпучих материалов содержит корпус, сушильную камеру, СВЧ-генератор, излучатель в виде двух меандровых линий, установленный с возможностью вращения вокруг оси, крышку, согласователи, привод, цилиндрический экран с отверстиями и блок для подачи воздуха, соединенный с полостью между корпусом и экраном. Экран выполнен в виде ребристого отражателя с треугольными ребрами, выполненными по окружности экрана, имеющими глубину /8 и расстояние между гребнями /4, а полость между корпусом и экраном разделена на четное количество чередующихся каналов для подвода и отвода воздуха. Технический результат заключается в обеспечении максимального рассеивания СВЧ-энергии по объему сушильной камеры, равномерности влагоудаления из обрабатываемого материала, повышении эффективности сушки. 1 з.п. ф-лы, 2 ил.

Изобретение относится к оборудованию для СВЧ-сушки сыпучих материалов и может быть использовано в пищевой, химической и других отраслях промышленности.
Наиболее близкой по технической сущности и достигаемому эффекту является сушилка для сыпучих материалов [Патент №1617671, МПК7 Н 05 В 6/64, СВЧ-устройство для обработки материалов авторов Кац Л.И., Ершова В.В., Семеновой Е.М.], содержащая корпус, сушильную камеру, СВЧ-генератор, излучатель в виде двух меандровых линий, установленный с возможностью вращения вокруг оси, крышку, согласователи, привод, экран с отверстиями, блок для подачи воздуха, соединенный с полостью между корпусом камеры нагрева и экраном.
Недостатком является то, что применение в данном устройстве крышек, представляющих волноводный фильтр с радиусом трубок в 10-15 раз меньше длины волны генератора, не позволяет его использование на таких частотах, как 2450 МГц и выше, так как в этом случае диаметр трубок должен составлять 0,8-1,2 мм и менее, что сильно затрудняет прохождение обрабатываемого материала через крышки, а в большинстве случаев прохождение материала просто невозможно. Использование в качестве излучателя прямоугольной или круглой металлической гребенки обеспечивает концентрацию и равномерность распределения поля вблизи внутреннего проводника линии, тогда как на участках, удаленных от меандра (гребенки), интенсивность поля резко снижается. Прохождение воздуха только по каналу между корпусом и расположенным в нем экраном с отверстиями не обеспечивает равномерного влагоудаления в центральных слоях материала.
Технической задачей изобретения является обеспечение максимального рассеивания СВЧ-энергии по объему сушильной камеры, равномерности влагоудаления из обрабатываемого материала, повышение эффективности сушки.
Техническая задача изобретения достигается тем, что в СВЧ-установке для сушки сыпучих материалов, содержащей корпус, сушильную камеру, СВЧ-генератор, излучатель в виде двух меандровых линий, установленный с возможностью вращения вокруг оси, крышку, согласователи, привод, цилиндрический экран с отверстиями, блок для подачи воздуха, соединенный с полостью между корпусом и экраном, новым является то, что экран выполнен в виде ребристого отражателя с треугольными ребрами, выполненными по окружности экрана, имеющими глубину /8 и расстояние между гребнями /4, а полость между корпусом и экраном разделена на четное количество чередующихся каналов для подвода и отвода воздуха.
Технический результат заключается в обеспечении максимального рассеивания СВЧ-энергии по объему сушильной камеры, равномерности влагоудаления из обрабатываемого материала, повышении эффективности сушки.
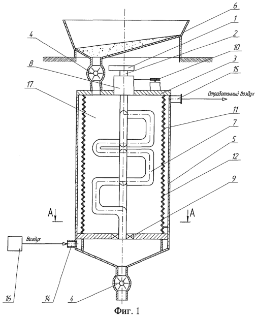
На фиг.1 схематично показана СВЧ-установка для сушки сыпучих материалов; на фиг.2 – разрез А-А.
СВЧ-установка для сушки сыпучих материалов содержит СВЧ-генератор 1, излучатель 2, крышку 3, дозаторы 4, металлический цилиндрический корпус 5, загрузочный бункер 6, излучатель 7, выполненный в виде двух меандровых линий, установленный с возможностью вращения вокруг оси, первый 8 и второй 9 согласователи, привод 10, экран 11, отверстия 12, каналы 13, патрубки для подвода 14 и отвода 15 воздуха, блок 16 для подачи воздуха, сушильную камеру 17. Экран выполнен в виде цилиндра из электропроводящего материала, например меди или латуни, с отверстиями, размеры которых меньше минимальных размеров обрабатываемого продукта, и представляет собой ребристый отражатель с треугольными ребрами, выполненными по окружности экрана и имеющими глубину /8 и расстояние между гребнями /4.
СВЧ-установка для сушки сыпучих материалов работает следующим образом.
Сыпучий материал из загрузочного бункера 6 через верхний дозатор 4 поступает в сушильную камеру 17. Включается СВЧ-генератор 1, привод 10 и блок подачи воздуха 16. Продукт, находящийся в сушильной камере при работе СВЧ-генератора 1, подвергается воздействию СВЧ-излучения. Электромагнитная волна, исходящая от излучателя 7, пройдя через продукт, отражается от экрана 11. Использование треугольных ребер по окружности экрана обеспечивает максимальное рассеивание электромагнитной волны. Вращение излучателя 7 осуществляется через вращающиеся первый и второй согласователи 8 и 9 посредством привода 10. Первый согласователь 8 может быть выполнен в виде коаксиального реактивного шлейфа и обеспечивает минимальные потери электромагнитной энергии при ее движении от генератора СВЧ в сушильную камеру.
Одновременно с СВЧ-излучением от блока 16 через патрубок 14 в каналы 13 подается воздух. Количество каналов зависит от габаритных размеров сушильной камеры и свойств обрабатываемого материала. Из каналов 13 через отверстия 12 воздух подается в сушильную камеру, где, проходя через слой материала, поглощает испаряемую влагу и через патрубок 15 удаляется наружу.
Время пребывания продукта в установке регулируется дозаторами, которые также служат для предотвращения утечки СВЧ-излучения. Установка может работать как в периодическом, так и в непрерывном режиме.
Таким образом, предлагаемая нами СВЧ-установка для сушки сыпучих материалов имеет следующие преимущества:
– обеспечивает максимальное рассеивание СВЧ-энергии по объему сушильной камеры;
– обеспечивает высокую равномерность влагоудаления из обрабатываемого материала;
– повышает эффективность сушки.
Формула изобретения
1. СВЧ-установка для сушки сыпучих материалов, содержащая корпус с сушильной камерой и крышкой, СВЧ-генератор, соединенный с излучателем в виде двух меандровых линий, вращение которых вокруг оси осуществляется через вращающиеся первый и второй согласователи посредством привода, цилиндрический экран с отверстиями, блок для подачи воздуха, соединенный с полостью между корпусом и экраном, отличающаяся тем, что экран выполнен в виде ребристого отражателя с треугольными ребрами, выполненными по окружности экрана, имеющими глубину /8 и расстояние между гребнями /4, где – длина волны.
2. СВЧ-установка по п.1, отличающаяся тем, что полость между корпусом и экраном разделена на четное количество чередующихся каналов для подвода и отвода воздуха.
РИСУНКИ
MM4A – Досрочное прекращение действия патента СССР или патента Российской Федерации на изобретение из-за неуплаты в установленный срок пошлины за поддержание патента в силе
Дата прекращения действия патента: 07.11.2005
Извещение опубликовано: 27.06.2007 БИ: 18/2007
|
|