Патент на изобретение №2255432

Published by on




РОССИЙСКАЯ ФЕДЕРАЦИЯ



ФЕДЕРАЛЬНАЯ СЛУЖБА
ПО ИНТЕЛЛЕКТУАЛЬНОЙ СОБСТВЕННОСТИ,
ПАТЕНТАМ И ТОВАРНЫМ ЗНАКАМ
(19) RU (11) 2255432 (13) C2
(51) МПК 7
H04Q7/28, H03L7/00
(12) ОПИСАНИЕ ИЗОБРЕТЕНИЯ К ПАТЕНТУ

Статус: по данным на 16.11.2012 – прекратил действие, но может быть восстановленПошлина: учтена за 11 год с 04.11.2010 по 03.11.2011

(21), (22) Заявка: 2002114547/09, 03.11.2000

(24) Дата начала отсчета срока действия патента:

03.11.2000

(30) Конвенционный приоритет:

04.11.1999 US 09/434,869

(43) Дата публикации заявки: 27.03.2004

(45) Опубликовано: 27.06.2005

(56) Список документов, цитированных в отчете о
поиске:
US 5392287 А, 21.02.1995. RU 2129760 C1, 27.04.1999. US 5524009 A, 04.06.1996. ЕР 0665659 А2, 02.08.1995. US 5659881 А, 19.08.1997. EP 0899883 A1, 03.03.1999.

(85) Дата перевода заявки PCT на национальную фазу:

04.06.2002

(86) Заявка PCT:

US 00/30387 (03.11.2000)

(87) Публикация PCT:

WO 01/33870 (10.05.2001)

Адрес для переписки:

129010, Москва, ул. Б. Спасская, 25, стр.3, ООО “Юридическая фирма Городисский и Партнеры”, пат.пов. Ю.Д.Кузнецову, рег.№ 595

(72) Автор(ы):

ЙУ Николас К. (US),
ИСТОН Кеннет Д. (US),
САНКУРАТРИ Рагху (US)

(73) Патентообладатель(и):

КВЭЛКОММ ИНКОРПОРЕЙТЕД (US)

(54) СПОСОБ И УСТРОЙСТВО ПОВТОРНОГО ЗАПУСКА МОБИЛЬНОЙ СТАНЦИИ ПО ОКОНЧАНИИ РЕЖИМА ОЖИДАНИЯ


(57) Реферат:

Изобретение относится к технике запуска высокочастотного тактового генератора по окончании режима ожидания в мобильной станции системы мобильной связи, использующей режим поисковых вызовов с сегментированием. Достигаемый технический результат – уменьшение энергопотребления и повышение точности запуска. Устройство для запуска тактового генератора активного режима по окончании периода ожидания содержит средство для оценки времени активизации с использованием тактового генератора режима ожидания, средство для компенсации ошибок в оцененном времени активизации, обусловленных различием в точностях тактового генератора режима ожидания и тактового генератора активного режима, средство для запуска тактового генератора активного режима в момент времени активизации с учетом компенсации. Способ запуска тактового генератора активного режима по истечении периода ожидания включает оценку времени активизации с использованием тактового генератора режима ожидания, компенсацию ошибок в оцененном времени активизации, запуск тактового генератора активного режима в момент времени активизации с учетом компенсации. 3 н. и 17 з.п. ф-лы, 5 ил.



I. Область изобретения

Настоящее изобретение относится, в общем, к системам мобильной связи и, в частности, к способу запуска высокочастотного тактового генератора по окончании режима ожидания в мобильной станции системы мобильной связи, использующей режим поисковых вызовов с сегментированием.

II. Описание области техники

В некоторых системах беспроводной связи, соответствующих современному уровню техники, таких как системы множественного доступа с кодовым разделением каналов (МДКР), для сохранения ресурса батареи питания используется режим поисковых вызовов с сегментированием (выделением интервалов времени). В режиме поискового вызова с сегментированием сигналы поискового вызова передаются от базовой станции на отдельные мобильные станции только в течение выделенных для поискового вызова временных интервалов, разделенных заданными интервалами времени. Следовательно, каждая мобильная станция может оставаться в режиме ожидания в течение периода времени между последовательными выделенными временными интервалами поискового вызова, не рискуя при этом пропустить сигналы поискового вызова. Возможность переключения каждой отдельной мобильной станции из активного режима в режим ожидания зависит от того, задействована ли она в текущий момент времени для обработки каких-либо действий пользователя, например, для обработки команд, вводимых пользователем, или для обработки телефонного сообщения от лица пользователя. В предположении о том, что в текущий момент времени мобильная станция не задействована для обработки каких-либо действий пользователя, в мобильной станции производится автоматическое отключение отдельных внутренних компонентов в течение каждого периода времени между последовательными выделенными временными интервалами. Один из примеров системы, использующей поисковые вызовы с сегментированием, раскрыт в выданном 21 февраля 1995 г. Патенте США №5392287 на “Устройство и способ сокращения энергопотребления приемником мобильной станции”, переуступленном правопреемнику настоящего изобретения и включенном в данный документ в качестве ссылки.

Таким образом, в режиме поискового вызова с сегментированием (выделением интервалов времени) энергопотребление мобильной станции сокращается за счет отключения питания отдельных внутренних компонентов в течение периода ожидания между последовательными выделенными временными интервалами. Однако даже в режиме ожидания мобильная станция должна надежно отслеживать время с целью определения момента начала следующего выделенного временного интервала, так чтобы компоненты приемной системы мобильной станции были бы вовремя включены для приема сигналов поискового вызова, передаваемых на рассматриваемую мобильную станцию в течение данного временного интервала. Одним из решений данной проблемы является использование в течение режима ожидания высокочастотного тактового генератора для отслеживания времени. Данное решение позволяет отследить период ожидания с большой точностью. Однако при функционировании высокочастотного тактового генератора имеет место значительное энергопотребление и, таким образом, оптимальное энергосбережение в течение периода ожидания не достигается.

Таким образом, с целью снижения энергопотребления в течение периода ожидания было бы желательно использовать низкочастотный тактовый генератор с низким энергопотреблением вместо высокочастотного тактового генератора. Однако для тактовых сигналов, выдаваемых низкочастотными тактовыми генераторами с низким энергопотреблением, характерен значительный дрейф частоты, в результате чего невозможно точно определить время в течение периода ожидания посредством подсчета тактов низкочастотного тактового генератора с низким энергопотреблением. Дрейф частоты в мобильной станции может быть особенно значителен в случае перепадов температуры внутри мобильной станции, возникающих, например, вследствие тепла, выделяемого компонентами мобильной станции в процессе функционирования, или вследствие изменения условий окружающей среды. Например, во время длительного телефонного вызова внутренние компоненты мобильной станции могут разогреться до 87°С. В течение же длительного периода пассивности между телефонными вызовами внутренние компоненты мобильной станции могут охладиться до температуры окружающей среды, равной, скорее всего, 25°С. Более того, если пользователь поместит мобильный телефон либо в очень горячее, либо в очень холодное место, то внутри мобильной станции могут произойти соответствующие температурные изменения. На работу типичных низкочастотных тактовых генераторов с низким энергопотреблением оказывают значительное воздействие даже малые изменения температуры. Изменения же температуры в широком диапазоне, которые могут иметь место в мобильном телефоне, оказывают значительно большее воздействие на работу типичных низкочастотных тактовых генераторов с низким энергопотреблением. В действительности значение дрейфа частоты в тактовом сигнале, выдаваемом используемым в мобильной станции типичным низкочастотным тактовым генератором с низким энергопотреблением, может быть столь велико, что при использовании данного генератора для определения времени в течение периода ожидания существует значительный риск того, что мобильная станция не будет вовремя повторно активирована для включения компонентов с целью детектирования сигнала поискового вызова, передаваемого в течение следующего выделенного временного интервала. Следовательно, важные сигналы поискового вызова могут быть пропущены, результатом чего могут стать пропущенные телефонные звонки и т.п. Таким образом, точность определения времени, обеспечиваемая тактовым генератором с низким энергопотреблением, обычно оказывается невысокой.

Другой серьезной проблемой, связанной с использованием низкочастотных тактовых сигналов для отслеживания времени в течение периода ожидания, является относительно невысокая точность, обеспечиваемая низкочастотным тактовым генератором.

Результатом недостаточной точности может быть значительный сдвиг между началом периода ожидания и первым отсчитанным тактом низкочастотного тактового генератора, а также значительный сдвиг между последним отсчитанным тактом низкочастотного тактового сигнала и фактическим концом периода ожидания. Более подробно, для подсчета числа либо передних, либо задних фронтов низкочастотного тактового сигнала, выполняемого для отслеживания времени в течение периода ожидания, обычно используется счетчик. Как только отсчитывается число тактов низкочастотного тактового генератора, соответствующее длительности периода ожидания, происходит повторный запуск высокочастотного тактового генератора. Однако между началом периода ожидания и первым фронтом низкочастотного тактового сигнала, детектируемым счетчиком, может пройти почти целый такт низкочастотного тактового генератора. Длительность начального сдвига может принимать любое значение от нуля до одного полного такта низкочастотного тактового генератора, а в некоторых системах, возможно, и большее значение. В обычных системах нельзя определить длительность начального сдвига. Неопределенность в длительности начального сдвига дополнительно увеличивает ошибку при определении времени в течение периода ожидания, в результате чего возрастает риск того, что следующий временной интервал поискового вызова будет пропущен. В иллюстративной системе, в которой высокочастотный тактовый генератор функционирует на частоте 9,68 МГц, а тактовый генератор режима ожидания функционирует на частоте 32 кГц, на каждый такт тактового генератора режима ожидания приходится около 300 тактов высокочастотного тактового генератора. Таким образом, даже если система сможет надежно скомпенсировать дрейф частоты, запуск высокочастотного тактового генератора должен быть реализован не менее чем на 300 тактов высокочастотного тактового генератора раньше, чем это действительно необходимо, с целью учета неизвестной длительности начального сдвига. Также, в силу того, что повторный запуск высокочастотного тактового генератора по окончании периода ожидания синхронизирован с переходами в низкочастотном тактовом генераторе, степень точности, с которой высокочастотный тактовый генератор может быть повторно активирован, ограничивается точностью низкочастотного тактового генератора. Например, даже если система надежно и точно определит, что истинное значение длительности периода ожидания составляет 853,44 такта генератора режима ожидания, ей потребуется повторно активировать высокочастотный тактовый генератор не позднее, чем произойдет детектирование перехода 853-го такта, в результате чего остающаяся дробная часть числа тактов (т.е. в данном случае 0,44) оказывается неучтенной. При условии, что на каждый такт тактового генератора режима ожидания приходится около 300 тактов высокочастотного тактового генератора, в вышеприведенном примере высокочастотный тактовый генератор будет включен на 130 тактов раньше, чем необходимо. Если взять другой пример, в котором истинное значение длительности периода ожидания составляет 853,99 такта тактового генератора режима ожидания, то высокочастотный тактовый генератор будет включен почти на 300 тактов раньше, чем необходимо.

Таким образом, при использовании низкочастотного тактового сигнала для отслеживания времени в течение периода ожидания настройка мобильной станции обычно выполняется таким образом, чтобы она возвращалась в активное состояние заблаговременно перед следующим ожидаемым временным интервалом поискового вызова, чтобы таким образом избежать возможных ошибок определения времени, обусловленных дрейфом частоты низкочастотного тактового генератора, и скомпенсировать относительно невысокую точность низкочастотного тактового генератора. Например, если временные интервалы поискового вызова повторяются через каждые 26,67 мс, то мобильная станция может быть запрограммирована таким образом, чтобы активировать высокочастотный тактовый генератор только по прошествии, например, 25 мс режима ожидания, чтобы гарантированно не пропустить следующий временной интервал поискового вызова. Таким образом, при этом оптимальное энергосбережение не достигается.

Один из способов, предложенных для компенсации характерных для низкочастотных тактовых генераторов ошибок определения времени, состоит в том, чтобы генераторы низкочастотных тактовых сигналов с низким энергопотреблением адаптировали длительность каждого периода ожидания на основе точности определения времени предыдущего периода ожидания. Более подробно, если в течение одного периода ожидания мобильный телефон активизируется для детектирования сигнала поискового вызова слишком поздно, то ему предписывается перейти в активное состояние раньше во время следующего периода ожидания. Для того чтобы определить, является ли период ожидания слишком долгим или слишком коротким, мобильная станция пытается выделить служебное слово в принятом сигнале поискового вызова, такое как заголовок сообщения, который обозначает начало заданного временного интервала. Если служебное слово выделить не удается, то это означает, что мобильная станция активизирована слишком поздно, и таким образом, длительность следующего периода ожидания будет уменьшена. Если же служебное слово было принято должным образом, то это означает, что мобильная станция перешла в активное состояние либо вовремя, либо слишком рано, и длительность следующего периода ожидания будет незначительно увеличена. Одна из проблем, присущих вышеописанному способу, заключается в том, что в нем подразумевается, что любая неудача в определении служебного слова является следствием ошибки определения времени. Однако помимо длительности периода ожидания могут быть и другие причины того, что служебное слово не было должным образом принято и демодулировано, например, плохое качество канала связи. Более того, даже если неудача в определении служебного слова является следствием скорее ошибки определения времени, нежели других ошибок связи, система при этом, по-прежнему, не компенсирует начальные и конечные сдвиги, обусловленные относительно невысокой точностью сигнала низкочастотного тактового генератора с низким энергопотреблением и, таким образом, не обеспечивает оптимального энергосбережения.

Значительное усовершенствование представлено в поданной на рассмотрение 14 августа 1998 г. заявке с порядковым номером 09/134808 на Патент США на “Синхронизацию осциллятора с низким энергопотреблением с эталонным осциллятором в устройстве беспроводной связи, использующем поисковые вызовы с сегментированием”, переуступленной правопреемнику настоящего изобретения. В вышеупомянутой заявке на патент исправление ошибок определения времени проводится независимо от неудачного приема частей переданных сигналов. Данная система включает в себя блок оценки частотных ошибок, предназначенный для непосредственной оценки дрейфа частоты низкочастотного тактового генератора с низким энергопотреблением. В одном из примеров, описанных в данной заявке на патент, дрейф частоты низкочастотного тактового генератора определяется посредством синхронизации низкочастотного тактового генератора с высокочастотным тактовым генератором в периоды времени, когда высокочастотный тактовый генератор находится в активном состоянии. Например, в течение каждого временного интервала поискового вызова, когда высокочастотный тактовый генератор функционирует, частотная ошибка низкочастотного тактового генератора рассчитывается с помощью высокочастотного тактового генератора. Система с большой точностью синхронизирует запуск высокочастотного тактового генератора с переходами низкочастотного тактового сигнала.

Несмотря на то, что система, описанная в вышеупомянутой заявке на патент, является значительным усовершенствованием по сравнению с системами, основанными на выделении служебных слов из сигналов, передаваемых на мобильную станцию, остается значительный простор для усовершенствований. Например, вышеупомянутые начальные и конечные сдвиги не принимаются во внимание. Следовательно, даже в улучшенной системе, описанной в данной патентной заявке, высокочастотный тактовый сигнал обычно должен быть активирован заблаговременно перед следующим ожидаемым временным интервалом поискового вызова, чтобы учесть остающиеся ошибки измерения времени. Таким образом, оптимальное энергосбережение опять же не достигается. Предпочтительным является создание системы, в которой тактовый генератор активного режима включается в момент как можно ближе к следующему временному интервалу поискового вызова для обеспечения максимального энергосбережения в режиме ожидания, что является основной задачей настоящего изобретения. В частности, желательным является создание системы, в которой реализуется компенсация вышеупомянутых начальных и конечных сдвигов для повторного запуска высокочастотного тактового генератора, которая выполняется на основе дробной части числа тактов низкочастотного тактового генератора, что является дополнительной задачей настоящего изобретения.

СУЩНОСТЬ ИЗОБРЕТЕНИЯ

В соответствии с настоящим изобретением заявлено устройство, предназначенное для запуска тактового генератора активного режима по окончании периода ожидания, и используемое в мобильной станции, отдельные компоненты которой в течение периода ожидания работают под управлением тактового генератора режима ожидания, а в режимах, отличных от режима ожидания, – под управлением более быстродействующего тактового генератора активного режима. Данное устройство включает в себя блок оценки времени активизации, служащий для оценки времени активизации с помощью тактового генератора режима ожидания. Блок компенсации служит для компенсации ошибок синхронизации в оценке времени активизации, которые обусловлены различием в точностях тактового генератора режима ожидания и тактового генератора активного режима. Блок запуска тактового генератора активного режима запускает тактовый генератор активного режима в момент времени, соответствующий времени активизации с учетом компенсации, тем самым прерывая период ожидания.

В примерном варианте осуществления настоящего изобретения мобильная станция функционирует в системе мобильной связи, в которой используется режим поисковых вызовов с сегментированием, Это устройство включает в себя блок компенсации дрейфа частоты, предназначенный для компенсации ошибки в оценке времени активизации, обусловленной дрейфом частоты тактового генератора режима ожидания. При компенсации как дрейфа частоты, так и ошибок синхронизации тактовый генератор активного режима активизируется почти синхронно со следующим временным интервалом поискового вызова, тем самым достигается значительное энергосбережение по сравнению с системами, в которых тактовый генератор активного режима должен быть активизирован заблаговременно перед следующим временным интервалом режима ожидания в целях компенсации возможных ошибок определения времени.

В данном примерном варианте осуществления настоящего изобретения компенсация ошибок синхронизации достигается использованием тактового генератора переходного режима, который применяется как в начале, так и в конце каждого периода ожидания. Частота тактового генератора переходного режима значительно превосходит частоту тактового генератора режима ожидания. С помощью тактового генератора переходного режима в данном устройстве удается легко компенсировать ошибки, обусловленные дрейфом частоты, и ошибки синхронизации, что позволяет повторно активизировать тактовый генератор активного режима позднее во время периода ожидания. Тактовый генератор переходного режима выключается сразу после начала периода ожидания и повторно запускается почти перед самым его окончанием, в результате чего энергопотребление тактового генератора переходного режима оказывается незначительным. Более того, так как в результате применения тактового генератора переходного режима повторная активизация компонентов мобильной станции происходит позднее в течение периода ожидания, любое увеличение энергопотребления, связанное с функционированием тактового генератора переходного режима, с лихвой компенсируется энергосбережением, обусловленным продлением периода ожидания.

Описание вариантов осуществления способа и устройства, соответствующих настоящему изобретению, приведено ниже.

КРАТКОЕ ОПИСАНИЕ ЧЕРТЕЖЕЙ

Признаки, задачи и преимущества настоящего изобретения поясняются в подробном описании, приведенном ниже со ссылками на чертежи, на которых используется сквозная нумерация позиций:

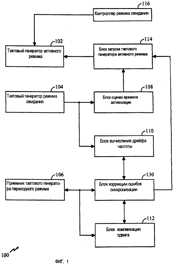
На Фиг.1 приведена блок-схема устройства, выполненного в соответствии с примерным вариантом осуществления настоящего изобретения и предназначенного для запуска тактового генератора активного режима по окончании режима ожидания в мобильной станции системы мобильной связи, в которой используется режим поисковых вызовов с сегментированием.

На Фиг.2 приведена более детальная блок-схема устройства по Фиг.1.

На Фиг.3 приведена временная диаграмма, иллюстрирующая отдельные тактовые сигналы, управляемые устройством по Фиг.1 и 2.

На Фиг.4 приведена блок-схема, иллюстрирующая последовательность этапов, выполняемых устройством по Фиг.1 и 2 для запуска сигнала тактового генератора активного режима по окончании периода ожидания.

На Фиг.5 приведена временная диаграмма конкретной реализации устройства по Фиг.1 и 2, выполненного для использования в системе МДКР.

ПОДРОБНОЕ ОПИСАНИЕ ПРЕДПОЧТИТЕЛЬНЫХ ВАРИАНТОВ ОСУЩЕСТВЛЕНИЯ

Ниже приводится описание примерных вариантов осуществления настоящего изобретения со ссылкой на чертежи. Сначала примерные варианты осуществления настоящего изобретения описаны со ссылками на блок-схемы по Фиг.1 и 2 в сочетании с временной диаграммой по Фиг.3. Работа устройства, соответствующего настоящему изобретению, описана в общих чертах со ссылками на блок-схему по Фиг.4. Наконец, конкретная реализация настоящего изобретения описана со ссылками на Фиг.5.

На Фиг.1 приведено устройство 100 запуска тактового генератора активного режима, выполненное для обеспечения запуска тактового генератора активного режима по окончании режима ожидания в мобильной станции (не изображена), функционирующей в системе мобильной связи, в которой используется режим поисковых вызовов с сегментированием, такой как беспроводная телекоммуникационная система МДКР. Высокочастотный тактовый сигнал, показанный на фиг.3, обозначен ссылочной позицией 101. Период ожидания, в течение которого высокочастотный тактовый генератор выключен, обозначен ссылочной позицией 103. Устройство запуска тактового генератора активного режима выполнено таким образом, чтобы запуск данного генератора происходил как можно ближе к следующему временному интервалу поискового вызова в целях максимизации энергосбережения в течение периода ожидания. При этом активизация мобильной станции, необходимая для приема и отклика на сигналы поискового вызова, передаваемые на мобильную станцию в течение данного временного интервала, осуществляется вовремя. С этой целью устройство 100 запуска тактового генератора по Фиг.1 включает в себя компоненты для компенсации в течение периода ожидания дрейфа частоты низкочастотного тактового генератора с низким энергопотреблением и компоненты для компенсации начальных и конечных временных сдвигов, чтобы включение высокочастотного тактового генератора происходило с высокой степенью точности, несмотря на то, что длительность периода ожидания измеряется лишь с помощью низкочастотного тактового генератора. В дальнейшем высокочастотный тактовый генератор, используемый мобильной станцией в режимах, отличных от режима ожидания, будет называться тактовым генератором активного режима, а низкочастотный тактовый генератор, используемый для измерения длительности режима ожидания, будет называться тактовым генератором режима ожидания. Тактовый генератор режима ожидания остается активным все время – как в течение периодов ожидания, так и в течение активных режимов. Компенсация дрейфа частоты и ошибок синхронизации, в частности, осуществляется с помощью третьего тактового генератора, при этом предпочтительно, чтобы его частота была равна частоте тактового генератора активного режима. В данном документе вышеупомянутый третий тактовый генератор называется тактовым генератором переходного режима, он используется в начале и конце каждого периода ожидания. На Фиг.3 сигнал тактового генератора переходного режима обозначен ссылочной позицией 105, а сигнал тактового генератора режима ожидания – ссылочной позицией 107. Видно, что тактовый генератор переходного режима остается активным в течение, по меньшей мере, нескольких тактов после выключения тактового генератора активного режима, и тактовый генератор переходного режима повторно запускается, по меньшей мере, за несколько тактов до повторного запуска тактового генератора активного режима. В нижеприведенном примере тактовые генераторы активного и переходного режимов работают на частоте, приблизительно равной 9,86 МГц, а тактовый генератор режима ожидания работает на частоте, приблизительно равной 32 кГц. Однако в разных реализациях могут использоваться разные частоты тактовых генераторов. На Фиг.1 тактовые сигналы активного режима, режима ожидания и переходного режима формируются тактовым генератором 102 активного режима, тактовым генератором 104 режима ожидания и тактовым генератором 106 переходного режима, соответственно.

Устройство 100 запуска тактового генератора по Фиг.1 включает в себя блок 108 оценки времени активизации, предназначенный для оценки момента окончания периода ожидания исключительно на основе подсчета тактов генератора режима ожидания или, иными словами, числа тактов генератора 107 по Фиг.3, рассчитанное за период 103 ожидания. С помощью блока 110 компенсации дрейфа частоты рассчитывается корректировочный коэффициент для компенсации дрейфа частоты тактового генератора режима ожидания, и осуществляется быстрая корректировка с помощью сигнала 105 тактового генератора переходного режима по Фиг.3. Блок 112 компенсации ошибок синхронизации выдает дополнительный корректировочный коэффициент для корректировки времени активизации, реализуемой с целью компенсации сдвига между началом периода ожидания и первым отсчитанным тактом генератора режима ожидания на основе тактов, отсчитываемых с помощью сигнала тактового генератора переходного режима. Иными словами, блок компенсации ошибок синхронизации компенсирует временной сдвиг между началом периода 103 ожидания по Фиг.3, который начинается в момент 109 времени, и первым передним фронтом сигнала 107 тактового генератора режима ожидания, подсчитанным в момент 111 времени. Оценка времени активизации, выдаваемая блоком 108 по Фиг.1, и корректировочные коэффициенты, выдаваемые блоками 110 и 112, подаются на блок 114 запуска тактового генератора активного режима, который подает на тактовый генератор 102 активного режима команду о начале выдачи тактового сигнала активного режима, используемого другими компонентами мобильной станции, такими как приемное устройство МДКР, служащее для приема сигналов поискового вызова, передаваемых от базовой станции в течение временных интервалов поискового вызова. В зависимости от конкретной реализации блок запуска тактового генератора активного режима может получать команду на запуск тактового генератора активного режима заблаговременно перед следующим временным интервалом поискового вызова с целью обеспечения прогрева компонентов мобильной станции, таких как приемная схема МДКР.

Таким образом, блок 100 по Фиг.1 запускает тактовый генератор активного режима по окончании периода ожидания, главным образом, на основе относительно неточного тактового генератора режима ожидания, но при этом осуществляется корректировка на основе корректировочных коэффициентов для дрейфа частоты и ошибок синхронизации с помощью значительно более быстродействующего тактового генератора переходного режима, который выключен в течение большей части периода ожидания. Подобным образом достигается энергосбережение, значительное по сравнению с предшествующими системами.

На Фиг.2 представлены детали, относящиеся к компонентам блока оценки времени активизации, блока компенсации дрейфа частоты и блока компенсации ошибок синхронизации по Фиг.1. В данном описании в качестве примера длительность периода ожидания принята равной 26,67 мс, хотя можно использовать и другие значения длительности периода ожидания. Контроллер 116 режима ожидания активизирует период ожидания посредством выключения тактового генератора 102 активного режима и посредством подачи команды о начале функционирования на блок 108 оценки времени активизации и блоки 110 и 112 компенсации. Блок 108 оценки времени активизации выдает оценку времени окончании периода ожидания посредством подсчета числа тактов генератора (107 по Фиг.3) режима ожидания и сравнения результата подсчета с ожидаемым за период ожидания числом тактовых сигналов в предположении, что тактовый генератор режима ожидания не подвержен дрейфу частоты и что первый передний фронт сигнала тактового генератора режима ожидания синхронизирован по времени с началом периода ожидания. С этой целью блок 108 оценки времени активизации включает в себя регистр 118 памяти, в котором хранится значение разности ожидаемого числа тактов за период ожидания, периода, требуемого для прогрева компонентов, и максимального времени, требуемого для корректировки ошибок синхронизации и ошибок, связанных с дрейфом частоты. Период прогрева является заданной величиной. Максимальное время корректировки, требуемое для компенсации начального сдвига в начале периода ожидания, составляет полтора (11/2) такта тактового генератора режима ожидания. Максимальное время, требуемое для корректировки ошибок, связанных с дрейфом частоты, является заданной величиной, вычисляемой на основе максимальных ожидаемых значений дрейфа частоты, получаемых, в свою очередь, на основе максимальных ожидаемых перепадов температуры и энергии. Данные значения могут быть вычислены без чрезмерного экспериментирования, например, на основе тестов, в которых испытываются пробные компоненты при ожидаемых перепадах температуры. Например, если тактовый генератор активного периода работает на частоте 9,83 МГц, а тактовый генератор режима ожидания работает на частоте 30 кГц, в регистре памяти хранится число, равное числу 300, за вычетом длительности периода прогрева и максимальных ожидаемых значений дрейфа и сдвига. Таким образом, в регистре памяти хранится число тактов генератора режима ожидания за период времени, длительность которого меньше фактически ожидаемой длительности периода ожидания на величину, достаточную для прогрева и использования тактового генератора переходного режима в целях более точной компенсации разброса при определении времени.

Контроллер 116 режима ожидания запускает счетчик 120 для подсчета передних фронтов сигнала тактового генератора режима ожидания. Контроллер 122 получает результат подсчета, сравнивает его с ожидаемым числом тактов, хранимым в регистре 118 памяти, и выдает сигнал индикации, когда число тактов равно значению из регистра памяти, тем самым обозначая оценку времени окончания периода ожидания. Сигнал индикации подается на блок 114 запуска тактового генератора активного режима с целью повторного запуска тактового генератора активного режима с учетом корректировочных коэффициентов, выдаваемых блоком 110 компенсации дрейфа частоты и блока 112 компенсации ошибок синхронизации. В силу того, что сигнал индикации формируется на основе хранимого в памяти числа тактов, которое учитывает период прогрева и максимально ожидаемый период корректировки, сигнал индикации, таким образом, не обозначает фактическое ожидаемое время окончания периода ожидания. Напротив, сигнал индикации передается заблаговременно перед ожидаемым окончанием периода ожидания, чтобы мог осуществиться прогрев, и чтобы фактическое время завершения периода ожидания могло быть точно задано с помощью корректировочных факторов, выдаваемых блоком оценки дрейфа частоты и блоком оценки сдвига.

Блок 110 компенсации дрейфа частоты включает в себя блок 124 оценки дрейфа частоты, предназначенный для оценки измеряемого, например, в миллионных долях значения дрейфа частоты тактового генератора режима ожидания, который является следствием перепадов температуры и т.п. В одном из примеров блок оценки дрейфа частоты функционирует только тогда, когда функционирует тактовый генератор активного режима. Блок оценки дрейфа частоты принимает сигналы как тактового генератора режима ожидания, так и тактового генератора активного режима и подсчитывает число тактов генератора активного режима, приходящихся на каждый такт тактового генератора режима ожидания с целью определения скользящего среднего значения фактической частоты тактового генератора режима ожидания. Для этой цели можно использовать фильтр с окном скользящего среднего. Блок оценки дрейфа частоты сравнивает ожидаемое число тактов генератора активного режима, приходящееся на каждый такт тактового генератора режима ожидания, с фактически рассчитанным числом и, соответственно, вычисляет коэффициент дрейфа частоты. Если, например, тактовый генератор активного режима работает на частоте 9,83 МГц, а тактовый генератор режима ожидания работает на частоте 30 кГц, то блок оценки дрейфа частоты выполнен таким образом, что ожидаемое число тактов генератора активного режима, приходящееся на каждый такт тактового генератора режима ожидания, примерно равно 300.

Тем не менее, в предпочтительной реализации блок оценки дрейфа частоты выполнен так, как описано в заявке на Патент США на “Способ и устройство компенсации дрейфа частоты низкочастотного тактового генератора мобильной станции, функционирующей в режиме поискового вызова с сегментированием”, поданной на рассмотрение одновременно с данной заявкой и переуступленной правопреемнику настоящего изобретения. Данная заявка включена в настоящий документ в качестве ссылки.

Оценка дрейфа частоты, полученная в блоке 124 оценки дрейфа частоты, поступает на блок 126 вычисления ожидаемой ошибки синхронизации, который вычисляет ошибку синхронизации в миллисекундах, ожидаемую между временем активизации, полученным в блоке 108 оценки времени активизации, и следующим временным интервалом поискового вызова. Например, если выходное значение блока оценки дрейфа частоты выражено в миллионных долях, то, основываясь на известной длительности периода ожидания, блок вычисления ожидаемой ошибки синхронизации преобразует выраженное в миллионных долях значение к фактическому временному значению. Ожидаемая ошибка синхронизации передается в блок 128 коррекции ошибки синхронизации, который подает в блок 114 запуска тактового генератора активного режима команду о задержке запуска тактового генератора активного режима на время, достаточное для компенсации ожидаемой ошибки синхронизации. Для этого в блоке коррекции ошибки синхронизации имеется блок 132 запуска тактового генератора 106 переходного режима, который при получении сигнала индикации от блока 108 оценки времени пробуждения запускает тактовый генератор 106 переходного режима. Сразу же вслед за этим счетчик 132 начинает подсчет числа тактов генератора переходного режима, т.е., как показано на Фиг.3, счетчик подсчитывает такты генератора 105 переходного режима с момента 113 времени. Контроллер 136 вычисляет число тактов генератора переходного режима за период ожидаемой ошибки синхронизации и в момент, когда величина счетчика 132 сравнивается с вычисленным числом тактов генератора переходного режима, выдает сигнал управления на блок запуска тактового генератора активного режима, т.е., как показано на Фиг.5, сигнал управления выдается в момент 115 времени. Блок 114 запуска тактового генератора активного режима выполнен таким образом, чтобы включать тактовый генератор активного режима только в случае, когда получен разрешающий сигнал управления от блока компенсации дрейфа частоты и блока компенсации ошибок синхронизации. Таким образом, запуск тактового генератора активного режима откладывается, как минимум, до момента получения сигнала управления от контроллера 136 блока компенсации дрейфа частоты.

Блок 112 компенсации ошибок синхронизации содержит блок 138 оценки начального временного сдвига и блок 140 коррекции ошибок синхронизации, которые используются совместно для вычисления сдвига между началом периода ожидания и первым передним фронтом сигнала тактового генератора режима ожидания и последующей выдачи сигнала управления на блок запуска тактового генератора активного режима с целью соответствующей корректировки момента включения тактового генератора активного режима. В примере, приведенном на Фиг.3, тактовый генератор переходного режима запускается заблаговременно перед переходом в режим ожидания, и, как следствие, оказывается включенным в начале периода ожидания. Активированный контроллером 116 режима ожидания счетчик 142 начинает подсчет тактов генератора переходного режима с начала периода ожидания. Счетчик 142 продолжает подсчет тактов до тех пор, пока блок 144 обнаружения не обнаружит первый передний фронт сигнала тактового генератора режима ожидания, т.е., как показано на Фиг.3, счетчик 142 подсчитывает такты генератора 105 переходного режима между моментами 109 и 111 времени. После того, как число тактов запоминается в регистре 146 памяти, блок 148 выключения тактового генератора переходного режима выключает тактовый генератор переходного режима. Тактовый генератор переходного режима остается выключенным на протяжении оставшейся части периода ожидания до того момента, пока он не будет включен вновь блоком повторного запуска.

Блок повторного запуска включает тактовый генератор переходного режима при получении сигнала управления от блока 108 оценки времени активизации. В этот момент контроллер считывает записанное в регистре 146 памяти значение и запускает счетчик для подсчета числа тактов, записанного ранее в регистре 146. При обнулении счетчика контроллер посылает сигнал управления на блок 114 запуска тактового генератора активного режима с целью включения тактового генератора активного режима.

Таким образом, основываясь на оценке, сделанной только с помощью тактового генератора режима ожидания, блок 108 оценки времени активизации формирует сигнал индикации за определенное время до окончания периода ожидания. Блок компенсации дрейфа частоты и блок компенсации ошибок синхронизации задерживают включение тактового генератора активного режима относительно момента получения указанного сигнала индикации, чтобы учесть длительность прогрева, скомпенсировать дрейф частоты тактового генератора режима ожидания и возможные сдвиги между началом периода ожидания и первым подсчитанным тактом генератора режима ожидания. Таким образом, повторный запуск тактового генератора активного режима синхронизирован с началом периода прогрева, что обеспечивает генератору запас времени, достаточный для прогрева всех компонентов мобильной станции до следующего временного интервала поискового вызова. Следовательно, по сравнению с устройствами, в которых не реализуется компенсация дрейфа частоты или длительности начального сдвига, достигается сокращение энергопотребления.

Так, Фиг.1-3 в совокупности иллюстрируют пример варианта осуществления настоящего изобретения, служащего для повторного запуска высокочастотного тактового сигнала в конце периода ожидания с одновременной компенсацией как дрейфа частоты, так и начального временного сдвига, в частности, с использованием сигнала тактового генератора переходного режима в начале и в конце периода ожидания. Ниже со ссылкой на блок-схему по Фиг.4 приведено краткое описание способа, использующего сигнал тактового генератора переходного режима. В начале, на этапе 200, предшествующем периоду ожидания, мобильная станция запускает тактовый генератор переходного режима. На этапе 202 тактовый генератор активного режима выключается, тем самым начиная период ожидания. На этапе 204 устройство подсчитывает число передних фронтов в сигнале тактового генератора переходного режима, полученных с момента выключения тактового генератора активного режима до момента появления следующего переднего фронта сигнала тактового генератора режима ожидания, который всегда находится во включенном состоянии. Определенное на этапе 204 число тактов запоминается в счетчике. На этапе 204 тактовый генератор переходного режима выключается. На этапе 208 длительность режима ожидания оценивается только с помощью низкочастотного тактового генератора режима ожидания. На этапе 210 сигнал тактового генератора переходного режима включается снова. Момент повторного включения определяется на основе разности оценки момента окончания периода ожидания, полученной с помощью тактового генератора переходного периода, и заданного времени, необходимого для компенсации максимального ожидаемого дрейфа частоты и ошибок синхронизации. На этапе 212 подсчет числа тактов сигнала тактового генератора переходного режима продолжается до тех пор, пока значение счетчика не сравняется с суммой числа тактов, записанных на этапе 204, и числа тактов, необходимых для компенсации вычисленного дрейфа частоты. Как только пройдет соответствующее число тактов тактового генератора переходного режима, на этапе 214 происходит повторный запуск высокочастотного тактового генератора активного режима, что дает компонентам мобильной станции возможность прогреться к моменту приема сигнала поискового вызова, передаваемого в следующем временном интервале поискового вызова.

Ниже описан вариант реализации настоящего изобретения, предназначенный для применения в составе системы МДКР, соответствующей поддерживаемому Ассоциацией Промышленности Средств Связи (АПСС) стандарту IS-95A. Согласно стандарту IS-95A, работающая в режиме с сегментированием “абонентская станция” МДКР максимизирует длительность пребывания в режиме с пониженным энергопотреблением посредством перехода в режим ожидания с использованием такого параметра, как индекс цикла временных интервалов (ИЦВИ). Абонентская станция активизируется через каждые (1/28·2ИЦВИ) секунд, чтобы отследить выделенный временной интервал в 80 мс для приема сигналов поискового вызова. Так, например, при ИЦВИ=0 абонентская станция в идеале активна в течение 80 мс и находится в режиме ожидания в течение 1,2 с. На практике, для выполнения таких стадий, как ВЧ (высокочастотный) прогрев, стабилизация синтезатора, установление частоты тактового генератора, поиск и захват частоты пилот-сигнала МДКР, переназначение канала разнесенного приема и прогрев декодера, станция вынуждена переходить в активный режим за существенный промежуток времени до границы следующего временного интервала.

На протяжении каждого цикла ожидания устройство периодически частично кратковременно активизируется, чтобы обеспечить приемлемое время реакции на нажатие клавиш пользователем. Для того чтобы при возвращении в активный режим станция обнаруживала бы пилот-сигнал примерно в том же положении, длительность цикла ожидания и длительность интервала периодических частичных кратковременных активизации выбираются кратными периоду псевдошумовой (ПШ) последовательности (т.е. 26,67 мс). Кроме того, каждый интервал периодических частичных кратковременных активизации дополнительно разбивается на: (1) “период ожидания”, в течение которого все устройство целиком находится в режиме ожидания, и (2) “период прогрева”, в течение которого ВЧ и аналоговые цепи включаются для прогрева. Если абонентская станция находится в режиме ожидания, то системное время приблизительно хронометрируется с помощью счетчиков, которые отслеживают длительность периода ожидания посредством комбинации медленного тактового генератора (МТГ), служащего для грубого определения времени с максимальным разрешением 1/60k=16,7 с, и тактового генератора SLPCHIPX8, служащего для точного определения времени с разрешением 1/(8·1,2288е6)=0,102 с.

На Фиг.5 приведен пример стадий, составляющих цикл ожидания. Временная диаграмма Е отмечает каждую из стадий цикла ожидания согласно следующему описанию:

– До момента времени t1 : в момент перехода в режим ожидания программное обеспечение абонентской станции выключает все лишние режимы тактового генератора за исключением режима RXCHIPX8 (Временная диаграмма В) демодулятора и декодера МДКР, основывающегося на тактовом генераторе CHIPX8 активного режима.

– Кратный 26,67 мс временной интервал разбивается на период ожидания и период прогрева и программируется как первый интервал периодических кратковременных активизации посредством регистров SLEEP_INTERVAL и WU_TIME.

Выполняющееся на микропроцессоре абонентской станции программное обеспечение записывает бит ASIC_SLEEP_ARM регистра SLEEP_CTL, тем самым сигнализируя, что абонентская станция может перейти в режим ожидания с началом следующего периода ПШ последовательности (момента времени t 1).

Все это время тактовый генератор режима ожидания (ТГРО) (Временная диаграмма D) работает асинхронно с режимом CHIPX8 тактового генератора МДКР, в то время как SLPCHIPX8 (Временная диаграмма С), т.е. тактовый генератор переходного режима, синхронизован с RXCHIPX8, получаемым от того же источника, CHIPX8.

– В момент времени t1, при котором начинается следующий период ПШ последовательности, режим RXCHIPX8 тактового генератора выключается, что переводит абонентскую станцию в режим ожидания. Начиная с этого момента длительность периода ожидания должна быть очень близкой к величине, кратной 26,67 мс, что задается с помощью счетчиков SLEEP_INTERVAL и WU_TIME, ведущих обратный отсчет по сигналам МТГ. Для учета асинхронности МТГ счетчик CHIPX8_SLEEP_TIME начинает отсчет тактов SLPCHIPX8, прошедших с момента времени t1 до следующего переднего фронта сигнала МТГ.

В момент времени t2 появляется передний фронт сигнала МТГ. В этот же момент времени режим SLPCHIPX8 тактового генератора выключается, что фиксирует значение счетчика CHIPX8_SLEEP_TIME и, тем самым, дает оценку величины (t2-t1 ) в единицах chipx8.

– В момент времени t3, через половину такта МТГ, по заднему фронту сигнала МТГ сигнал SLEEP_N (Временная диаграмма А) переходит в состояние низкого логического уровня. Это переводит остальные цифровые, аналоговые и ВЧ компоненты абонентской станции в режим пониженного энергопотребления. Если сигнал МТГ содержит Nмтг единиц chipx8, то полное время, истекшее к данному моменту, определяется формулой: Т A=(t2-t1)+(t3-t2 )={CHIPX8_SLEEP_TIME+1/2Nмтг } в единицах chipx8. Стоит отметить, что, как следует из данного определения, ТA лежит в диапазоне от 1/ 2 до 11/2 тактов медленного тактового генератора. Длительность последующих интервалов периодических кратковременных активизации следует корректировать таким образом, чтобы учесть это дополнительное время нахождения в режиме ожидания вследствие асинхронного режима работы микросхемы режима ожидания. В этот же момент времени счетчик SLEEP_INTERVAL, ведущий обратный отсчет по сигналам МТГ, начинает обратный отсчет.

В момент времени t4 выдается прерывание для перехода в активное состояние, когда значение счетчика SLEEP_INTERVAL достигает нуля. Микропроцессор абонентской станции активизируется и определяет, следует ли аппаратным средствам станции перейти в активное состояние в течение следующего временного интервала или осуществлять обработку нажатий клавиш.

Если ни одно из указанных выше условий не выполняется, то программное обеспечение оставляет аппаратные средства станции в режиме ожидания посредством поддержания сигнала SLEEP_N активным на протяжении обратного отсчета в период прогрева (с помощью счетчика WU_TIMER). В этот момент программное обеспечение оценивает число тактов сигнала МТГ, отведенных в следующем интервале периодических кратковременных активизации под период ожидания, с учетом таких факторов, как длительность следующего интервала периодических кратковременных активизации, асинхронное запаздывание сигнала медленного тактового генератора, ошибки дрейфа и усечения вследствие использования МТГ для аппроксимации величин, кратных периоду ПШ последовательности.

В момент времени t5 значение счетчика WU_TIME обнуляется, и в счетчик SLEEP_INTERVAL загружается новое значение, полученное на предыдущем этапе. Значение счетчика WU_TIME – это заранее вычисленная константа, величина которой определяется требованиями по прогреву ВЧ компонентов станции. Микропроцессор снова переходит в режим ожидания до получения прерывания для перехода в активное состояние от очередного интервала периодических кратковременных активизации.

В момент времени t6, если имеются требующие обработки прерывания или истек последний интервал периодических кратковременных активизации в данном периоде ожидания, то по прерыванию для перехода в активное состояние сигнал SLEEP_N деактивируется, что вызывает активизацию аппаратных средств станции и ее переход в состояние готовности к следующему временному интервалу. На протяжении обратного отсчета счетчика WU_TIMER происходит прогрев аналоговых и ВЧ компонент.

В момент времени t7 значение счетчика WU_TIME обнуляется, что служит признаком окончания последнего интервала периодических кратковременных активизации. В момент времени t 8 включается режим SLPCHIPX8. Дополнительно следует отметить, что суммарное время, прошедшее за все интервалы периодических кратковременных активизации (обозначенное Тв=t 7-t3), будет близким к целому числу тактов сигнала МТГ. Вследствие упомянутого выше ряда факторов, учитываемых при калибровке длительности периода ожидания, требуется некоторое остаточное время (дробная часть сигнала МТГ), в течение которого абонентская станция также должна находиться в режиме ожидания. Эта дробная часть сигнала МТГ (обозначенная Тс) преобразуется в единицы chipx8 и записывается в счетчик CHIPX8_SLEEP_TIME, который начинает обратный отсчет по сигналам SLPCHIPX8.

В момент времени t9 значение счетчика CHIPX8_SLEEP_TIME обнуляется, а в момент времени t10 аппаратные средства включают RXCHIPX8. Последний представляющий интерес временной интервал – это Тc=t9-t7.

Варианты осуществления настоящего изобретения описаны, в основном, со ссылкой на схематические диаграммы, иллюстрирующие признаки данных вариантов осуществления. Следует отметить, что отнюдь не все компоненты полной реализации практической системы детально проиллюстрированы или описаны выше. Напротив, показаны и описаны только компоненты, являющиеся существенными для пояснения настоящего изобретения. Фактическое количество компонентов может меняться от реализации к реализации как в большую, так и в меньшую сторону. Приведенное выше описание предпочтительных вариантов осуществления предоставлено для того, чтобы любой специалист в данной области техники мог воспроизвести или использовать настоящее изобретение. Для специалистов в данной области техники различные модификации данных вариантов осуществления будут очевидны, а общие принципы, определенные в данном документе, могут быть применены к другим вариантам осуществления без использования дополнительного изобретательства. Таким образом, предполагается, что настоящее изобретение не ограничивается одними лишь приведенными вариантами осуществления, а представляет собой самый широкий объем, соответствующий раскрытым в настоящем описании принципам и новым признакам.


Формула изобретения


1. Устройство для запуска тактового генератора активного режима по окончании периода ожидания, предназначенное для использования в мобильной станции, в которой отдельные компоненты в течение периода ожидания работают под управлением тактового генератора режима ожидания, а в режимах, отличных от режима ожидания – под управлением более быстродействующего тактового генератора активного режима, причем указанное устройство включает в себя средство для оценки времени активизации с использованием тактового генератора режима ожидания; средство для компенсации ошибок в оцененном времени активизации, обусловленных различием в точностях тактового генератора режима ожидания и тактового генератора активного режима; средство для запуска тактового генератора активного режима в момент времени активизации с учетом компенсации, при этом средство компенсации ошибок в оцененном времени активизации, обусловленных различием в точностях тактового генератора режима ожидания и тактового генератора активного режима, включает в себя средство для определения длительности начального сдвига между началом периода ожидания и первым подсчитанным тактом генератора режима ожидания и для корректировки оцененного времени активизации на основе длительности начального сдвига и средство для определения длительности конечного сдвига между последним подсчитанным тактом генератора режима ожидания и концом периода ожидания и для корректировки оцененного времени активизации на основе данного конечного сдвига.

2. Устройство по п.1, отличающееся тем, что дополнительно содержит средство для компенсации ошибки в оцененном времени активизации, обусловленной дрейфом частоты тактового генератора режима ожидания.

3. Устройство по п.2, отличающееся тем, что средство для компенсации ошибки в оцененном времени активизации, обусловленной дрейфом частоты тактового генератора режима ожидания, включает в себя средство для оценки дрейфа частоты, имеющего место в тактовом генераторе режима ожидания в течение периода ожидания; средство для вычисления ожидаемой ошибки синхронизации между действительной длительностью периода ожидания и длительностью периода ожидания, вычисленной с помощью тактового генератора режима ожидания, подверженного оцененному дрейфу частоты; средство для коррекции ошибок синхронизации, служащее для управления средством для запуска тактового генератора активного режима для корректировки времени активизации на основе ожидаемой ошибки синхронизации.

4. Устройство по п.3, отличающееся тем, что средство коррекции ошибок синхронизации включает в себя средство для запуска сигнала тактового генератора переходного режима в момент времени запуска, предшествующий оцененному времени активизации, причем частота указанного тактового генератора переходного режима значительно больше частоты тактового генератора режима ожидания; средство для подсчета числа тактов сигнала генератора переходного режима за интервал между моментом времени запуска тактового генератора переходного режима и ожидаемым моментом завершения периода ожидания; средство для подсчета числа тактов сигнала генератора переходного режима, приходящихся на ожидаемую ошибку синхронизации; средство для сложения числа тактов за интервал между моментом времени запуска тактового генератора переходного режима и ожидаемым моментом завершения периода ожидания с числом тактов, приходящихся на ожидаемую ошибку синхронизации, для получения суммарного числа тактов; средство для подсчета числа тактов генератора переходного режима; средство для управления средством запуска тактового генератора активного режима, предназначенное для задержки запуска тактового генератора активного режима после момента времени запуска тактового генератора переходного режима до тех пор, пока не истечет вышеуказанное суммарное число тактов генератора переходного режима.

5. Устройство по п.1, отличающееся тем, что средство для определения длительности начального сдвига между началом периода ожидания и первым подсчитанным тактом генератора режима ожидания и корректировки оценки времени активизации на основе длительности начального сдвига, включает в себя средство для формирования сигнала тактового генератора переходного режима с частотой, значительно большей частоты тактового генератора режима ожидания;

средство для подсчета числа тактов генератора переходного режима, прошедших от начала периода ожидания до следующего переднего фронта сигнала тактового генератора периода ожидания;

средство для запоминания подсчитанного числа тактов;

средство для выключения тактового генератора переходного режима; средство для повторного запуска тактового генератора переходного режима в момент времени, предшествующий оцененному времени активизации; средство задержки для управления средством для запуска тактового генератора активного режима для задержки запуска тактового генератора активного режима до тех пор, пока не истечет упомянутое выше подсчитанное число тактов генератора переходного режима.

6. Устройство по п.1, отличающееся тем, что мобильная станция функционирует в системе мобильной связи, использующей режим поисковых вызовов с сегментированием, причем длительность периода ожидания по существу равна интервалу времени между двумя последовательными временными интервалами поискового вызова, так что момент запуска тактового генератора активного режима по существу синхронизирован со следующим временным интервалом поискового вызова.

7. Устройство запуска тактового генератора активного режима по истечении периода ожидания, предназначенное для использования в мобильной станции, в которой отдельные компоненты в течение периода ожидания работают под управлением тактового генератора режима ожидания, а в режимах, отличных от режима ожидания, – под управлением более быстродействующего тактового генератора активного режима, причем указанное устройство включает в себя блок оценки времени активизации, служащий для оценки времени активизации с помощью тактового генератора режима ожидания; блок компенсации ошибок в оцененном времени активизации, обусловленных различием в точностях тактового генератора режима ожидания и тактового генератора активного режима; блок запуска тактового генератора активного режима, служащий для запуска тактового генератора активного режима в момент времени активизации с учетом компенсации, при этом упомянутый блок компенсации включает в себя блок компенсации начального сдвига, служащий для определения длительности начального сдвига между началом периода ожидания и первым подсчитанным тактом генератора режима ожидания и для корректировки оцененного времени активизации на основе данного начального сдвига; блок компенсации конечного сдвига, служащий для определения длительности конечного сдвига между последним подсчитанным тактом генератора режима ожидания и концом периода ожидания и для корректировки оцененного времени активизации на основе данного конечного сдвига.

8. Устройство по п.7, отличающееся тем, что дополнительно включает блок компенсации дрейфа частоты, служащий для компенсации ошибки в оцененном времени активизации, обусловленной дрейфом частоты тактового генератора режима ожидания.

9. Устройство по п.7, отличающееся тем, что блок оценки времени активизации включает в себя регистр, служащий для сохранения заданного числа тактов, приходящихся на один период ожидания, для тактового генератора, работающего с некоторой предназначенной для режима ожидания частотой; счетчик, служащий для подсчета тактов генератора режима ожидания, прошедших за период ожидания; блок индикации, служащий для индикации момента, когда подсчитанное число тактов совпадет с ожидаемым числом тактов.

10. Устройство по п.8, отличающееся тем, что указанный блок компенсации ошибок, связанных с дрейфом частоты, включает в себя блок оценки дрейфа частоты, служащий для оценки дрейфа частоты, имеющего место в тактовом генераторе режима ожидания в течение одного периода ожидания; блок вычисления ожидаемой погрешности между действительной длительностью периода ожидания и длительностью периода ожидания, полученной с помощью тактового генератора режима ожидания, подверженного оцененному дрейфу частоты; блок коррекции ошибок синхронизации, служащий для управления блоком запуска тактового генератора активного режима и для корректировки времени активизации на основе ожидаемой ошибки синхронизации.

11. Устройство по п.10, отличающееся тем, что блок коррекции ошибок синхронизации включает в себя блок запуска тактового генератора переходного режима, служащий для запуска тактового генератора переходного режима в момент времени, предшествующий оцененному времени активизации, причем частота упомянутого тактового генератора переходного режима существенно больше частоты тактового генератора режима ожидания; первый вычислительный блок, служащий для подсчета числа тактов генератора переходного режима за интервал между моментом запуска тактового генератора переходного режима и ожидаемым моментом завершения периода ожидания; второй вычислительный блок, служащий для подсчета числа тактов генератора переходного режима, приходящихся на ожидаемую ошибку синхронизации; сумматор для суммирования числа тактов за интервал между моментом запуска тактового генератора переходного режима и ожидаемым моментом завершения периода ожидания и числа тактов, приходящихся на ожидаемую ошибку синхронизации, для получения суммарного числа тактов; счетчик числа тактов генератора переходного режима; контроллер для управления блоком запуска тактового генератора активного режима для задержки запуска тактового генератора активного режима после запуска тактового генератора переходного режима до тех пор, пока не истечет упомянутое суммарное число тактов генератора переходного режима.

12. Устройство по п.10, отличающееся тем, что упомянутый блок компенсации начального сдвига, служащий для определения длительности начального сдвига между началом периода ожидания и первым подсчитанным тактом генератора режима ожидания и корректировки оценки времени активизации на основе длительности начального сдвига, включает в себя генератор тактового сигнала, служащий для формирования тактового сигнала переходного режима с частотой, существенно большей частоты тактового сигнала режима ожидания; счетчик, служащий для подсчета тактов генератора переходного режима, прошедших от начала периода ожидания до появления следующего переднего фронта сигнала тактового генератора режима ожидания; регистр для сохранения подсчитанного числа тактов; блок выключения, служащий для выключения тактового генератора переходного режима; причем блок коррекции ошибок синхронизации включает в себя блок повторного запуска, служащий для повторного запуска тактового генератора переходного режима в момент времени, предшествующий оцененному времени активизации; блок задержки для управления блоком запуска тактового генератора активного режима для задержки запуска тактового генератора активного режима до тех пор, пока не истечет упомянутое подсчитанное число тактов генератора переходного режима.

13. Устройство по п.7, отличающееся тем, что мобильная станция функционирует в системе мобильной связи, использующей режим поисковых вызовов с сегментированием, причем длительность периода ожидания по существу равна интервалу времени между двумя последовательными временными интервалами поискового вызова, так что момент запуска тактового генератора активного режима по существу синхронизован со следующим временным интервалом поискового вызова.

14. Способ запуска тактового генератора активного режима по истечении периода ожидания, предназначенный для использования в мобильной станции, в которой отдельные компоненты в течение периода ожидания работают под управлением тактового генератора режима ожидания, а в режимах, отличных от режима ожидания, – под управлением более быстродействующего тактового генератора активного режима, причем указанный способ включает в себя

оценку времени активизации с использованием тактового генератора режима ожидания;

компенсацию ошибок в оцененном времени активизации, обусловленных различием в точностях тактового генератора режима ожидания и тактового генератора активного режима; запуск тактового генератора активного режима в момент времени активизации с учетом компенсации, при этом этап компенсации ошибок в оцененном времени активизации, обусловленных различием в точностях тактового генератора режима ожидания и тактового генератора активного режима, включает в себя этапы определения длительности начального сдвига между началом периода ожидания и первым подсчитанным тактом генератора режима ожидания и корректировки оцененного времени активизации на основе данного начального сдвига и определения длительности конечного сдвига между последним подсчитанным тактом генератора режима ожидания и концом периода ожидания и корректировки оцененного времени активизации на основе длительности конечного сдвига.

15. Способ по п.14, отличающийся тем, что дополнительно включает этап компенсации ошибки в оцененном времени активизации, обусловленной дрейфом частоты тактового генератора режима ожидания.

16. Способ по п.14, отличающийся тем, что этап оценки времени активизации включает в себя сохранение заданного числа тактов, приходящихся на один период ожидания, для тактового генератора, работающего с некоторой предназначенной для режима ожидания частотой; подсчет числа тактов генератора режима ожидания, прошедших за период ожидания; индикацию момента, когда подсчитанное число тактов совпадет с ожидаемым числом тактов.

17. Способ по п.15, отличающийся тем, что этап компенсации ошибок в оцененном времени активизации, обусловленных дрейфом частоты тактового генератора режима ожидания, включает в себя этапы вычисления дрейфа частоты, имеющего место в тактовом генераторе режима ожидания в течение одного периода ожидания, вычисления ожидаемой ошибки определения времени между действительной длительностью периода ожидания и длительностью периода ожидания, полученной с помощью тактового генератора режима ожидания, подверженного оцененному дрейфу частоты, и корректировку времени активизации тактового генератора активного режима на основе ожидаемой ошибки синхронизации.

18. Способ по п.17, отличающийся тем, что этап корректировки времени активизации включает в себя этапы запуска тактового генератора переходного режима в момент времени, предшествующий оцененному времени, активизации, причем частота упомянутого тактового генератора переходного режима существенно больше частоты тактового генератора режима ожидания; подсчета числа тактов сигнала генератора переходного режима за интервал между моментом запуска тактового генератора переходного режима и ожидаемым моментом завершения периода ожидания; подсчета числа тактов сигнала генератора переходного режима, приходящихся на ожидаемую ошибку синхронизации; вычисления суммы числа тактов за интервал между моментом запуска тактового генератора переходного режима и ожидаемым моментом завершения периода ожидания и числа тактов, приходящихся на ожидаемую ошибку синхронизации для получения суммарного числа тактов; подсчета числа тактов генератора переходного режима; задержки запуска тактового генератора активного режима после запуска тактового генератора переходного режима до тех пор, пока не истечет указанное суммарное число тактов генератора переходного режима.

19. Способ по п.14, отличающийся тем, что этап компенсации ошибок в оцененном времени активизации, обусловленных начальным сдвигом, включает в себя формирование тактового сигнала переходного режима с частотой, существенно большей частоты тактового сигнала режима ожидания; подсчет числа тактов генератора переходного режима, прошедших от начала периода ожидания до появления следующего переднего фронта сигнала тактового генератора режима ожидания; сохранение подсчитанного числа тактов и выключение тактового генератора переходного режима; причем этап запуска тактового генератора активного режима включает в себя этапы повторного запуска тактового генератора переходного режима в момент времени, предшествующий оцененному времени активизации, и задержки запуска тактового генератора активного режима до тех пор, пока не истечет упомянутое подсчитанное число тактов генератора переходного режима.

20. Способ по п.14, отличающийся тем, что мобильная станция функционирует в системе мобильной связи, использующей режим поисковых вызовов с сегментированием, причем длительность периода ожидания по существу равна интервалу времени между двумя последовательными временными интервалами поискового вызова, так что момент запуска тактового генератора активного режима по существу синхронизирован со следующим временным интервалом поискового вызова.


РИСУНКИ


MM4A Досрочное прекращение действия патента из-за неуплаты в установленный срок пошлины за
поддержание патента в силе

Дата прекращения действия патента: 04.11.2011

Дата публикации: 27.08.2012


Categories: BD_2255000-2255999