|
|
(21), (22) Заявка: 2004100106/09, 05.07.2002
(24) Дата начала отсчета срока действия патента:
05.07.2002
(30) Конвенционный приоритет:
05.07.2001 (пп.1-39) KR 2001/39913
(45) Опубликовано: 27.06.2005
(56) Список документов, цитированных в отчете о поиске:
WO 0072549 A1, 30.11.2000. RU 2128406 C1, 27.03.1999. RU 2121761 C1, 10.11.1998. US 5953322 A1, 14.09.1999. US 6172986 А1, 09.01.2001. ЕР 1032178 А1, 30.08.2000.
(85) Дата перевода заявки PCT на национальную фазу:
05.01.2004
(86) Заявка PCT:
KR 02/01278 (05.07.2002)
(87) Публикация PCT:
WO 03/005657 (16.01.2003)
Адрес для переписки:
129010, Москва, ул. Б. Спасская, 25, стр.3, ООО “Юридическая фирма Городисский и Партнеры”, пат.пов. Ю.Д.Кузнецову, рег.№ 595
|
(72) Автор(ы):
ЧОЙ Дзае-Ам (KR), КИМ Дзонг-Ох (KR)
(73) Патентообладатель(и):
САМСУНГ ЭЛЕКТРОНИКС КО., ЛТД (KR)
|
(54) УСТРОЙСТВО И СПОСОБ ПЕРЕДАЧИ ГОЛОСОВОГО КАДРА В СИСТЕМЕ МОБИЛЬНОЙ СВЯЗИ, ИМЕЮЩЕЙ СЕТЬ ALL-IP
(57) Реферат:
Изобретение относится к устройству и способу передачи голосовых кадров/кадров данных в системе мобильной связи, поддерживающей сеть ALL-IP. Техническим результатом является создание способа и устройства для предотвращения избыточного добавления заголовком к трафикам в линии мобильной связи. Технический результат достигается тем, что мобильный телефон посылает информацию заголовков, используя кадр синхронизации, а затем отдельно передает только голосовой кадр, узел В обнаруживает информацию заголовков в принятом кадре синхронизации, запоминает обнаруженную информацию заголовков и после приема голосового кадра добавляет информацию заголовков к голосовому кадру и передает голосовой кадр с добавленными заголовками в базовую сеть. 14 н. и 25 з.п. ф-лы., 7 ил., 2 табл.

Настоящее изобретение относится в целом к устройству и способу для передачи голосовых кадров/кадров данных в системе мобильной связи, поддерживающей сеть ALL-IP, которая передает как пакеты данных, так и канальные данные, используя Интернет-протокол (IP), и, в частности, к устройству и способу для устранения заголовка из кадра передачи голоса/данных на основе ALL-IP.
Сеть IMT-2000 (Международная мобильная электросвязь-2000) поддерживает как пакетную сеть, так и сеть с коммутацией каналов. В последнее время для повышения эффективности пакетной передачи в сети IMT-2000, поддерживающей как пакетную сеть, так и сеть с коммутацией каналов, были предприняты попытки интегрировать эти сети в сеть (IP), называемую “сеть ALL-IP”. Эта интеграция существующих сетей в сеть ALL-IP проведена будущей организацией по стандартизации мобильной связи, включающей в себя 3GPP (Проект сотрудничества 3-го поколения) и организацию по стандартизации UMTS (Универсальная система мобильной электросвязи). Сеть ALL-IP имеет сетевую структуру данных открытого типа, так что она может эффективно вводить различные услуги, которые станут доступными в будущем, особенно услуги на основе протокола IP. Вдобавок, сеть ALL-IP, как можно заключить из термина, имеет функцию передачи канальных данных, то есть голоса посредством пакетирования. Таким образом, при передаче голоса сеть ALL-IP преобразует голос в голосовые данные и передает преобразованные голосовые данные в кадровом блоке (далее называемом “голосовой кадр”). Голосовой кадр включает в себя заголовок IP, с тем чтобы голосовые данные можно было правильно передать в сеть IP.
На фиг.1 показана структура системы UMTS, имеющей сеть IP. Обратимся к фиг.1, где система UMTS состоит из узла В (111-2), контроллера 120 радиосети (RNC), управляющего узлом В, косети (CN) 140, обслуживающего узла 130 (SGSN) поддержки общей услуги пакетной передачи данных по радиоканалу (GPRS), шлюзового узла 150 поддержки GPRS (GGSN), причем мобильный терминал (MT) 101 подсоединен к сети IP 160 через узел В 111-2, контроллер радиосети (RNC) 120, обслуживающий узел 130 (SGSN) поддержки общей услуги пакетной передачи данных по радиоканалу (GPRS) и шлюзовый узел 150 (GGSN) поддержки GPRS. Здесь мобильный терминал 101 может включать в себя мобильный телефон или персональный компьютер (PC), подсоединенный к мобильному телефону. Во время передачи голоса и данных мобильный терминал 101 формирует голосовые пакеты и пакеты данных в соответствии с протоколом Интернет (IP), а затем передает пакетированные голос и данные в сеть IP 160 через вышеупомянутые элементы.
Мобильный терминал 101 преобразует голос, введенный пользователем, в голосовые данные и формирует голосовой кадр, используя преобразованные голосовые данные. Мобильный терминал 101 создает кадр передачи путем добавления заголовков к голосовому кадру и передает созданный кадр передачи в узел В 111. Структура и работа мобильного терминала 101 и узла В 111 будет подробно описана со ссылками на фиг.2.
Обратимся к фиг.2, где генератор 203 голосовых кадров преобразует голос, введенный пользователем, в голосовые данные и формирует голосовые кадры, используя преобразованные голосовые данные. Генератор 201 сигнализации принимает информацию по адресу IP или телефонному номеру, введенному пользователем, и обеспечивает протокольный стек 205 сигналом создания заголовка на основе принятой информации. Протокольный стек 205 в ответ на сигнал создания заголовка создает информацию заголовков согласно протоколу реального времени (RTP), протоколу дейтаграмм пользователя (UDP) и протоколу Интернет (IP). Заголовки, созданные протокольным стеком 205, добавляются к началу голосового кадра, сформированного генератором 203 голосовых кадров, а затем передаются на узел В 111 через канал, выделенный физическим уровнем 207. Ссылочная позиция 221 представляет голосовой кадр, созданный генератором 203 голосовых кадров, а ссылочная позиция 223 представляет голосовой кадр, к которому на уровне RTP добавляется заголовок ‘b’ RTP. Далее, ссылочная позиция 225 представляет голосовой кадр с добавленным заголовком RTP, выдаваемый из уровня RTP, к которому на уровне UDP добавляется заголовок ‘c’ UDP, а ссылочная позиция 227 представляет голосовой кадр с добавленными заголовками RTP/UDP, выдаваемый из уровня UDP, к которому на уровне IP добавляется заголовок ‘d’ IP. Представленный под ссылочной позицией 227 кадр передачи сформирован путем добавления заголовка ‘b’ RTP, заголовка ‘c’ UDP и заголовка ‘d’ IP к голосовому кадру, а кадр передачи передается в узел В 111 через физический уровень 207.
Узел В 111 принимает кадр передачи, переданный мобильным терминалом 101 через физический уровень 211. Процессор 213 кадров обнаруживает (выделяет) заголовки из кадра передачи, полученного через физический уровень 211, и обрабатывает голосовой кадр в соответствии с обнаруженной информацией заголовков.
Например, существующий адаптивный многоскоростной (AMR) кодек (UMTS) вставляет в 30-байтовый голосовой кадр 40-байтовый заголовок для передачи кадра передачи в сети ALL-IP. На фиг.3 показана структура кадра передачи. Например, если голосовой кадр, обработанный кодеком AMR, содержит 15-32 байта, то тогда к началу голосового кадра добавляется заголовок общим размером 40 байт, в том числе 12-байтовый заголовок RTP, 8-байтовый заголовок UDP и 20-байтовый заголовок IP. Кроме того, к голосовому кадру можно, хотя и необязательно, добавить дополнительный заголовок. В результате действительный размер голосового кадра в числе кадров передачи, передаваемых по радиоканалу, составит менее 50% от всего трафика.
Как было описано выше, в системе мобильной связи, использующей сеть ALL-IP, во время передачи данных размер заголовка превышает количество байтов действительных голосовых данных, что приводит к непроизводительному расходованию ресурсов радиосвязи.
Таким образом, задачей настоящего изобретения является создание устройства и способа для предотвращения избыточного добавления заголовков к трафикам в линии радиосвязи между мобильным терминалом и узлом В в системе мобильной связи, использующей сеть протокола IP.
Другой задачей настоящего изобретения является создание устройства и способа для добавления информации заголовков к голосовому кадру/кадру данных, принятому от мобильного терминала, перед передачей в базовую сеть и устранения информации заголовков из кадра передачи, принятого из базовой сети, перед передачей на мобильный терминал узлом В в системе мобильной связи, использующей сеть IP.
Еще одной задачей настоящего изобретения является создание устройства и способа для разделения информации заголовков и голосового кадра перед передачей мобильным терминалом в системе мобильной связи, использующей сеть IP.
Следующей задачей настоящего изобретения является создание устройства и способа для запоминания принятой информации заголовков и, после приема голосового кадра, соответствующего информации заголовков, добавления информации заголовков к принятому голосовому кадру и передачи его в базовую сеть узлом В в системе мобильной связи, использующей сеть IP, которая включает в себя мобильный терминал для выделения информации заголовков и голосового кадра и передачи их по разным каналам.
Другой задачей настоящего изобретения является создание устройства и способа для применения в системе мобильной связи, использующей сеть IP, где мобильный терминал выделяет информацию заголовков и голосовой кадр и передает их по разным каналам и где узел В запоминает информацию заголовков, принятую по соответствующему каналу, принимает голосовой кадр по другому каналу и добавляет заголовок к голосовому кадру перед передачей в базовую сеть.
Еще одной задачей настоящего изобретения является создание устройства и способа для устранения информации заголовков из кадра передачи, принятого из базовой сети, и передачи из узла В на мобильный терминал только голосового кадра.
Согласно первому аспекту настоящего изобретения предлагается передающее устройство для передачи кадра сигнализации и голосового кадра на приемное устройство в системе мобильной связи CDMA, имеющей сеть ALL-IP. Передающее устройство содержит передатчик кадров сигнализации для передачи информации заголовков, которая необходима для передачи голосового кадра адресату, на приемное устройство посредством кадра сигнализации во время установки вызова при запросе пользователя с попыткой вызова; и передатчик голосовых кадров для построения голосового кадра с использованием только голосовых данных, подлежащих передаче, после завершения установки вызова и передачи голосового кадра на приемное устройство.
Согласно второму аспекту настоящего изобретения предлагается способ для передачи кадра сигнализации и голосового кадра на приемное устройство в системе мобильной связи CDMA, имеющей сеть ALL-IP. Способ содержит передачу информации заголовков, которая необходима для передачи голосового кадра адресату, на приемное устройство посредством кадра сигнализации во время установки вызова при запросе пользователя с попыткой вызова; и построение голосового кадра с использованием только голосовых данных, подлежащих передаче, после завершения установки вызова, и передачу голосового кадра на приемное устройство.
Согласно третьему аспекту настоящего изобретения предлагается способ для приема кадра сигнализации и голосового кадра по меньшей мере от одного передающего устройства через первый и второй физический канал в системе мобильной связи CDMA, имеющей сеть ALL-IP. Способ содержит следующие шаги: после приема запроса на установку вызова – получение информации заголовков, необходимой для передачи голосового кадра адресату, из кадра сигнализации, принятого через первый физический канал, и запоминание полученной информации заголовков в соединении с кодом, используемым для передающего устройства; после завершения установки вызова – выделение кода, используемого для голосового кадра, принятого через второй физический канал, и обнаружение информации заголовков, соответствующей выделенному коду, из информации заголовков, запомненной в соединении с кодом; и добавление обнаруженной информации заголовков к голосовому кадру и передачу голосового кадра с добавленными заголовками адресату.
Согласно четвертому аспекту настоящего изобретения предлагается устройство для приема кадра сигнализации и голосового кадра по меньшей мере от одного передающего устройства через первый и второй физические каналы в системе мобильной связи CDMA, имеющей сеть ALL-IP. Устройство содержит: протокольный стек для получения информации заголовков после приема запроса на установку вызова, необходимой для передачи голосового кадра адресату, из кадра сигнализации, принятого через первый физический канал; хранилище информации заголовков для запоминания полученной информации заголовков в соединении с кодом, используемым для передающего устройства; и контроллер кадров для обнаружения, после завершения установки вызова, информации заголовков, соответствующей коду, используемому для голосового кадра, принятого через второй физический канал, добавления обнаруженной информации заголовков к голосовому кадру и передачи голосового кадра с добавленными заголовками адресату.
Согласно пятому аспекту настоящего изобретения предлагается способ для передачи кадра в системе мобильной связи CDMA, имеющей сеть ALL-IP. Способ содержит: передачу информации заголовков, необходимой для передачи голосового кадра адресату, посредством кадра сигнализации, построение голосового кадра с использованием только голосовых данных и передачу построенного речевого кадра; и получение информации заголовков из кадра сигнализации, запоминание полученной информации заголовков и, после приема голосового кадра, добавление запомненной информации заголовков к голосовому кадру и передачу голосового кадра с добавленными заголовками в базовую сеть.
Согласно шестому аспекту настоящего изобретения предлагается устройство для передачи кадра в системе мобильной связи CDMA, имеющей сеть ALL-IP. Устройство содержит мобильный терминал для передачи информации заголовков, необходимой для передачи голосового кадра адресату, посредством кадра сигнализации, построения голосового кадра с использованием только голосовых данных и передачи построенного речевого кадра; и узел В для получения информации заголовков из кадра сигнализации, запоминание полученной информации заголовков и, после приема голосового кадра, добавление запомненной информации заголовков к голосовому кадру и передачи голосового кадра с добавленными заголовками в базовую сеть.
Согласно седьмому аспекту настоящего изобретения предлагается способ для передачи кадра передачи, принятого из базовой сети, из узла В на мобильный терминал в системе мобильной связи CDMA, имеющей сеть ALL-IP, и передачи кадра сигнализации и голосового кадра на мобильный терминал через первый и второй физические каналы. Способ содержит определение типа кадра передачи, принятого из базовой сети; передачу кадра передачи с информацией заголовков на мобильный терминал через первый физический канал, если кадр передачи является кадром сигнализации; и устранение информации заголовков из кадра передачи, если кадр передачи является голосовым кадром, и передачу кадра передачи с устраненными заголовками на мобильный терминал через второй физический канал.
Согласно восьмому аспекту настоящего изобретения предлагается устройство для передачи кадра передачи, принятого из базовой сети, из узла В на мобильный терминал в системе мобильной связи CDMA, имеющей сеть ALL-IP, и передачи кадра сигнализации и голосового кадра на мобильный терминал через первый и второй физические каналы. Устройство содержит хранилище информации заголовков для запоминания информации в соединении с кодом для идентификации мобильного терминала; протокольный стек для выделения информации о заголовке из кадра передачи, принятого от базовой сети; и контроллер кадров для передачи кадра передачи с информацией заголовков на мобильный терминал через первый физический канал, если кадр передачи является кадром сигнализации; и устранения информации заголовков из кадра передачи и передачи кадра передачи с устраненными заголовками на мобильный терминал через второй физический канал, если кадр передачи является голосовым кадром.
Вышеописанные и другие аспекты, признаки и преимущества настоящего изобретения станут очевидными из последующего подробного описания вместе со ссылками на сопроводительные чертежи, на которых:
фиг.1 – структура обычной системы мобильной связи, поддерживающей сеть ALL-IP;
фиг.2 – схематическая структура мобильного терминала и узла В для передачи кадра передачи, включающего в себя голосовой кадр, в обычной системе мобильной связи, поддерживающей сеть ALL-IP;
фиг.3 – структура кадра передачи, которым обмениваются мобильный терминал и узел В в обычной системе мобильной связи, поддерживающей сеть ALL-IP;
фиг.4 – структура мобильного терминала и узла В для передачи голосового кадра в системе мобильной связи, поддерживающей сеть ALL-IP, согласно варианту настоящего изобретения;
фиг.5 – процедура передачи голосового кадра мобильным терминалом в системе мобильной связи, поддерживающей сеть ALL-IP, согласно варианту настоящего изобретения;
фиг.6 – процедура приема голосового кадра мобильным терминалом в системе мобильной связи, поддерживающей сеть ALL-IP, согласно варианту настоящего изобретения; и
фиг.7 – процедура обработки голосового кадра узлом В в системе мобильной связи, поддерживающей сеть ALL-IP, согласно варианту настоящего изобретения.
Далее со ссылками на сопроводительные чертежи описывается предпочтительный вариант осуществления настоящего изобретения. В последующем описании хорошо известные функции и конструкции подробно не описываются, чтобы не затемнять существо изобретения ненужными подробностями.
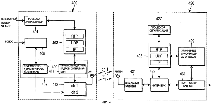
На фиг.4 показана структура мобильного терминала и узла В согласно варианту настоящего изобретения. Способ передачи голосового кадра будет описан со ссылками на фиг.4.
На фиг.4 ссылочная позиция 400 указывает мобильный терминал, а ссылочная позиция 420 указывает узел В. Мобильный терминал 400 включает в себя: процессор 401 сигнализации для приема телефонного номера или IP-адреса, введенного пользователем, и выдачи команды создания заголовков для создания соответствующей информации заголовков; протокольный стек 403 для создания информации заголовков в ответ на команду создания заголовков; кодек 405 для преобразования голоса, введенного пользователем, в голосовые данные и выдачи голосового кадра определенной длины и физический уровень 413 для передачи голосового кадра через первый канал Ch1 и информации заголовков через второй канал Ch2. Предпочтительно, чтобы первый канал Ch1 был каналом трафика, а второй канал Ch2 был каналом управления.
Далее, узел В 420 включает в себя: канальный элемент 421 для обработки сигналов, передаваемых/принимаемых на/от множества мобильных терминалов, таких как мобильный терминал 400, и интерфейс 423 для сопряжения сигналов, передаваемых/принимаемых через канальный элемент 421 с внутренними элементами; контроллер 431 кадров для управления кадрами, передаваемыми/принимаемыми через интерфейс 423; протокольный стек для создания информации заголовков для голосового кадра, подлежащего передаче/приему через интерфейс 423 и канальный элемент 421; процессор 427 сигнализации для организации процесса сигнализации для создания информации заголовков под управлением контроллера 431 кадров; хранилище 429 информации заголовков для запоминания информации заголовков, принятой от мобильных терминалов, таких как мобильный терминал 400, связанной с мобильными терминалами. Кадр для передачи информации заголовков от мобильного терминала 400 на узел В 420 называется “кадр сигнализации”. Узел В 420 может использовать коды восходящей линии связи с целью идентификации информации заголовков для мобильных терминалов. То есть узел В 420 выявляет уникальные коды для подсоединенных к нему мобильных терминалов и запоминает выявленные коды. Далее узел В 420 обнаруживает информацию заголовков, принятую от мобильных терминалов, и запоминает обнаруженную информацию заголовков вместе с уникальными кодами мобильных терминалов, которые передали информацию заголовков. Эта взаимосвязь показана в таблице 1.

Далее, для того чтобы идентифицировать информацию заголовков оборудования пользователей (UE), или мобильных терминалов, узел В 420 может факультативно использовать идентификатор UE ID. Такой UE ID включает в себя: TMSI (временную идентификацию мобильного абонента), используемую для временного присваивания идентификаторов ID терминалам UE; IMEI (международную идентификацию мобильного оборудования), используемую для идентификации международных абонентов; IMSI (международную идентификацию мобильных абонентов); PMSI (пакетный идентификатор мобильного абонента) и CEI (индекс канального элемента).
Сообщение с сигнализацией, переданное от мобильного терминала 400 на узел В 420 через канал управления, может представлять собой исходное сообщение, структура которого показана в таблице 2.
| Таблица 2 |
| Исходное сообщение |
| Тип |
Код |
Длина расширения |
Версия |
| адрес IP источника |
| адрес IP адресата |
В таблице 2 исходное сообщение согласно настоящему изобретению дополнительно определяет поле расширения для переноса информации заголовков в общем исходном сообщении. Поле расширения, то есть поля за исключением поля исходного сообщения, содержит поле типа, указывающее один из типов RTP, UDP и IP заголовков, и флаг для дополнительной функции. Например, флаг для дополнительной функции содержит: поле кода, указывающее время принятия решения в кэше относительно присваиваний для узла В, поле длины расширения, указывающее длину добавленного поля расширения; поле версии, указывающее информацию о версии (например, версия 4 (IPv4) и версия 6 (IPv6)) используемого протокола IP; поле адреса IP источника, указывающее адрес IP мобильного терминала-источника сообщения, и поле адреса IP для адресата, указывающее адрес IP мобильного терминала-адресата.
В описании изобретения отдельно описывается случай, когда мобильный терминал 400 передает голосовой кадр, и другой случай, когда голосовой кадр передается узлом В 420.
В первом случае после приема от пользователя запроса с попыткой вызова мобильный терминал 400 формирует телефонный номер или адрес IP, введенный пользователем, и подает сформированный телефонный номер или адрес IP в процессор 401 сигнализации. Процессор 401 сигнализации принимает телефонный номер или адрес IP и обеспечивает протокольный стек 403 командой создания заголовков на основе принятого телефонного номера или адреса IP. Протокольный стек 403 создает заголовок RTP, заголовок UDP и заголовок IP в ответ на команду создания заголовков и подает их в приемопередатчик 411 кадров сигнализации в обработчике 407 кадров. Приемопередатчик 411 кадров подает созданную информацию заголовков на физический уровень 413. Физический уровень 413 переносит информацию заголовков в кадре сигнализации, расширяет кадр сигнализации идентификационным кодом пользователя, модулирует расширенный кадр сигнализации, формируя радиосигнал, и передает радиосигнал на узел В 420 через второй канал Ch2.
После передачи кадра сигнализации, несущего информацию заголовков, мобильный терминал 400 принимает голос пользователя через речевой тракт, сформированный посредством согласования вызова с узлом В 420. Затем кодек 405 кодирует принятый голос пользователя, превращая его в голосовые данные, и подает голосовые данные в приемопередатчик 409 голосовых кадров. Приемопередатчик 409 голосовых кадров принимает голосовые данные и подает принятые голосовые данные на физический уровень 413 в голосовом кадровом блоке. Физический уровень 413 модулирует голосовой кадр, превращая его в радиосигнал, и передает радиосигнал на узел В 420 через первый канал Ch1.
Узел В 420 принимает кадр сигнализации, переданный мобильным терминалом 400 из второго канала Ch2, через антенну ANT. Кадр сигнализации, принятый через антенну ANT, подается в канальный элемент 421. Канальный элемент 421 обнаруживает код терминала в принятом кадре сигнализации и подает обнаруженный код терминала в контроллер 431 кадров через интерфейс 423. Далее канальный элемент 421 демодулирует кадр сигнализации, принятый в виде радиосигнала, и подает демодулированный кадр синхронизации в протокольный стек 425 через интерфейс 423. Контроллер 431 кадров принимает уникальный код для данного мобильного терминала, выданный канальным элементом 421, и предоставляет процессору 427 сигнализации возможность управления операцией обработки кадра сигнализации. Процессор 427 сигнализации под управлением контроллера 431 кадров обнаруживает заголовки в принятом кадре сигнализации и подает обнаруженные заголовки в хранилище 429 информации заголовков.
После запоминания заголовков от мобильного терминала в хранилище 429 информации заголовков контроллер 431 кадров обнаруживает идентифицирующий код терминала для голосового кадра, принятого через канальный элемент 421, и осуществляет поиск в хранилище 429 информации заголовков в соответствии с обнаруженным кодом. После обнаружения информации заголовков контроллер 431 кадров добавляет обнаруженную информацию заголовков к голосовому кадру и передает его выше в базовую сеть.
Действуя таким образом, можно через канал передачи голоса передавать только чистый голосовой кадр, то есть первый канал Ch1, по линии радиосвязи между мобильным терминалом 400 и узлом В 420.
В последнем случае узел В 420 принимает из базовой сети кадр передачи на основе IP. Принятый кадр передачи содержит голосовой кадр и заголовок, добавленный к голосовому кадру. Узел В 420 выделяет заголовок и голосовой кадр из кадра передачи, принятого из базовой сети, и осуществляет поиск в хранилище 429 информации заголовков кода, соответствующего информации заголовков. После обнаружения соответствующего кода узел В 420 передает голосовой кадр, соответствующий обнаруженному коду, через первый канал Ch1, выделенный мобильному терминалу 400. Здесь нет необходимости передавать выделенный заголовок. Однако, когда необходимо указать информацию об источнике (или вызывающей стороне), узел В 420 может переносить заголовок в кадре сигнализации и передавать кадр сигнализации через второй канал Ch2 перед передачей голосового кадра во время начальной установки вызова адресата. Конкретно, после приема кадра передачи, содержащего заголовок и голосовой кадр из базовой сети, контроллер 431 кадров узла В 420 определяет, хранится ли в хранилище 429 информации заголовков информация по заголовкам для мобильного терминала 400, который передал данный кадр передачи. Если в хранилище 429 информации заголовков хранится информация заголовков для мобильного терминала 400, то контроллер 431 кадров подает кадр передачи в протокольный стек 425 через интерфейс 423 и выполняет управление процессором 427 сигнализации для выделения заголовка и кадра из кадра передачи посредством протокольного стека 425. Выделенный заголовок используют только для идентификации терминала-адресата, а голосовой кадр передают на мобильный терминал 400 через канальный элемент 421, присвоенный первому каналу Ch1.
Мобильный терминал 400 принимает голосовой кадр, переданный узлом В 420 через физический уровень 413 для первого канала Ch1. Принятый голосовой кадр преобразуется в голос посредством приемопередатчика 409 голосовых кадров и кодека 405.
На фиг.5 показана процедура для передачи голосового кадра при возникновении вызова от мобильного терминала в системе мобильной связи, поддерживающей сеть ALL-IP, согласно варианту настоящего изобретения. Способ передачи голосовых кадров мобильным терминалом подробно описывается далее со ссылками на фиг.5.
Обратимся к фиг.5, где мобильный терминал 400 на шаге 501 определяет, принят ли от пользователя запрос с попыткой вызова. После приема от пользователя запроса с попыткой вызова мобильный терминал 400 на шаге 503 создает заголовок в процессоре 401 сигнализации и протокольном стеке 403 в ответ на телефонный номер или адрес IP, введенный пользователем. После создания заголовка на шаге 503 мобильный терминал 400 на шаге 505 переносит созданный заголовок в кадре сигнализации, а затем переходит к шагу 507, где приемопередатчик 411 кадров сигнализации расширяет кадр сигнализации заголовком, используя идентификационный код терминала, и передает расширенный кадр сигнализации на узел В 420 через второй канал Ch2 физического уровня 413. На шаге 509 мобильный терминал 400 устанавливает существующий канал или отдельный канал только для голоса с целью передачи исключительно голосовых данных, и после приема голоса от пользователя мобильный терминал 400 переходит к шагу 511, где кодек 405 мобильного терминала 400 преобразует принятый голос в голосовые данные и передает преобразованные голосовые данные на приемопередатчик 409 голосовых кадров, а приемопередатчик 409 голосовых кадров формирует голосовой кадр заданной длины, используя принятые голосовые данные. Голосовой кадр подается на физический уровень 413, где он расширяется идентификационным кодом терминала, а затем передается на узел В через существующий канал или первый канал Ch1, то есть отдельный канал только для голоса. Однако если голос не принимается, то мобильный терминал 400 возвращается к шагу 503 и повторно выполняет операцию шага 503 и последующие шаги с установленными интервалами.
На фиг.6 показана процедура для приема голосового кадра мобильным терминалом в системе мобильной связи, поддерживающей сеть ALL-IP, согласно варианту настоящего изобретения. Способ приема голосовых кадров мобильным терминалом описывается более подробно далее со ссылками на фиг.6.
Обратимся к фиг.6, где мобильный терминал 400 на шаге 601 периодически проверяет, принят ли вызов назначения (или входящий вызов). После приема вызова назначения мобильный терминал 400 на шаге 603 определяет, принят ли кадр. После приема кадра мобильный терминал 400 на шаге 605 определяет, является ли принятый кадр кадром сигнализации или голосовым кадром. Если принятый кадр является голосовым кадром, то мобильный терминал 400 переходит к шагу 609. В противном случае, если принятый кадр является кадром сигнализации, то мобильный терминал 400 переходит к кадру 607. Здесь кадр сигнализации является общим кадром сигнализации, и, когда необходимо принять информацию об источнике (или информацию о вызывающей стороне), мобильный терминал 400 может принять информацию сигнализации согласно настоящему изобретению. На шаге 609 мобильный терминал 400 демодулирует голосовой кадр, превращая его в голос. На шаге 607 мобильный терминал 400 создает предупреждение, указывающее на прием вызова назначения, на основе кадра сигнализации, и, когда кадр сигнализации идентичен кадру сигнализации согласно настоящему изобретению, мобильный терминал 400 обнаруживает заголовок в кадре сигнализации, анализирует обнаруженный заголовок, а затем выдает проанализированную информацию по заголовку. Проанализированная информация заголовка отображается на устройстве отображения мобильного терминала 400, чтобы проинформировать пользователя об информации о вызывающей стороне. После выполнения шагов 607 и 609 мобильный терминал 400 на шаге 611 определяет, закончился ли вызов. Если вызов не закончился, мобильный терминал 400 возвращается к шагу 603.
На фиг.7 показана процедура для обработки голосового кадра узлом В в системе мобильной связи, поддерживающей сеть ALL-IP, согласно варианту настоящего изобретения. Способ обработки голосовых кадров узлом В описывается более подробно далее со ссылками на фиг.7.
Обратимся к фиг.7, где узел В 420 на шаге 701 определяет, принят ли кадр от мобильного терминала 400 через канальный элемент 421. После приема кадра через канальный элемент 421 узел В 420 на шаге 703 определяет, является ли принятый кадр голосовым кадром или кадром сигнализации. Если принятый кадр является кадром сигнализации, то узел В 420 переходит к шагу 721, где он обнаруживает информацию заголовков, включенную в кадр сигнализации. После этого узел В 420 на шаге 723 определяет, имеется ли в хранилище 429 информации заголовков тот же самый код, что и код для идентификации мобильного терминала 400, который передал информацию заголовков. Если там для мобильного терминала имеется та же информация заголовков, то узел В 420 переходит к шагу 725. В противном случае, если в таблице хранилища 429 информации заголовков такая информация заголовков не существует, то узел В переходит к шагу 727, где он запоминает обнаруженную информацию заголовков в хранилище 429 информации заголовков вместе с уникальным кодом для данного мобильного терминала. Однако, когда в указанной таблице имеется информация заголовков для данного мобильного терминала, нет необходимости запоминать обнаруженную информацию заголовков, так что узел В 420 выполняет на шаге 725 операцию сигнализации. То есть узел В 420 переносит информацию заголовков для мобильного терминала, запомненную в хранилище 429 информации заголовков, в кадре сигнализации, а затем на шаге 729 передает кадр сигнализации в базовую сеть.
Описание изобретения выполнено для случая, когда сообщение сигнализации принято от мобильного терминала 400. Однако, когда предполагается сформировать вызов на определенный мобильный терминал, узел В 420 принимает сообщение сигнализации из базовой сети и передает принятое сообщение сигнализации на указанный терминал. Эта операция выполняется известным способом, так что ее описание для простоты не предусмотрено. Однако, что касается мобильного терминала, запрашивающего информацию о вызывающей стороне, то узел В 420 может передать сообщение сигнализации согласно настоящему изобретению, то есть кадр сигнализации с информацией заголовков на мобильный терминал.
Если на шаге 703 определено, что принятый кадр является голосовым кадром, то узел В 420 на шаге 705 определяет, принят ли этот голосовой кадр от мобильного терминала 400 либо из базовой сети. В результате такого определения, если голосовой кадр принят от мобильного терминала 400, то узел В 420 переходит к шагу 707, а если голосовой кадр принят из базовой сети, то узел В 420 переходит к шагу 715. На шаге 707 узел В 420 осуществляет поиск в таблице хранилища 429 информации заголовков, чтобы определить, существует ли информация заголовков для данного мобильного терминала 400. Если информация заголовков не существует в хранилище 429 информации заголовков, то узел В 420 на шаге 713 выполняет обработку ошибки. В противном случае, если в хранилище 429 информации заголовков существует соответствующая информация заголовков, то узел В 420 переходит к шагу 709, где он создает заголовок на базе запомненной информации заголовков и выполняет операции протоколов RTP, UDP и IP. После этого на шаге 711 узел В добавляет заголовки к голосовому кадру, а затем передает голосовой кадр с добавленными заголовками в базовую сеть.
Однако, если на шаге 705 определено, что голосовой кадр принят из базовой сети, то узел В 420 на шаге 715 определяет, существует ли в таблице хранилища 429 информации заголовков информация заголовков для того мобильного терминала, который будет принимать голосовой кадр. Если в хранилище 429 информации заголовков не существует информации заголовков для этого мобильного терминала, то узел В 420 переходит к шагу 713, где он выполняет обработку ошибки. В противном случае, если информация заголовков существует, то узел В 420 переходит к шагу 717, где он выполняет протокольную операцию и удаляет заголовок из кадра передачи, содержащего заголовки и голосовой кадр. После этого на шаге 719 узел В 420 передает голосовой кадр с удаленным заголовком на мобильный терминал 400 через первый канал Ch1. Хотя настоящее изобретение использовано для голосового кадра, его можно также использовать для кадра данных.
Устройство и способ согласно настоящему изобретению могут предотвратить избыточное добавление заголовков к голосовому трафику/трафику данных, возникающее в зоне радиосвязи между мобильным терминалом и узлом В в системе мобильной связи, поддерживающей сеть ALL-IP. Вдобавок, в устройстве и способе можно эффективно использовать одну и ту же полосу радиочастот в различных радиосетях, а также системе мобильной связи 3-го поколения.
Хотя изобретение было продемонстрировано и описано со ссылками на конкретный предпочтительный вариант его осуществления, специалистам в данной области техники очевидно, что в него могут быть внесены различные изменения по форме и в деталях, не выходящие за рамки существа и объема изобретения, определенных в прилагаемой формуле изобретения.
Формула изобретения
1. Устройство для передачи кадра сигнализации и голосового кадра на приемное устройство в системе мобильной связи CDMA (множественный доступ с кодовым разделением каналов), имеющей сеть ALL-IP (протокол Интернет), содержащее передатчик кадров сигнализации для передачи информации заголовков, необходимой для передачи адресату голосового кадра, на приемное устройство посредством кадра сигнализации во время установки вызова на запрос пользователя с попыткой вызова и передатчик голосовых кадров для построения голосового кадра, где используются только голосовые данные, подлежащие передаче, после завершения установки вызова и передачи голосового кадра на приемное устройство.
2. Устройство по п.1, в котором передатчик кадров сигнализации содержит процессор сигнализации для выдачи команды создания заголовка во время установки вызова, протокольный стек для создания информации заголовков, соответствующей идентификатору (ID) адресата, введенному пользователем в ответ на команду создания заголовка, и передатчик для передачи информации заголовков на приемное устройство посредством кадра сигнализации.
3. Устройство по п.2, в котором ID адресата включает в себя, по меньшей мере, одно из следующего: телефонный номер и адрес IP.
4. Устройство по п.3, в котором информация заголовков включает в себя, по меньшей мере, одну из следующих: информацию заголовка RTP (протокол реального времени), информацию заголовка UDP (протокол дейтаграмм пользователя) и информацию заголовка IP.
5. Устройство по п.1, в котором передатчик голосовых кадров содержит кодек для преобразования голосовых сигналов, подлежащих передаче, в голосовые данные после завершения установки вызова и передатчик для построения голосового кадра, где используются только голосовые данные, и передачи построенного голосового кадра на приемное устройство.
6. Устройство по п.2, в котором кадр сигнализации и голосовой кадр передают через разные каналы.
7. Способ передачи кадра сигнализации и голосового кадра на приемное устройство в системе мобильной связи CDMA, имеющей сеть ALL-IP, содержащий передачу информации заголовков, необходимой для передачи адресату голосового кадра, на приемное устройство посредством кадра сигнализации во время установки вызова на запрос пользователя с попыткой вызова и передачу голосового кадра на приемное устройство.
8. Способ по п.7, по которому передача кадра сигнализации содержит выдачу команды создания заголовка во время установки вызова, создание информации заголовков, соответствующей идентификатору (ID) адресата, введенному пользователем в ответ на команду создания заголовка, и передачу информации заголовка на приемное устройство посредством кадра сигнализации.
9. Способ по п.8, по которому ID адресата включает в себя по меньшей мере одно из следующего: телефонный номер и адрес IP.
10. Способ по п.9, по которому информация заголовков включает в себя, по меньшей мере, одно из следующего: информацию заголовка RTP (протокол реального времени), информацию заголовка UDP (протокол дейтаграмм пользователя) и информацию заголовка IP.
11. Способ по п.7, по которому передача голосового кадра содержит преобразование голосовых сигналов, подлежащих передаче, в голосовые данные после завершения установки вызова, построение голосового кадра, где используются только голосовые данные, и передачу построенного голосового кадра на приемное устройство.
12. Способ по п.7, по которому кадр сигнализации и голосовой кадр передают через разные каналы.
13. Способ приема кадра сигнализации и голосового кадра по меньшей мере от одного передающего устройства через первый физический канал и второй физический канал в системе мобильной связи CDMA, имеющей сеть ALL-IP, содержащий после приема запроса на установку вызова – получение информации заголовков, необходимой для передачи адресату голосового кадра, из кадра сигнализации, принятого через первый физический канал, и запоминание полученной информации заголовков в соединении с идентификационном кодом, используемым для передающего устройства; после завершения установки вызова – извлечение кода, используемого для голосового кадра, принятого через второй физический канал, и обнаружение информации заголовков, соответствующей извлеченному коду, из запомненной информации заголовков, и добавление обнаруженной информации заголовков к голосовому кадру и передачу голосового кадра с добавленными заголовками адресату.
14. Способ по п.13, по которому информация заголовков включает в себя, по меньшей мере, одно из следующего: информацию заголовка RTP (протокол реального времени), информацию заголовка UDP (протокол дейтаграмм пользователя) и информацию заголовка IP.
15. Способ по п.13, который также содержит удаление информации заголовков, запомненной в соединении с идентификационном кодом для вызова с запросом на разъединение после приема запроса на разъединение вызова.
16. Устройство для приема кадра сигнализации и голосового кадра по меньшей мере от одного передающего устройства через первый физический канал и второй физический канал в системе мобильной связи CDMA, имеющей сеть ALL-IP, содержащее протокольный стек для получения информации заголовков, необходимой для передачи адресату голосового кадра, из кадра сигнализации, принятого через первый физический канал, после приема запроса на установку вызова; память для информации заголовков для запоминания полученной информации заголовков в соединении с идентификационном кодом, используемым для передающего устройства, и контроллер кадров для обнаружения информации заголовков, соответствующей коду, используемому для голосового кадра, принятого через второй физический канал, добавления обнаруженной информации заголовков к голосовому кадру и передачи голосового кадра с добавленными заголовками адресату, после завершения установки вызова.
17. Устройство по п.16, в котором информация заголовков включает в себя, по меньшей мере, одно из следующего: информацию заголовка RTP (протокол реального времени), информацию заголовка UDP (протокол дейтаграмм пользователя) и информацию заголовка IP.
18. Устройство по п.16, в котором контроллер кадров удаляет информацию заголовков, запомненную в памяти для информации заголовков в соединении с идентификационном кодом для вызова с запросом на разъединение после приема запроса на разъединение вызова.
19. Способ передачи кадра в системе мобильной связи CDMA, имеющей сеть ALL-IP, содержащий передачу информации заголовков, необходимой для передачи адресату голосового кадра, посредством кадра сигнализации; построение голосового кадра, где используются только голосовые данные; передачу построенного голосового кадра; получение информации заголовков из кадра сигнализации; запоминание полученной информации заголовков; добавление запомненной информации заголовков к голосовому кадру после приема голосового кадра и передачу голосового кадра с добавленными заголовками в базовую сеть.
20. Способ по п.19, по которому информация заголовков включает в себя, по меньшей мере, одно из: информация заголовка RTP (протокол реального времени), информация заголовка UDP (протокол дейтаграмм пользователя) и информация заголовка IP.
21. Способ по п.19, который также содержит удаление информации заголовков, запомненной в соединении с идентификационном кодом для вызова с запросом на разъединение после приема запроса на разъединение вызова.
22. Устройство для передачи кадра в системе мобильной связи CDMA, имеющей сеть ALL-IP, содержащее мобильный терминал для передачи информации заголовков, необходимой для передачи адресату голосового кадра посредством кадра сигнализации, построения голосового кадра, где используются только голосовые данные, и передачи построенного голосового кадра; узел В для получения информации заголовков из кадра сигнализации, запоминания полученной информации заголовков и, после приема голосового кадра, добавления запомненной информации заголовков к голосовому кадру и передачи голосового кадра с добавленными заголовками в базовую сеть.
23. Устройство по п.22, в котором информация заголовков включает в себя, по меньшей мере, одно из следующего: информацию заголовка RTP (протокол реального времени), информацию заголовка UDP (протокол дейтаграмм пользователя) и информацию заголовка IP.
24. Устройство по п.22, в котором узел В удаляет информацию заголовков, запомненную в соединении с идентификационном кодом для вызова с запросом на разъединение после приема запроса на разъединение вызова.
25. Способ передачи кадра передачи, принятого узлом В из базовой сети, на мобильный терминал в системе мобильной связи CDMA, имеющей сеть ALL-IP, и передачи кадра сигнализации и голосового кадра на мобильный терминал через первый физический канал и второй физический канал, причем способ содержит определение типа кадра передачи, принятого из базовой сети; передачу кадра передачи с информацией заголовков на мобильный терминал через первый физический канал, если кадр передачи является кадром сигнализации, и устранение информации заголовков из кадра передачи и передачу кадра передачи с устраненными заголовками на мобильный терминал через второй физический канал, если кадр передачи является голосовым кадром.
26. Способ по п.25, по которому информация заголовков включает в себя, по меньшей мере, одно из следующего: информацию заголовка RTP (протокол реального времени), информацию заголовка UDP (протокол дейтаграмм пользователя) и информацию заголовка IP.
27. Устройство для передачи кадра передачи, принятого узлом В из базовой сети, на мобильный терминал в системе мобильной связи CDMA, имеющей сеть ALL-IP, и передачи кадра сигнализации и голосового кадра на мобильный терминал через первый физический канал и второй физический канал, причем устройство содержит память для информации заголовков для запоминания информации заголовков в соединении с кодом для идентификации мобильного терминала; протокольный стек для выделения информации заголовков из кадра передачи, принятого из базовой сети; контроллер кадров для передачи кадра передачи с информацией заголовков на мобильный терминал через первый физический канал, если кадр передачи является кадром сигнализации; и устранения информации заголовков из кадра передачи и передачи кадра передачи с устраненными заголовками на мобильный терминал через второй физический канал, если кадр передачи является голосовым кадром.
28. Устройство по п.27, в котором информация заголовков включает в себя, по меньшей мере, одно из следующего: информацию заголовка RTP (протокол реального времени), информацию заголовка UDP (протокол дейтаграмм пользователя) и информацию заголовка IP.
29. Передающее устройство в системе мобильной связи на основе IP, содержащее передатчик кадров сигнализации для создания заголовка IP и передачи кадра сигнализации с заголовком IP и пакетный передатчик для передачи пакетных данных без заголовка IP после передачи кадра сигнализации.
30. Устройство по п.29, в котором передатчик кадров сигнализации содержит процессор сигнализации для выдачи команды создания заголовка IP в соответствии с информацией сигнализации, протокольный стек для создания заголовка IP в ответ на команду создания заголовка IP и передатчик для передачи кадра сигнализации с созданным заголовком IP через физический уровень.
31. Устройство по п.29, в котором пакетный передатчик содержит кодек для преобразования введенного голоса в голосовые данные и передатчик кадров пакетных данных для пакетирования голосовых данных в кадр пакетных данных и передачи кадра пакетных данных через физический уровень.
32. Устройство по п.29, в котором кадр сигнализации и кадр пакетных данных передают через разные каналы.
33. Передающее устройство в системе мобильной связи на основе IP, где мобильный терминал передает кадр сигнализации и кадр пакетных данных через разные каналы, причем устройство содержит память для информации заголовков для создания таблицы в соответствии с мобильным терминалом и запоминания в таблице информации заголовков, обнаруженной в кадре сигнализации; генератор кадров передачи для приема кадра пакетных данных, переданного мобильным терминалом, добавления заголовка, соответствующего мобильному терминалу, считанного из памяти для информации заголовков, к кадру пакетных данных и передачи кадра пакетных данных с добавленным заголовком в базовую сеть.
34. Система мобильной связи на основе IP, содержащая мобильный терминал для передачи сначала кадра сигнализации с информацией заголовков, а затем отдельной передачи кадра данных и узел В для обнаружения информации заголовков в кадре сигнализации, принятом от мобильного терминала, запоминания в узле В обнаруженной информации заголовков, добавления запомненного заголовка к кадру данных после приема кадра данных и передачи кадра данных с добавленным заголовком в базовую сеть.
35. Способ передачи кадра для мобильного терминала в системе мобильной связи на основе IP, содержащий создание заголовка IP и передачу сообщения сигнализации с заголовком IP и передачу данных без заголовка IP после передачи кадра сигнализации.
36. Способ по п.35, по которому передача кадра сигнализации содержит выдачу команды создания заголовка IP в соответствии с информацией сигнализации, создание заголовка IP в ответ на команду создания заголовка IP и передачу кадра сигнализации с созданным заголовком IP через физический уровень.
37. Способ по п.35, по которому передача данных содержит преобразование введенного голоса в голосовые данные и пакетирование голосовых данных в кадр пакетных данных и передачу кадра пакетных данных через физический уровень.
38. Способ обработки данных для узла В в системе мобильной связи на основе IP, где мобильный терминал передает кадр сигнализации и кадр пакетных данных через разные каналы, причем способ содержит обнаружение заголовка в кадре сигнализации, принятом от мобильного терминала, создание таблицы, включающей в себя информацию заголовков для мобильного терминала, и запоминания в памяти таблицы с информацией заголовков; прием кадра пакетных данных, переданного мобильным терминалом, добавление заголовка, соответствующего мобильному терминалу, считанного из памяти с информацией заголовков, к кадру пакетных данных и передачу кадра пакетных данных с добавленным заголовком в базовую сеть.
39. Способ передачи данных в системе мобильной связи на основе IP, содержащий пакетирование информации заголовков IP и голосовых данных пользователя в кадр сигнализации и голосовой кадр соответственно и передачу кадра сигнализации и голосового кадра от мобильного терминала на узел В; обнаружение информации заголовков IP в кадре сигнализации, принятом от мобильного терминала, запоминание в нем обнаруженной информации заголовков IP, добавление заголовка IP к голосовому кадру после приема голосового кадра и передачу голосового кадра с добавленным заголовком IP в базовую сеть.
РИСУНКИ
|
|