|
|
(21), (22) Заявка: 2001126002/09, 24.09.2001
(24) Дата начала отсчета срока действия патента:
24.09.2001
(43) Дата публикации заявки: 20.07.2003
(45) Опубликовано: 27.06.2005
(56) Список документов, цитированных в отчете о поиске:
RU 2055433 C1, 27.02.1996. RU 2118028 C1, 20.08.1998. RU 94013186 А1, 27.12.1995. DE 3228239 А1, 02.02.1984. DE 3106207 А1, 09.09.1982.
Адрес для переписки:
129010, Москва, ул. Б. Спасская, 25, стр.3, ООО “Юридическая фирма Городисский и Партнеры”, пат.пов. Ю.Д.Кузнецову, рег.№ 595
|
(72) Автор(ы):
НИМИЯ Такаюки (JP), КОМИНЕ Зенити (JP), КУНО Акира (JP), ТАКЕМУРА Норио (JP), МИСАКУ Кацунори (JP), МИСАКУ Казуе (JP), ТАКАГИ Каору (JP), БАРКЕР Макико (JP)
(73) Патентообладатель(и):
ДАЙМЕЙ ТЕЛЕКОМ ЭНДЖИНИРИНГ КОРП. (JP), ДАЙМЕЙ ТЕЛЕКОМ ЛТД. (филиал ДАЙМЕЙ ТЕЛЕКОМ ЭНДЖИНИРИНГ КОРП.) (JP), МИСАКУ ДЕНСЕЦУ КО., ЛТД. (JP)
|
(54) СПОСОБ МОНТАЖА КАБЕЛЯ (ВАРИАНТЫ) И КАТУШКА ДЛЯ МОНТАЖА КАБЕЛЯ
(57) Реферат:
Изобретение касается способа монтажа кабеля с использованием пластично деформируемой катушки, содержащей металлический провод, имеющий форму спирали, и синтетическую смолу, нанесенную на поверхность металлического провода, в котором упомянутую катушку устанавливают снаружи вокруг прочной на разрыв линии, протянутой между опорами энергосистемы. Катушка удлиняется до ее пластической деформации для формирования ряда пространств размещения кабеля внутри спирали. Кабель удлиняют, добавляют или вытягивают через пространство размещения кабеля. Технический результат – повышение устройства и упрощение монтажа с обеспечением возможности прочно удерживать кабель во время и после монтажа. 3 н. и 5 з.п. ф-лы. 13 ил.

Область техники
Настоящее изобретение касается способа механического монтажа различных кабелей и катушки, подлежащей использованию в этом способе монтажа, и более конкретно способа монтажа кабеля и катушки для монтажа кабеля, упрощающей выполнение монтажа кабеля и, в то же время, позволяющей удерживать кабели в устойчивом состоянии во время монтажа и после него.
Обычно, при монтаже различных кабелей, типа кабелей связи или телевизионных либо подобных им кабелей, между опорами энергосистемы поднимают несущий трос в качестве прочной на разрыв линии, и металлические подвески, типа кабельных подвесок, прикрепляют одну за другой на этот несущий трос с интервалом 50-60 см для параллельного подвешивания кабелей.
Однако при упомянутых выше монтажных работах с кабелем монтажник переносит ряд металлических подвесок и прикрепляет эти подвески, перемещаясь с интервалом 50-60 см по продольному направлению несущего троса, и, кроме того, эту операцию крепления подвесок выполняют на высоте; следовательно, такая операция требует очень большого времени и труда, а также достаточно высокой квалификации.
В заявке Японии № 9-251517 от 17.09.97 в качестве способа упрощения монтажа кабеля было предложено использовать упругую последовательную катушку, сформированную в непрерывную спираль из исходного материала синтетической смолы. Когда кабель устанавливают посредством последовательной катушки, можно устанавливать последовательную катушку снаружи несущего троса, удлинять эту последовательную катушку вдоль несущего троса и в то же самое время вытягивать кабель внутри катушки и укреплять его в этом положении. Следовательно, применимость монтажа кабеля можно значительно улучшить.
Однако хотя упругая последовательная катушка представляет преимущество простого монтажа, как упомянуто выше, в противоположность этому при отсоединении крепления от несущего троса или при его частичном обрыве в результате аварии или воспламенения из-за компонента синтетической смолы, катушка сжимается, вызывая такую проблему, как провисание кабеля. Кроме того, при монтаже кабеля путем удлинения последовательной катушки, если закрепленный конец катушки отрывается или удлиняемый незакрепленный конец случайно отпускается, последовательный кабель сокращается до его первоначальной длины благодаря своей эластичной упругости, заставляя возобновлять монтаж кабеля сначала и, таким образом, ухудшая его применимость (см. заявку Японии № 9-251517).
Краткое изложение сущности изобретения
В основу настоящего изобретения положена задача обеспечить способ монтажа кабеля и катушку для монтажа кабеля, упрощающие работу по монтажу кабеля и, в то же самое время, обеспечивающие возможность прочно удерживать кабель во время монтажа и после него.
Способ монтажа кабеля по настоящему изобретению для решения вышеупомянутой задачи представляет собой способ монтажа кабеля с использованием пластично деформируемой катушки, содержащей металлический провод, имеющий форму спирали, и синтетическую смолу, нанесенную на поверхность металлического провода, в котором упомянутую катушку устанавливают снаружи вокруг прочной на разрыв линии, натянутой между опорами энергосистемы, где катушка удлиняется до ее пластической деформации для формирования ряда пространств размещения кабеля внутри спирали, и кабель удлиняется, добавляется или вытягивается через пространство размещения кабеля.
Таким образом, кабель легко можно удлинять, добавлять или вытягивать через пространства размещения кабеля, поскольку пластично деформируемая катушка установлена снаружи вокруг прочной на разрыв линии типа несущего троса, протянутого между опорами энергосистемы, и катушка удлиняется до ее пластической деформации для формирования ряда пространств размещения кабеля внутри спирали.
Кроме того, поскольку вышеупомянутая катушка обладает свойством пластично деформироваться во время ее удлинения, можно предотвратить провисание кабеля, основываясь на сопротивлении пластично деформируемой катушки, даже если крепление катушки к несущему тросу отсоединится, или часть его случайно оторвется из-за аварии или аналогичного действия, и кабель может устойчиво поддерживаться в течение длительного времени. Кроме того, кабель не сокращается до своей первоначальной длины, даже если закрепленный конец катушки отсоединится, или удлиняемый незакрепленный конец случайно освободится во время выполнения работ по монтажу кабеля; так что можно эффективно выполнять работу по монтажу кабеля. Кроме того, поскольку вышеупомянутый кабель обеспечен металлическим проводом, он не может обрываться из-за воспламенения.
В настоящем изобретении предпочитают крепить к катушке элемент удлинения катушки, имеющий уменьшающуюся апертуру меньше, чем наружный диаметр катушки, после установки катушки снаружи вокруг прочной на разрыв линии и удлинять катушку до тех пор, пока она пластично полностью не деформируется, высвобождая катушку из уменьшающейся апертуры. Использование элемента удлинения катушки, снабженного такой уменьшающейся апертурой, обеспечивает возможность улучшения эксплуатационной эффективности вышеупомянутого способа монтажа кабеля и одновременно во время удлинения устанавливать размер катушки с хорошей точностью.
Выражаясь более определенно, предпочтительно устанавливать катушку снаружи вокруг прочной на разрыв линии, затем сцеплять одну торцевую сторону катушки с прочной на разрыв линией, размещать элемент удлинения катушки, имеющий уменьшающуюся апертуру меньше, чем наружный диаметр катушки, с одной торцевой стороны катушки, протягивать элемент удлинения катушки к другой торцевой стороне катушки вдоль прочной на разрыв линии и удлинять катушку, пока она полностью пластично не деформируется, высвобождая катушку из уменьшающейся апертуры. В ином случае, предпочитают устанавливать катушку снаружи вокруг прочной на разрыв линии, затем сцеплять одну торцевую сторону катушки с прочной на разрыв линией, размещать элемент удлинения катушки, имеющий уменьшающуюся апертуру меньше, чем наружный диаметр катушки, с другой торцевой стороны катушки, протягивать другую торцевую сторону катушки вдоль прочной на разрыв линии, в то же время фиксируя положение элемента удлинения катушки, и удлинять катушку до тех пор, пока она полностью пластично не деформируется, освобождая катушку из уменьшающейся апертуры.
В качестве прочной на разрыв линии для направления вышеупомянутой катушки можно выбрать несущий трос, сделанный из множества скрученных стальных проводов, имеющегося кабеля, комплексного кабеля, включающего несущий трос, и кабеля (так называемого кабеля SS типа) или других и, в случае необходимости, это может быть временный трос или аналогичное приспособление.
Однако способ монтажа кабеля по настоящему изобретению можно также применять для случая без устанавливания прочной на разрыв линии. В этом случае, используя пластично деформируемую катушку, содержащую металлический провод, имеющий форму спирали, и с покрытием синтетической смолой на поверхности металлического провода катушку удлиняют до тех пор, пока она пластически деформируется, для формирования ряда пространств размещения кабеля внутри спирали, и кабель удлиняется, добавляется или вытягивается через пространства размещения кабеля. Такой способ монтажа кабеля является предпочтительным для размещения кабеля в подпотолочном пространстве или при расположении кабеля под полом.
В настоящем изобретении кабели, подлежащие удлинению, добавлению или вытягиванию, включают в себя различные кабели, образованные из ряда проложенных в грунте электрических кабелей, оптических или аналогичных кабелей типа кабеля связи, телевизионного кабеля, кабеля электропередачи и т.п. и дополнительно служебного провода и вводного провода к офису, жилому дому или другим помещениям.
С другой стороны, катушка для монтажа кабеля по настоящему изобретению имеет конструкцию, в которой провод с покрытием из смолы, содержащий металлический провод и синтетическую смолу, нанесенную на поверхность металлического провода, образован в форме спирали и отличается тем, что упомянутый металлический провод вызывает остаточную деформацию, когда катушка, сделанная из провода с покрытием из смолы, удлиняется.
Упомянутый металлический провод предпочтительно вызывает остаточную деформацию, когда катушка удлиняется, по меньшей мере, в 10 раз по сравнению с ее не увеличенной длиной. Предпочтительное отношение площади поперечного сечения металлического провода к площади поперечного сечения провода с покрытием из смолы равно или больше 25%.
Краткое описание чертежей
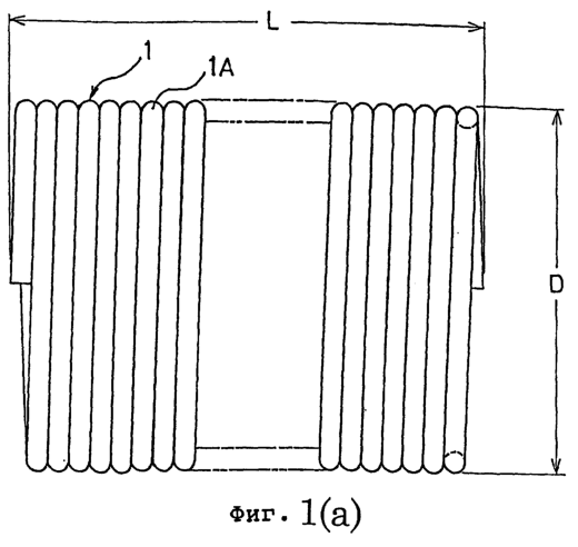
Фиг.1 изображает пример пластично деформируемой катушки, используемой для способа монтажа кабеля по настоящему изобретению; фиг.1(а) представляет вид сбоку катушки, фиг.1(b) – вид поперечного сечения провода с покрытием из смолы, составляющего катушку, а фиг.1(с) представляет вид сбоку провода с покрытием из смолы.
Фиг.2 изображает пример элемента удлинения катушки, используемого для способа монтажа кабеля по настоящему изобретению; фиг.2(а) представляет вид сбоку неудлиненной катушки, а фиг.2(b) – вид сбоку удлиненной катушки.
Фиг.3 изображает другой элемент удлинения катушки, используемый для способа монтажа кабеля по настоящему изобретению;
фиг.3(а) представляет вид сбоку неудлиненной катушки, а фиг.3(b) – вид сбоку удлиненной катушки.
Фиг.4 изображает заполнение монтажа кабеля с помощью способа монтажа кабеля по настоящему изобретению; фиг.4(а) показывает вид сбоку, а фиг.4(b) – вид по линии Х-Х.
Фиг.5 изображает другое заполнение монтажа кабеля с помощью способа монтажа кабеля по настоящему изобретению; фиг.5(а) показывает вид сбоку, а фиг.5(b) – вид по линии X’-X’.
Фиг.6 изображает конструкцию опоры кабеля, в которой применяется другой способ монтажа кабеля по настоящему изобретению; фиг.6 (а) показывает вид сбоку, а фиг.6(b) – вид по линии Y-Y.
Подробное описание предпочтительного варианта осуществления
Теперь настоящее изобретение будет подробно описано со ссылкой на прилагаемые чертежи.
Фиг.1 изображает пример пластично деформируемой катушки, используемой для способа монтажа кабеля по настоящему изобретению. Как показано на фиг.1(а) – фиг.1(с), пластично деформируемая катушка 1 имеет конструкцию, в которой проводу 1А с покрытием из смолы, сделанным путем нанесения покрытия вокруг металлического провода 1а синтетической смолой 1b, придана форма спирали. Форма поперечного сечения провода 1А с покрытием из смолы предпочтительно является некруглой, включая многоугольники типа восьмиугольника или другие. Когда провод 1А с покрытием из смолы скручивают, чтобы сворачивать некруглую форму по спирали в продольном направлении металлического провода 1а, звук ветра, образуемый во время монтажа кабеля, может быть уменьшен. Катушка 1 имеет длину L в неудлиненном состоянии без нагрузки до того, как используется для способа монтажа кабеля, однако она будет иметь состояние, удлиненное до величины, соответствующей одному пролету между электрическими опорами энергосистемы, во время монтажа кабеля. Когда удлиненная катушка короткая или слишком длинная для одного пролета между электрическими опорами энергосистемы, катушку 1 можно отрезать или удлинить.
Упомянутая выше катушка 1 обеспечена таким свойством, что металлический провод 1а пластично деформируется, когда катушка удлиняется от ее неудлиненной величины L. Более конкретно, при удлинении катушки в 10 или более раз относительно ее не удлиненной величины L катушка 1 сокращается от диаметра D и, в то же время, она пластично деформируется так, что длина после удлинения сохраняется. Если этот металлический провод 1а деформируется при удлинении меньше, чем в 10 раз от его неудлиненной величины L, становится трудно удлинить катушку 1 таким образом, чтобы сохранить шаг спирали с постоянным интервалом.
Для обеспечения вышеупомянутой катушки 1, сделанной из комплексного материала металлического провода 1а и синтетической смолы 1b, с упомянутым свойством можно должным образом выбрать материал металлического провода 1а и синтетическую смолу 1b, и соответствующим образом можно установить отношение поперечного сечения металлического провода 1а в проводе 1А с покрытием из смолы.
В качестве металлического провода 1а можно использовать стальной, медный, алюминиевый или аналогичный провод диаметром от 1,0 до 5,0 мм. Особенно предпочитают использовать стальной провод с целью обеспечения наибольшей соответствующей пластической деформации для монтажа кабеля. Кроме того, для предотвращения коррозии выгодно использовать оцинкованный провод. Если диаметр металлического провода 1а меньше 1,0 мм, его способность удерживать кабель становится недостаточной, и напротив, если он больше чем 5,0 мм, сама катушка становится неблагоприятно тяжелой.
Отношение поперечного сечения металлического провода к поперечному сечению провода с покрытием из смолы предпочитают устанавливать равным или больше 25%. Если отношение поперечного сечения металлического провода меньше 25%, упругая деформация синтетической смолы 1b делает пластическую деформацию металлического провода 1а трудной. Отметим, что форма поперечного сечения металлического провода 1а специально не ограничена и, в дополнение к кругу, как показано на чертеже, можно применять овальную, треугольную, квадратную, восьмиугольную или другую многоугольную форму.
С другой стороны, в качестве синтетической смолы 1b можно использовать термопластичную смолу типа сложного полиэфира, полиамида, полиолефина. Среди этих термопластичных смол особенно предпочтительным является сложный полиэфир. В качестве такого сложного полиэфира можно упомянуть полиэтилентерефталат, полибутилентерефталат или сложный полиэфир сополимера, полученный сополимеризацией их с третьим компонентом типа адипиновой кислоты, изофталевой кислоты, изофталевого сульфоната и полиэтиленгликоля.
Кроме того, в качестве полиамида можно упомянуть найлон 6, найлон 66, найлон 610, найлон 612, найлон 11, найлон 12 и полиамид сополимера, образованный комбинацией компонентов соответственного найлона.
Очевидно, что эти термопластичные смолы могут содержать по мере необходимости в качестве желательных компонентов теплоустойчивый агент, стойкий к атмосферным воздействиям агент, фоторезистивный агент, антиоксидант, добавку антистатика, твердый смазывающий материал, краситель или другие нормальные добавочные компоненты.
Неудлиненная величина L катушки 1 предпочтительно является короткой с точки зрения манипулирования; однако ее применимость окажется благоприятной, если она установлена так, чтобы удлиняться во время монтажа кабеля по меньшей мере до 1 пролета между опорами энергосистемы. Для осуществления этого, когда неудлиненная величина L находится в диапазоне от 500 до 2000 мм, удлиненная катушка предпочтительно устанавливается на величину, находящуюся в диапазоне, превышающем эту величину L в 10-80 раз, главным образом в 20-60 раз. Кроме того, наружный диаметр D неудлиненной катушки 1 благоприятно устанавливают на размер, находящийся в диапазоне от 20 до 120 мм.
Теперь будет описан способ монтажа кабеля по настоящему изобретению. Для удлинения вышеупомянутой катушки 1 можно использовать элемент удлинения катушки, показанный на фиг.2 или фиг.3.
На фиг.2 элемент 10 удлинения катушки имеет конструкцию, собираемую из детали 11 костяка в форме конуса, и обеспечен уменьшающейся апертурой 12 меньше, чем наружный диаметр катушки 1 у вершины конуса. Кроме того, элемент 10 удлинения катушки сделан из двух деталей, разделенных длиной образующей конуса, и обе эти детали можно открывать или закрывать с помощью навески 13 и, помимо этого, их можно скреплять в закрытом состоянии посредством болта 14.
Когда катушку 1 удлиняют с помощью вышеупомянутого элемента 10 удлинения катушки, как показано на фиг.2(а), сначала катушку 1 устанавливают снаружи вокруг несущего троса W, протянутого между опорами энергосистемы Р, Р, затем одну торцевую сторону катушки 1 прикрепляют к несущему тросу W деталью 2 зажима, после этого элемент 10 удлинения катушки, обеспеченный уменьшающейся апертурой 12 меньше, чем наружный диаметр катушки 1, располагают на одной торцевой стороне катушки 1. Более конкретно, уменьшающуюся апертуру 12 помещают с одной торцевой стороны катушки 1, а элемент 10 удлинения катушки устанавливают так, чтобы конусная секция детали 11 костяка покрывала катушку 1. Затем, как показано на фиг.2(b), элемент 10 удлинения катушки тянут по направлению к другой торцевой стороне катушки 1 вдоль несущего троса W посредством тягового провода 15, прикрепленного к основанию конуса детали 11 костяка, и катушка 1 удлиняется до ее полной пластической деформации, извлекаемая из уменьшающейся апертуры 12. Для работы с земли с элементом 10 удлинения катушки, перемещаемым вдоль несущего троса W, на несущем тросе W подвешивают хомут 16, и к этому хомуту 16 прикрепляют управляемый с земли трос 17. Также выгодно прикреплять к хомуту 16 другую торцевую сторону катушки 1.
При удлинении катушки 1 с использованием элемента 10 удлинения катушки, как упомянуто выше, шаг и наружный диаметр удлиненной катушки 1 можно устанавливать, основываясь на размере уменьшающейся апертуры 12 и, кроме того, катушку 1 можно равномерно вытянуть по всей ее длине. Поскольку элемент 10 удлинения катушки собран из детали 11 костяка, катушкой 1 можно легко манипулировать через ее зазор, и, кроме того, поскольку она легкая, то не создает большую нагрузку на несущий трос W.
С другой стороны, на фиг.3 элемент 20 удлинения катушки имеет конструкцию, собираемую из детали 21 костяка в форме конуса, и обеспечен уменьшающейся апертурой 22 меньше, чем наружный диаметр катушки 1, у вершины конуса. Кроме того, элемент 20 удлинения катушки сделан из двух деталей, разделенных вдоль образующей конуса, и обе эти детали можно открывать или закрывать с помощью навески 23 и, помимо этого, можно скреплять в закрытом состоянии посредством болта 24.
Когда катушку 1 удлиняют с помощью вышеупомянутого элемента 20 удлинения катушки, как показано на фиг.3(а), сначала катушку 1 устанавливают снаружи вокруг несущего троса W, протянутого между опорами энергосистемы Р, Р, затем одну торцевую сторону катушки 1 прикрепляют к несущему тросу W деталью 2 зажима, после этого элемент 20 удлинения катушки, обеспеченный уменьшающейся апертурой 22 меньше, чем наружный диаметр катушки 1, располагают с другой торцевой стороны катушки 1. Более конкретно, уменьшающуюся апертуру 22 помещают с другой торцевой стороны катушки 1, а элемент 20 удлинения катушки устанавливают так, чтобы конусная секция детали 21 костяка покрывала катушку 1.
Затем, как показано на фиг.3(b), другую торцевую сторону катушки 1 подсоединяют к ведущей каретке 26, свободно проходящей по несущему тросу W, затем другую торцевую сторону катушки 1 протягивают ведущей кареткой 26 вдоль несущего троса W с положением элемента 20 удлинения катушки, закрепленным относительно опоры энергосистемы Р, используя фиксирующий трос 25, прикрепленный к основанию конуса детали 21 костяка, и катушка 1 удлиняется до ее полной пластической деформации, освобождаемая из уменьшающейся апертуры 22. Эта ведущая каретка 26 позволяет осуществлять движение только вперед, а во время обратного движения действует тормоз. Для работы с земли ведущую каретку 26 перемещают по несущему тросу W, к ведущей каретке 26 прикрепляют управляемый с земли трос 27. Отметим, что такую ведущую каретку 26 также можно применять к способу монтажа, показанному на фиг.2.
Когда катушку 1 удлиняют, используя элемент 20 удлинения катушки, как упомянуто выше, шаг и наружный диаметр удлиненной катушки 1 можно устанавливать на основании размера уменьшающейся апертуры 22 и, кроме того, катушку 1 можно удлинять равномерно по всей длине. Поскольку элемент 20 удлинения катушки собран из детали 21 костяка, катушкой 1 можно легко манипулировать через ее зазор, и, кроме того, поскольку она легкая, то не будет прикладывать большую нагрузку к несущему тросу W. Помимо этого, если конец кабеля С подсоединен к ведущей каретке 26, кабель С можно удлинять одновременно с вытягиванием катушки 1.
Фиг.4 изображает заполнение монтажа кабеля с помощью способа монтажа кабеля по настоящему изобретению. Как показано на фиг.4(а) и фиг.4(b), в соответствии со способом монтажа кабеля по настоящему изобретению, используя пластично деформируемую катушку 1, катушку 1 устанавливают снаружи вокруг несущего троса W, протянутого между опорами энергосистемы, катушка удлиняется до ее пластической деформации для формирования ряда пространств S размещения кабеля внутри спирали, и кабель С удлиняют, добавляют или вытягивают через это пространство S размещения кабеля.
При монтаже кабеля с использованием вышеупомянутой катушки 1 можно образовать все точки подвешивания кабеля С через спиральную петлю с постоянным интервалом, а кабель С можно удлинять с помощью только одной операции простого удлинения катушки 1 между опорами энергосистемы, и, кроме того, поскольку кабель С удлиняется, катушку 1 можно использовать в качестве подвески, закрепляющей кабель на месте. Следовательно, это устраняет необходимость в монтаже временного кабеля С посредством зажимного приспособления удлинения кабеля типа шкива и упрощает операцию последовательного крепления ряда металлических подвесок с постоянным интервалом, как при обычном монтаже кабеля.
Когда кабель С, подвешенный от несущего троса W, подлежит добавлению, кабель С можно просто вводить со стороны опоры энергосистемы вдоль ряда пространств S размещения кабеля. Кроме того, когда количество кабелей С, подвешенных на несущем кабеле W, необходимо уменьшить, любое количество кабелей С можно вытянуть из пространств S размещения кабеля. Поскольку кабель С подвешен с помощью пластично деформируемой катушки 1, кабель С во время вытягивания не имеет слишком сильного провисания.
Кроме того, поскольку металлический кабель 1а деформируется пластично, когда катушка 1 удлиняется, пластично деформированный металлический кабель 1а предотвращает провисание кабеля С, даже если крепление катушки к несущему тросу W отсоединится, или часть катушки 1 случайно оторвется, или происходит что-либо подобное. Кроме того, кабель не сокращается до его первоначальной длины, даже если закрепленный конец катушки 1 оторвется, или удлиненный незакрепленный конец случайно освободится во время монтажа кабеля. Следовательно, способ монтажа кабеля с использованием вышеупомянутой катушки 1 позволяет удерживать кабель С в стабильном состоянии во время монтажа и после него. Кроме того, даже если вспыхнет огонь вблизи местоположения монтажа кабеля, вызывая воспламенение кабеля 1а и выгорание синтетической смолы 1b, кабель С может удерживаться металлическим проводом 1а.
Фиг.5 изображает другое заполнение монтажа кабеля с помощью способа монтажа кабеля по настоящему изобретению. В этом варианте осуществления в качестве прочной на разрыв линии используется кабель типа SS, изготовленный путем объединения несущего троса W’ и кабеля С’ через ряд соединений J, расположенных в продольном направлении с заранее определенным интервалом. Как показано на фиг.5(а) и фиг.5(b), когда кабель типа SS используется в качестве прочной на разрыв линии, катушку 1 устанавливают снаружи вокруг кабеля типа SS, протянутого между опорами энергосистемы, и катушка удлиняется до ее пластической деформации с целью формирования ряда пространств 3 размещения кабеля внутри спирали, и через эти пространства S размещения кабеля удлиняют, добавляют или вытягивают кабель С.
Фиг.6 изображает способ монтажа кабеля с помощью другого варианта осуществления настоящего изобретения. Этот вариант осуществления касается способа монтажа кабеля для расположения кабеля в подпотолочном пространстве без использования прочной на разрыв линии. На фиг.6(а) и фиг.6(b) пара из правой и левой стоек 31, 31 подвешена с заранее определенным интервалом от верхней поверхности 30 стены к подпотолочному пространству, а опорная плита 32 прикреплена к их нижним концам. На этой опорной плите 32 смонтирован ряд кабелей С.
Поскольку количество кабелей С, подлежащих монтажу на опорной плите 32, ограничено, за опорной плитой 32 обычно устанавливают другую опорную плиту, когда это нужно для размещения количества кабелей, превышающих этот предел. Однако для установления другой опорной плиты требуется произвести большую работу. Таким образом, для такой конструкции опоры кабеля также предпочтительно применять способ монтажа кабеля по настоящему изобретению.
А именно, вышеупомянутую катушку 1 удлиняют до ее пластической деформации для формирования ряда пространств S размещения кабеля внутри катушки и крепят к стойке 31, 31 вдоль опорной плиты 32, а кабель С удлиняют, добавляют или вытягивают через пространство S размещения кабеля.
Поскольку такая катушка 1, удлиненная до ее пластической деформации, до некоторой степени сохраняет свою форму, она является эффективной в качестве конструкции опоры кабеля С. Более того, кабель С можно легко удлинять, добавлять или вытягивать через пространство S размещения кабеля, и к тому же, кабель С можно устойчиво поддерживать во время монтажа и после него.
Описанный выше способ монтажа кабеля по настоящему изобретению можно применять к монтажу различных кабелей типа кабеля связи, телевизионного кабеля, кабеля передачи электроэнергии либо подобных им кабелей.
Способ монтажа кабеля по настоящему изобретению, отличающийся от упомянутого выше способа использования, также является предпочтительным для прокладки кабеля внутри подземного канала, общей дренажной трубы, водовода или аналогичной системы. В этом подземном канале, общей дренажной трубе, водоводе или аналогичной системе катушку можно удлинять вдоль прочной на разрыв линии типа несущего или подобного ему троса, или катушку можно хорошо удлинять без использования прочной на разрыв линии.
Как описано выше, в соответствии с настоящим изобретением, благодаря использованию пластично деформируемой катушки, включающей металлический провод, имеющий форму спирали, и синтетическую смолу, нанесенную на поверхность металлического провода, катушку устанавливают снаружи вокруг прочной на разрыв линии, протянутой между опорами энергосистемы, катушка удлиняется до ее пластической деформации для формирования ряда пространств размещения кабеля внутри катушки, а кабель удлиняют, добавляют или вытягивают через пространство размещения кабеля. Следовательно, можно значительно улучшить применимость монтажа кабеля и, кроме того, кабель может поддерживаться в устойчивом состоянии во время монтажа и после него.
Формула изобретения
1. Способ монтажа кабеля с использованием пластично деформируемой катушки, содержащей металлический провод, имеющий форму спирали, и синтетическую смолу, нанесенную на поверхность металлического провода, при котором упомянутую катушку устанавливают снаружи вокруг прочной на разрыв линии, протянутой между опорами энергосистемы, катушку удлиняют до ее пластической деформации для формирования ряда пространств размещения кабеля внутри катушки, а кабель удлиняют, добавляют или вытягивают через пространство размещения кабеля.
2. Способ монтажа кабеля по п.1, в котором упомянутую катушку устанавливают снаружи вокруг упомянутой прочной на разрыв линии, затем элемент удлинения катушки, имеющий уменьшающуюся апертуру меньше, чем наружный диаметр катушки, крепят к упомянутой катушке, и катушку удлиняют до ее полной пластической деформации, извлекая из упомянутой уменьшающейся апертуры.
3. Способ монтажа кабеля по п.2, в котором упомянутую катушку устанавливают снаружи вокруг упомянутой прочной на разрыв линии, затем одну торцевую сторону катушки крепят к упомянутой прочной на разрыв линии, элемент удлинения катушки, имеющий уменьшающуюся апертуру меньше, чем наружный диаметр катушки, располагают с упомянутой одной торцевой стороны катушки, упомянутый элемент удлинения катушки тянут к другой торцевой стороне катушки по упомянутой прочной на разрыв линии, и катушку удлиняют до ее полной пластической деформации, извлекая из упомянутой уменьшающейся апертуры.
4. Способ монтажа кабеля по п.2, в котором упомянутую катушку устанавливают снаружи вокруг упомянутой прочной на разрыв линии, затем одну торцевую сторону катушки крепят к упомянутой прочной на разрыв линии, элемент удлинения катушки, имеющий уменьшающуюся апертуру меньше, чем наружный диаметр катушки, располагают у другой торцевой стороны катушки, другую торцевую сторону катушки тянут по упомянутой прочной на разрыв линии при состоянии, фиксирующем положение элемента удлинения катушки, и катушку удлиняют до ее полной пластической деформации, извлекая из упомянутой уменьшающейся апертуры.
5. Способ монтажа кабеля с использованием пластично деформируемой катушки, включающей металлический провод, имеющий форму спирали, и синтетическую смолу, нанесенную на поверхность металлического провода, при котором упомянутую катушку удлиняют до ее пластической деформации для формирования ряда пространств размещения кабеля внутри спирали, а кабель удлиняют, добавляют или вытягивают через пространство размещения кабеля.
6. Катушка монтажа кабеля, имеющая конструкцию, в которой провод с покрытием из смолы, содержащий металлический провод и синтетическую смолу, нанесенную на поверхность металлического провода, имеет форму спирали, в которой упомянутый металлический провод выполнен с возможностью создания остаточной деформации, когда катушка, сделанная из провода с покрытием из смолы, удлиняется.
7. Катушка монтажа кабеля по п.6, в которой упомянутый металлический провод выполнен с возможностью создания остаточной деформации, когда упомянутая катушка удлиняется по меньшей мере в 10 раз больше по сравнению с первоначальной длиной.
8. Катушка монтажа кабеля по п.6, в которой отношение площади поперечного сечения упомянутого металлического провода к площади поперечного сечения упомянутого провода с покрытием из смолы равно или больше 25%.
РИСУНКИ
|
|