|
|
(21), (22) Заявка: 2003136130/09, 11.12.2003
(24) Дата начала отсчета срока действия патента:
11.12.2003
(45) Опубликовано: 27.06.2005
(56) Список документов, цитированных в отчете о поиске:
Бюллетень 33-2105-R “Элегазовые выключатели типа “RM”. ABB Power Т & D Company Inc. Март 1991. SU 1683088, 07.10.1991. СН 519238, 15.02.1972. US 3524958, 18.08.1970. US 3590188, 29.06.1971. ЕР 0126929, 05.12.1984.
Адрес для переписки:
199106, Санкт-Петербург, 24 линия, 15/2, ОАО “НИИВА”
|
(72) Автор(ы):
Бабкин И.В. (RU), Вишневский Ю.И. (RU), Лопаев В.Н. (RU), Пельц А.С. (RU), Третьяков С.В. (RU)
(73) Патентообладатель(и):
Открытое акционерное общество “Научно-исследовательский и проектно-конструкторский институт высоковольтного аппаратостроения” (ОАО “НИИВА”) (RU)
|
(54) ДУГОГАСИТЕЛЬНОЕ УСТРОЙСТВО ВЫСОКОВОЛЬТНОГО ГАЗОНАПОЛНЕННОГО АВТОКОМПРЕССИОННОГО ВЫКЛЮЧАТЕЛЯ
(57) Реферат:
Изобретение относится к электротехнике, а именно к дугогасительным устройствам высоковольтных газонаполненных автокомпрессионных выключателей. Техническим результатом является повышение эффективности дугогашения при отключении больших и средних токов, уменьшить время горения дуги и повысить коммутационный ресурс. В дугогасительном устройстве высоковольтного газонаполненного автокомпрессионного выключателя, содержащем главные контакты, дугогасительные контакты, изоляционное сопло, цилиндрическую изоляционную втулку, неподвижный поршень, камеру автогенерации, соединенную с камерой сжатия, камера автогенерации представляет собой цилиндрический сосуд, стенки которого с внутренней стороны имеют футеровку из полимерного материала, например фторопласта, при нагревании выделяющего газообразные продукты разложения, способствующие гашению дуги. Дугогасительное устройство высоковольтного газонаполненного автокомпрессионного выключателя содержит главные неподвижный и подвижный контакты, подвижный дугогасительный контакт, неподвижный поршень, неподвижный дугогасительный контакт, изоляционное сопло, изоляционную цилиндрическую втулку, жестко закрепленную на подвижном дугогасительном контакте, камеру автогенерации, футеровку камеры автогенерации, камеру сжатия и клапаны. 2 з.п. ф-лы, 1 ил.

Изобретение относится к электротехнике, а именно к дугогасительным устройствам высоковольтных газонаполненных автокомпрессионных выключателей.
Известно дугогасительное устройство газонаполненного автокомпрессионного выключателя [1], в котором имеются изоляционное сопло, главные контакты, дугогасительные контакты, один из которых имеет сопло. Недостатком данной конструкции является значительная мощность привода для функционирования выключателя при коммутации номинальных токов отключения, малое номинальное напряжение на один разрыв, что снижает надежность выключателя в эксплуатации.
Наиболее близким к данному является дугогасительное устройство высоковольтного газонаполненного автокомпрессионного выключателя [2], содержащее главные контакты, дугогасительные контакты, один из которых имеет сопло, изоляционное сопло, цилиндрическую изоляционную втулку, полость автогенерации.
Повышение эффективности дугогашения при отключении обеспечивается за счет использования эффекта автогенерации, что позволяет повысить давление вверх по потоку, а следовательно увеличить массовый расход при отключении (в области нуля тока) и уменьшить нагрузку на привод. Выключатель обеспечивает отключение малых токов с помощью дутья, создаваемого поршнем. При отключении больших токов после размыкания дугогасительных контактов дуга генерирует давление газа, которое используется для гашения самой дуги.
Применение принципа автогенерации позволяет использовать сравнительно маломощный привод, что, в свою очередь, уменьшает нагрузку на раму и фундамент при срабатывании выключателя.
Задачей предлагаемого изобретения является повышение эффективности дугогашения при отключении больших и средних токов, уменьшение времени горения дуги и повышение коммутационного ресурса.
Сущность заявляемого изобретения состоит в том, что в дугогасительном устройстве высоковольтного газонаполненного автокомпрессионного выключателя, содержащем главные контакты, дугогасительные контакты, изоляционное сопло, цилиндрическую изоляционную втулку, неподвижный поршень, камеру автогенерации, соединенную с камерой сжатия, камера автогенерации представляет собой цилиндрический сосуд, стенки которого с внутренней стороны имеют футеровку из полимерного материала, например фторопласта, при нагревании выделяющего газообразные продукты разложения, способствующие гашению дуги.
Неизвестны дугогасительные устройства высоковольтных автокомпрессионных выключателей, в которых повышение эффективности дугогашения, уменьшение времени горения дуги и повышение коммутационного ресурса осуществляется за счет футеровки внутренних стенок камеры автогенерации полимерным материалом, выделяющим газообразные продукты разложения, способствующие гашению дуги.
Конструктивно футеровка представляет собой цилиндр из полимерного материала, например из фторопласта, но может быть нанесена на стенки полости автогенерации другим методом, например напылением. Положительный эффект при отключении достигается за счет повышения давления в полости автогенерации, а следовательно, и в промежутке между дугогасительными контактами, вызванного разложением полимерного материала футеровки с выделением газообразных продуктов и уменьшением отвода тепла через стенки полости автогенерации.
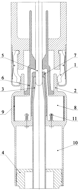
На чертеже изображено дугогасительное устройство высоковольтного газонаполненного автокомпрессионного выключателя.
Дугогасительное устройство высоковольтного газонаполненного автокомпрессионного выключателя содержит главные неподвижный 1 и подвижный 2 контакты, подвижный дугогасительный контакт 3, неподвижный поршень 4, неподвижный дугогасительный контакт 5, изоляционное сопло 6, изоляционную цилиндрическую втулку 7, жестко закрепленную на подвижном дугогасительном контакте 3, камеру автогенерации 8, футеровку 9 камеры автогенерации, камеру сжатия 10 и клапаны 11.
Дугогасительное устройство высоковольтного газонаполненного автокомпрессионного выключателя работает следующим образом.
Отключение. При подаче команды на отключение перемещается подвижная система выключателя с главным подвижным контактом 2, подвижным дугогасительным контактом 3 и изоляционным соплом 6 сверху вниз. Сначала размыкаются главные контакты 1, 2, затем ток перебрасывается в зону контактирования дугогасительных контактов – неподвижного 5 и подвижного 3. По мере движения подвижной системы выключателя относительно неподвижного поршня 4 происходит сжатие газа, например элегаза, в камере сжатия 10. После размыкания дугогасительных контактов 3 и 5 электрическая дуга горит между дугогасительными контактами 3 и 5 во внутренней поверхности изоляционного сопла 6, что приводит к повышению давления в межконтактном промежутке и связанной с ним камере автогенерации 8. Футеровка 9 стенок камеры автогенерации полимерным материалом, например фторопластом, под воздействием горячего газа выделяет газообразные продукты разложения. При отключении больших и средних токов в момент перехода тока через нуль поток газа устремляется из камеры автогенерации 8 через сопло в контакте 3 и изоляционное сопло 6 в камеру выключателя с повышенным расходом дугогасящей среды, что повышает эффективность дугогашения.
При отключении малых токов поток газа из камеры сжатия 10 через клапаны 11 и полость автогенерации 8 попадает в промежуток между дугогасительными контактами 3 и 5, обеспечивая гашение возникшей при размыкании дуги.
Включение. При включении выключателя сначала имеется контактирование подвижного дугогасительного контакта 3 с дугогасительным контактом 5, а затем главных контактов 1, 2.
Проведенные исследования показали уменьшение времени горения дуги, возможность увеличения коммутационного ресурса и повышение эффективности дугогашения при отключении болыших и средних токов.
Литература
1. Патент № 519238, H 01 H 33/91,1972, Швейцария ВВС.
2. Бюллетень 33-2105-R “Элегазовые выключатели типа “RM”, ABB Power T&D Company Inc., Март 1991.
Формула изобретения
1. Дугогасительное устройство высоковольтного газонаполненного автокомпрессионного выключателя, содержащее главные контакты, дугогасительные контакты, изоляционное сопло, цилиндрическую изоляционную втулку, неподвижный поршень, камеру автогенерации, соединенную с камерой сжатия клапанами, отличающееся тем, что внутренние стенки камеры автогенерации снабжены футеровкой полимерным материалом, при нагревании выделяющим газообразные продукты разложения.
2. Дугогасительное устройство высоковольтного газонаполненного автокомпрессионного выключателя по п.1, отличающееся тем, что камера автогенерации представляет собой цилиндрический сосуд.
3. Дугогасительное устройство высоковольтного газонаполненного автокомпрессионного выключателя по п.1, отличающееся тем, что футеровка выполнена из фторопласта.
РИСУНКИ
|
|