|
|
(21), (22) Заявка: 2004100908/28, 09.01.2004
(24) Дата начала отсчета срока действия патента:
09.01.2004
(45) Опубликовано: 27.06.2005
(56) Список документов, цитированных в отчете о поиске:
SU 1068699 A1, 23.01.1984. SU 1753258A1, 07.08.1992. RU 2215988 C1, 10.11.2003. DE 19503681 A, 01.08.1996.
Адрес для переписки:
634055, г.Томск, пр. Академический, Институт мониторинга климатических и экологических систем СО РАН
|
(72) Автор(ы):
Симонова Г.В. (RU)
(73) Патентообладатель(и):
Институт мониторинга климатических и экологических систем Сибирского отделения Российской академии наук (RU)
|
(54) ИНТЕРФЕРОМЕТР ДЛЯ КОНТРОЛЯ ФОРМЫ ВЫПУКЛЫХ, ВОГНУТЫХ СФЕРИЧЕСКИХ И ПЛОСКИХ ПОВЕРХНОСТЕЙ КРУПНОГАБАРИТНЫХ ОПТИЧЕСКИХ ДЕТАЛЕЙ
(57) Реферат:
Интерферометр для контроля формы выпуклых, вогнутых сферических и плоских поверхностей крупногабаритных оптических деталей содержит осветительный блок, состоящий из источника монохроматического излучения, коллиматора и объектива, последовательно расположенные светоделитель, плоское зеркало и апланатический мениск с эталонной поверхностью, а также наблюдательную ветвь, расположенную за светоделителем в обратном ходе лучей, и рабочую ветвь, состоящую из сферического зеркала с компенсатором, которые образуют фокусирующую систему. В зависимости от формы контролируемой поверхности осуществляется перефокусировка рабочей ветви интерферометра при перемещении компенсатора и базового блока интерферометра, состоящего из осветительной ветви, светоделителя, плоского зеркала, апланатического мениска и наблюдательной ветви относительно стационарно закрепленного сферического зеркала вдоль оптической оси на такое расстояние, при котором лучи, отраженные от сферического зеркала, падают на контролируемую поверхность перпендикулярно к ее поверхности. Технический результат – расширение номенклатуры контролируемых поверхностей, уменьшение габаритных размеров интерферометра. 1 з.п. ф-лы, 1 ил.

Изобретение относится к измерительной технике, а именно к интерферометрии, и может быть использовано для контроля формы крупногабаритных вогнутых, выпуклых сферических и плоских поверхностей.
Известен интерферометр для контроля формы поверхности выпуклых сферических поверхностей линз большого диаметра (Авторское свидетельство СССР №448347, кл.G 01 В 9/02, 1972), содержащий лазерный источник света, расположенные последовательно телескопическую систему, светоделитель, объектив, компенсатор, эталонное сферическое зеркало, регистратор интерференционной картины.
Недостатком интерферометра является сравнительно большие габаритные размеры эталонной поверхности зеркала и возможность контроля только выпуклых сферических поверхностей ограниченного диапазона.
Наиболее близким к изобретению по технической сущности является интерферометр для контроля формы сферических поверхностей линз (Авторское свидетельство СССР №1068699, кл. G 01 В 9/02, 1984), содержащий последовательно расположенные источник монохроматического света, фазовую четвертьволновую пластинку, телескопическую систему, объектив и линзу, образующие осветительную ветвь, компенсатор и эталонное сферическое зеркало, образующие рабочую ветвь и наблюдательную систему.
Недостатком интерферометра является его сложность, необходимость применения в каждом конкретном случае контроля специального компенсатора и замены оптических компонентов в рабочей ветви интерферометра, невозможность контроля плоских оптических поверхностей.
Задачей, на решение которой направлено изобретение, является расширение номенклатуры контролируемых поверхностей как сферических выпуклых и вогнутых, так и плоских поверхностей, сокращение габаритных размеров интерферометра.
Техническим результатом, который достигается в результате решения данной задачи, является повышение производительности контроля и точности.
Указанный технический результат достигается за счет перестраиваемой системы фокусировки рабочей ветви интерферометра, в которую введены в качестве фокусирующей системы крупногабаритное сферическое зеркало и линзовый компенсатор. Интерферометр для контроля формы выпуклых, вогнуты сферических и плоских поверхностей крупногабаритных оптических деталей содержит осветительную ветвь, состоящую из источника монохроматического излучения, коллиматора и объектива, последовательно расположенные светоделитель, плоское зеркало и апланатический мениск с эталонной поверхностью, а также наблюдательную ветвь, расположенную за светоделителем в обратном ходе лучей, и рабочую ветвь, состоящую из сферического зеркала с компенсатором, которые образуют фокусирующую систему. Для изменения фокусировки рабочей ветви интерферометра необходимо осуществить взаимное перемещение компенсатора и базового блока интерферометра, состоящего из осветительной ветви, светоделителя, плоского зеркала, апланатического мениска и наблюдательной ветви, относительно стационарно закрепленного сферического зеркала вдоль оптической оси на такие расстояния, при которых лучи, отраженные от сферического зеркала, падают на контролируемые детали перпендикулярно к их поверхностям независимо от формы контролируемой поверхности.
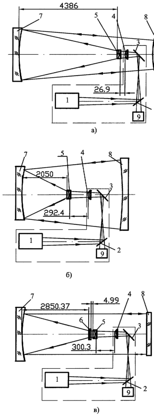
На чертеже представлены оптические схемы интерферометра для контроля крупногабаритных оптических деталей вогнутой (1а), выпуклой (1б) сферической и плоской (1в) поверхностей.
Интерферометр содержит осветительную ветвь 1, состоящую из источника монохроматического излучения, телескопической системы и объектива, последовательно расположенные светоделитель 2, плоское зеркало 3, апланатический мениск 4 с эталонной поверхностью, систему фокусировки рабочей ветви интерферометра, состоящую из компенсатора 5 и (6) и крупногабаритного зеркала 7, контролируемую поверхность 8 и наблюдательную ветвь 9.
Интерферометр работает следующим образом.
Лучи света, формируемые осветительной ветвью 1, проходят через светоделитель 2, плоское зеркало 3, попадают на эталонную поверхность апланатического мениска 4, обращенную к рабочей ветви интерферометра, частично отражаются от эталонной поверхности и создают эталонный волновой фронт сравнения. Другая часть лучей проходит через эталонную поверхность, компенсатор 5 и (6), крупногабаритное зеркало 7 и падает по нормали к контролируемой поверхности 8, отражается от контролируемой поверхности, сформировав рабочий волновой фронт сравнения. Затем излучение проходит рабочую ветвь интерферометра в обратном направлении и интерферирует с эталонным волновым фронтом. Светоделитель 2 отклоняет лучи света, отраженные от эталонной поверхности 4 и контролируемой поверхности 8, в наблюдательную ветвь 9. Для расширения номенклатуры контролируемых деталей в рабочую ветвь интерферометра в качестве фокусирующей системы введено крупногабаритное сферическое зеркало 7 и линзовый компенсатор 5 и (6). Это позволяет контролировать как сферические выпуклые и вогнутые, так и плоские поверхности, использовать эталонные и вспомогательные оптические элементы значительно меньшего светового диаметра, чем контролируемая поверхность и ограничить длину предметной ветви, которая связана с длиной когерентности лазера и требованием виброзащиты схемы интерферометра.
В приведенных схемах перестройка фокусировки рабочей ветви осуществляется при помощи взаимного перемещения базового блока и компенсатора вдоль оптической оси стационарно закрепленного сферического зеркала. Расчетные расстояния между базовым блоком, компенсатором и сферическим зеркалом приведены на чертеже. При этом величина сферической аберрации волнового фронта формируемого крупногабаритным зеркалам будет значительной. Для компенсации сферической аберрации зеркала рассчитаны два линзовых компенсатора. При расчете компенсаторов использовался метод компенсации аберраций нормалей поверхностей (Пуряев Д.Т. Методы контроля оптических асферических поверхностей. М.: Машиностроение, 1976).
При этом все лучи падают на контролируемую поверхность перпендикулярно к ее поверхности. Компенсатор со сферическим зеркалом обеспечивают такой ход лучей, при котором реальный волновой фронт достаточно точно с допустимой погрешностью вновь преобразуется в сферический или плоский волновой фронт.
Конструкции рассчитанных линзовых компенсаторов достаточно просты. Для контроля вогнутых и выпуклых поверхностей рассчитанный линзовый компенсатор представляет из себя двухкомпонентный склеенный элемент 5. Для контроля плоских поверхностей используется вышеупомянутый компенсатор с дополнительным двухкомпонентным склеенным элементом 6. Изготовление сферического зеркала не вызывает значительных трудностей.
Расчетные эксперименты показали, что предложенные схемы интерферометра позволяют контролировать:
выпуклые сферические поверхности с радиусом кривизны от 1500 мм до 4400 мм (с относительным отверстием А=1:8 до А=1:16), максимальная остаточная аберрация рабочей ветви интерферометра /48;
вогнутые сферические поверхности радиусом от 11000 мм до 17000 мм (с относительным отверстием А=1:11 до А=1:44), максимальная остаточная аберрация рабочей ветви интерферометра /74;
плоские поверхности диаметром от 250 мм до 1000 мм, максимальная остаточная аберрация рабочей ветви интерферометра /124;
Формула изобретения
1. Интерферометр для контроля формы выпуклых, вогнутых сферических и плоских поверхностей крупногабаритных оптических деталей, содержащий последовательно расположенные источник монохроматического света, телескопическую систему и объектив, образующие осветительную ветвь, а также светоделитель, эталонную поверхность, компенсатор, контролируемую поверхность и наблюдательную ветвь, которая установлена за светоделителем в обратном ходе лучей, отличающийся тем, что в интерферометр дополнительно введены плоское зеркало, меняющее направление оптической оси и установленное после светоделителя, апланатический мениск с эталонной поверхностью, обращенной в сторону компенсатора, выполненный с возможностью перемещения, крупногабаритное, закрепленное стационарно сферическое зеркало, последовательно за которым установлена контролируемая деталь, при этом осветительная ветвь, светоделитель, плоское зеркало, апланатический мениск с эталонной поверхностью и наблюдательная ветвь образуют базовый блок, выполненный с возможностью взаимного перемещения его и компенсатора вдоль оптической оси, относительно крупногабаритного сферического зеркала на такие расстояния, при которых лучи, отраженные от крупногабаритного сферического зеркала падают на контролируемую поверхность перпендикулярно.
2. Интерферометр по п.1, отличающийся тем, что при контроле плоской поверхности в него введен второй компенсатор, установленный за первым компенсатором на таком расстоянии, при котором лучи, отраженные от сферического зеркала, падают перпендикулярно на контролируемую плоскую поверхность.
РИСУНКИ
MM4A Досрочное прекращение действия патента Российской Федерации на изобретение из-за неуплаты в установленный срок пошлины за поддержание патента в силе
Дата прекращения действия патента: 10.01.2006
Извещение опубликовано: 27.01.2007 БИ: 03/2007
|
|