|
|
(21), (22) Заявка: 2003120824/06, 07.07.2003
(24) Дата начала отсчета срока действия патента:
07.07.2003
(43) Дата публикации заявки: 10.02.2005
(45) Опубликовано: 27.06.2005
(56) Список документов, цитированных в отчете о поиске:
DE 19545209 A1, 12.06.1997. DE 4125790 A1, 04.02.1993. GB 1313126 A, 11.04.1973. SU 1295190 А1, 07.03.1987. SU 1525426 А2, 30.11.1989. SU 1733896 А1, 15.05.1992.
Адрес для переписки:
630090, г.Новосибирск, пр-кт Акад. Лаврентьева, 1, Институт теплофизики СО РАН, инновационный отдел
|
(72) Автор(ы):
Низовцев М.И. (RU), Терехов В.И. (RU), Яворский А.И. (RU)
(73) Патентообладатель(и):
Институт теплофизики Сибирского отделения Российской академии наук (RU), Низовцев Михаил Иванович (RU), Терехов Виктор Иванович (RU), Яворский Анатолий Иванович (RU)
|
(54) ДИСКОВЫЙ ТЕПЛООБМЕННИК
(57) Реферат:
Изобретение предназначено для применения в теплообменных аппаратах, а именно может быть использовано для регенерации тепла вентиляционного воздуха. Дисковый теплообменник включает канал, в котором установлен, по меньшей мере, один вращающийся ротор в виде дисков, закрепленных на общем валу на расстоянии друг от друга, перегородки со щелями, установленные в канале, причем ротор выполнен многоступенчатым, для чего диски разделены на ступени неподвижными пластинами, а между ступенями расположены обводные каналы. Кроме того, диски выполнены гибкими, а перегородки со щелями выполнены с поворотными гребенками. Изобретение позволяет увеличить теплопередачу при упрощении и удешевлении конструкции теплообменника, а также снизить перетоки воздуха между каналами. 1 з.п. ф-лы, 2 ил.

Изобретение относится к теплообменным аппаратам и может быть использовано для регенерации тепла вентиляционного воздуха (для передачи тепла, уносимого воздухом, который удаляется из помещения, воздуху, который подается в помещение).
Широко известны рекуперативные теплообменники поверхностного типа с неподвижными поверхностями (трубчатые, пластинчатые и т.п.).
Известны также устройства для регенерации тепла вентиляции с вращающимся пористым телом, например теплоутилизатор фирмы FRIVENT, широко представленный на Российском рынке [1].
Однако такие теплообменники, как правило, применяются для регенерации тепла вентиляции только при положительных температурах приточного воздуха, так как при отрицательных температурах на поверхностях теплообмена происходит намерзание конденсирующейся влаги, что приводит к ухудшению теплообмена, загромождению каналов и со временем к полному прекращению работы теплообменника.
Известно также устройство для осушки и очистки воздуха, содержащее корпус с входным и выходным патрубками, размещенным в корпусе полым валом с закрепленными на нем дисками и перегородкой, разделяющей корпус на два канала. В этом устройстве теплообмен происходит между потоком воздуха, который проходит через полый вал, и потоком воздуха, транспонируемым вращающимися дисками за счет трения [2].
В этом устройстве коэффициент теплопередачи весьма низок, так как высокие относительные скорости воздуха и дисков значительны только на небольших участках на периферии дисков, соответственно здесь высокие коэффициенты теплоотдачи. На большей части дисков в приосевой области имеется застойная зона, в которой относительная скорость между дисками и воздухом практически отсутствует и коэффициент теплоотдачи соответственно мал, так как определяется только теплопроводностью воздуха. Количество передаваемого тепла на периферии дисков несмотря на высокий коэффициент теплоотдачи тоже не велико, так как разница температур между воздухом и поверхностью диска мала, в виду того что тепло к воздуху, движущемуся внутри полого вала, передается за счет теплопроводности дисков на значительное расстояние. Влага, конденсирующаяся на поверхности дисков, центробежными силами сбрасывается с них, что существенно снижает скорость обмерзания дисков при отрицательных температурах, но не предотвращает его полностью.
Наиболее близким техническим решением к заявляемому объекту является дисковой регенеративный теплообменник, включающий канал, в котором установлен, по меньшей мере, один вращающийся ротор в виде дисков, закрепленных на общем валу на некотором расстоянии друг от друга, перегородки, разделяющие потоки воздуха между которыми происходит теплообмен, со щелями, в которые входят вращающиеся диски. В этом устройстве теплообмен происходит за счет того, что части поверхности вращающихся дисков попеременно находятся то в потоке теплого воздуха, где нагреваются, то в потоке холодного воздуха, где охлаждаются и отдают свое тепло холодному воздуху, нагревая его. С целью снижения сопротивления движению газа скорость газа поддерживается близкой к линейной скорости вращения дисков для обеспечения ламинарного режима течения газа [3].
Однако это приводит к снижению коэффициента теплоотдачи между дисками и газом, так как известно, что коэффициент теплоотдачи возрастает с ростом относительной скорости между твердым телом и газом и увеличением степени турбулентности газового потока. Разница коэффициентов теплоотдачи при ламинарном и турбулентном режимах течения может отличаться в несколько раз, соответственно, для передачи одного и того же количества тепла при ламинарном режиме течения требуется в несколько раз большая поверхность теплообмена, что увеличивает металлоемкость, стоимость и габариты устройства.
В устройстве с одной ступенью теплообмена максимально возможная степень регенерации тепла равна 0.5. Для увеличения степени регенерации тепла в прототипе предлагается вариант теплообменника с несколькими ступенями теплообмена, каждая из которых выполнена аналогично в виде ротора с дисками, причем роторы, по крайней мере, два, установлены последовательно по ходу движения воздуха и вращаются в одну сторону.
Такая схема многоступенчатого теплообменника существенно усложняет и повышает стоимость конструкции по сравнению с одноступенчатым теплообменником, так как для каждого ротора необходимы свои опоры, подшипники, привод, и ведет к увеличению перетоков воздуха между каналами.
В основу изобретения поставлена задача создания дискового теплообменника, конструктивное исполнение которого позволило бы увеличить теплопередачу при упрощении и удешевлении конструкции теплообменника, а также снизить перетоки воздуха между каналами.
Поставленная задача решается тем, что дисковой теплообменник, включающий канал, в котором установлен, по меньшей мере, один вращающийся ротор в виде дисков, закрепленных на общем валу на расстоянии друг от друга, перегородки, разделяющие потоки воздуха, между которыми происходит теплообмен, со щелями, в которые входят вращающиеся диски, согласно изобретению ротор выполнен многоступенчатым, для чего пакет дисков разделен на ступени неподвижными пластинами. Между ступенями расположены обводные каналы, с помощью которых воздух последовательно направляется на все ступени ротора.
Целесообразно, чтобы в дисковом теплообменнике, согласно изобретению, диски были бы выполнены гибкими, а перегородки со щелями для прохода дисков ротора выполнены с поворотными гребенками для возможности ввода их в пакет дисков после разгона ротора до номинальной частоты вращения.
Таким образом, предлагаемое изобретение позволяет упростить и удешевить конструкцию дискового теплообменника, так как теплообмен осуществляется на одном вращающемся роторе, разделенном неподвижными пластинами на несколько ступеней. Обводные каналы теплообменника способствуют увеличению теплообмена и регулированию скоростей прокачки газа путем направления движения газовых потоков противоположно направлению движения дисков в части ступеней ротора. Выполнение дисков гибкими, а перегородок со щелями для прохода дисков с поворотными гребенками, ведет к снижению перетоков воздуха между каналами.
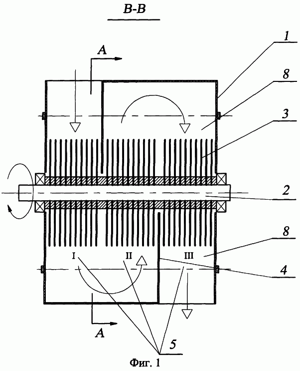
Изобретение поясняется чертежами. На фиг.1 представлен продольный разрез дискового теплообменника в сечении В-В. На фиг.2 показан поперечный разрез теплообменника в сечении А-А.
Дисковый теплообменник содержит корпус 1. В корпусе установлен ротор, содержащий вал 2, с закрепленными на нем дисками 3 на некотором расстоянии друг от друга. Неподвижные пластины 4 делят диски ротора в данном случае на три ступени теплообмена 5. Корпус теплообменника разделен на два параллельных канала 6 и 7 перегородками с поворотными гребенками 8, поворачивающимися на осях 9. В гребенках выполнены щели для прохода вращающихся дисков.
Дисковый теплообменник работает следующим образом.
Потоки воздуха с различной температурой поступают в корпус 1 и движутся в противоположных направлениях: один поток от I к III ступени, другой воздушный поток от III к I ступени. Участки дисков 3 при вращении попеременно находятся в различных потоках воздуха: в теплом они нагреваются, а в холодном потоке охлаждаются, таким образом передается тепло от теплого потока к холодному через вращающиеся диски. С помощью неподвижных пластин 4, разделяющих пластины ротора на ступени 5, воздух последовательно поступает на различные участки ротора. Ступени теплообмена, через которые воздух проходит, последовательно увеличивают степень регенерации тепла. Для повышения коэффициента теплоотдачи между газом и дисками ротора в устройстве используют максимально высокие относительные скорости газа и дисков и турбулентный режим течения газа. На I ступени теплообмена вращающиеся диски увлекают потоки воздуха в направлении движения дисков за счет трения между поверхностью дисков и воздухом и ускоряют потоки. На II ступени диски вращаются против направления движения потоков и тормозят их, значительно турбулизируя, что существенно увеличивает коэффициент теплоотдачи. III ступенью газовые потоки опять разгоняются. За счет работы II ступени повышается эффективность работы I и III ступеней, так как повышается скорость движения дисков относительно газовых потоков.
При работе дискового теплообменника незначительная часть воздуха может перетекать из одного потока в другой через зазоры между щелями гребенок 8 и дисками 3. Снизить перетоки можно, уменьшив зазоры, что требует высокой точности изготовления дисков и гребенок. Однако известно, что тонкий гибкий диск при вращении за счет центробежных сил выравнивается и становится плоским. В предлагаемой конструкции диски 3 выполнены гибкими, а перегородки с гребенками 8 со щелями для прохода вращающихся дисков выполнены подвижными, т.е. поворачивающимися вокруг осей 9. При невращающемся роторе гребенки 8 отведены от ротора (на фиг.2 их положение показано тонкими линиями). После включения привода и набора ротором номинальных оборотов гибкие диски полностью выравниваются за счет центробежных сил. Гребенки 8 поворачиваются и вводятся в пакет дисков ротора, что снижает требования к качеству изготовления дисков и обеспечивает минимальные зазоры, а следовательно, и минимальные перетоки между воздушными потоками.
Предлагаемое устройство обеспечивает высокий коэффициент теплопередачи между потоками воздуха (порядка 100 Вт/м2 град), что дает возможность существенно снизить габариты и стоимость устройства, реализовать высокую степень регенерации тепла (реально до 0.8), предотвращает обмерзание поверхностей теплообмена при отрицательных температурах и не требует дополнительных устройств для транспортировки воздуха.
В результате проведенных расчетов и экспериментов установлено, что трехроторный дисковый теплообменник предлагаемой конструкции обеспечивает возврат в зимний период времени 70% тепла вентиляционного воздуха жилого дома общей площадью 200 м2 (с производительностью по воздуху 600-700 м3/ч), при этом занимает объем 0,2 м3 и потребляет около 1 кВт электроэнергии. Экономия составляет 6-8 кВт тепловой мощности системы отопления.
Источники информации
1. Технические данные 2001 г., с.79. Утилизация тепла в установках для вентиляции и кондиционирования воздуха. Теплоутилизатор FRIVENT.
2. Авторское свидетельство СССР №1679142, МПК5 F 24 F 3/14, В 01 D 47/00. Б.И. №35, 1991 г.
3. Выложенное описание изобретения DE №195 45 209 A1, МПК6 F 28 D 11/02, дата подачи заявки 5.12.95 г.
Формула изобретения
1. Дисковый теплообменник, включающий канал, в котором установлен, по меньшей мере, один вращающийся ротор в виде дисков, закрепленных на общем валу на расстоянии друг от друга, перегородки с щелями, установленные в канале, отличающийся тем, что ротор выполнен многоступенчатым, для чего диски разделены на ступени неподвижными пластинами, а между ступенями расположены обводные каналы.
2. Дисковый теплообменник по п.1, отличающийся тем, что диски выполнены гибкими, а перегородки с щелями выполнены с поворотными гребенками.
РИСУНКИ
|
|