|
|
(21), (22) Заявка: 2003133672/06, 18.11.2003
(24) Дата начала отсчета срока действия патента:
18.11.2003
(45) Опубликовано: 27.06.2005
(56) Список документов, цитированных в отчете о поиске:
RU 2162179 C1, 20.01.2001. RU 14628 U1, 10.08.2000. RU 2162178 С1, 20.01.2001. SU 8974 A, 30.04.1929. GB 2166847 A, 14.05.1986. US 4197873 A, 15.04.1980. US 3540462 A, 17.11.1970. FR 901783 A, 06.08.1945. DE 1425707 A, 29.05.1969.
Адрес для переписки:
350051, г.Краснодар, ул. Дзержинского, 34, А.Ф. Поезжаеву
|
(72) Автор(ы):
Коблев А.Н. (RU), Миронцев В.Г. (RU)
(73) Патентообладатель(и):
Открытое акционерное общество “НПО “Промавтоматика” (RU)
|
(54) КЛАПАН ЗАПОРНО-РЕГУЛИРУЮЩИЙ
(57) Реферат:
Изобретение относится к трубопроводной арматуре, а именно к отключающим устройствам с запорным элементом, совершающим скользящее движение вдоль седловой поверхности, имеющей форму поверхности тел вращения, и предназначено для установки на технологических линиях газовых промыслов для перекрытия и регулирования расхода транспортируемой среды. Клапан запорно-регулирующий содержит корпус с входным и выходным каналами. В корпусе размещены два затвора. Они связаны со штоком. Шток перемещается приводом. Первый затвор – разгрузочный выполнен в виде ступенчатого штока с упором и уплотнительной поверхностью на его конце. Ступенчатый шток расположен в сквозном осевом ступенчатом, сопрягаемом с ним, отверстии корпуса, и образует с корпусом гидравлическую полость. Начало ступенчатого штока со ступенью большего диаметра расположено во входном канале. Ступенчатый шток установлен с возможностью осевого перемещения и фиксации его в крайних положениях. Конец ступенчатого штока с упором и уплотнительной поверхностью расположен соосно внутри второго – запорно-регулирующего затвора. В одном крайнем положении этот конец штока взаимодействует с уплотнительным элементом запорно-регулирующего затвора и перекрывает его разгрузочное отверстие. Запорно-регулирующий затвор выполнен с уплотнительной поверхностью и размещен в седле с уплотнительным элементом. Седло выполнено трубчатым с отверстиями. Эти отверстия расположены до уплотнительного элемента по ходу потока среды. Внутренний диаметр трубчатой части седла до уплотнительного элемента сопрягается с наружным диаметром запорно-регулирующего затвора. Этот затвор установлен с возможностью осевого перемещения упором ступенчатого штока вдоль трубчатой части седла от уплотнительного элемента. В центральной части корпуса выполнено радиальное отверстие с расположенным в нем поршнем со штоком. Подпоршневая полость радиального отверстия заполнена жидкостью (маслом) и соединена каналом с упомянутой гидравлической полостью. Шток установлен с возможностью взаимодействия со штоком поршня. В корпусе выполнены отверстия. Через эти отверстия входной канал соединяется с выходным каналом при открытом запорно-регулирующем затворе. Изобретение направлено на упрощение конструкции клапана, на обеспечение прямоточности клапана и на повышение надежности его работы. 2 ил.

Изобретение относится к трубопроводной арматуре, а именно к отключающим устройствам с запорным элементом, совершающим скользящее движение вдоль седловой поверхности, имеющей форму поверхности тел вращения, и может быть использовано для установки на технологических линиях газовых промыслов для перекрытия и регулирования расхода транспортируемой среды.
Известно запорно-регулирующее устройство, в корпусе которого с проходным отверстием в седле установлены плоский шибер с уплотнительными поверхностями и отверстием и поворотной запорный элемент, фиксируемый в открытом положении, причем поворотный запорный элемент установлен вне зоны проходного отверстия, а уплотнительные поверхности шибера и седла герметизированы на всем диапазоне регулирования, при этом шток снабжен охватывающей его ступенчатой втулкой, установленной с возможностью осевого перемещения и фиксации ее в крайних положениях, причем на ступени меньшего диаметра выполнен паз, а поворотный запорный орган установлен с возможностью взаимодействия с указанным пазом (а.с. №1203295, МКП 4 кл. F 16 К 3/00, приор. 05.07.84 г.).
Известно запорно-регулирующее устройство, содержащее корпус с входным и выходным каналами и седло с отверстием, в котором установлены управляемые воздействием передвижного штока, соединенного с приводом, регулирующий затвор в виде плоского шибера с отверстием и уплотнительными поверхностями и поворотный запорный затвор, связанный со штоком и представляющий собой две заслонки, одна из которых – глухая с уплотнительной поверхностью, другая – разгрузочная с уплотнительной поверхностью и отверстием (патент СССР №1753142 А2, кл. F 16 K 3/00, 07.08.92).
Недостатком этих задорно-регулирующих устройств является сложность поворотного запорного органа, снижающая надежность его работы.
Наиболее близким по совокупности существенных признаков, выбранным в качестве прототипа, является клапан запорно-регулирующий, содержащий корпус с входным и выходным каналами, в котором размещены два затвора: регулирующий, соединенный со штоком, перемещаемым приводом, и запорный, связанный со штоком, при этом клапан снабжен дополнительным затвором, седло которого закреплено в нижней части корпуса соосно со штоком, а запорный затвор выполнен тарельчатым, размещен на полом удлинении штока ниже регулирующего затвора по ходу потока среды и его седло закреплено в корпусе соосно со штоком, причем в полом удлинении штока выполнены радиальные отверстия, расположенные над тарельчатым затвором (патент РФ №2162179, 7 МПК F 16 K 1/44, 22.05.2000 г.).
Недостатком клапана запорно-регулирующего является сложность конструкции, обусловленная наличием трех затворов: одного регулирующего и двух запорных, причем клапан не является проходным, что также усложняет его монтаж на трубопроводе.
Задача, достигаемая изобретением, состоит в том, чтобы создать такое техническое решение, при использовании которого упрощалась бы конструкция клапана, чтобы он был проходным и прямоточным, а также повышалась надежность его работы.
Для достижения названного технического результата в корпусе клапана запорно-регулирующего с входным и выходным каналами размещены два затвора, связанные с штоком, перемещаемым приводом.
Заявляемый клапан запорно-регулирующий отличается от прототипа тем, что первый затвор – разгрузочный выполнен в виде ступенчатого штока с упором и уплотнительной поверхностью на конце, расположенного в сквозном осевом ступенчатом, сопрягаемом с ним, отверстии корпуса и образующего с последним гидравлическую полость, при этом его начало со ступенью большего диаметра расположено во входном канале, причем ступенчатый шток установлен с возможностью осевого перемещения и фиксации его в крайних положениях, при этом конец ступенчатого штока с упором и уплотнительной поверхностью расположен соосно внутри второго – запорно-регулирующего затвора и в одном крайнем положении взаимодействует с уплотнительным элементом и перекрывает разгрузочное отверстие в запорно-регулирующем затворе, который выполнен с уплотнительной поверхностью и размещен в седле с уплотнительным элементом, выполненном трубчатым с отверстиями, расположенными до уплотнительного элемента по ходу потока среды, а внутренний диаметр трубчатой части седла до уплотнительного элемента сопрягается с наружным диаметром запорно-регулирующего затвора, причем последний установлен с возможностью осевого перемещения упором ступенчатого штока вдоль трубчатой части седла от уплотнительного элемента, при этом в центральной части корпуса выполнено радиальное отверстие с расположенным в нем поршнем с штоком, подпоршневая полость которого заполнена жидкостью (маслом) и соединена каналом с гидравлической полостью, а шток установлен с возможностью взаимодействия с штоком поршня, при этом в корпусе выполнены отверстия, через которые входной канал соединяется с выходным при открытом запорно-регулирующем затворе.
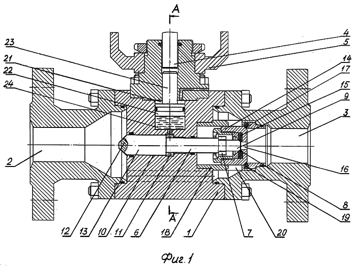
Предлагаемое изобретение изображено на чертеже, где на фиг.1 изображен продольный разрез клапана в закрытом положении, на фиг.2 – разрез по А-А на фиг.1.
Клапан содержит корпус 1 с входным 2 и выходным 3 каналами. В корпусе размещены два затвора, связанные с штоком 4, управляемым приводом 5.
Первый затвор – разгрузочный выполнен в виде ступенчатого штока 6 с упором 7 и уплотнительной поверхностью 8 на конце 9. Ступенчатый шток расположен в сквозном осевом ступенчатом, сопрягаемом с ним, отверстии 10 корпуса и образует с корпусом гидравлическую полость 11, при этом его начало 12 со ступенью 13 большего диаметра расположено во входном канале корпуса. Ступенчатый шток установлен с возможность осевого перемещения, а его подвижность ограничена крайними положениями перемещения.
Конец ступенчатого штока с упором и уплотнительной поверхностью расположен соосно внутри второго – запорно-регулирующего затвора 14 (в сборе) с уплотнительным элементом 15, разгрузочным отверстием 16 и уплотнительной поверхностью 17. В одном крайнем положении ступенчатый шток взаимодействует своей уплотнительной поверхностью с уплотнительным элементом и перекрывает разгрузочное отверстие, а в другом крайнем положении упором прижимает запорно-регулирующий затвор к корпусу.
Запорно-регулирующий затвор размещен в седле 18 с уплотнительным элементом 19, выполненным трубчатым, с отверстиями 20, расположенными до уплотнительного элемента по ходу потока транспортируемой среды. Внутренний диаметр трубчатой части седла до уплотнительного элемента и наружный диаметр запорно-регулирующего затвора выполнены сопрягаемыми. Запорно-регулирующий затвор установлен с возможностью осевого перемещения ступенчатым штоком вдоль трубчатой части седла от уплотнительного элемента.
В центральной части корпуса выполнено радиальное отверстие 21 с расположенным в нем поршнем 22 с штоком 23, подпоршневая полость 24 которого заполнена жидкостью (маслом) и соединена каналом 25 с гидравлической полостью, а шток установлен с возможностью взаимодействия с штоком поршня.
В корпусе выполнены отверстия 26, соединяющие входной и выходной каналы при открытом запорно-регулирующем затворе.
Клапан работает следующим образом. В исходном положении (закрыто) шток 4 находится в крайнем верхнем положении, как и поршень 22 с штоком 23. Ступенчатый шток 6 под действием давления транспортируемой среды из-за разных эффективных площадей сечения на торцах своей уплотнительной поверхностью 8 прижимается к уплотнительному элементу 15 запорно-регулирующего затвора 14, герметично перекрывая разгрузочное отверстие 16.
Запорно-регулирующий затвор 14 под действием давления транспортируемой среды своей уплотнительной поверхностью 17 прижимается к уплотнительному элементу 19 седла 18, герметично перекрывая поток транспортируемой среды из входного канала 2 в выходной 3.
При необходимости открытия клапана и регулирования расхода транспортируемой среды подают соответствующий сигнал на привод 5, который начинает перемещать шток 4 вниз. В свою очередь шток 4 перемещает шток 23 с поршнем 22 вниз с усилием, создающим давление в поршневой полости 24, значительно превышающим давление транспортируемой среды и позволяющим переместить ступенчатый шток 6 от уплотнительного элемента 15 запорно-регулирующего затвора 14, открывая разгрузочное отверстие 16 для прохода среды, находящейся над запорно-регулирующим затвором 14 для его разгрузки. При дальнейшем движении ступенчатый шток 6 упором 7 упирается в запорно-регулирующий затвор 14 (в сборе) и перемещает его вдоль трубчатой части седла 18 от уплотнительного элемента 19, открывая проход транспортируемой среде из входного 2 канала через отверстие 26 и далее через отверстия 20 трубчатой части седла 18 в выходной 3 канал.
Регулирование расхода транспортируемой среды осуществляется перемещением штока 4 до необходимого положения и его остановкой. Каждому положению штока 4 соответствует определенное положение запорно-регулирующего затвора 14, обеспечивающее соответствующий расход транспортируемой среды через отверстия 20 седла 18.
При необходимости перекрытия потока транспортируемой среды подают соответствующий сигнал на привод 5, который начинает перемещать шток 4 вверх в крайнее верхнее положение. В результате давление в подпоршневой полости 24 и связанной с ней каналом 25 гидравлической полости 11 падает, в результате чего ступенчатый шток 6 под действием давления транспортируемой среды из-за разных эффективных площадей сечения на торцах начинает перемещаться к уплотнительному элементу 15 запорно-регулирующего затвора 14, закрывая разгрузочное отверстие 16 и перемещая запорно-регулирующий затвор 14 к уплотнительному элементу 19 седла 18. Совместное перемещение ступенчатого штока 6 и запорно-регулирующего затвора 14 продолжается до тех пор, пока запорно-регулирующий затвор 14 своей уплотнительной поверхностью 17 не достигает уплотнительного элемента 19 седла 18, герметично перекрывая его, а ступенчатый шток 6 своей уплотнительной поверхностью 8 опустится на уплотнительный элемент 15, герметично перекрывая разгрузочное отверстие 16 запорно-регулирующего затвора 14. Данное положение ступенчатого штока 6 соответствует крайнему верхнему положению штока 4, при этом поршень 22 с штоком 23 также займут свое крайнее верхнее положение.
Благодаря упрощению конструкции клапана обеспечиваются прямоточность клапана и повышение надежности его работы.
Формула изобретения
Клапан запорно-регулирующий, в корпусе которого с входным и выходным каналами размещены два затвора, связанные с штоком, перемещаемым приводом, отличающийся тем, что первый затвор – разгрузочный – выполнен в виде ступенчатого штока с упором и уплотнительной поверхностью на конце, расположенного в сквозном осевом ступенчатом, сопрягаемом с ним отверстии корпуса, и образующего с последним гидравлическую полость, при этом его начало со ступенью большего диаметра расположено во входном канале, причем ступенчатый шток установлен с возможностью осевого перемещения и фиксации его в крайних положениях, при этом конец ступенчатого штока с упором и уплотнительной поверхностью расположен соосно внутри второго – запорно-регулирующего – затвора и в одном крайнем положении взаимодействует с уплотнительным элементом и перекрывает разгрузочное отверстие в запорно-регулирующем затворе, который выполнен с уплотнительной поверхностью и размещен в седле с уплотнительным элементом, выполненным трубчатым с отверстиями, расположенными до уплотнительного элемента по ходу потока среды, а внутренний диаметр трубчатой части седла до уплотнительного элемента сопрягается с наружным диаметром запорно-регулирующего затвора, причем последний установлен с возможностью осевого перемещения упором ступенчатого штока вдоль трубчатой части седла от уплотнительного элемента, при этом в центральной части корпуса выполнено радиальное отверстие с расположенным в нем поршнем с штоком, подпоршневая полость которого заполнена жидкостью (маслом) и соединена каналом с гидравлической полостью, а шток установлен с возможностью взаимодействия с штоком поршня, при этом в корпусе выполнены отверстия, через которые входной канал соединяется с выходным при открытом запорно-регулирующем затворе.
РИСУНКИ
MM4A – Досрочное прекращение действия патента СССР или патента Российской Федерации на изобретение из-за неуплаты в установленный срок пошлины за поддержание патента в силе
Дата прекращения действия патента: 19.11.2007
Извещение опубликовано: 20.06.2009 БИ: 17/2009
|
|