|
|
(21), (22) Заявка: 2004105009/06, 20.02.2004
(24) Дата начала отсчета срока действия патента:
20.02.2004
(45) Опубликовано: 27.06.2005
(56) Список документов, цитированных в отчете о поиске:
RU 2131065 С1, 27.05.1999. ГУРЕВИЧ А.Ф. и др. Справочник по арматуре для газо- и нефтепроводов. – Л.: Недра, 1988, с.346. RU 2178842 С1, 27.01.2002. DE 3142583 A1, 15.05.1983. US 4437386 A, 20.03.1984.
Адрес для переписки:
123481, Москва, ул.Фомичевой, 14, корп.2, кв.228, В.В. Саяпину
|
(72) Автор(ы):
Саяпин В.В. (RU)
(73) Патентообладатель(и):
Саяпин Вадим Васильевич (RU)
|
(54) ПНЕВМАТИЧЕСКИЙ ПРИВОД СО СТРУЙНЫМ ДВИГАТЕЛЕМ ДЛЯ ЗАПОРНО-РЕГУЛИРУЮЩЕЙ АРМАТУРЫ И ЭЛЕКТРОПНЕВМАТИЧЕСКОЕ УПРАВЛЯЮЩЕЕ УСТРОЙСТВО
(57) Реферат:
Привод предназначен для запорно-регулирующей арматуры газонефтепроводов. Привод содержит последовательно соединенные электропневматическое управляющее устройство, струйный двигатель, редуктор, кулисно-винтовой поворотный механизм; при этом ротор струйного двигателя и первая ступень редуктора размещены в камере, соединенной с выхлопным каналом струйного двигателя, а выходной вал первой ступени редуктора соединен с последующими ступенями редуктора через уплотняющее устройство; электропневматическое управляющее устройство содержит взрывозащитную камеру, коммутирующие элементы, электромагниты, пневмоклапаны, входной валик, проходящий внутри взрывозащитной камеры, и связанные с ним рычаги, находящиеся вне взрывозащитной камеры, и укрепленные на рычагах постоянные магниты. Технический результат — расширение области применения, повышение надежности и удобства эксплуатации. 2 н. и 8 з.п. ф-лы, 5 ил.

Область техники, к которой относится изобретение
Изобретение относится к области пневмомашиностроения, в частности к механизмам, предназначенным для осуществления перестановки следящего и программного управления регулирующих органов запорной и регулирующей арматуры газонефтепродуктопроводов при дистанционном и местном управлении.
Предшествующий уровень техники
Известен пневмогидравлический привод с поршневым двигателем, содержащим пневмоцилиндры, поршни, поворотный механизм, конечные выключатели (см., например, А.Ф.Гуревич и др. Справочник по арматуре для газо- и нефтепроводов. – Л.: Недра, 1988 г., стр.346).
Техническими недостатками этого привода являются: наличие второго рабочего тела (масла или специальной жидкости); возможность произвольного перемещения выходного вала привода под действием внешней нагрузки.
Известен пневматический привод со струйным двигателем (Патент №2131065 “Пневматический привод Саяпина и электропневматическое управляющее устройство”), содержащий электропневматическое управляющее устройство, пневматический струйный двигатель, включающий в себя корпус, ротор, подводящие патрубки; редуктор, ручной дублер, кулисно-винтовой поворотный механизм, устройство ограничения максимальной величины передаваемого движущего момента.
Техническим недостатком данной конструкции являются, в частности, трудности монтажа и эксплуатации электропневматического управляющего устройства, связанные со сложностью подвода питающего электрокабеля.
Другим техническим недостатком является наличие утечек рабочего тела через зазоры между подводящими патрубками и ротором струйного двигателя, что при использовании в качестве рабочего тела природного сжатого газа затрудняет установку приводов в закрытых помещениях.
Известно электропневматическое управляющее устройство, содержащее взрывозащитную камеру, плиту, электромагниты, пневмоклапаны, конечные выключатели, входной валик и соединенные с ним постоянные магниты, причем валик расположен снаружи взрывозащитной камеры, а устройство снабжено общим кожухом-крышкой (Патент на изобретение РФ №2131065, 17.03.99 г.).
Техническими недостатками данного устройства являются: большие габариты, трудности монтажа и настройки из-за наличия общего кожуха и сложности подвода электрокабеля.
Раскрытие сущности изобретения
Технической задачей изобретения является создание пневматического привода для запорно-регулирующей арматуры газонефтепродуктопроводов, имеющего расширенную область применения, в частности, использование привода в закрытых помещениях; повышение надежности и ресурса привода, уменьшение габаритов электропневматического управляющего устройства; упрощение монтажа, настройки и эксплуатации привода; повышение точности работы привода.
Эта техническая задача решается тем, что в пневматическом приводе, содержащем последовательно соединенные электропневматическое управляющее устройство, включающее в себя электромагниты, пневмоклапаны, регуляторы расхода газа, конечные выключатели, постоянные магниты, связанные с входным валиком управляющего устройства; реверсивный струйный двигатель, содержащий корпус, ротор, подводящие патрубки; механический редуктор, содержащий ручной дублер, кулисно-винтовой поворотный механизм, содержащий кулису, ходовую гайку и ходовой винт, устройство поглощения кинетической энергии подвижных частей, выходной вал привода; ротор струйного двигателя и первая ступень редуктора размещены в камере, соединенной с выхлопным каналом двигателя, а выходной вал первой ступени редуктора соединен с последующими ступенями редуктора через подвижное уплотнение.
Эта техническая задача решается также тем, что в камере, соединенной с выхлопным каналом струйного двигателя, размещены 1+n (где n – целое число) ступеней редуктора.
Эта техническая задача решается также тем, что управляющее устройство содержит корпус и жестко соединенные с ним плиту и взрывозащитную камеру, коммутирующие элементы, электромагниты, пневмоклапаны, входной валик и связанные с ним подвижные постоянные магниты.
Эта техническая задача решается также тем, что входной валик устройства разделен на три части, расположенные соосно и соединенные разъемными соединителями друг с другом, при этом первая часть валика установлена на плите, вторая – в корпусе взрывозащитной камеры, а третья – в крышке взрывозащитной камеры.
Эта задача рашается также тем, что входной валик устройства соединен с подвижными постоянными магнитами с помощью механической передачи с переменным передаточным числом.
Эта задача рашается также тем, что устройство снабжено регуляторами давления газа, входы которых соединены соответственно с выходами одного и второго пневмоклапана, а выходы – с одним и вторым входами стройного двигателя соответственно.
Эта задача рашается также тем, что устройство снабжено регуляторами расхода газа, входы которых соединены соответственно с выходами регуляторов давления, а выходы – со входами струйного двигателя.
Эта задача рашается также тем, что взрывозащитная камера снабжена двумя входными отверстиями для ввода электрокабеля, расположенными над корпусом устройства.
Эта задача рашается также тем, что корпус устройства снабжен двумя дверцами, расположенными с противоположных сторон корпуса.
Эта задача рашается также тем, что устройство содержит трехпозиционные пневмоклапаны, причем клапаны снабжены вторым выходным каналом, связанным с атмосферой, или отводящим трубопроводом.
Технический результат, достигаемый настоящим изобретением, состоит в следующем.
Расширение области применения привода и, в частности, использование привода в закрытых помещения, а также повышение надежности и ресурса привода достигаются за счет того, что ротор струйного двигателя и первая ступень редуктора размещены в камере, соединенной с выхлопным каналом двигателя, а выходной вал первой ступени редуктора соединен с последующими ступенями редуктора через подвижное уплотнение, а также за счет того, что (второй вариант) в камере, соединенной с выхлопным каналом струйного двигателя, размещены 1+n (где n – целое число) ступеней редуктора, а также за счет того, что устройство содержит трехпозиционные пневмоклапаны, причем клапаны снабжены вторым выходным каналом, связанным с атмосферой, или отводящим трубопроводом.
Помещение одной или нескольких ступеней редуктора в камеру, соединенную с выхлопным каналом струйного двигателя, значительно облегчает условия работы подвижного уплотнения вала редуктора, соединяющего ступень редуктора, помещенного в камеру с последующими ступенями редуктора. Так, по сравнению с уплотнениями, установленными непосредственно на валу ротора струйного двигателя, предлагаемое решение обеспечивает: снижение перепада давления, действующего на уплотнение с 2,0-4,0 МПа до 0,1-0,2 МПа, то есть примерно в 20 раз; уменьшение линейной скорости поверхности вращающегося вала в 3-5 раз; увеличение движущего момента на уплотняемом валу в 3-5 раз.
Названные обстоятельства существенно облегчают условия работы уплотняющего устройства, повышают его надежность и долговечность, что повышает надежность привода.
Снабжение устройства трехпозиционным клапаном и вторым выходным каналом позволяет использовать устройства для управления как струйными, так и поршневыми приводами.
Уменьшение габаритов электропневматического управляющего устройства достигается за счет того, что входной валик устройства установлен подвижно в корпусе взрывозащитной камеры, причем на наружной части валика установлены на рычагах постоянные магниты с возможностью неполного поворота рычагов вокруг оси валика.
Упрощение монтажа, настройки и эксплуатации привода достигается за счет того, что входной валик устройства разделен на три части, расположенные соосно и соединенные разъемными соединителями друг с другом, при этом первая часть валика установлена на плите, вторая – в корпусе взрывозащитной камеры, а третья – в крышке взрывозащитной камеры, а также за счет того, что взрывозащитная камера снабжена двумя входными отверстиями для ввода электрокабеля, расположенными над корпусом устройства, а также за счет того, что корпус устройства снабжен двумя дверцами, расположенными с противоположных сторон корпуса.
Разделение входного валика на три части и установка их соответственно в плите и с обеспечением щелевой взрывозащиты в корпусе и в крышке взрывозащитной камеры при соединении их разъемными соединениями, например, как показано на Фиг.3, позволяет свободно снимать и устанавливать крышку взрывозащитной камеры и саму камеру, не затрагивая взрывозащитных соединений, что существенно облегчает работу при монтаже и настройке привода.
Снабжение взрывозащитной камеры двумя входными отверстиями для подвода электрокабелей, как показано на Фиг.4, обеспечивает удобный подвод кабеля во взрывозащитную камеру без его изгиба.
Снабжение корпуса электропневматического управляющего устройства двумя дверцами обеспечивает легкий доступ к пневмоклапанам при их монтаже и замене.
Повышение точности работы привода достигается за счет того, что входной валик устройства соединен с подвижными постоянными магнитами с помощью механической передачи с переменным передаточным числом, а также за счет того, что устройство снабжено регуляторами давления газа, входы которых соединены соответственно с выходами одного и второго пневмоклапана, а выходы – с одним и вторым входами стройного двигателя соответственно, а также за счет того, что устройство снабжено регуляторами расхода газа, входы которых соединены соответственно с выходами регуляторов давления, а выходы – со входами струйного двигателя.
Соединение входного валика с подвижными постоянными магнитами с помощью механической передачи с переменным передаточным числом (например, с помощью мальтийского креста) позволяет повысить точность регулировки конечных выключателей (коммутирующих устройств) привода при неполном повороте входного валика привода.
Снабжение электропневматического устройства управления приводом регуляторами давления газа позволяет обеспечить существенное уменьшение разброса движущего момента привода при изменении давления управляющего газа в диапазоне 0,12 – 15 МПа.
Снабжение устройства управления приводом дополнительно регуляторами расхода газа позволяет повысить точность регулирования движущего момента до нескольких процентов. Это особенно важно, учитывая, что у современных шаровых кранов разность требуемых и допустимых движущих моментов становится все меньше.
Изобретение поясняется далее описанием примера осуществления со ссылкой на чертежи, где изображены:
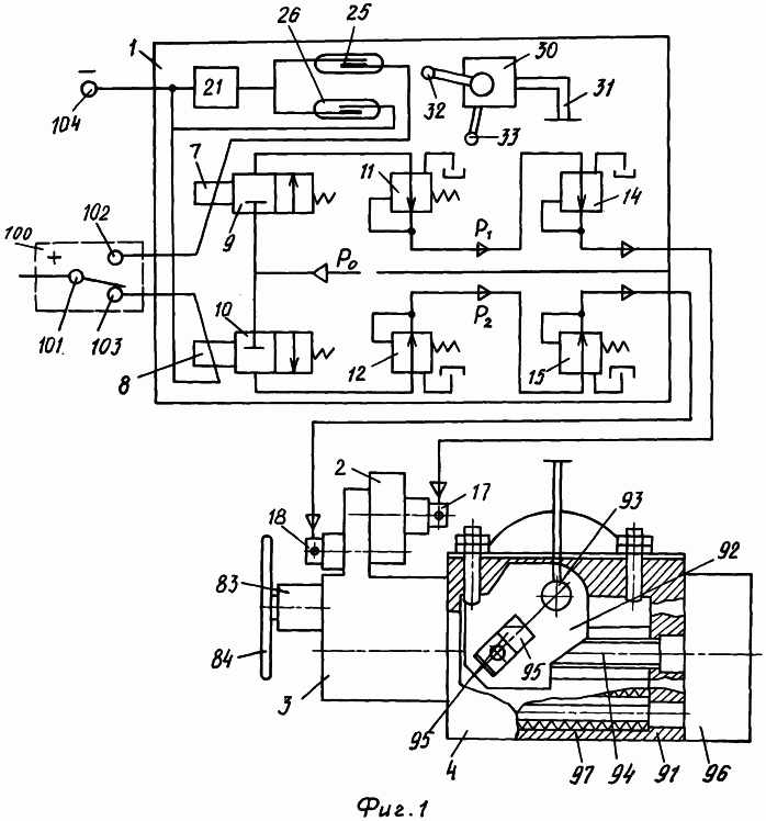
На Фиг.1 – схема пневматического привода.
На Фиг.2 – схема струйного двигателя со ступенью редуктора и уплотняющим устройством.
На Фиг.3 – схема электропневматического управляющего устройства.
На Фиг.4 – проекция Фиг.3 по стрелке А.
На Фиг.5 – схема плиты электропневматического управляющего устройства.
Пневматический привод (Фиг.1) содержит последовательно соединенные электропневматическое управляющее устройство 1, струйный двигатель 2, редуктор 3, кулисно-винтовой механизм 4. Управляющее устройство 1 содержит корпус 5 (Фиг.3), взрывозащитную камеру 6, электромагниты 7, 8, пневмоклапаны 9, 10, входы которых соединены с источником рабочей среды под давлением Р (на чертежах не обозначен), а выходы соединены со входами регуляторов давления газа 11, 12, выходы которых связаны со входами регуляторов расхода газа 14, 15, выходы которых связаны с входными патрубками 17, 18 струйного двигателя 2. Управляющее устройство 1 содержит также включенные в его электрическую сеть таймер 21, конечные выключатели (коммутирующие устройства) 25, 26, включенные последовательно в цепи электромагнитов 7, 8. Устройство 1 содержит также механическую передачу 30 с переменным по углу поворота передаточным числом, связывающую входной валик 31 устройства с рычагами, на которых закреплены постоянные магниты 32, 33.
Регулятор давления газа 11 (Фиг.5) содержит плунжер 35 с пояском 36 и поршнем 37, а также пружину 38 и резьбовую пробку 39, расположенные в проточке плиты 40 (Фиг.3) электропневматического управляющего устройства 1.
Регулятор расхода газа 41 имеет конструкцию, аналогичную регулятору давления газа 11.
Плита 40 содержит входной канал 43, соединенный через пневмоклапаны с входными каналами 44 (Фиг.5) регулятора давления газа, выходы которых связаны каналом со входом регуляторов расхода газа 41 (Фиг.5). Выходные каналы 45 регуляторов расхода газа связаны с входными патрубками струйного двигателя.
Управляющее устройство содержит также рычаги 47, соединенные подвижно с одной стороны с толкателями электромагнитов 48, а с другой – с толкателями пневмоклапанов 9, 10 (Фиг.3). Входной валик 31 устройства состоит из трех частей 51, 52, 53, соединенных между собой соосно разъемными соединениями (Фиг.3), причем на валике 53 закреплена стрелка 54.
Корпус 5 снабжен двумя установленными на шарнирах дверцами 55, 56.
Струйный двигатель 2 содержит (Фиг.2) корпус 61 и крышку 62 с входными патрубками 7, 18. В корпусе и крышке на подшипниках размещен ротор 63 с соплами 64, 65, вал 66 которого через зубчатый венец 67 связан с шестерней 68, выходной вал 69 который через уплотняющее устройство 70 связан с шестерней 71 редуктора 3. Крышка 62 снабжена выхлопным каналом 81, связывающим внутреннюю полость двигателя и полость 82 шестерни 68 с атмосферой.
Редуктор 3 содержит также устройство ручного дублера 83 со штурвалом 84 (Фиг.1).
Кулисно-винтовой механизм 4 содержит корпус 91, кулису 92, связанную с выходным валом привода 93, один конец которого связан с объектом управления – шаровым краном (на фиг. не показано), а второй конец – с входным валиком электропневматического управляющего устройства 1; ходовой винт 94, ходовую гайку 95, устройство поглощения кинетической энергии 96 с тарельчатыми пружинами 97.
На Фиг.1 обозначены также: задающее устройство 100 и клеммы 101 – плюсовая, 102, 103 и 104 – минусовая (в состав привода не входят); Р – давление управляющего газа (рабочей среды); P1, Р2 – давление газа на выходах регуляторов давления и регуляторов расхода газа соответственно.
Плита 40 снабжена также каналами 106, входы которых соединены с выходами трехкаскадных пневмоклапанов, а выходы – с атмосферой или отводящим трубопроводом (Фиг.5).
Пневматический привод, электропневматическое управляющее устройство 1, стройный двигатель 2, редуктор 3, кулисно-винтовой поворотный механизм 4 работают совместно следующим образом.
При поступлении через клемму 101 электрического сигнала на клемму 103 (как показано на Фиг.1) на поворот выходного вала 93 привода, например на закрытие крана, электромагнит 8 срабатывает и через толкатель и рычаг 47 (Фиг.3) включает пневмоклапан 10, который срабатывает и открывает доступ газа с давлением Р в регулятор давления газа 12, который поддерживает после себя давление P1, и далее на регулятор расхода газа 15, который поддерживает после себя давление газа Р2 и обеспечивает требуемый максимальный движущий момент привода. Далее газ с давлением P2 поступает через патрубок 18 в ротор 63 струйного двигателя (Фиг.2) и, вытекая через сопло 64, создает реактивную силу и движущий (крутящий) момент на валу 70 ротора, который через зубчатый венец 67, шестерню 68, вал 70, проходящий через уплотняющее устройство 60, редуктор 3 на ходовой винт 94 и далее через ходовую гайку 95 и кулису 92 на выходной вал привода 93, жестко связанный с одной стороны со шпинделем арматуры, например, шарового крана, а с другой – входным валиком 31 управляющего устройства 1.
Таким образом, при повороте вала 93 поворачивается валик 31 и через механическую передачу 30 с переменным передаточным числом поворачивает рычаги с постоянными магнитами 32, 33. При перемещении магнита 32 конечный выключатель 25 ранее под действием магнита замыкается и подготавливает электроцепь электромагнита 7 к работе.
При подходе выходного вала привода к новому крайнему положению магнит 33 подходит к нормально-замкнутому конечному выключателю 26 и размыкает его. Вследствие этого цепь электромагнита 8 размыкается и пневмоклапан 10 закрывается, перекрывая доступ газа в двигатель, в результате чего привод останавливается. При этом кинетическая энергия подвижных частей привода поглощается через устройство 96 тарельчатыми пружинами 97.
Движение привода в противоположную сторону происходит аналогично при подаче электрического сигнала на клемму 102.
Формула изобретения
1. Пневматический привод, содержащий последовательно соединенные электропневматическое управляющее устройство, включающее в себя электромагниты, пневмоклапаны, регуляторы расхода газа, конечные выключатели, постоянные магниты, связанные с входным валиком управляющего устройства; реверсивный струйный двигатель, содержащий корпус, ротор, подводящие патрубки; механический редуктор, содержащий ручной дублер, кулисно-винтовой поворотный механизм, содержащий кулису, ходовую гайку и ходовой винт, устройство поглощения кинетической энергии подвижных частей, выходной вал привода, отличающийся тем, что ротор струйного двигателя и первая ступень редуктора размещены в камере, соединенной с выхлопным каналом двигателя, а выходной вал первой ступени редуктора соединен с последующими ступенями редуктора через подвижное уплотнение.
2. Привод по п.1, отличающийся тем, что в камере, соединенной с выхлопным каналом струйного двигателя, размещены 1+n (где n – целое число) ступеней редуктора.
3. Электропневматическое управляющее устройство, содержащее корпус и жестко соединенные с ним плиту и взрывозащитную камеру, коммутирующие элементы, электромагниты, пневмоклапаны, входной валик и связанные с ним подвижные постоянные магниты, отличающийся тем, что входной валик устройства установлен подвижно в корпусе взрывозащитной камеры, причем на наружной части валика установлены на рычагах постоянные магниты с возможностью неполного поворота рычагов вокруг оси валика.
4. Управляющее устройство по п.3, отличающееся тем, что входной валик устройства разделен на три части, расположенные соосно и соединенные разъемными соединителями друг с другом, при этом первая часть валика установлена на плите, вторая – в корпусе взрывозащитной камеры, а третья – в крышке взрывозащитной камеры.
5. Управляющее устройство по п.3, отличающееся тем, что входной валик устройства соединен с подвижными постоянными магнитами с помощью механической передачи с переменным передаточным числом.
6. Управляющее устройство по п.3, отличающееся тем, что устройство снабжено регуляторами давления газа, входы которых соединены соответственно с выходами одного и второго пневмоклапана, а выходы – с одним и вторым входами струйного двигателя соответственно.
7. Управляющее устройство по п.3, отличающееся тем, что устройство снабжено регуляторами расхода газа, входы которых соединены соответственно с выходами регуляторов давления, а выходы – со входами струйного двигателя.
8. Управляющее устройство по п.3, отличающееся тем, что взрывозащитная камера снабжена двумя входными отверстиями для ввода электрокабеля, расположенными над корпусом устройства.
9. Управляющее устройство по п.3, отличающееся тем, что корпус устройства снабжен двумя дверцами, расположенными с противоположных сторон корпуса.
10. Управляющее устройство по п.3, отличающееся тем, что устройство содержит трехпозиционные пневмоклапаны, причем клапаны снабжены вторым выходным каналом, связанным с атмосферой, или отводящим трубопроводом.
РИСУНКИ
|
|