|
|
(21), (22) Заявка: 2003110460/06, 14.04.2003
(24) Дата начала отсчета срока действия патента:
14.04.2003
(43) Дата публикации заявки: 20.01.2005
(45) Опубликовано: 27.06.2005
(56) Список документов, цитированных в отчете о поиске:
RU 2062906 C1, 27.06.1996. RU 2166668 C1, 10.05.2001. SU 1562524 A1, 07.05.1990. EP 0320859 A, 21.06.1989. US 4477234 A, 16.10.1984.
Адрес для переписки:
125424, Москва, а/я 31, Д.Б. Полякову
|
(72) Автор(ы):
Пономарев А.К. (RU), Поляков Д.Б. (RU), Аминев М.Х. (RU), Шаймарданов Р.Ф. (RU)
(73) Патентообладатель(и):
Пономарев Анатолий Константинович (RU), Поляков Дмитрий Борисович (RU), Шаймарданов Рамиль Фаритович (RU), Аминев Марат Хуснуллович (RU)
|
(54) СКВАЖИННЫЙ ЭЛЕКТРОГИДРОПРИВОДНОЙ НАСОСНЫЙ АГРЕГАТ
(57) Реферат:
Изобретение относится к области насосостроения, в частности к насосным установкам, предназначенным для подъема жидкости с больших глубин, например нефти из скважин. Скважинный электрогидроприводной насосный агрегат для добычи нефти содержит масляный насос с приводом от погружного электродвигателя с компенсатором, рабочий поршневой насос с поршневым цилиндром, всасывающим клапаном, размещенным в поршне, и нагнетательным клапаном и гидродвигатель для привода рабочего поршневого насоса. Полости цилиндра гидродвигателя связаны через распределитель масла со входом и через предохранительный клапан – с выходом масляного насоса. Шток поршня гидродвигателя через протектор соединен с поршнем рабочего поршневого насоса. Агрегат снабжен масляным баком с компенсатором его объема, в одной из секций которого установлены переливной клапан, регулятор расхода и фильтр. Гидродвигатель снабжен ограничителем хода поршня с путевым распределителем. Агрегат снабжен шнековым насосом и дополнительным гидродвигателем для его привода, размещенным ниже погружного электродвигателя. Нагнетательный трубопровод дополнительного гидродвигателя соединен с гидроредуктором, установленным на нижнем конце вала погружного электродвигателя. В стенке цилиндра рабочего поршневого насоса на расстоянии, составляющем 0,1 длины рабочего хода поршня от его нижней “мертвой” точки, выполнены два ряда приемных отверстий, суммарная площадь которых превышает в 1,5-2 раза площадь поперечного сечения поршня. Приемные отверстия выполнены в шахматном порядке по отношению друг к другу. В нижней части цилиндра в его стенке ниже поршня выполнен еще один ряд отверстий. В результате достигается повышение производительности за счет обеспечения подачи откачиваемой среды в поршневой цилиндр с меньшим гидравлическим сопротивлением. 2 з.п.ф-лы, 1 ил.

Изобретение относится к области насосостроения, в частности к насосным установкам, предназначенным для подъема жидкости с больших глубин, например нефти из скважин.
Известен погружной диафрагменный электронасос, содержащий электродвигатель, кинематически связанный с плунжером приводного насоса, установленным в заполненном маслом корпусе, который герметично изолирован от перекачиваемой жидкости эластичными рабочей диафрагмой и компенсатором; в головке электронасоса установлены всасывающий и нагнетательный клапаны (RU 2062906, F 04 В 47/06, 7.06.1996).
Недостатком известной конструкции является низкий КПД, характерный для диафрагменных электронасосов, и невысокая надежность работы ввиду частого выхода из строя элементов кинематики.
Наиболее близким к изобретению по технической сущности и достигаемому результату является скважинный электрогидроприводной насосный агрегат для добычи нефти, содержащий масляный насос с приводом от погружного электродвигателя с компенсатором, рабочий поршневой насос с поршневым цилиндром, всасывающим клапаном, размещенным в поршне, и нагнетательным клапаном и гидродвигатель для привода рабочего поршневого насоса, причем полости цилиндра гидродвигателя связаны через распределитель масла со входом и через предохранительный клапан – с выходом масляного насоса и шток поршня гидродвигателя через протектор соединен с поршнем рабочего поршневого насоса, кроме того, агрегат снабжен масляным баком с компенсатором его объема, в одной из секций которого установлены переливной клапан, регулятор расхода и фильтр, а гидродвигатель снабжен гидротормозом и ограничителем поворота штока (см., патент РФ 2166668, кл. F 04 В 47/08, 10.05.2001).
В данном скважинном электрогидроприводном насосном агрегате достигнуто повышение надежности работы за счет повышения герметичности конструкции гидродвигателя и снабжения его ограничителем хода поршня с путевым распределителем. Однако производительность данного агрегата недостаточна, что связано с достаточно большим гидравлическим сопротивлением для вязкой откачиваемой среды при ее поступлении в поршневой цилиндр.
Задачей, на решение которой направлено настоящее изобретение, является повышение производительности за счет обеспечения подачи откачиваемой среды в поршневой цилиндр с меньшим гидравлическим сопротивлением.
Указанная задача решается за счет того, что скважинный электрогидроприводной насосный агрегат для добычи нефти содержит масляный насос с приводом от погружного электродвигателя с компенсатором, рабочий поршневой насос с поршневым цилиндром, всасывающим клапаном, размещенным в поршне, и нагнетательным клапаном и гидродвигатель для привода рабочего поршневого насоса, причем полости цилиндра гидродвигателя связаны через распределитель масла со входом и через предохранительный клапан – с выходом масляного насоса, а шток поршня гидродвигателя через протектор соединен с поршнем рабочего поршневого насоса, кроме того, агрегат снабжен масляным баком с компенсатором его объема, в одной из секций которого установлены переливной клапан, регулятор расхода и фильтр, гидродвигатель снабжен ограничителем хода поршня и путевым распределителем, а агрегат снабжен шнековым насосом и дополнительным гидродвигателем для его привода, размещенным ниже погружного электродвигателя, при этом нагнетательный трубопровод дополнительного гидродвигателя соединен с гидроредуктором, установленным на нижнем конце вала погружного электродвигателя, а в стенке цилиндра рабочего поршневого насоса на расстоянии, составляющем 0,1 длины рабочего хода поршня от его нижней “мертвой” точки, выполнены два ряда приемных отверстий, суммарная площадь которых превышает в 1,5-2 раза площадь поперечного сечения поршня, причем приемные отверстия выполнены в шахматном порядке по отношению друг к другу, а в нижней части цилиндра в его стенке ниже поршня выполнен еще один ряд отверстий.
Кроме того, предпочтительно, чтобы производительность шнекового насоса была в 1,5-2,0 раза больше производительности рабочего поршневого насоса, а на поверхности компенсатора были размещены винтовые ребра в направлении, противоположном направлению вращения шнекового насоса.
Повышение производительности достигается за счет того, что поршневой цилиндр рабочего поршневого насоса снабжен шнековым насосом, производительность которого больше производительности рабочего поршневого насоса, что позволяет ускорить процесс заполнения поршневого цилиндра откачиваемой средой. В результате рабочий поршневой насос начинает работать с производительностью, сравнимой с его штатной производительностью, чего не было, когда откачиваемая среда не успевала в силу своей высокой вязкости заполнить поршневой цилиндр. Дополнительно поршневой цилиндр содержит выполненные в его стенке два ряда отверстий. При этом расстояние от его нижней “мертвой” точки рабочего хода поршня до указанных выше двух рядов приемных отверстий составляет 0,1 длины, а суммарная площадь приемных отверстий превышает в 1,5-2 раза площадь поперечного сечения поршня. Приемные отверстия выполнены в шахматном порядке по отношению друг к другу, а в нижней части цилиндра в его стенке ниже поршня выполнен еще один ряд отверстий. В ходе исследования было установлено, что можно повысить производительность рабочего поршневого насоса, пожертвовав часть среды, которая может успеть вытечь обратно в процессе подачи откачиваемой среды поршнем в колонну насосно-компрессорных труб через указанные отверстия. Исследование показало, что указанные выше суммарная площадь приемных отверстий и расстояние, на котором они расположены от поршня, обеспечивают наиболее оптимальный результат. Было выявлено, что достаточно, чтобы производительность шнекового насоса была в 1,5-2,0 раза больше производительности рабочего поршневого насоса. Дополнительное снижение гидравлических потерь может быть достигнуто путем выполнения на поверхности компенсатора винтовых ребер для закрутки потока в направлении, противоположном направлению вращения шнекового насоса, что в конечном итоге приводит к снижению газосодержания откачиваемой среды на входе в рабочий поршневой насос.
Таким образом было достигнуто повышение производительности скважинного электрогидроприводного агрегата.
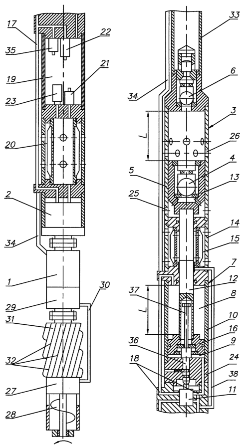
На чертеже представлен продольный разрез скважинного электрогидроприводного насосного агрегата.
Скважинный электрогидроприводной насосный агрегат содержит кинематически связанные между собой погружной электродвигатель 1 с компенсатором и масляный насос 2, рабочий поршневой насос 3, включающий поршневой цилиндр 5 с всасывающим клапаном 4, установленным в поршне 13 насоса 3, и нагнетательный клапан 6. Рабочий поршневой насос 3 приводится в действие гидродвигателем 7. Полости 8 и 9 цилиндра 10 гидродвигателя 7 сообщены через распределитель 11 с входом и выходом масляного насоса 2. Шток 12 гидродвигателя 7 соединен с поршнем 13 рабочего поршневого насоса 3 через протектор 14 с упругой диафрагмой 15. Распределитель 11 выполнен гидроуправляемым для обеспечения попеременного соединения полостей 8 и 9 гидродвигателя 7 с входом и выходом масляного насоса 2 при достижении поршнем 16 гидродвигателя 7 крайних положений.
Кроме того, распределитель 11 соединен посредством трубопровода 17 с масляным насосом 2 и каналов 18, выполненных в задней крышке 24, соответственно с верхней 8 и нижней 9 полостями цилиндра 10 гидродвигателя 7.
Утечки масла через уплотнения штока 12 гидродвигателя 7 возвращаются в систему по дренажному трубопроводу 38. Бак 19 служит для компенсации изменения объема масла при возвратно-поступательном движении штока 12 в гидродвигателе 7 и изменений температуры и содержит эластичную диафрагму 20, там же установлен переливной клапан 21, регулятор расхода 22, соединенный со штоковой полостью цилиндра 10 гидродвигателя 7, и фильтр 23.
Поршень 13 насоса 3 выполнен полым и размещен в поршневом цилиндре 5. В стенке поршневого цилиндра 5 на расстоянии 0,1 длины рабочего хода L от нижней “мертвой” точки поршня 13 выполнены два ряда приемных отверстий 26, суммарная площадь которых равна 1,5-2-х кратной площади сечения поршня и размещенных в шахматном порядке по отношению друг к другу, а в нижней части цилиндра 5, не перекрываемой поршнем 13, выполнен еще один ряд отверстий 25. Нагнетательный клапан 6 установлен в верхней части цилиндра 5. Суммарная площадь приемных отверстий 25, 26 в 1,5-2 раза превышает площадь поперечного сечения поршня 13 рабочего насоса 3. Такое сочетание рядов приемных отверстий 25, 26 позволит повысить коэффициент заполнения цилиндра 5 при работе с высоковязкими нефтями с большим газосодержанием.
В нижней части насосного агрегата закреплен дополнительный гидродвигатель 27 для привода шнекового насоса 28 через гидроредуктор 29, установленный на валу погружного электродвигателя 1. Гидроредуктор 29 соединен посредством трубопровода 30 с нагнетательным отверстием дополнительного гидродвигателя 27, а его сливное отверстие – с полостью компенсатора 31. Для сепарации газа из добываемой жидкости на поверхности компенсатора 31 выполнены винтовые ребра 32. Скважинный электрогидроприводной насосный агрегат прикреплен к колонне насосно-компрессорных труб 33. Колонна насосно-компрессорных труб 33 с насосным агрегатом спускается в скважину.
Электроснабжение погружного электродвигателя осуществляется посредством кабеля 34, который крепится к колонне насосно-компрессорных труб 33 хомутами.
Трубопровод 17 проходит от приводного насоса 2 к распределителю 11 и, кроме того, через предохранительный клапан 35 сообщен с масляным баком 19. Переключение распределителя 11 производится путевым переключателем 36, связанным с ограничителем хода поршня 37.
Скважинный электрогидроприводной насосный агрегат работает следующим образом.
Перед спуском насосного агрегата в скважину полости погружного электродвигателя 1 с компенсатором система гидропривода, включающая масляный насос 2, бак 19, гидродвигатель 7 и другие элементы, а также внутренняя полость протектора 14 заполняются очищенным маслом.
При спуске насосного агрегата в скважину пластовая жидкость поступает в полость поршневого цилиндра 5 и полого поршня 13, рабочего поршневого насоса 3 через отверстия 25 в нижней части цилиндра 24. Под действием гидростатического давления всасывающий 4 и нагнетательный 6 клапаны открываются и жидкость заполняет насосно-компрессорные трубы 33 до уровня жидкости в кольцевом пространстве скважины.
При включении погружного электродвигателя 1 начинает работать масляный насос 2, который через трубопровод 17, распределитель 11 и канал 18 подает масло под давлением в нижнюю полость 9 цилиндра 10 гидродвигателя 7. Поршень 16 перемещается вверх, вытесняя масло из полости 8 цилиндра 10. Масло через распределитель 11, бак 19 и фильтр 23 подается на вход масляного насоса 2.
Разница между объемными расходами нагнетаемого в цилиндр 10 и вытесняемого из него масла, обусловленная наличием штока 12 в верхней полости, компенсируется за счет изменения формы диафрагмы 20 бака 19.
Такая конструкция бака 19 обеспечивает также компенсацию изменения объема масла вследствие влияния температуры. Перемещение поршня 16 гидродвигателя 7 вверх обуславливает рабочий ход L связанного с ним поршня 13 рабочего поршневого насоса 3. При этом происходит нагнетание добываемой жидкости из полости цилиндра 5 в насосно-компрессорные трубы 33 через нагнетательный клапан 6. Одновременно нижняя полость этого цилиндра заполняется жидкостью, поступающей из кольцевого пространства скважины через нижний ряд приемных отверстий 25, а затем и двойной ряд приемных отверстий 26 при помощи шнекового насоса 28.
Растворенный в жидкости газ выделяется при выходе из шнекового насоса 28 и прохождении ее через каналы, образованные винтовыми ребрами 32, размещенными на поверхности компенсатора 31, за счет приобретения противоположного направления вращения по сравнению с имеющимся при выходе из шнекового насоса 28.
Привод шнекового насоса 28 осуществляется дополнительным гидродвигателем 27, вал которого жестко связан со шнековьм насосом 28. Дополнительный гидродвигатель 27 соединен с гидроредуктором 29, установленным на нижнем конце погружного электродвигателя 1 и соединенного с дополнительным гидродвигателем 27 трубопроводом 30.
Когда поршень 16 гидродвигателя 7 достигает верхнего положения, происходит взаимодействие его с ограничителем хода 37, связанного с путевым распределителем 36, и переключение распределителя 11, так осуществляется обратный ход связанных друг с другом поршня 16 гидродвигателя 7 и поршня 13 насоса 3 за счет подачи масла в полость 8 цилиндра 10 гидродвигателя 7 и слива масла из нижней полости. При опускании поршня 13 насоса 3 нагнетательный клапан 6 закрывается, а всасывающий клапан 4 открывается и пропускает добываемую жидкость в верхнюю полость цилиндра 5 рабочего насоса 3. В крайнем нижнем положении поршня 13 открыты отверстия 26 в стенке цилиндра 24 для обеспечения более полного заполнения полости цилиндра 5 вязкой жидкостью, которые перекрываются поршнем 13 при его движении вверх.
При достижении поршнем 16 его нижнего положения происходит переключение путевого распределителя и, соответственно, распределителя 11, и описанный выше рабочий цикл повторяется.
Формула изобретения
1. Скважинный электрогидроприводной насосный агрегат для добычи нефти, содержащий масляный насос с приводом от погружного электродвигателя с компенсатором, рабочий поршневой насос с поршневым цилиндром, всасывающим клапаном, размещенным в поршне, и нагнетательным клапаном и гидродвигатель для привода рабочего поршневого насоса, причем полости цилиндра гидродвигателя связаны через распределитель масла со входом и через предохранительный клапан – с выходом масляного насоса, шток поршня гидродвигателя через протектор соединен с поршнем рабочего поршневого насоса, кроме того, агрегат снабжен масляньм баком с компенсатором его объема, в одной из секций которого установлены переливной клапан, регулятор расхода и фильтр, отличающийся тем, что он снабжен ограничителем хода поршня гидродвигателя с путевым распределителем, шнековым насосом и дополнительным гидродвигателем для его привода, размещенным ниже погружного электродвигателя, при этом нагнетательный трубопровод дополнительного гидродвигателя соединен с гидроредуктором, установленным на нижнем конце вала погружного электродвигателя, а в стенке цилиндра рабочего поршневого насоса на расстоянии, составляющем 0,1 длины рабочего хода поршня от его нижней “мертвой” точки, выполнены два ряда приемных отверстий, суммарная площадь которых превышает в 1,5-2 раза площадь поперечного сечения поршня, причем приемные отверстия выполнены в шахматном порядке по отношению друг к другу, а в нижней части цилиндра в его стенке ниже поршня выполнен еще один ряд отверстий.
2. Скважинный электрогидроприводной насосный агрегат для добычи нефти по п.1, отличающийся тем, что производительность шнекового насоса в 1,5—2,0 раза превышает производительность рабочего поршневого насоса.
3. Скважинный электрогидроприводной насосный агрегат для добычи нефти по п.1, отличающийся тем, что на поверхности компенсатора размещены винтовые ребра в направлении, противоположном направлению вращения шнекового насоса.
РИСУНКИ
|
|